ГОСТ Р 60.3.0.1-2017/ИСО 11593:1996 РОБОТЫ И РОБОТОТЕХНИЧЕСКИЕ УСТРОЙСТВА. ПРОМЫШЛЕННЫЕ МАНИПУЛЯЦИОННЫЕ РОБОТЫ. СИСТЕМЫ АВТОМАТИЧЕСКОЙ СМЕНЫ РАБОЧЕГО ОРГАНА. ТЕРМИНЫ, ОПРЕДЕЛЕНИЯ И ПРЕДСТАВЛЕНИЕ ХАРАКТЕРИСТИК
Robots and robotic devices. Industrial manipulating robots. Automatic end effector exchange systems. Terms, definitions and presentation of characteristics
ОКС 25.040.30
ОКП 38 8600
Дата введения - 1 июля 2018 г.
Введен впервые
Предисловие
1 Подготовлен Федеральным государственным автономным научным учреждением "Центральный научно-исследовательский и опытно-конструкторский институт робототехники и технической кибернетики" (ЦНИИ РТК) на основе собственного перевода на русский язык англоязычной версии стандарта, указанного в пункте 4
2 Внесен Техническим комитетом по стандартизации ТК 459 "Информационная поддержка жизненного цикла изделий"
3 Утвержден и введен в действие Приказом Федерального агентства по техническому регулированию и метрологии от 14 ноября 2017 г. N 1743-ст
4 Настоящий стандарт идентичен международному стандарту ИСО 11593:1996 "Промышленные манипуляционные роботы. Системы автоматической смены рабочего органа. Термины, определения и представление характеристик" (ISO 11593:1996 "Manipulating industrial robots - Automatic end effector exchange systems - Vocabulary and presentation of characteristics", IDT).
При применении настоящего стандарта рекомендуется использовать вместо ссылочных международных стандартов соответствующие им национальные стандарты Российской Федерации, сведения о которых приведены в дополнительном приложении ДА
5 Введен впервые
Введение
Стандарты комплекса ГОСТ Р 60 распространяются на роботы и робототехнические устройства. Их целью является повышение интероперабельности роботов и их компонентов, а также снижение затрат на их разработку, производство и обслуживание за счет стандартизации и унификации процессов, интерфейсов и параметров.
Стандарты комплекса ГОСТ Р 60 представляют собой совокупность отдельно издаваемых стандартов. Стандарты данного комплекса относятся к одной из следующих тематических групп: "Общие положения, основные понятия, термины и определения", "Технические и эксплуатационные характеристики", "Безопасность", "Виды и методы испытаний", "Механические интерфейсы", "Электрические интерфейсы", "Коммуникационные интерфейсы", "Методы программирования", "Методы построения траектории движения (навигация)", "Конструктивные элементы". Стандарты любой тематической группы могут относиться как ко всем роботам и робототехническим устройствам, так и к отдельным группам объектов стандартизации - промышленным роботам в целом, промышленным манипуляционным роботам, промышленным транспортным роботам, сервисным роботам в целом, сервисным манипуляционным роботам и сервисным мобильным роботам.
Настоящий стандарт относится к тематической группе "Общие положения, основные понятия, термины и определения" и распространяется на промышленные манипуляционные роботы. Настоящий стандарт идентичен ИСО 11593:1996, разработанному подкомитетом (ПК) 2 "Роботы и робототехнические устройства" Технического комитета (ТК) 184 ИСО "Системы автоматизации производства и их интеграция".
Примечание - С1 января 2016 года ИСО/ТК 184/ПК 2 "Роботы и робототехнические устройства" преобразован в ИСО/ТК 299 "Робототехника".
Системы автоматической смены рабочего органа имеют большое значение для манипуляционных роботов. В настоящем стандарте представлены используемые термины, их определения, а также технические характеристики систем автоматической смены рабочего органа, такие как силы, моменты, время смены рабочего органа. Настоящий стандарт не содержит сведений о разработке и конструкции данных систем.
Настоящий стандарт определяет термины, относящиеся к системам автоматической смены рабочего органа, используемым в промышленных манипуляционных роботах, работающих в производственной среде.
Термины представлены своими символами, единицами измерения, определениями и описаниями. Определения включают в себя применимые ссылки на существующие стандарты.
В приложении А приведен формат представления характеристик систем автоматической смены рабочего органа.
В настоящем стандарте использованы ссылки на следующие международные стандарты. Для датированных ссылок следует использовать только указанное издание:
ISO 8373:1994 1), Manipulating industrial robots - Vocabulary (Промышленные манипуляционные роботы. Термины и определения)
──────────────────────────────
1)Действует ИСО 8373:2012. Для однозначного соблюдения требований настоящего стандарта, выраженных в датированных ссылках, рекомендуется использовать только данный ссылочный стандарт.
──────────────────────────────
ISO 9409-1:1996 2), Manipulating industrial robots - Mechanical interfaces - Part 1: Plates (Промышленные манипуляционные роботы. Механические интерфейсы. Часть 1. Круглые фланцы)
──────────────────────────────
2)Действует ИСО 9409-1:2004. Для однозначного соблюдения требований настоящего стандарта, выраженных в датированных ссылках, рекомендуется использовать только данный ссылочный стандарт.
──────────────────────────────
ISO 9409-2:1996 3), Manipulating industrial robots - Mechanical interfaces - Part 2: Shafts (Промышленные манипуляционные роботы. Механические интерфейсы. Часть 2. Стержни)
──────────────────────────────
3)Действует ИСО 9409-2:2002. Для однозначного соблюдения требований настоящего стандарта, выраженных в датированных ссылках, рекомендуется использовать только данный ссылочный стандарт.
──────────────────────────────
ISO 9787:1990 4), Manipulating industrial robots - Coordinate systems and motion nomenclatures (Промышленные манипуляционные роботы. Системы координат и типы перемещений)
──────────────────────────────
4)Действует ИСО 9787:2013. Для однозначного соблюдения требований настоящего стандарта, выраженных в датированных ссылках, рекомендуется использовать только данный ссылочный стандарт.
──────────────────────────────
В настоящем стандарте применены термины по ИСО 8373. Другие термины, их обозначения, единицы измерения, определения и описания приведены в таблице 1.
|
Подраздел и пункт |
Термин |
Обозначение |
Единица измерения |
Определение и описание | |
|
3.1 Внешняя форма и основные размеры системы смены рабочего органа
| |||||
|
| |||||
|
3.1.1 |
конструктивная форма (structural shape) |
Габаритные размеры устройства: | |||
|
D |
мм |
- внешний диаметр (для круглой формы); | |||
|
A |
мм |
- ширина (для других форм); | |||
|
В |
мм |
- глубина (для других форм); | |||
|
Lr |
мм |
- длина узла стыковки робота; | |||
|
Lt |
мм |
- длина узла стыковки рабочего органа. | |||
|
3.1.2 |
расстояние между интерфейсами (face-to-face dimension) |
Расстояние между интерфейсами крепления узлов стыковки робота и рабочего органа: | |||
|
Ltotal±Δ |
мм |
- длина состыкованных узлов стыковки; | |||
|
Lcr±Δ |
мм |
- расстояние между интерфейсом крепления узла стыковки робота и плоскостью стыковки; | |||
|
Lct±Δ |
мм |
- расстояние между интерфейсом крепления узла стыковки рабочего органа и плоскостью стыковки. Допуск на длину Lcr и Lct имеет большое влияние на точность позиционирования всей системы при использовании разных рабочих органов. | |||
|
3.1.3 |
центр тяжести состыкованной системы узлов стыковки (centre of gravity in the coupled system) |
Lg |
мм |
Расстояние от базовой плоскости интерфейса робота до центра тяжести состыкованной системы узлов стыковки. | |
|
3.1.4 |
момент инерции состыкованной системы узлов стыковки (moment of inertia of the coupled system) |
I |
кг·м2 |
Момент инерции состыкованной системы узлов стыковки, измеренный относительно продольной оси Zm. | |
|
3.1.5 |
масса (mass) |
mr |
кг |
Масса узла стыковки робота. | |
|
mt |
кг |
Масса узла стыковки рабочего органа. | |||
|
3.1.6 |
интерфейс со стороны робота и со стороны рабочего органа (interface for robot side and tool side) |
Описание и маркировка узлов сопряжения робота и рабочего органа по ИСО 9409-1 и ИСО 9409-2. | |||
|
3.1.7 |
кабельная трасса (cable routing) |
Расположение и размеры трассы прокладки кабеля на узлах сопряжения робота и рабочего органа, показанные на одном чертеже. | |||
|
3.2 Позиционирование и ориентация при стыковке
| |||||
|
3.2.1 |
направление стыковки (coupling direction) |
Направление, в котором установленный на роботе узел стыковки и/или установленный на рабочем органе узел стыковки движутся друг к другу. Разновидности направления стыковки. При осевом направлении стыковки движение стыковки происходит по нормали к стыковочной плоскости.
При поперечном направлении стыковки движение происходит параллельно стыковочной плоскости.
| |||
|
3.2.2 |
длина дистанции стыковки (lengh of the approach distance) |
La |
мм |
Длина дистанции стыковки показывает общее расстояние перемещения узла стыковки робота (и/или узла стыковки рабочего органа) в направлении стыковки до полной стыковки обоих узлов. Дистанция стыковки равна сумме следующих составляющих: | |
|
La1 |
мм |
- расстояние перемещения до центровки; | |||
|
La2 |
мм |
- расстояние перемещения при центровке; | |||
|
La3 |
мм |
- расстояние перемещения после центровки до полной стыковки. La = La1 + La2 + Lа3. При осевом направлении стыковки расстояние приближения направлено по нормали к плоскости стыковки, а при поперечном направлении стыковки - параллельно плоскости стыковки. Пример для осевого направления стыковки:
| |||
|
3.2.3 |
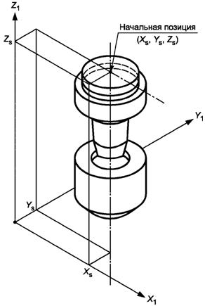
начальная позиция (start position) |
Xs |
мм |
Начальная позиция определяется положением закрепленного на роботе узла стыковки относительно закрепленного на рабочем органе узла стыковки непосредственно перед началом процесса сопряжения. Если начальная позиция соответствует стандартному виду компоновки, то она может быть определена в декартовой системе координат робота Х1, Y1, Z1 (по ИСО 9787) как Хs, Ys, Zs. Пример для осевого направления стыковки:
| |
|
Ys |
мм | ||||
|
Zs |
мм | ||||
|
3.2.4 |
допуск на положение в начальной позиции (position tolerance in the start position) |
s |
мм |
Для обеспечения стыковки узлы стыковки робота и рабочего органа должны находиться в начальной позиции с определенной точностью. Поле допуска на положение в начальной позиции представляет собой цилиндрическую область. Заданная начальная позиция представляет собой центр данной цилиндрической области, которая определяется высотой f в осевом направлении и диаметром s в поперечном направлении. Пример для осевого направления стыковки: | |
|
f |
мм | ||||
|
| |||||
|
3.2.5 |
допуск на ориентацию в начальной позиции (orientation tolerance in the start position): |
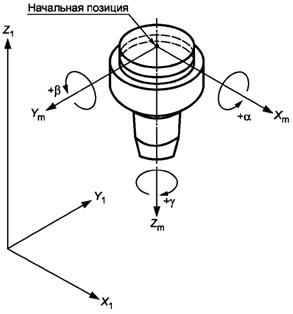
Допуск на ориентацию должен быть зафиксирован с высокой точностью. Все значения, касающиеся допуска на ориентацию, устанавливают в системе координат механического интерфейса Xm, Ym, Zm. Установленное значение для ориентации определяют с помощью величин Xm, Ym, Zm, А, В, С.
| |||
|
Примечание - Допуск на ориентацию определяется двумя значениями "предельной угловой погрешностью расположения по тангажу/рысканию" и "предельной угловой погрешностью расположения по крену" | |||||
|
3.2.6 |
предельная угловая погрешность расположения по тангажу/рысканию (limit value of the misalignment): |
± 0,5 α ± 0,5 β |
радиан или градус |
Пределы отклонения фактического положения от заданного положения относительно осей Хm и Ym, как правило, могут считаться идентичными и представляться предельными значениями угловой погрешности ± 0,5 α и ± 0,5 β, соответственно (см. рисунок в 3.2.5). | |
|
3.2.7 |
предельная угловая погрешность расположения по крену (limit value of the distortion) |
± 0,5 γ |
радиан или градус |
Отклонение фактического положения от установленного положения относительно оси Zm представляется предельным значением угловой погрешности ± 0,5 γ (см. рисунок в 3.2.5). | |
|
3.2.8 |
допуск траектории стыковки (tolerance of the coupling path) |
Отклонение траектории стыковки должно находиться в пределах установленного допуска на положение в начальной позиции. | |||
|
3.2.9 |
повторяемость стыковки (coupling repeatability) |
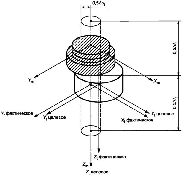
Повторяемость стыковки определяет предельное допустимое отклонение взаимного положения узла стыковки робота и узла стыковки рабочего органа при многочисленных операциях стыковки. Базовой точкой является центр интерфейса на узле стыковки робота (согласно ИСО 9409-1 и ИСО 9409-2) в системе координат механического интерфейса Хm, Ym, Zm и на узле стыковки рабочего органа в системе координат Xt, Yt, Zt. Установленное положение указывается на оси Zm системы координат механического интерфейса Хm, Ym, Zm и смещается на величину La, в направлении оси Zm. Отклонения подразделяются на отклонение по положению: | |||
|
st |
мм |
- в поперечном направлении (st), | |||
|
ft |
мм |
- в осевом направлении (ft), и отклонение по ориентации: | |||
|
αt, βt |
радиан или градус |
- по тангажу/рысканию (αt, βt), | |||
|
γt |
радиан или градус |
- по крену (γt). | |||
|
| |||||
|
Условные обозначения: ○- установленное положение интерфейса узла стыковки рабочего органа после стыковки; ●- фактическое положение узла стыковки рабочего органа после стыковки. | |||||
|
3.3 Усилия стыковки и расстыковки
| |||||
|
3.3.1 |
усилие стыковки (coupling force) |
Fc |
Н |
Сила, которая должна быть приложена роботом для того, чтобы состыковать узел стыковки робота с узлом стыковки рабочего органа. Предполагается, что во время этого процесса узел стыковки рабочего органа удерживается в магазине инструментов. Усилие стыковки включает все внешние силы, требующиеся для соединения всех механических, электрических, гидравлических или пневматических разъемов. | |
|
3.3.2 |
усилие расстыковки (releasing force) |
Fe |
Н |
Сила, которая должна быть приложена роботом для того, чтобы отсоединить узел стыковки робота от узла стыковки рабочего органа. Предполагается, что во время этого процесса узел стыковки рабочего органа удерживается в магазине инструментов. Усилие расстыковки включает в себя все внешние силы, требующиеся для рассоединения всех механических, электрических, гидравлических или пневматических разъемов. | |
|
3.4 Нагрузочные характеристики
| |||||
|
Примечание - Все допустимые максимальные значения нагрузочных характеристик соответствуют сумме статических и динамических нагрузок. Все нагрузочные характеристики установлены для базовой плоскости. | |||||
|
3.4.1 |
базовая плоскость (reference plane) |
Базовой плоскостью называется монтажная поверхность на узле стыковки рабочего органа, отвечающая требованиям ИСО 9409-1 и ИСО 9409-2.
| |||
|
3.4.2 |
максимальный изгибающий момент (maximum bending moment) |
Mbmax |
Н·м |
Допустимый изгибающий момент при приложении только изгибающей нагрузки. | |
|
3.4.3 |
максимальный скручивающий момент (maximum torsional moment) |
Momax |
Н·м |
Допустимый скручивающий момент при приложении только скручивающей нагрузки. | |
|
3.4.4 |
максимальная сила растяжения (maximum tensile force) |
Fnmax |
Н |
Допустимая сила растяжения при приложении только растягивающей нагрузки. | |
|
3.4.5 |
максимальная сила сжатия (maximum compressive force) |
Fрmax |
Н |
Допустимая сила сжатия при приложении только сжимающей нагрузки. | |
|
3.4.6 |
максимальная поперечная сила (maximum lateral force) |
FImax |
Н |
Допустимая поперечная сила при приложении только поперечной нагрузки. | |
|
3.5 Интерфейс крепления узла стыковки рабочего органа в магазинном устройстве
| |||||
|
Примечания 1 Следует использовать рабочие характеристики, аналогичные определенным в 3.2. Установленная система координат не изменяется, даже если направление установки в магазин отличается от направления стыковки при смене рабочего органа. 2 Fy, Fv, My и Mv - силы и моменты, возникающие между роботом или рабочим органом с одной стороны и магазином с другой стороны при установке рабочего органа в магазин или его извлечении из магазина. Пример - Сила, необходимая для того, чтобы безопасно установить рабочий орган в магазин, должна предотвратить выпадение рабочего органа из магазина. Данные силы отличаются по значению и направлению от силы сопряжения, которая требуется для сборки или рассоединения узла инструмента от узла робота. | |||||
|
3.5.1 |
ориентация интерфейса в магазине (interface orientation in the magazine) |
На приведенных ниже рисунках показаны разные конструктивные варианты ориентации интерфейса в магазине. | |||
|
| |||||
|
3.5.2 |
допуск на положение и ориентацию перед установкой в магазин (pose tolerance ahead of drive-in) |
Допуск на положение и ориентацию, измеренный в центральной точке рабочего органа в начале установки в магазин. Данное положение должно быть определено поставщиком (например, с помощью чертежа). | |||
|
3.5.3 |
сила установки (lay-off force) |
Fy |
H |
Сила, необходимая для установки рабочего органа в магазин. | |
|
3.5.4 |
момент установки (lay-off moment) |
My |
Н·м |
Момент, необходимый для установки рабочего органа в магазин. | |
|
3.5.5 |
сила извлечения (removal force) |
Fv |
Н |
Сила, необходимая для извлечения рабочего органа из магазина. | |
|
3.5.6 |
момент извлечения (removal moment) |
Mv |
Н·м |
Момент, необходимый для извлечения рабочего органа из магазина. | |
|
3.6 Время смены рабочего органа
| |||||
|
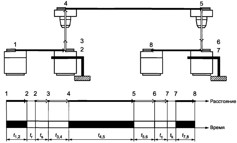
3.6.1 |
время смены рабочего органа (tool exchange time) |
Tобщее |
с |
Время смены рабочего органа определяют в результате выполнения всех отдельных движений, необходимых для выполнения описанной ниже операции смены рабочего органа. Время смены рабочего органа применимо только для конкретного периферийного оборудования и конкретного цикла смены рабочего органа. | |
|
| |||||
|
Примечания 1 Интервалы времени t1,2; t3,4; t5,6 и t7,8 зависят от способа установки в магазин узла стыковки рабочего органа и требований по безопасным расстояниям и установленным скоростям. Данные интервалы времени зависят от конкретного периферийного оборудования. 2 Интервалы времени tr, ts, tc и tk зависят от типа системы смены рабочих органов робота и являются характеристиками данной системы. | |||||
|
3.6.2 |
время установки (drive-in time) |
t1,2 |
с |
Время установки закрепленного на роботе узла стыковки, соединенного с закрепленным на рабочем органе узлом стыковки, в магазин на пониженной скорости (перемещение из позиции 1 в позицию 2). | |
|
3.6.3 |
время разблокирования (releasing time) |
t2,2 = tr |
с |
Время, необходимое для отключения средств удержания узлов стыковки робота и рабочего органа в состыкованном положении для обеспечения расстыковки (в позиции 2). | |
|
3.6.4 |
время расстыковки (separation time) |
t2,3 = ts |
с |
Время, необходимое для расстыковки узла стыковки робота и узла стыковки рабочего органа, находящегося в магазине, в результате движения вдоль линии приближения La в направлении, противоположном стыковке (перемещение из позиции 2 в позицию 3). | |
|
3.6.5 |
время отхода (drive-away time) |
t3,4 |
c |
Время перемещения закрепленного на роботе узла стыковки на пониженной скорости в промежуточную позицию 4, расположенную вблизи узла стыковки рабочего органа (перемещение из позиции 3 в позицию 4). | |
|
3.6.6 |
время перемещения (convey time) |
t4,5 |
с |
Время перемещения во вторую промежуточную позицию вблизи узла стыковки рабочего органа (соответствующую точке над начальной позицией). Интервал времени t4,5 соответствует перемещению между узлом стыковки возвращенного в магазин рабочего органа и узлом стыковки рабочего органа, который должен быть извлечен из магазина (перемещение из позиции 4 в позицию 5). | |
|
3.6.7 |
время подхода (bring-on time) |
t5,6 = t3,4 |
с |
Время перемещения узла стыковки робота на пониженной скорости в начальную позицию для стыковки с узлом стыковки рабочего органа, который должен быть извлечен из магазина (перемещение из позиции 5 в позицию 6). | |
|
3.6.8 |
время стыковки (coupling time) |
t6,7 = tc = t2,3 |
с |
Время сопряжения закрепленного на роботе узла стыковки с закрепленным на рабочем органе узлом стыковки при перемещении вдоль линии приближения La в направлении сопряжения (перемещение из позиции 6 в позицию 7). | |
|
3.6.9 |
время захватывания (locking time) |
t7,7 = tk |
с |
Время срабатывания системы смены рабочего органа с использованием блокирующих элементов, обеспечивающих соединение узла стыковки робота с узлом стыковки рабочего органа (в позиции 7). | |
|
3.6.10 |
время извлечения (drive-off time) |
t7,8 = t1,2 |
с |
Время выхода системы смены рабочего органа из магазина на пониженной скорости (перемещение из позиции 7 в позицию 8). | |
|
3.6.11 |
время смены рабочего органа для конкретной системы (system-specific exchange time) |
tx = tr + ts + tc + tk |
с |
Время смены рабочего органа для конкретной системы равно сумме всех временных интервалов, необходимых конкретной системе для смены рабочего органа робота. | |
Приложение А
(справочное)
В настоящем приложении представлен формат представления информации для описания разных систем смены рабочего органа робота. Данная информация не предназначена для использования при разработке или конструировании подобных систем.
|
А.1 Общая информация | ||||
|
А.1.1 Изделие (поставщик или дистрибьютор) и модель _____________________________________________ | ||||
|
А.1.2 Графическое представление | ||||
|
Простые рисунки с основными размерами | ||||
|
А.2 Внешняя форма и основные размеры системы смены рабочего органа | ||||
|
А.2.1 Узел стыковки робота | ||||
|
А.2.1.1 Круглая форма | ||||
|
А.2.1.1.1 Внешний диаметр D |
_____ мм. | |||
|
А.2.1.2 Прямоугольная или квадратная форма | ||||
|
А.2.1.2.1 Ширина А |
_____ мм. | |||
|
А.2.1.2.2 Глубина В |
_____ мм. | |||
|
А.2.2 Узел стыковки рабочего органа | ||||
|
А.2.2.1 Круглая форма | ||||
|
А.2.2.1.1 Внешний диаметр D |
_____ мм. | |||
|
А.2.2.2 Прямоугольная или квадратная форма | ||||
|
А.2.2.2.1 Ширина А |
_____ мм. | |||
|
А.2.2.2.2 Глубина В |
_____ мм. | |||
|
А.2.3 Длина, измеренная от интерфейса робота до интерфейса рабочего органа | ||||
|
А.2.3.1 Длина состыкованной системы Lобщая |
_____ мм. | |||
|
А.2.3.2 Длина узла стыковки робота Lr |
_____ мм. | |||
|
А.2.3.3 Длина узла стыковки рабочего органа Lt |
_____ мм. | |||
|
А.3 Нагрузочные характеристики | ||||
|
Утвержденные максимальные значения нагрузочных характеристик соответствуют сумме статических и динамических нагрузок и должны быть предоставлены поставщиком/дистрибьютором системы автоматической смены рабочего органа. Все нагрузочные характеристики установлены для базовой плоскости. | ||||
|
А.3.1 Масса узла стыковки робота Mr |
_____ кг. | |||
|
А.3.2 Масса узла стыковки рабочего органа Mr |
_____ кг. | |||
|
А.3.3 Максимальный изгибающий момент Mbmax |
_____ Н·м. | |||
|
А.3.4 Максимальный скручивающий момент Моmax |
_____ Н·м. | |||
|
А.3.5 Максимальная сила растяжения Fnmax |
_____ Н. | |||
|
А.3.6 Максимальная сила сжатия Fpmax |
_____ Н. | |||
|
А.3.7 Максимальная поперечная сила FImax |
_____ Н. | |||
|
А.4 Диаметры окружности центров отверстий и стержня | ||||
|
А.4.1 Диаметр окружности центров отверстий по ИСО 9409-1 | ||||
|
А.4.1.1 Круглый фланец, закрепленный на роботе d1 |
_____ мм. | |||
|
А.4.1.2 Круглый фланец, закрепленный на рабочем органе d1 |
_____ мм. | |||
|
А.4.1.3 Другое | ||||
|
А.4.2 Диаметр стержня по ИСО 9409-2 | ||||
|
А.4.2.1 Стержень d1 |
_____ мм. | |||
|
А.4.2.2 Паз |
да □ нет □. | |||
|
А.4.2.3 Другое | ||||
|
А.5 Процедура сопряжения | ||||
|
А.5.1 Допуск на положение в начальной позиции: | ||||
|
радиальный s |
_____ мм, | |||
|
осевой f |
_____ мм. | |||
|
А.5.2 Направление стыковки и общая длина дистанции стыковки La. | ||||
|
радиальное |
_____ мм, | |||
|
осевое |
_____ мм. | |||
|
А.5.3 Повторяемость стыковки | ||||
|
А.5.3.1 Отклонение по положению: | ||||
|
в поперечном направлении st |
_____ мм, | |||
|
в осевом направлении ft |
_____ мм. | |||
|
А.5.3.2 Отклонение по ориентации: | ||||
|
- по тангажу αt |
_____ радиан или градусов, | |||
|
- по рысканию βt |
_____ радиан или градусов, | |||
|
- по крену γt |
_____ радиан или градусов, | |||
|
- предельное значение отклонения по тангажу/рысканию: | ||||
|
α |
_____ радиан или градусов, | |||
|
β |
_____ радиан или градусов, | |||
|
- предельное значение отклонения по крену γ |
_____ радиан или градусов. | |||
|
А.5.4 Усилие стыковки Fc |
_____ Н. | |||
|
А.5.5 Усилие расстыковки Fe |
_____ Н. | |||
|
А.5.6 Процедура фиксации, реализация и комбинации | ||||
|
А.5.6.1 Механическая |
□, |
комбинированная с | ||
|
неподвижная |
□; | |||
|
пружинная |
□; | |||
|
нейтральная |
□. | |||
|
А.5.6.2 Пневматическая |
□, |
комбинированная с | ||
|
под давлением |
□; | |||
|
вакуумная |
□; | |||
|
нейтральная |
□. | |||
|
А.5.6.3 Гидравлическая |
□, |
комбинированная с | ||
|
нейтральная |
□. | |||
|
А.5.6.4 Электромагнитная |
□, |
комбинированная с | ||
|
нейтральная |
□. | |||
|
А.5.7 Тип фиксации |
□: | |||
|
нежесткий |
□, | |||
|
сцепляемый |
□; | |||
|
другой |
□. | |||
|
А.5.8 Время смены рабочего органа | ||||
|
А.5.8.1 Время смены рабочего органа tобщее |
_____ с. | |||
|
А.5.8.2 Время отпускания tr |
_____ с. | |||
|
А.5.8.3 Время захватывания tk |
_____ с. | |||
|
А.6 Сигнальные и силовые соединения (подробная информация о разъемах и муфтах) | ||||
|
А.6.1 Пневматическая муфта |
□, |
число шлангов _____ . | ||
|
А.6.2 Гидравлическая муфта |
□, |
число шлангов _____ . | ||
|
А.6.3 Электромагнитная муфта |
□. | |||
|
А.6.3.1 Сигнальная шина |
□, |
число выводов _____ . | ||
|
А.6.3.2 Силовая шина |
□, |
число выводов _____ . | ||
|
Примечание - Значения, например напряжения, тока, давления и расхода, должны быть указаны. Некоторые рекомендации должны быть приведены по передаче сигналов гидравлического или пневматического питания, например число портов, максимальное давление, размер порта сопряжения, специализированные порты и т.д. | ||||
|
А.6.4 Другое | ||||
|
А.7 Безопасность закрепления | ||||
|
А.7.1 Индикаторный сигнал: |
да □, нет □. | |||
|
А.7.2 Предохранительное устройство: |
да □, нет □. | |||
|
А.7.3 Другое | ||||
|
А.8 Обозначение узла стыковки рабочего органа: |
да □, нет □. | |||
|
А.9 Тип фиксации в магазине узла стыковки рабочего органа: | ||||
|
сцепляемый |
□; | |||
|
нежесткий |
□; | |||
|
электромагнитный |
□; | |||
|
другой |
□. | |||
Приложение ДА
(справочное)
Таблица ДА.1
|
Обозначение ссылочного международного стандарта |
Степень соответствия |
Обозначение и наименование соответствующего национального стандарта |
|
ISO 8373:1994 |
IDT |
ГОСТ Р ИСО 8373-2014 "Роботы и робототехнические устройства. Термины и определения" |
|
ISO 9409-1:1996 |
- |
* |
|
ISO 9409-2:1996 |
- |
* |
|
ISO 9787:1990 |
IDT |
ГОСТ Р 60.0.0.3-2016/ИСО 9787:2013 "Роботы и робототехнические устройства. Системы координат и обозначение перемещений" |
|
*Соответствующий национальный стандарт отсутствует. До его принятия рекомендуется использовать перевод на русский язык данного международного стандарта. Примечание - В настоящей таблице использовано следующее условное обозначение степени соответствия стандартов: - IDT - идентичные стандарты. | ||













