ГОСТ 7698-93 (19.11.2015) КРАХМАЛ. ПРАВИЛА ПРИЕМКИ И МЕТОДЫ АНАЛИЗА(ИСО 1666-73, ИСО 3593-81, ИСО 5809-82, ИСО 3188-78, ИСО 5378-78, ИСО 5379-83, ИСО 5810-82, ИСО 3947-77, ИСО 3946-82)
С изменениями:
(19 ноября 2015 г.)
Starch. Acceptance rules and methods of analysis
Дата введения 1 января 1995 г.
Взамен ГОСТ 7698-78
Настоящий стандарт распространяется на картофельный, кукурузный, амилопектиновый кукурузный, пшеничный, рисовый, гороховый, тапиоковый и модифицированный крахмалы и устанавливает правила приемки и методы анализа.
Требования настоящего стандарта являются обязательными.
1.1. Крахмал принимают партиями. Партией считают совокупность единиц продукции одного наименования, вида и сорта, изготовленной одним предприятием за одну дату и смену в одинаковой упаковке и оформленной одним документом о качестве.
1.2. Каждая партия должна сопровождаться документом установленной формы, удостоверяющим ее качество, с указанием следующих основных данных:
товарного знака, наименования предприятия-изготовителя и его адреса;
номера партии;
наименования продукции, ее вида и сорта;
массы партии;
даты выработки;
результатов анализов;
обозначения стандарта на продукцию.
1.3. Проверке состояния упаковки и правильности маркировки подвергают каждую десятую единицу транспортной тары.
1.4. Для определения качества крахмала от партии отбирают выборку в следующем объеме:
для крахмала, упакованного в мешки, - каждый двадцатый мешок. Если партия состоит из двадцати и менее мешков, отбирают не менее трех мешков;
для фасованного крахмала - 2% ящиков, но не менее двух.
1.5. При получении неудовлетворительных результатов анализов хотя бы по одному показателю проводят повторные анализы на удвоенной выборке, взятой от той же партии.
Результаты повторных анализов распространяются на всю партию.
2.1. Не применяется на территории РФ с 1 января 2017 г.
2.2. Методы определения органолептических показателей
2.2.1. Органолептические показатели крахмала определяют в последовательности: вначале - внешний вид, затем - цвет и запах.
2.2.2. Для определения внешнего вида и цвета часть средней пробы крахмала помещают на пластину из бесцветного стекла размером 13х18 см. Поверхность крахмала покрывают второй пластинкой из такого же стекла размером 10х15 см.
Прижимая пальцем верхнюю пластинку к нижней, добиваются образования гладкой поверхности пробы крахмала и определяют внешний вид и цвет при рассеянном дневном свете.
2.2.3. Для определения запаха в фарфоровую чашку или стакан взвешивают навеску крахмала массой около 20 г, заливают теплой водой при температуре около 50°С, перемешивают и оставляют в покое. По истечении 0, 5 мин воду сливают и определяют запах сырого осадка.
2.3. Метод определения количества крапин
Сущность метода заключается в подсчете количества крапин на 1 дм2 поверхности крахмала.
2.3.1. Материалы
Пластинка из бесцветного стекла размером 10x15 см, на которую нанесены контуры прямоугольника размером 5x2 см с разбивкой на клетки размером 1х1 см.
2.3.2. Проведение анализа
Небольшое количество крахмала, взятое на шпателе, насыпают на лист белой бумаги или на стекло. На поверхность крахмала кладут стеклянную пластинку с нанесенными на ней контурами прямоугольника и клетками.
Крахмал слегка придавливают стеклом и считают крапины на всей очерченной площади. Крахмал перемешивают и повторяют подсчет крапин. Подсчет проводят не менее пяти раз.
2.3.3. Количество крапин (X) в штуках на 1 дм2 поверхности крахмала вычисляют по формуле
,
где n - общая сумма крапин после пяти подсчетов, шт.;
10 - площадь очерченного прямоугольника, см2.
2.4. Методы определения влаги
2.4.1. Метод определения влаги высушиванием до постоянной массы
Сущность метода заключается в высушивании навески крахмала при температуре (105±2)°С до постоянной массы. Метод предназначается применять при возникновении разногласий в оценке качества продукции.
2.4.1.1. Аппаратура, материалы
Весы лабораторные общего назначения 2-го класса точности с наибольшим пределом взвешивания 200 г по ГОСТ 24104.
Шкаф сушильный с максимальной температурой нагрева 200°С типа СЭШ-3М по ТУ 25-02.210-718 или электрошкаф типа СНОЛ-3, 5.3, 5, 3.5/3, 5-И1 по ТУ 16-681.032.
Стаканчики для взвешивания (бюксы) типов СН 34/12 и СН 45/13 по ГОСТ 25336 или бюксы металлические.
Эксикатор по ГОСТ 25336.
Часы наручные по ГОСТ 10733.
Допускается применять импортные оборудование, посуду с метрологическими характеристиками не ниже указанных в стандарте.
2.4.1.2. Проведение анализа
В предварительно высушенную до постоянной массы и взвешенную бюксу взвешивают навеску крахмала массой около 2 г. При достижении в сушильном шкафу температуры 105°С открытую бюксу с навеской и крышку помещают в шкаф и сушат в течение 3 ч. Началом сушки считают момент достижения вновь температуры 105°С после внесения бюксы в шкаф. По истечении 3 ч бюксу закрывают крышкой, вынимают из шкафа и ставят в эксикатор на 30 мин для охлаждения, а затем взвешивают. Зафиксировав первое взвешивание, бюксу с навеской помещают в сушильный шкаф на 30 мин, охлаждают в эксикаторе и снова взвешивают. Высушивание навески повторяют до тех пор, пока результат последнего взвешивания не начнет изменяться в сторону увеличения. Для вычисления берется последний еще убывающий результат взвешивания.
2.4.1.3. Обработка результатов
Массовую долю влаги (W) в процентах вычисляют по формуле
,
где m - масса бюксы, г;
m1 - масса бюксы с крахмалом до высушивания, г;
m2 - масса бюксы с крахмалом после высушивания, г.
За окончательный результат анализа принимают среднее арифметическое результатов двух параллельных определений, допускаемое расхождение между которыми не должно превышать 0, 5%.
Вычисление проводят с точностью до целого числа.
2.4.2. Определение влаги методом ускоренного высушивания
Сущность метода заключается в высушивании навески крахмала при температуре (130±2)°С в течение определенного времени.
2.4.2.1. Аппаратура - по п. 2.4.1.1.
2.4.2.2. В предварительно высушенную до постоянной массы и взвешенную бюксу взвешивают навеску крахмала массой около 4 г. При достижении в сушильном шкафу температуры 130°С открытую бюксу с навеской и крышкой помещают в него и сушат в течение 40 мин.
Началом сушки считают момент достижения вновь температуры 130°С после внесения бюксы в шкаф. По истечении 40 мин бюксу закрывают крышкой, вынимают из шкафа, ставят в эксикатор на 30 мин для охлаждения и затем взвешивают.
2.4.2.3. Обработка результатов - по п. 2.4.1.3.
2.4.3. Допускается проводить анализ в соответствии с приложением 1.
2.5. Метод определения общей золы
Сущность метода заключается в определении несгораемого остатка крахмала при сжигании его в муфельной печи при температуре 600-650°С.
2.5.1. Аппаратура и материалы
Весы лабораторные общего назначения 2-го класса точности с наибольшим пределом взвешивания 200 г по ГОСТ 24104.
Тигли фарфоровые низкие N 4 или 5 по ГОСТ 9147.
Печь муфельная с максимальной температурой нагрева 1000°С типа СМОЛ-1, 6.2, 5.1/11-И2 по ТУ 16-531.704.
Электроплитка бытовая по ГОСТ 14919.
Эксикатор по ГОСТ 25336.
Масло растительное: кукурузное по ГОСТ 8808 или подсолнечное по ГОСТ 1129.
Часы наручные по ГОСТ 10733.
Допускается применять импортные оборудование, посуду с метрологическими характеристиками не ниже указанных в стандарте.
2.5.2. Проведение анализа
В предварительно прокаленный до постоянной массы и взвешенный тигель взвешивают навеску крахмала массой около 10 г и обугливают путем нагревания тигля с крахмалом на электрической плитке. Во избежание вспучивания на поверхность навески наносят пять-семь капель растительного масла.
После обугливания тигель помещают в муфельную печь, нагретую до 600-650°С (темно-вишневое каление), где прокаливают его до полного озоления навески крахмала.
После озоления тигель с золой охлаждают в эксикаторе и взвешивают. После взвешивания тигель с золой повторно прокаливают в течение 30 мин, охлаждают в эксикаторе и вновь взвешивают. Прокаливание повторяют до тех пор, пока результат последнего взвешивания не начнет изменяться в сторону увеличения. Для вычисления берется последний еще убывающий результат взвешивания.
2.5.3. Обработка результатов
Массовую долю общей золы (X1) в процентах в пересчете на сухое вещество вычисляют по формуле
,
где m - масса тигля, г;
m1 - масса тигля с крахмалом, г;
m2 - масса тигля с золой, г;
W - массовая доля влаги в крахмале, %;
100 - W - массовая доля сухих веществ в крахмале, %;
100 - коэффициент пересчета в проценты массовой доли золы в крахмале;
100 - коэффициент пересчета в проценты массовой доли золы на сухие вещества крахмала.
За окончательный результат анализа принимают среднее арифметическое результатов двух параллельных определений, допускаемое расхождение между которыми не должно превышать 0, 05%.
Вычисление проводят с точностью до второго десятичного знака.
2.5.4. Допускается проводить анализ в соответствии с приложением 2 или 3.
2.6. Метод определения золы (песка), нерастворимой в 10%-ном растворе соляной кислоты
Сущность метода заключается в растворении навески крахмала 10%-ным раствором соляной кислотой, фильтрации полученного раствора и определении массовой доли золы (песка) после сжигания осадка на фильтре в муфельной печи при температуре 600-650°С.
2.6.1. Аппаратура, материалы и реактивы
Весы лабораторные общего назначения 2-го класса точности с наибольшим пределом взвешивания 200 г по ГОСТ 24104.
Тигли фарфоровые низкие N 4 или 5 по ГОСТ 9147.
Печь муфельная с минимальной температурой нагрева 1000°С типа СМОЛ-1, 6.2, 5.1/11-И2 по ТУ 16-531.704.
Электроплитка бытовая по ГОСТ 14919.
Эксикатор по ГОСТ 25336.
Баня водяная.
Стаканы стеклянные лабораторные вместимостью 100 см3, типа В-1-100ТС или В-1-100ТХС; Н-2-100ТС или Н-2-100ТХС по ГОСТ 25336.
Цилиндры мерные вместимостью 100 см3 типа 1-100 или 3-100 по ГОСТ 1770.
Колбы конические (Эрленмейера) вместимостью 500 см3 типа Кн-1-500-40ТС; Кн-1-500-40ТХС или Кн-2-500-40ТХС по ГОСТ 25336.
Воронки стеклянные типа В-55-80ХС или В-56-110ХС, или В-75-110ХС по ГОСТ 25336.
Фильтры беззольные.
Кислота соляная по ГОСТ 3118, х.ч., раствор с массовой долей соляной кислоты 10%.
Вода дистиллированная по ГОСТ 6709.
Часы наручные по ГОСТ 10733.
Допускается применять импортные оборудование, посуду с метрологическими характеристиками и реактивы с квалификацией не ниже указанных в стандарте.
2.6.2. Проведение анализа
В стеклянный стаканчик взвешивают навеску крахмала массой 20 г и количественно переносят дистиллированной водой в коническую колбу. Общий объем воды в колбе должен составлять 155 см3. К полученной суспензии приливают 45 см3 соляной кислоты, что соответствует получению раствора с массовой долей соляной кислоты 10% в общем объеме суспензии.
Содержимое колбы тщательно перемешивают. Колбу помещают в кипящую баню. В течение первых 3 мин суспензию перемешивают до полного растворения крахмала. Кипячение ведут 30 мин, после чего раствор фильтруют через беззольный фильтр. Колбу ополаскивают водой, которую сливают на тот же фильтр. Осадок на фильтре пять раз промывают дистиллированной водой, подогретой до температуры 50-60°С. Фильтр вместе с осадком переносят в предварительно прокаленный до постоянной массы и взвешенный тигель, подсушивают, помещают в муфельную печь, нагретую до 600-650°С, и прокаливают его до полного озоления по п. 2.5.2.
2.6.3. Обработка результатов
Массовую долю золы (песка), нерастворимой в 10%-ном растворе соляной кислоты (X2), в процентах в пересчете на сухое вещество вычисляют по формуле
,
где m - масса тигля, г;
m1 - масса тигля с золой (песком), г;
20 - масса навески крахмала, г;
W - массовая доля влаги в крахмале, %.
За окончательный результат анализа принимают среднее арифметическое результатов двух параллельных определений, допускаемое расхождение между которыми не должно превышать 0, 005%.
Вычисление проводят с точностью до второго десятичного знака.
2.7. Метод определения кислотности
Сущность метода заключается в нейтрализации кислот и кислых солей, содержащихся в 100 г сухого вещества крахмала, раствором гидроокиси натрия молярной концентрации 0, 1 моль/дм3 (0, 1 н.) в присутствии индикатора фенолфталеина.
2.7.1 Аппаратура и реактивы
Весы лабораторные общего назначения 4-го класса точности с наибольшим пределом взвешивания 500 или 1000 г по ГОСТ 24104.
Колбы конические (Эрленмейера) вместимостью 250 см3 типа Кн-1-250-34ТС, Кн-1-250-34ТХС или Кн-2-250-34ТХС по ГОСТ 25336.
Цилиндры мерные вместимостью 100 см3, типа 1-100 или 3-100 по ГОСТ 1770.
Бюретка 2-го класса точности вместимостью 50 см3, типа 1-2-50 или 3-2-50 по ГОСТ 29251.
Натрия гидроокись по ГОСТ 4328, х.ч., раствор молярной концентрации 0, 1 моль/дм3 (0, 1 н.).
Спирт этиловый ректификованный по ГОСТ 5962 или спирт этиловый питьевой с массовой долей 95% по ГОСТ 5963.
Фенолфталеин по ТУ 6-09-5360, спиртовой раствор с массовой долей фенолфталеина 1%.
Вода дистиллированная по ГОСТ 6709.
Допускается применять импортные оборудование, посуду с метрологическими характеристиками и реактивы с квалификацией не ниже указанных в стандарте.
2.7.2 Проведение анализа
В коническую колбу взвешивают навеску крахмала массой 20 г, приливают цилиндром 100 см3 дистиллированной воды, прибавляют пять-восемь капель раствора фенолфталеина и титруют раствором гидроокиси натрия до заметной розовой окраски, не исчезающей в течение 1 мин.
Так как крахмал адсорбирует фенолфталеин, то перед концом титрования добавляют еще пять-шесть капель фенолфталеина.
2.7.3. Обработка результатов
Кислотность (X3) в кубических сантиметрах раствора гидроокиси натрия молярной концентрации 0, 1 моль/дм3 (0, 1 н.) в пересчете на 100 г сухого вещества крахмала вычисляют по формуле
,
где V - объем раствора гидроокиси натрия молярной концентрации 0, 1 моль/дм3 (0, 1 н.), израсходованный на титрование, см3;
m0 - масса навески крахмала, г;
W - массовая доля влаги в крахмале, %.
За окончательный результат анализа принимают среднее арифметическое результатов двух параллельных определений, допускаемое расхождение между которыми не должно превышать 1 см3. Вычисление проводят с точностью до первого десятичного знака.
2.8. Метод определения протеина в кукурузном крахмале
Сущность метода заключается в окислении навески крахмала концентрированной серной кислотой при нагревании с последующей отгонкой аммиака и пересчетом содержащегося в нем азота на протеин.
2.8.1. Аппаратура, реактивы и материалы
Весы лабораторные общего назначения 2-го класса точности с наибольшим пределом взвешивания 200 г по ГОСТ 24104.
Холодильники стеклянные лабораторные по ГОСТ 25336.
Прибор для отмеривания серной кислоты типа А по ГОСТ 6859.
Колбы Кьельдаля вместимостью 750 см3 по ГОСТ 25336.
Каплеуловители стеклянные лабораторные по ГОСТ 25336.
Электроплитка бытовая по ГОСТ 14919.
Колбонагреватели.
Пробирки стеклянные по ГОСТ 25336.
Колбы конические (Эрленмейера) вместимостью 500 см3 типа Кн-1-500-40ТС, Кн-1-500-40ТХС или Кн-2-500-40ТХС по ГОСТ 25336.
Бюретка 2-го класса точности вместимостью 50 см3, типа 1-2-50 или 3-2-50 по ГОСТ 29251.
Пипетка 2-го класса точности вместимостью 25 см3, типа 2-2-25 или 7-2-25 по ГОСТ 29227.
Цилиндры мерные вместимостью 100 см3, типа 1-100 или 3-100 по ГОСТ 1770.
Натрия гидроокись по ГОСТ 4328, х.ч., раствор с массовой долей гидроокиси натрия 40% и раствор молярной концентрации 0, 2 моль/дм3 (0, 02 н.).
Кислота серная по ГОСТ 4204, х.ч., плотностью 1, 83 г/см3 и раствор серной кислоты молярной концентрации 0, 02 моль/дм3 (0, 02 н.).
Медь сернокислая по ГОСТ 4165 х.ч.
Калий сернокислый по ГОСТ 4145 х.ч.
Селен металлический по ТУ 6-09-5358.
Калий марганцовокислый по ГОСТ 20490.
Метиленовый голубой.
Метиловый красный.
Смешанный индикатор (смесь метилового красного и метиленового голубого), приготовленный по ГОСТ 4919.1.
Спирт этиловый ректификованный по ГОСТ 5962 или спирт этиловый питьевой с массовой долей 95% по ГОСТ 5963.
Вода дистиллированная по ГОСТ 6709.
Шпатель.
Лакмусовая бумага универсальная.
Катализатор: смесь, 10 г сернокислой меди, 40 г сернистого калия, 3 г марганцовокислого калия и 0, 2 г селена.
Допускается применять импортные оборудование, посуду с метрологическими характеристиками и реактивы с квалификацией не ниже указанных в стандарте.
2.8.2. Проведение анализа
В пробирку взвешивают навеску крахмала массой 2-3 г. На пробирку надевают резиновую трубку, посредством которой вносят пробирку почти до дна сухой колбы Кьельдаля; осторожно высыпают крахмал. Пустую пробирку взвешивают. По разности масс пробирки с крахмалом и пустой пробирки определяют массу крахмала.
В колбу на кончике шпателя добавляют катализатор. Затем к содержимому колбы осторожно по стенке приливают серную кислоту плотностью 1, 83 г/см3 (на каждый грамм крахмала - 10 см3 кислоты) и круговыми движениями перемешивают.
Колбу закрывают стеклянной пробкой, свободно прилегающей к стенкам, и для сжигания навески помещают на колбонагреватель или электрическую плитку. Сжигание проводят в вытяжном шкафу сначала при слабом нагреве, а после окончания вспенивания - при сильном до тех пор, пока раствор в колбе не будет полностью прозрачным без наличия несгоревших черных частиц. Содержимое колбы охлаждают и осторожно смывают внутренние стенки колбы дистиллированной водой. Общий объем полученного раствора должен быть 400-450 см3. Колбу присоединяют через каплеуловитель к стеклянному холодильнику, отводная трубка его опущена в коническую колбу, в которую предварительно наливают 25 см3 раствора серной кислоты молярной концентрации 0, 02 моль/дм3 (0, 02 н.) и три-четыре капли смешанного индикатора.
Для равномерного кипячения в колбу Кьельдаля опускают несколько стеклянных бусинок или кусочков битого фарфора и осторожно по стенке колбы приливают раствор с массовой долей гидроокиси натрия 40% из расчета 40 см3 на каждые 10 см3 серной кислоты, взятой для сжигания. При этом содержимое колбы не должно взбалтываться. Колбу быстро закрывают пробкой с каплеуловителем, соединенным с холодильником.
После того, как установка для отгонки аммиака собрана, содержимое колбы слегка взбалтывают (при этом следят за тем, чтобы конец отводной трубки холодильника был опущен в раствор серной кислоты молярной концентрации 0, 02 моль/дм3 (0, 02 н.), находящейся в приемной колбе) и постепенно нагревают до кипения, отгоняя аммиак в приемную колбу.
Перегонку можно считать оконченной, когда в колбе Кьельдаля остается одна треть от первоначального объема жидкости.
В конце отгонки отводную трубку держат не в кислоте, а над ее уровнем. Полноту отгонки аммиака проверяют по красной лакмусовой бумажке, которая не должна синеть от капли конденсата, стекающего из отводной трубки холодильника. После прекращения отгонки отводную трубку холодильника смывают дистиллированной водой. Содержимое приемной колбы титруют раствором гидроокиси натрия молярной концентрации 0, 02 моль/дм3 (0, 02 н.) до появления зеленого окрашивания.
Объем раствора гидроокиси натрия в кубических сантиметрах, израсходованный на титрование, свидетельствует о количестве серной кислоты, не связанной с аммиаком.
Параллельно основному анализу приводят контрольный анализ на реактивы без навески крахмала.
2.8.3. Обработка результатов
Массовую долю протеина (X4) в процентах в пересчете на сухое вещество вычисляют по формуле
,
где 0, 00028 - количество азота, которое связывает 1 см3 0, 02 моль/дм3 (0, 02 н.) раствора серной кислоты, г;
6, 25 - коэффициент для пересчета азота на протеин;
V - объем раствора гидроокиси натрия молярной концентрации 0, 02 моль/дм3 (0, 02 н.), израсходованный на титрование в контрольном анализе, см3;
V1 - объем раствора гидроокиси натрия молярной концентрации 0, 02 моль/дм3 (0, 02 н.), израсходованный на титрование в основном анализе, см3;
m0 - масса навески крахмала, г;
W - массовая доля влаги в крахмале, %;
(100 - W) - массовая доля сухих веществ в крахмале, %;
100 - коэффициент пересчета в проценты массовой доли протеина в крахмале;
100 - коэффициент пересчета в проценты массовой доли протеина на сухие вещества в крахмале.
За окончательный результат анализа принимают среднее арифметическое результатов двух параллельных определений, допускаемое расхождение между которыми не должно превышать 0, 05%.
Вычисление проводят с точностью до первого десятичного знака.
2.8.4. Допускается проводить анализ в соответствии с приложением 4 или 5.
2.9. Метод определения сернистого ангидрида
Сущность метода заключается в окислении сернистой кислоты раствором йода при титровании фильтрата крахмальной суспензии.
2.9.1. Аппаратура, материалы и реактивы
Весы лабораторные общего назначения 4-го класса точности, с наибольшим пределом взвешивания 500 или 1000 г по ГОСТ 24104.
Стаканы стеклянные лабораторные вместимостью 100 см3, типа В-1-100ТС или В-1-100ТХС по ГОСТ 25336.
Воронки стеклянные типа В-56-80ХС или В-56-110ХС, или В-75-100ХС по ГОСТ 25336.
Пипетка 2-го класса точности вместимостью 50 см3, типа 2-2-50 по ГОСТ 29227.
Бюретка 2-го класса точности вместимостью 50 см3, типа 1-2-50 или 3-2-50 по ГОСТ 29251.
Колбы конические (Эрленмейера) вместимостью 250, 500 см3 типа Кн-1-250-34ТС или Кн-2-250-34ТС, или Кн-1-250-34ТХС, или Кн-1-500-40ТС, или Кн-1-500-40ТХС, или Кн-2-500-40ТХС по ГОСТ 25336.
Капельницы лабораторные стеклянные по ГОСТ 25336.
Бумага фильтровальная лабораторная по ГОСТ 12026.
Часы наручные по ГОСТ 10733.
Йод по ГОСТ 4159, х.ч.
Калий йодистый по ГОСТ 4232, х.ч., раствор йодистого калия молярной концентрации 0, 02 моль/дм3 (0, 02 н.).
Кислота соляная по ГОСТ 3118, х.ч., разбавленная дистиллированной водой в соотношении 1:5.
Крахмал растворимый по ГОСТ 10163, раствор с массовой долей крахмала 1%.
Вода дистиллированная по ГОСТ 6709.
Раствор йода [2, 54 г йода растворяют в 1 дм3 раствора йодистого калия молярной концентрации 0, 02 моль/дм3 (0, 02 н.)].
Допускается применять импортные оборудование, посуду с метрологическими характеристиками и реактивы с квалификацией не ниже указанных в стандарте.
2.9.2. Проведение анализа
В стеклянный стаканчик взвешивают навеску крахмала массой 50 г и количественно переносят дистиллированной водой в коническую колбу, общий объем воды в которой должен составлять 200 см3. Содержимое колбы тщательно перемешивают в течение 15 мин (колба должна быть закрыта пробкой). Полученную суспензию крахмала фильтруют через бумажный фильтр.
50 см3 фильтрата пипеткой переносят в коническую колбу и титруют раствором йода, применяя в качестве индикатора три-пять капель раствора крахмала и разбавленной соляной кислоты до заметного синего окрашивания, не исчезающего в течение 1 мин.
2.9.3. Обработка результатов
Массовую долю сернистого ангидрида (X5) в процентах вычисляют по формуле
,
где 200 - общий объем приливаемой воды, см3;
50 - количество фильтрата, используемое на титрование, см3;
V - объем раствора йода, израсходованный на титрование фильтрата, см3;
0, 64 - количество сернистого ангидрида, соответствующее 1 см3 0, 02 моль/дм3 (0, 02 н.) раствора йода, мг;
20 - коэффициент пересчета содержания сернистого ангидрида в 1 кг крахмала;
1, 15 - коэффициент для приведения содержания сернистого ангидрида к показаниям метода по массе;
100 - коэффициент пересчета массовой доли сернистого ангидрида в проценты;
1000 - коэффициент пересчета навески крахмала из граммов в миллиграммы.
За окончательный результат анализа принимают среднее арифметическое результатов двух параллельных определений, допускаемое расхождение между которыми не должно превышать 0, 0007%.
Вычисление проводят с точностью до третьего десятичного знака.
Массовую долю сернистого ангидрида (X6) в мг на 1 кг крахмала вычисляют по формуле
,
где 200 - общий объем, приливаемой воды, см3;
50 - количество фильтрата, используемое на титрование, см3;
V - объем раствора йода, израсходованный на титрование фильтрата, см3;
0, 64 - количество сернистого ангидрида, соответствующее 1 см3 раствора йода, мг;
20 - коэффициент пересчета содержания сернистого ангидрида в 1 кг крахмала;
1, 15 - коэффициент для приведения содержания сернистого ангидрида к показаниям метода по массе.
За окончательный результат анализа принимают среднее арифметическое результатов двух параллельных определений, допускаемое расхождение между которыми не должно превышать 7, 2 мг/кг.
Вычисление проводят с точностью до первого десятичного знака.
2.9.4. Допускается проводить анализ в соответствии с приложением 6.
2.10. Методы определения наличия примесей других видов крахмала
Сущность метода заключается в микроскопировании части средней пробы крахмала.
2.10.1. Аппаратура
Микроскоп световой биологический, обеспечивающий увеличение 100х200.
Шпатель.
2.10.2. Проведение анализа
Для испытания берут на кончике шпателя часть средней пробы крахмала, высыпают его на центр предметного стекла и рассматривают под микроскопом.
Форма крахмальных зерен должна соответствовать наименованию крахмала данной партии.
2.11. Метод определения остатка на шелковой ткани для сит N 67 или капроновой ткани для сит N 73 в амилопектиновом кукурузном крахмале
Сущность метода заключается в определении количества высушенного остатка после промывания на сите 100 г крахмала.
2.11.1. Аппаратура и материалы
Весы лабораторные общего назначения 4-го класса точности, с наибольшим пределом взвешивания 500 или 1000 г по ГОСТ 24104.
Стаканчики для взвешивания (бюксы) типа СН 34/12 или СН 45/13 по ГОСТ 25336 или бюксы металлические.
Шкаф сушильный, с максимальной температурой нагрева 200°С типа СЭШ-ЗМ по ТУ 25-02.210-718 или электрошкаф типа СНОЛ-3, 5.3, 5.3.5/3, 5-И1 по ТУ 16-681.032.
Эксикатор по ГОСТ 25336.
Стаканы стеклянные лабораторные вместимостью 150, 1000 см3, типа В-1-15ТС или В-1-150ТХС, или В-1000ТС, или В-1-1000ТХС по ГОСТ 25336.
Пробирки стеклянные по ГОСТ 25336.
Ткань шелковая для сит N 67 по ГОСТ 4403.
Ткань капроновая для сит N 73.
Обечайка (диаметр около 200 мм, высота около 100 мм) с кольцом для закрепления ситовой ткани и поддоном для сбора прохода через сито.
Баня водяная.
Допускается применять импортные оборудование, посуду с метрологическими характеристиками не ниже указанных в стандарте.
2.11.2. Проведение анализа
В стеклянный стакан взвешивают навеску крахмала массой 100 г, добавляют примерно 1 дм3 воды. После перемешивания суспензию переносят на сито. Остаток на сите промывают водой до полного отмывания крахмала.
Полнота отмывания характеризуется отсутствием помутнения промывной воды при рассмотрении ее в пробирке в проходящем свете. Остаток на сите помещают в предварительно высушенную до постоянной массы и взвешенную бюксу, подсушивают на кипящей водяной бане, а затем определяют количество сухого остатка в бюксе методом высушивания при 105°С в сушильном шкафу до постоянной массы по п. 2.4.1.2.
2.11.3. Обработка результатов
Массовую долю остатка (X7) в процентах в пересчете на сухое вещество вычисляют по формуле
,
где m - масса бюксы, г;
m1 - масса бюксы с остатком после высушивания, г;
W - массовая доля влаги в крахмале, %;
100 - коэффициент пересчета массовой доли остатка в проценты;
(100 - W) - массовая доля сухих веществ в крахмале, %.
За окончательный результат анализа принимают среднее арифметическое результатов двух параллельных определений, допускаемое расхождение между которыми не должно превышать 0, 5%.
Вычисление проводят с точностью до первого десятичного знака.
2.12. Метод проведения цветной реакции с йодом для амилопектинового кукурузного крахмала
Сущность метода заключается в окрашивании разбавленного клейстера раствором йода и сравнении цвета окрашенного клейстера с цветом образца сравнения.
2.12.1. Аппаратура и реактивы
Весы лабораторные общего назначения 4-го класса точности, с наибольшим пределом взвешивания 500 или 1000 г по ГОСТ 24104.
Электроплитка бытовая по ГОСТ 14919.
Пробирки стеклянные по ГОСТ 25336.
Колбы конические (Эрленмейера) вместимостью 500 см3, типа Кн-1-500-40ТС или Кн-1-500-40ТХС, или Кн-2-500-10ТХС по ГОСТ 25336.
Цилиндры мерные вместимостью 200 см3, типа 1-200 или 3-200 по ГОСТ 1770.
Палочка стеклянная.
Йод по ГОСТ 4159, х.ч.
Калий йодистый по ГОСТ 4232, х.ч., раствор молярной концентрации 0, 02 моль/дм3 (0, 02 н.).
Вода дистиллированная по ГОСТ 6709.
Раствор йода [2, 54 г йода растворяют в 1 дм3 раствора йодистого калия молярной концентрации 0, 02 моль/дм3 (0, 02 н.)].
Часы наручные по ГОСТ 10733.
Допускается применять импортные оборудование, посуду с метрологическими характеристиками и реактивы с квалификацией не ниже указанных в стандарте.
2.12.2. Проведение анализа
Навеску крахмала массой 0, 25 г переносят в коническую колбу вместимостью 500 см3, добавляют 50 см3 дистиллированной воды и кипятят на электрической плитке 5 мин. До начала кипения суспензию непрерывно помешивают стеклянной палочкой, что обеспечивает образование однородной массы.
Началом закипания считают момент появления пузырьков.
После кипения в колбу добавляют 200 см3 воды и раствор тщательно перемешивают.
В стеклянную пробирку наливают примерно 10 см3 разбавленного клейстера, добавляют 1-2 капли раствора йода и сравнивают окраску с окраской заранее приготовленного образца сравнения. Образцы сравнения готовят таким же методом, используя образцы крахмала восковидной кукурузы. Образец сравнения при окрашивании йодом имеет цвет от красного до красно-фиолетового. Цвет клейстера, приготовленного из анализируемого крахмала, должен соответствовать цвету образца сравнения.
2.13. Вероятность допускаемых расхождений результатов двух параллельных определений не должна превышать норм, указанных в пп. 2.4.1.3, 2.5.3, 2.6.3, 2.7.3, 2.8.3, 2.9.3, 2.11.3 при доверительной вероятности Р=95%.
2.14. Определение массовой доли токсичных элементов (меди, цинка, свинца, ртути, кадмия и мышьяка) - по ГОСТ 26927, ГОСТ 26930 - ГОСТ 26934.
2.15. Допускается проводить анализ крахмала на содержание хлоридов потенциометрическим методом в соответствии с приложением 7.
2.16. Допускается проводить анализ крахмала на содержание общего жира в соответствии с приложением 8.
2.17. Допускается проводить анализ крахмала на содержание фосфора спектрофотометрическим методом в соответствии с приложением 9.
Приложение 1
Справочное
ИСО 1666-73
Устанавливаются два метода определения содержания влаги в крахмале:
метод 1 - определение содержания влаги при помещении в сушильный шкаф при 130°С и атмосферном давлении;
метод 2 - определение содержания влаги при помещении в сушильный шкаф при 100 или 73°С и пониженном давлении.
Данные методы приемлемы для нативных крахмалов. Для большинства обычных разновидностей нативных крахмалов рекомендуется метод 1.
В особых случаях, например если в состав крахмала входят вещества, нестойкие при 130°С или в условиях высокой относительной влажности, допускается применение вакуумного метода (метод 2). Данные, полученные в результате применения метода 2, будут аналогичны. Однако обычно их абсолютное значение на 0, 1-0, 3% выше абсолютного значения данных, полученных в результате применения метода быстрой сушки в сушильном шкафу (метод 1).
Вакуумный метод может применяться при 100 или 73°С. Если крахмал содержит вещества, нестойкие при 100°С, испытание следует проводить при 73°С.
Содержание влаги в крахмале - потеря по массе материала в заданных условиях испытания.
Образец для исследования должен быть получен в герметическом влагонепроницаемом сосуде. После взятия проб для анализа оставшуюся часть образца следует хранить в том же сосуде для дальнейших испытаний, если потребуется.
4.1. Сущность метода
Обезвоживание пробы для анализа в сушильном шкафу с электрическим нагревом при температуре от 130 до 133°С и атмосферном давлении в течение 1, 5 ч.
4.2. Аппаратура
4.2.1. Аналитические весы
4.2.2. Чашка из металла, на который не влияет крахмал в условиях испытания (например, из алюминия), с соответствующей герметической крышкой. При этом полезная поверхность чашки должна быть такой, чтобы толщина пробы для анализа при равномерном ее распределении составляла не более 0, 3 г/см2. Приемлемыми размерами чашки являются: диаметр 55-65 мм, высота 15-30 мм и толщина стенки около 0, 5 мм.
4.2.3. Сушильный шкаф с постоянной температурой, электрическим нагревом, регулируемый таким образом, чтобы в течение всей работы температура воздуха и полок, на которых размещены пробы для анализа, находилась в пределах 130-133°С. Теплоемкость шкафа должна обеспечивать восстановление первоначально достигнутой температуры, равной 131°C, в течение 30 мин после помещения в него максимального числа проб для анализа, которые могут сушиться одновременно.
4.2.4. Эксикатор, содержащий эффективное высушивающее вещество, снабжен толстой сетчатой металлической пластинкой для быстрого охлаждения чашек.
4.3. Методика анализа
Выполняют несколько взвешиваний с точностью до 0, 001 г.
4.3.1. Проба для анализа
Взвешивают чашку и крышку после высушивания при 130°С и охлаждения в эксикаторе. Переносят (5±0, 25)г тщательно перемешанного образца, в котором не должно обнаруживаться каких-либо твердых частиц или комков, в чашку. При этом стараются максимально ограничить взаимодействие с окружающей средой. Закрывают содержимое крышкой и сразу же взвешивают для определения массы пробы для анализа. Распределяют пробу для анализа равномерным слоем по всему дну чашки.
4.3.2. Проведение анализа
Помещают открытую чашку с пробой для анализа в сушильный шкаф, предварительно нагретый до 130°С, прикрывают крышкой и сушат при температуре от 130 до 133°С в течение 1, 5 ч до того момента, когда температура шкафа снова достигнет 130°С.
По истечении этого времени быстро закрывают чашку и помещают ее в эксикатор.
Примечание. Не допускается ставить чашки друг на друга в эксикаторе.
Охлаждают пробу для анализа до комнатной температуры в эксикаторе в течение 30-45 мин.
После охлаждения чашки до комнатной температуры взвешивают ее в течение 2 мин после удаления ее из эксикатора.
На одном и том же тщательно перемешанном лабораторном образце выполняют не менее двух определений.
4.4. Обработка результатов
Содержание влаги (W), выраженное и процентах по массе, вычисляют по формуле
,
где m0 - масса высушенной пустой чашки и крышки, г;
m1 - масса чашки с пробой для анализа и крышки перед сушкой, г;
m2 - масса чашки с пробой для анализа и крышки после сушки, г.
За результат анализа принимают среднее арифметическое результатов двух определений, если удовлетворены требования, предъявляемые к сходимости результатов.
Результат записывают до первого десятичного знака.
Расхождение между результатами двух определений, выполненных одновременно или непосредственно одно после другого, на одной и той же пробе, одним и тем же лаборантом не должно превышать 0, 2 г на 100 г крахмала.
Если результат превышает 0, 2 г, определение следует повторить, убедившись, что первоначальный образец* тщательно перемешан.
Для расчета берут только повторно полученные результаты, расхождение между которыми не превышает 0, 2% по абсолютной величине.
5.1. Сущность метода
Обезвоживание пробы для анализа до постоянной массы в вакуумном сушильном шкафу с электрическим нагревом или в стеклянной трубке высушивающим веществом в присутствии пятиокиси фосфора при 100 или 73°С при давлении (20±7)мбар **.
5.2. Аппаратура
5.2.1. Аналитические весы.
5.2.2. Аппарат для поддержания давления в пределах (20±7)мбар.
5.2.3. Ртутный манометр для регулирования постоянного вакуума и для методики А (см. п. 5.3).
5.2.4. Чашка из металла, на который не влияет крахмал в условиях испытания (например, из алюминия), с соответствующей герметической крышкой, при этом полезная поверхность чашки должна быть такой, чтобы толщина пробы для анализа при равномерном ее распределении составляла не более 0, 3 г/см2. Приемлемыми размерами чашки являются: диаметр 55-65 мм, высота 15-30 мм и толщина стенки около 0, 5 мм.
5.2.5. Вакуумный сушильный шкаф с электрическим нагревом, отрегулированный на температуру (100±2) или (73±2)°С.
5.2.6. Установка для высушивания воздуха в конце периода вакуума, состоящая из частей, собранных в следующем порядке:
а) газопромыватель с серной кислотой (ρ20=1, 83 г/см3);
б) предохранительная склянка;
в) сушильная колонка, наполненная силикагелем.
5.2.7. Эксикатор, содержащий эффективное высушивающее вещество, снабженный толстой сетчатой металлической пластинкой для быстрого охлаждения чашек, а также для методики Б (см. п. 5.4).
5.2.8. Чашка из металла, на который не влияет крахмал в условиях испытания, с соответствующей герметической крышкой, черт. 1. Она имеет плоское дно полезной площадью 16 см2 и высоту (по внутренней стороне) 14 мм. Чашка может применяться с трубкой с высушивающим веществом. Толщина пробы для анализа при равномерном ее распределении на дне чашки должна составлять не более 0, 3 г/см2.
5.2.9. Стеклянная или фарфоровая лодка.
5.2.10. Стеклянная трубка с высушивающим веществом, черт. 2, закрытая с одного конца. Другой конец трубки снабжен притертой пробкой. Имеет шлиф 40/50 (т.е. диаметр 40 мм и длина притертой части 50 мм). Она предназначена для использования с чашкой. Данная установка может применяться для охлаждения пробы для анализа после ее высушивания без использования эксикатора.
5.2.11. Шкаф с постоянной температурой и электрическим нагревом или какое-либо другое устройство, обеспечивающее нагрев той части трубки, в которой находится металлическая чашка (п. 5.2.8), до температуры (100±2) или (73±2)°С.
5.2.12. Установка для высушивания воздуха, состоящая из газопромывателя с серной кислотой (ρ20=1, 83 г/см3), соединенного с трубкой, содержащей пятиокись фосфора (ч. д. а.), распределенную по поверхности стекловаты.
5.3. Методика А (метод сушки в вакуумном сушильном шкафу)
Выполняют взвешивание с точностью до 0, 0002 г.
5.3.1. Проба для анализа
Взвешивают чашку и крышку после высушивания при 100 или 73°С и давлении (20±7)мбар и охлаждения в эксикаторе. Переносят приблизительно 5 г тщательно перемешанного образца в чашку, стараясь при этом минимально подвергать его влиянию окружающей среды. Закрывают крышкой и сразу же взвешивают для определения массы пробы для анализа. Распределяют пробу для анализа равномерным слоем по дну чашки.
5.3.2. Проведение анализа
Помещают открытую чашку с пробой для анализа вместе с чашками Петри, наполненными пятиокисью фосфора, в сушильный шкаф, предварительно нагретый до 100 или 73°С. Прикрывают чашку крышкой. Закрывают дверцу сушильного шкафа и понижают давление до (20±7)мбар. Сушат в течение 4 ч при (100±2)°С или в течение приблизительно 24 ч при (73±2)°С, сохраняя установленный вакуум. Затем отключают вакуум-насос и восстанавливают атмосферное давление внутри сушильного шкафа, медленно впуская воздух, прошедший через установку для высушивания воздуха. Быстро накрывают чашку крышкой и помещают ее в эксикатор.
Примечание. Не допускается ставить чашки друг на друга в эксикаторе.
Охлаждают пробу для анализа до комнатной температуры, взвешивают ее в течение 2 мин после удаления из эксикатора.
После взвешивания повторно сушат пробу для анализа в течение не менее 30 мин при 100°С или в течение 8 ч при 73°С, затем охлаждают ее до комнатной температуры и снова взвешивают. Если расхождение массы не превышает 0, 001 г, процесс сушки считается законченным. Если расхождение превышает 0, 001 г, процесс сушки повторяют до тех пор, пока расхождение между последовательными взвешиваниями не будет составлять менее 0, 001 г.
На одном и том же тщательно перемешанном образце выполняют не менее двух определений.
5.4. Методика В (метод с применением трубки с высушивающим веществом)
Выполняют взвешивание с точностью до 0, 0002 г.
5.4.1. Проба для анализа
Взвешивают чашку и крышку после высушивания в трубке с высушивающим веществом при 100 или 73°С и давлении (20±7)мбар и охлаждения до комнатной температуры в этой же трубке. Переносят приблизительно 3 г тщательно перемешанного образца в чашку, стараясь при этом максимально ограничить взаимодействие с окружающей средой. Закрывают крышкой и сразу же взвешивают для определения массы пробы для анализа. Распределяют пробу для анализа равномерным слоем по дну чашки.
5.4.2. Проведение анализа
Помещают открытую чашку с пробой для анализа на дно трубки с высушивающим веществом. Помещают рядом с чашкой лодку со слоем пятиокиси фосфора толщиной около 1 см. Закрывают ее пробкой. Постепенно доводят давление в камере до значения около (20±7)мбар (например путем применения полукапиллярной трубки) для устранения выбрасывания материала из чашки. Подключают соединение к вакуум-аппарату. Помещают часть трубки с высушивающим веществом, в которой находится сосуд, в шкаф, предварительно нагретый до 100 или 73°С.
После затвердевания пятиокиси фосфора ее заменяют после восстановления атмосферного давления внутри трубки с высушивающим веществом, медленно пропуская воздух, прошедший через установку для высушивания воздуха, через капиллярную трубку. Снова закрывают трубку с высушивающим веществом и продолжают сушку под вакуумом при 100 или 73°С.
Через 4 ч сушки при 100°С или 24 ч сушки при 73°С вынимают трубку с высушивающим веществом из шкафа, охлаждают до комнатной температуры и восстанавливают внутреннее атмосферное давление вышеописанным способом. Быстро вынимают чашку, накрывают ее и взвешивают.
Продолжают обезвоживание до постоянной массы (т.е. расхождение между двумя взвешиваниями, выполненными через 30 мин при обезвоживании при 100°C или через 8 ч при обезвоживании при 73°С, должно составлять менее 0, 0005 г).
На одном и том же тщательно перемешанном образце выполняют не менее двух определений.
Примечание. Заменяют пятиокись фосфора после затвердевания ее поверхности.
5.5. Обработка результатов
Содержание влаги (W), выраженное в процентах по массе, вычисляют по формуле
,
где m0 - масса высушенной пустой чашки и крышки, г;
m1 - масса чашки с пробой для анализа и крышки перед сушкой, г;
m2 - масса чашки с пробой для анализа и крышки после сушки, г.
За результат анализа принимают среднее арифметическое результатов двух определений, если удовлетворены требования, предъявляемые к сходимости результатов.
Результаты записывают до первого десятичного знака.
Расхождение между результатами двух определений, выполненных одновременно или непосредственно одно после другого одним и тем же лаборантом, не должно превышать 0, 2 г на 100 г крахмала.
Если результат превышает 0, 2 г, определение следует повторить, убедившись, что первоначальный образец тщательно перемешан***.
Для расчета берут только повторно полученные результаты, расхождение между которыми не превышает 0, 2% по абсолютной величине.
5.6. Замечание к методике
Если процесс обезвоживания, независимо от того, какая из методик (А или Б) применяется, протекает при 73°С, предписанный период сушки (24 ч) обычно будет достаточно длительным. В большинстве случаев постоянную массу получают через 8 ч.
В протоколе анализа должны быть указаны: метод и используемый растворитель, а также полученные результаты. Должны быть приведены все детали, не указанные в настоящем приложении или необязательные, а также все другие обстоятельства, которые могли повлиять на результаты испытания.
В протокол анализа включают всю информацию, необходимую для полной идентификации пробы.

Черт. 1

Черт. 2
______________________________
* Если требуется, повторное испытание должно быть проведено на следующий день другим лаборантом или в другом шкафу.
** Около 10-20 мм рт. ст.
*** Если требуется, повторное испытание должно быть проведено на следующий день другим лаборантом или в другом шкафу.
Приложение 2
Справочное
ИСО 3593-81
Устанавливается метод определения содержания золы в крахмале.
Данный метод применяется к нативным и модифицированным крахмалам, выход золы у которых не превышает 2%. Метод не применяется к продуктам гидролиза, окисленному крахмалу, а также к другим продуктам, содержащим более 0, 2% хлорида, выраженного в хлористом натрии.
Приложение 1 Крахмал. Метод определения содержания влаги при помещении в сушильный шкаф.
Зола - остаток, полученный после озоления продукта при определенных условиях анализа.
Содержание золы выражают в процентном отношении к массе продукта или к массе сухого вещества.
Озоляют анализируемый образец при температуре 900°С до полного исчезновения углерода в остатке.
5.1. Чашки для озоления плоскодонные из платины или какого-либо другого материала, на который не влияют условия анализа, вместимостью 40 см3 и минимальной полезной площадью поверхности, равной 15 см2.
5.2. Эксикатор с толстой металлической сетчатой пластинкой и эффективным осушителем (например, окись фосфора, силикагель, пропитанный индикатором хлорида или обработанный зернистым безводным сульфатом кальция).
5.3. Электропечь с воздухообменником, включая устройство, контролирующее и регулирующее температуру; озоление проходит при температуре (900±25)°С.
5.4. Аналитические весы.
5.5. Электрическая плитка или лабораторная газовая горелка.
6.1. Подготовка чашки
Чашку для озоления очищают (несмотря на то, новая она или бывшая в употреблении), например кипящей разбавленной соляной кислотой, и прополаскивают обычной водой, а затем дистиллированной водой.
Чашку помещают в печь и нагревают в течение 30 мин при температуре (900±25)°С. Охлаждают в эксикаторе до комнатной температуры и взвешивают с точностью до 0, 0001 г.
6.2. Испытуемый образец
Взвешивают с точностью до 0, 001 г навеску массой от 2 до 10 г в зависимости от предполагаемого количества золы в продукте. Равномерно распределяют навеску в чашке.
6.3. Предварительное озоление
Осторожно нагревают чашку с содержимым до полного обугливания образца; чашку помещают у входа в печь или на электроплитку или газовую горелку.
Выделяемые летучие вещества озоляют, чтобы избежать самовоспламенения, которое может увеличить потерю продукта при его выбрасывании из чашки.
6.4. Озоление
Когда пламя погаснет, чашку помещают в печь, поднимают температуру до (900±25)°С и выдерживают чашку при этой температуре до полного исчезновения остаточного углерода. Обычно достаточно для этого 1 ч. Помещают чашку с золой в эксикатор, охлаждают до комнатной температуры и взвешивают с точностью до 0, 0001 г.
В эксикатор не следует помещать одновременно более четырех чашек.
6.5. Количество определения
На одной пробе выполняют два определения.
Содержание золы в процентах по массе пробы (X) вычисляют по формуле
,
Содержание золы в процентах по массе пробы на массу сухого вещества (X1) вычисляют по формуле
,
где m0 - масса анализируемого образца, г;
m1 - масса остатка после озоления, г;
W - содержание влаги в продукте, определенное по приложению 1.
Если соблюдаются условия повторяемости, то за результат анализа принимают среднее арифметическое результатов двух определений.
Результат записывают до второго десятичного знака.
Расхождение между результатами двух определений, выполненных одновременно или непосредственно одно за другим одним лаборантом, не должно превышать 0, 02 г в абсолютном значении, если содержание золы не больше 1%. Если содержание золы больше чем 1%, то расхождение не должно превышать 2%.
Если расхождение между результатами превышает эти пределы, выполняют еще два определения.
В протоколе анализа должны быть указаны: метод и полученные результаты. Должны быть приведены все детали, не указанные в настоящем приложении или необязательные, а также все другие обстоятельства, которые могли повлиять на результаты испытания.
В протокол анализа включают всю информацию, необходимую для полной идентификации пробы.
Приложение 3
Справочное
ИСО 5809-82
Устанавливается метод определения сульфатной золы в крахмале и производных продуктах.
Приложение 1 Крахмал. Метод определения содержания влаги при помещении в сушильный шкаф.
Сульфатная зола - остаток, полученный после озоления продукта в соответствии с методом, указанным в настоящем приложении.
Выражается в виде процента массы продукта или в пересчете на сухое вещество.
Озоление анализируемой части в присутствии серной кислоты при температуре (525±25)°С.
Серная кислота способствует разрушению органического вещества и предотвращает потери путем превращения летучих хлоридов в нелетучие сульфаты.
Реактивы, используемые в анализе, должны быть общепризнанного аналитического качества, вода должна быть дистиллированной или эквивалентной чистоты.
5.1. Раствор серной кислоты
Осторожно добавляют 100 см3 концентрированной серной кислоты плотностью 1, 83 г/см3 к 300 см3 воды и перемешивают.
5.2. Раствор соляной кислоты
Осторожно добавляют 100 см3 концентрированной соляной кислоты плотностью 1, 19 г/см3 к 500 см3 воды и перемешивают.
6.1. Чашка для прокаливания из платины или другого материала, который не портится в условиях опыта (например, кварцевая чашка для прокаливания) вместимостью 100-200 см3 с минимальной полезной площадью 15 см2.
6.2. Электрическая печь с циркуляцией воздуха, способная работать при (525±25)°С.
6.3. Электрическая нагревательная плитка или газовая горелка, или нагревательная лампа.
6.4. Эксикатор, снабженный эффективным высушивателем.
6.5. Водяная баня, в которой можно создавать температуру от 60 до 70°С.
6.6. Аналитические весы.
7.1. Подготовка чашки для прокаливания
Очищают чашку для прокаливания независимо от того, новая она или бывшая в употреблении, раствором кипящей соляной кислоты, затем тщательно ополаскивают водой.
Чашку прокаливают в течение 30 мин в электрической печи при температуре (525±25)°С. Охлаждают до комнатной температуры в эксикаторе и взвешивают с точностью до 0, 0002 г (чашка для прокаливания должна быть прокалена до постоянной массы).
7.2. Подготовка образца
Образец тщательно и быстро перемешивают в смесителе (для порошка) или шпателем (для жидкостей) в контейнере, где он хранится*.
Необходимо принять меры для избежания каких-либо изменений в содержании влаги в образце.
Для составления анализируемого образца применяют один из описанных ниже методов:
а) тщательно взвешивают с точностью до 0, 01 г около 100 г образца в сухой контейнер, снабженный крышкой, предварительно оттарированный. Добавляют примерно 100 см3 воды при 90°С, закрывают контейнер крышкой и перемешивают до тех пор, пока образец не растворится полностью. Дают остыть до окружающей температуры и взвешивают с точностью до 0, 01;
б) расплавляют образец, отобранный в твердом виде, путем погружения его в контейнере с крышкой в водяную баню при 60-70°С. Снимают контейнер с бани и дают остыть до комнатной температуры, часто вращая и не снимая крышки, затем смешивают сконденсированную воду с образцом.
7.3. Приготовленная для анализа часть образца (проба)
Если проведено разведение, то отбирают аликвоту полученного раствора, чтобы получить массу пробы, соответствующую массе анализируемого образца, как показано в табл. 2.
Таблица 2
|
Сульфатная зола, % (m/m) |
Масса анализируемой пробы, г |
|
<5 |
10 |
|
>5<10 |
5 |
|
>10 |
2 |
Во всех других случаях взвешивают с точностью до 0, 001 г в чашке для прокаливания, предварительно взвешенной с точностью до 0, 0002 г, массу анализируемой пробы в соответствии с табл. 2.
7.4. Операция перед озолением
Добавляют 5 см3 раствора серной кислоты к анализируемой пробе. Перемешивают стеклянной палочкой и промывают небольшим количеством воды, собирая смывы в чашку для прокаливания. Чашку медленно нагревают на электроплитке или газовой горелке, или нагревательной лампе до полного обугливания (эту операцию рекомендуется выполнять под вытяжкой).
7.5. Озоление
Помещают чашку для прокаливания в электрическую печь, настроенную на (525±25)°С, и поддерживают эту температуру, пока остаток углерода не исчезнет. Обычно для этого необходимо 2 ч.
Охлаждают. Закрепляют остаток несколькими каплями раствора серной кислоты, выпаривают на краю печи и озоляют снова в течение 30 мин. Помещают чашку для прокаливания в эксикатор и дают ей остыть до температуры окружающего воздуха. Взвешивают чашку с содержимым с точностью до 0, 0002 г. Озоление продолжают до получения постоянной массы.
Не ставят более четырех чашек для прокаливания одновременно в эксикатор.
7.6. Число определений
Выполняют два определения с анализируемыми пробами, отобранными от одного образца.
Содержание сульфатной золы (X2), выраженное в процентах массы продукта, вычисляют по формуле
,
Содержание сульфатной золы (X3), выраженное в процентах массы сухого вещества, вычисляют по формуле
,
где m0 - масса анализируемой пробы с учетом разведения, г;
m1 - масса чашки для прокаливания перед озолением, г;
m2 - масса озоленного остатка и чашки для прокаливания после озоления, г;
W - содержание влаги в продукте, определенное по приложению 1.
За результат анализа принимают среднее арифметическое результатов двух определений при условии, что повторяемость была удовлетворительной. Если нет, повторяют опыт.
Примечание. В продуктах гидролиза крахмала, содержащих хлорид натрия в качестве преобладающего минерального вещества, золу определяют как хлорид натрия путем деления сульфатной золы на коэффициент 0, 823, который означает отношение:
.
Результат выражают округленно до двух десятичных знаков.
Абсолютная разница между значениями двух определений, выполненных в быстрой последовательности, не должна превышать:
4% среднего арифметического значения при содержании сульфатной золы более 2% (m/m);
0, 08 г на 100 г при содержании сульфатной золы менее 2% (m/m).
Абсолютная разница между значениями двух определений, выполненных на одном и том же образце в двух разных лабораториях, не должна превышать:
0, 1 г на 100 г при содержании сульфатной золы менее 0, 5% (m/m);
1% среднего арифметического значения при содержании сульфатной золы более 5% (m/m);
20% среднего арифметического значения при содержании сульфатной золы между 0, 5 и 5% (m/m).
В протоколе анализа должны быть указаны: метод и полученные результаты. Должны быть приведены все детали, не указанные в настоящем приложении или необязательные, а также все другие обстоятельства, которые могли повлиять на результаты испытания.
В протокол анализа включают всю информацию, необходимую для полной идентификации пробы.
______________________________
* Для глюкозной патоки перемешиванием удаляют поверхностный слой (около 0, 5 см).
Приложение 4
Справочное
ИСО 3188-78
Устанавливается титрометрический метод определения содержания азота по Кьельдалю в крахмале и его производных, предполагаемое содержание азота в которых превышает 0, 01% (m/m).
Примечание. В крахмалах и их производных, к которым не добавлялись азотосодержащие вещества, азот присутствует главным образом в виде протеина и (или) аминокислот.
Содержание азота - значение, найденное с использованием указанной методики, Она включает в себя определение содержания азота свободных аминокислот; соединений, образующих аминокислоты при гидролизе. Методика не включает в себя определение азота из нитратных и нитритных радикалов и азота, непосредственно присоединенного к атому кислорода.
Разложение органического вещества серной кислотой в присутствии смешанного катализатора, подщелачивание продуктов реакции, перегонка освобождаемого аммония и сбор его в раствор борной кислоты с последующим титрованием эталонным волюметрическим раствором серной кислоты.
Используют реактивы ч. д. а. и дистиллированную воду, не содержащую аммоний, или воду эквивалентной чистоты.
4.1. Серная кислота, концентрированная, плотностью 1, 84 г/см3 96% (m/m).
4.2. Гидроокись натрия, раствор 30% (m/m) плотностью 1, 33 г/см3 или более концентрированный.
4.3. Борная кислота, 20 г/раствор*.
4.4. Катализатор, состоящий из смеси сульфата калия 97 г и сульфата меди (II), безводного 3 г.
4.5. Раствор серной кислоты, концентрацией с (H2SO4)=0, 02 моль/дм3 (0, 02 н.) или 0, 1 моль/дм3 (0, 1 н.) - стандартный волюметрический раствор.
4.6. Колориметрический индикатор, приготовленный путем перемешивания двух частей по объему холодного насыщенного раствора нейтрального метила красного в 50%-ном растворе (V/V) этилового спирта с одной частью раствора 0, 25 г/дм3 голубого метилена в 50%-ном растворе (V/V) этилового спирта. Индикатор хранят в коричневой стеклянной бутылке.
5.1. Колба Кьельдаля вместимостью 500-800 см3, желательно с притертой стеклянной пробкой или со стеклянной пробкой в форме груши, свободно входящей в горлышко колбы.
5.2. Стенд для обработки, на котором можно нагревать колбу Кьельдаля в наклонном положении таким образом, чтобы нагревалась только та часть стенки колбы, которая находится ниже уровня жидкости.
5.3. Аппарат для перегонки или паровой перегонки с градуированной воронкой вместимостью 200 см3 и каплеуловителем, причем последний соединяет колбу Кьельдаля со стеклянным холодильником.
Допускается любой аппарат, удовлетворяющий требованиям контрольных испытаний.
5.4. Бюретка вместимостью 25 см3 с градуировкой 0, 05 см3 или вместимостью 10 см3 с градуировкой 0, 01 см3.
5.5. Механическая мельница или ступка.
5.6. Сито с отверстиями 0, 6 мм.
5.7. Коническая колба вместимостью 500 см3.
5.8. Аналитические весы.
6.1. Подготовка образца
Образец в сосуде перемешивают тщательно и быстро путем встряхивания или перемешивания шпателем**.
Если сосуд мал для этой цели, весь образец переносят в другой предварительно высушенный сосуд соответствующего размера для облегчения перемешивания.
Если необходимо размолоть образец, его просеивают через сито, без остатка на сите.
6.2. Подготовка пробы
Взвешивают с точностью до 0, 001 г навеску для анализа массой 5-10 г (m0) в соответствии с предполагаемым содержанием азота и переносят в предварительно высушенную колбу Кьельдаля так, чтобы частицы продукта не прилипали к стенке горлышка колбы.
Если анализу подвергают вязкую жидкость или пастообразный продукт, пробу для анализа взвешивают в небольшом стеклянном сосуде или на листе алюминия, бумаги или синтетической пленки, не выделяющих азот. Если сосуд, лист или пленка содержат азот, его количество определяют путем проведения холостого опыта.
6.3. Разрушение органического вещества
К колбу Кьельдаля с навеской пробы добавляют 10 г катализатора и мерным цилиндром добавляют рассчитанный по формуле 20+4m0 соответствующий объем концентрированной серной кислоты таким образом, чтобы кислота промывала внутреннюю стенку горлышка колбы.
Содержимое колбы перемешивают путем аккуратного вращения колбы до тех пор, пока в смеси не исчезнут комки и навеска не будет смочена полностью. Чтобы избежать выбросов, добавляют вспомогательное средство, способствующее кипению (например, стеклянные бусинки или кусочки битого фарфора). Вставляют стеклянную пробку в форме груши (см. 5.1) в горлышко колбы и колбу помещают в наклонном положении на стенд.
Смесь осторожно нагревают до тех пор, пока жидкость в колбе не закипит. Продолжают нагревание в течение 1 ч, пока жидкость не станет прозрачной, чистой. Если колбу нагревают на газе, необходимо для исключения потерь азота следить, чтобы пламя не распространялось за часть колбы, наполненной жидкостью.
6.4. Дистилляция (отгонка) и титрование
Содержимое колбы охлаждают. Стеклянную пробку и внутреннюю часть горлышка колбы ополаскивают несколькими кубическими сантиметрами воды, позволив смывной воде стекать в колбу. Осторожно добавляют 50-200 см3 воды (в соответствии с используемой аппаратурой). Колбу соединяют с перегонным или пароперегонным аппаратом.
Нижний конец холодильника должен касаться дна конической колбы вместимостью 500 см3, содержащей известный объем (варьирующийся между 25 и 50 см3) раствора борной кислоты и 3-5 капель индикатора титрования. Медленно приливают через градуированную воронку, расположенную в горловине колбы, 150-200 см3 раствора гидроокиси натрия таким образом, чтобы носик воронки не оставался пустым. Смесь хорошо перемешивают, затем включают воду в стеклянный холодильник и начинают нагревать (в этих условиях начнется отгонка аммиака, аммония).
Во время отгонки необходимо обеспечить постоянное поступление пара. Отгонка считается полной, когда в течение 20-30 мин в приемную колбу будет собрано 200 см3 жидкости.
Выключают нагрев и опускают приемную коническую колбу так, чтобы нижний конец холодильника был выше уровня жидкости. Отгонку продолжают, чтобы конденсат стекал еще в течение нескольких минут в коническую колбу, затем конец холодильника смывают водой, собирая ее в колбу.
Жидкость, содержащаяся в колбе, должна иметь зеленый цвет.
Содержимое колбы титруют раствором серной кислоты концентрацией с (H2SO4)=0, 02 моль/дм3 (0, 02 н.), используя соответственно бюретку вместимостью 25 см3 или 10 см3 до тех пор, пока цвет содержимого в колбе не станет красно-фиолетовым.
6.5. Количество определений
Проводят два параллельных определения для одного анализируемого образца.
6.6. Холостой опыт
Холостой опыт проводят только на реактивах. Если анализируемую навеску пробы взвешивали в контейнере, на листе или пленке, которые выделяют азот, то, проводя холостой опыт, используют такой же сосуд, лист или пленку и применяют указанную в п. 7.3 методику.
Содержание азота (X4) в процентах массы вычисляют по формуле
,
где Т - концентрация раствора серной кислоты;
V0 - объем раствора серной кислоты, использованный в холостом опыте, см3;
V1 - объем раствора серной кислоты, использованный при определении, см3;
m - масса навески пробы для анализа, г.
За результат анализа принимают среднее арифметическое результатов двух параллельных определений, если использованные в них объемы раствора серной кислоты не отличаются больше чем на 0, 1 см3. В противном случае повторяют определения на одной анализируемой пробе.
В протоколе анализа должны быть указаны: метод и полученные результаты. Должны быть приведены все детали, не указанные в настоящем приложении или необязательные, а также все другие обстоятельства, которые могли повлиять на результаты испытания.
В протокол анализа включают всю информацию, необходимую для полной идентификации пробы.
______________________________
* При более низких количествах азота может потребоваться менее концентрированный раствор для получения большой точности.
** При анализе глюкозной патоки (сиропа) перед перемешиванием образца удаляют поверхностный слой (примерно 5 мм).
Приложение 5
Справочное
ИСО 5378-78
Устанавливается спектрофотометрический метод определения содержания азота по Кьельдалю в крахмале и его производных, предполагаемое содержание азота в которых меньше 0, 025% (m/m)*.
Примечание. В крахмалах и их производных, к которым не добавлялись азотосодержащие вещества, азот присутствует главным образом в виде протеина и (или) аминокислот.
Приложение 4. Крахмал и его производные. Титрометрический метод определения содержания азота по Кьельдалю
Содержание азота - значение, найденное с использованием указанной методики. Она включает в себя определение азота свободных аминокислот; соединений, образующих аминокислоты при гидролизе.
Методика не включает в себя определение азота из нитратных и нитритных радикалов и азота, непосредственно присоединенного к атому кислорода.
Разложение органического вещества серной кислотой в присутствии смешанного катализатора, подщелачивание продуктов реакции, перегонка освобождаемого аммония и сбор его в раствор серной кислоты (с последующим проведением спектрофотометрии соли аммония, образуемой после добавления реактива Несслера).
Реактивы должны быть аналитически чистыми. Использовать дистиллированную воду, не содержащую аммиак, или воду эквивалентной чистоты.
5.1. Серная кислота, концентрированная плотностью 1, 84 г/см3, 96%-ной концентрации.
5.2. Гидроокись натрия, 30%-ной концентрации раствор плотностью 1, 33 г/см3 или более концентрированный.
5.3. Смешанный катализатор, состоящий из сульфата калия 97 г и сульфата меди, безводного 3 г.
5.4. Сульфат аммония, щавелевокислый аммоний или хлористый аммоний.
5.5. Раствор серной кислоты, концентрацией с (H2SO4)=0, 1 моль/дм3 (0, 1 н.) (стандартный волюметрический раствор).
5.6. Реактив Несслера, приготовленный за два дня до использования.
Растворяют в 100 см3 воды 100 г йодида ртути и 70 г йодида калия. В мерной колбе вместимостью 1000 см3 растворяют 224 г гидроокиси калия и при постоянном перемешивании медленно добавляют раствор йодида ртути (йодида калия). Разбавляют водой до отметки и перемешивают. Приготовленный раствор оставляют на два дня для отстаивания.
Примечание. Реактив хранят в коричневой стеклянной бутылке. Если его хранить в воздухонепроницаемой бутылке и в тени, то его можно использовать даже спустя год при принятии мер против взбалтывания осадка при повторном применении.
6.1. Колба Кьельдаля вместимостью 500-800 см3, предпочтительно с притертым стеклянным шлифом и снабженная грушеобразной пробкой, свободно входящей в горлышко колбы.
6.2. Стенд для обработки, на котором можно нагревать колбу Кьельдаля в наклонном положении таким образом, чтобы нагревалась только та часть стенки колбы, которая находится ниже уровня жидкости.
6.3. Аппарат для перегонки или паровой перегонки с градуированной воронкой вместимостью 200 см3 и каплеуловителем, причем последний соединяет колбу Кьельдаля с холодильником.
6.4. Конические колбы вместимостью 100 см3.
6.5. Мерная колба с одной отметкой вместимостью 200 см3 с ровным горлышком.
6.6. Пипетки вместимостью 50 см3.
6.7. Спектрофотометр, позволяющий настраиваться на длину волны 430 нм и снабженный кюветами, длину оптического пути которых нужно указать в описании результатов проверки.
6.8. Механическая мельница или ступка.
6.9. Сито с отверстиями 0, 6 мм.
6.10. Аналитические весы.
7.1. Подготовка образца
Тщательно и быстро путем встряхивания или помешивания шпателем в сосуде перемешивают образец**. Если сосуд слишком мал для этой цели, весь образец переносят в другой предварительно высушенный сосуд, размер которого подходит для перемешивания.
Если необходимо размолоть образец, его просеивают через сито без остатка на сите.
7.2. Подготовка пробы
С точностью до 0, 001 г взвешивают навеску пробы массой 2-5 г (масса – m0) в соответствии с предполагаемым содержанием азота и переносят в предварительно высушенную колбу Кьельдаля так, чтобы частицы продукта не прилипали к стенке горлышка колбы.
Если анализу подвергают вязкую жидкость или пастообразный продукт, пробу взвешивают в небольшом стеклянном сосуде или на листке алюминия, бумаги или синтетической пленки, не выделяющих азот, или содержание азота в которых известно. Затем пробу с листом помещают в колбу.
Если лист или пленка содержат азот, его количество определяют путем проведения холостого опыта.
7.3. Разрушение органического вещества
В колбу Кьельдаля с навеской пробы добавляют 3 г смешанного катализатора мерным цилиндром, добавляют рассчитанный по формуле 20+4m0, соответствующий объем концентрированной серной кислоты таким образом, чтобы кислота промывала внутреннюю стенку горлышка колбы.
Перемешивают содержимое колбы путем аккуратного вращения колбы до тех пор, пока в смеси не исчезнут комки и навеска не будет полностью смочена. Для устранения перегревания нужно добавить средство, способствующее кипению (например стеклянные шарики). Вставляют грушеобразную стеклянную пробку в горлышко колбы и помещают ее в наклонном положении на стенд для нагревания. Содержимое колбы нагревают до тех пор, пока жидкость не закипит, после чего нагревание продолжают в течение 1 ч, пока жидкость не станет прозрачной. Если колбу нагревают на газе, не допускают, чтобы пламя распространялось за пределы заполненной жидкостью части сосуда для того, чтобы исключить потери азота.
7.4. Методика перегонки
Содержимое колбы охлаждают и промывают грушеобразную стеклянную пробку и горлышко колбы внутри несколькими кубическими сантиметрами воды, позволив смывной воде стекать в колбу. Осторожно добавляют воду в количестве 50-150 см3 (в соответствии с используемой аппаратурой). Присоединяют колбу к перегонному или пароперегонному аппарату.
Нижний конец холодильника опускают так, чтобы он слегка касался дна мерной колбы с меткой, содержащей 25 см3 раствора серной кислоты. Через воронку, помещенную в горлышко колбы, медленно добавляют 120 см3 раствора гидроокиси натрия, при этом следят, чтобы носик воронки не оставался пустым. Осторожно перемешивают содержимое колбы, затем подают холодную воду в холодильник и начинают нагревание колбы (в этих условиях начнется отгонка аммиака).
Во время отгонки необходимо обеспечивать постоянное поступление пара. Завершают перегонку, когда через 20-30 мин в приемную колбу будет собрано примерно 150 см3 дистиллята.
Затем прекращают нагрев и опускают коническую приемную колбу так, чтобы нижний конец холодильника оказался над уровнем жидкости. Отгонку продолжают, чтобы позволить конденсату в течение нескольких минут стекать в колбу, затем смывают кончик холодильника водой, собрав смыв в коническую колбу. Содержимое в приемной колбе разбавляют до метки водой и перемешивают.
7.5. Построение калибровочной кривой
Готовят серию стандартных растворов для сравнения, содержащих пять различных и известных концентраций соли аммония. Пипеткой переносят 50 см3 каждого из этих стандартных растворов в ряд отдельных конических колб вместимостью 100 см3 и 50 см3 воды в другую коническую колбу вместимостью 100 см3. Последняя из упомянутых отвечает нулевой концентрации соли аммония для калибровочной кривой.
Добавляют пипеткой 1, 0 см3 реактива Несслера в каждую колбу и отдельно перемешивают.
Отстаивают в течение 10 мин и измеряют оптическую плотность каждого из этих растворов, используя спектрофотометр при длине волны 430 нм.
Строят калибровочную кривую зависимости оптической плотности от количества микрограммов азота.
Примечания:
1. В интервале между 0 и 240 мкг азота для 50 см3 раствора (примерно от 0 до 5000 мкг азота на 1000 см3) калибровочная кривая имеет вид прямой линии.
2. Каждая точка на калибровочном графике должна соответствовать среднему арифметическому значению двух определений.
7.6. Спектрофотометрические измерения
Пипеткой вместимостью 50 см3 переносят объем (V) раствора, полученного по п. 7.4 и содержащего не более 175 мкг азота (обычно между 25 и 50 см3 в соответствии с ожидаемым содержанием азота в продукте) в коническую колбу вместимостью 100 см3. Если необходимо, то разбавляют объем водой до 50 см3. Добавляют пипеткой 1, 0 см3 реактива Несслера и перемешивают. Позволяют отстояться в течение 10 мин и измеряют оптическую плотность раствора на спектрофотометре при длине волны 430 нм.
7.7. Количество определений
Проводят два параллельных определения для одного проверяемого образца.
7.8. Холостой опыт
Проводят холостой опыт только на определение содержания азота в реактивах, следуя указанным в пп. 7.4 и 7.6 методикам и используя 50 см3 дистиллята.
Если анализируемую навеску пробы взвешивали в сосуде, на листе или пленке, которые выделяют азот, то, проводя холостой опыт, используют такие же сосуд, лист или пленку и применяют указанную в п. 7.3 методику.
Содержание азота (X5) в процентах массы вычисляют по формуле
,
где m0 - масса, навески-пробы, г;
m1 - масса азота в аликвотной порции (V) дистиллята после обработки проверяемой порции, найденная по калибровочной кривой, мг;
m2- масса азота в 50 см3 аликвотной порции дистиллята в холостом опыте, найденная по калибровочной кривой, мг;
V - объем аликвотной порции дистиллята, используемый при определении, см3.
За результат анализа принимают среднее арифметическое результатов двух определений.
В протоколе анализа должны быть указаны: метод и полученные результаты. Должны быть приведены все детали, не указанные в настоящем приложении или необязательные, а также все другие обстоятельства, которые могли повлиять на результаты испытания.
В протокол анализа включают всю информацию, необходимую для полной идентификации пробы.
______________________________
* Для продуктов, предполагаемое содержание азота в которых больше 0, 01% (m/m), см. приложение 4.
** При анализе глюкозной патоки перед перемешиванием образца удаляют поверхностный слой (примерно 5 мм).
Приложение 6
Справочное
ИСО 5379-83
Устанавливается два метода определения содержания двуокиси серы в крахмале и его производных: ацидометрический и нефелометрический.
Унос в потоке азота двуокиси серы, выделяемой из подкисленного и подогретого продукта, фиксация и окисление двуокиси серы в результате барботирования через разбавленный раствор нейтральной перекиси водорода. Титрование образуемой серной кислоты стандартным титрованным раствором гидроокиси натрия или определение с помощью нефелометра в случае низкого содержания двуокиси серы.
3.1. Реактивы
Все реактивы должны быть известного аналитического качества и свободны от сульфата. Вода должна быть дистиллированной или эквивалентной чистоты, недавно прокипяченной.
3.1.1. Азот, свободный от кислорода
3.1.2. Перекись водорода, раствор, содержащий приблизительно 9-10 г H2O2 в 1 дм3.
Помещают 150 см3 (20 объемов) раствора перекиси водорода или 30 см3 30%-ного (m/m) (110 объемов) раствора перекиси водорода в перегонную колбу с одной меткой вместимостью 1000 см3. Разбавляют до метки водой.
Примечание. Раствор применяют свежеприготовленный.
3.1.3. Соляная кислота
Помещают 150 см3 концентрированной соляной кислоты (плотность 1, 19 г/см3) в перегонную колбу вместимостью 1000 см3.
Разбавляют до метки водой.
3.1.4. Раствор индикатора бромфенола синего
Растворяют 100 мг бромфенола синего α, α-бис (3, 5-дибром-4-гидроксифенил) толуол-2, α-султон в 100 см3 20%-ного (V/V) этилового спирта.
3.1.5. Раствор индикатора Таширо
Растворяют 30 мг метила красного и 50 мг метиленовой сини в 120 см3 90%-ного (V/V) этилового спирта. Доливают до 200 см3 водой, смешивают и профильтровывают.
Примечание. Индикатор Таширо может использоваться только при титровании. Индикатор бромфенол синий предназначается для титрования и не является препятствием для дальнейшего использования нефелометрического метода. Тем не менее, с этим индикатором труднее обнаружить конечную точку.
3.1.6. Гидроокись натрия, стандартный титрованный раствор с (NaOH)=0, 1 моль/дм3 или
3.1.7. Гидроокись натрия, стандартный титрованный раствор, с (NaOH)=0, 01 моль/дм3.
Чтобы получить отчетливую конечную точку, готовят данный раствор, пользуясь свободной от двуокиси углерода водой, полученной охлаждением кипяченой дистиллированной воды в потоке азота.
Примечание. Рекомендуется использовать раствор, указанный в п. 3.1.6; для небольших объемов лучше применять пистон-бюретку. При необходимости увеличивают массу контрольной пробы.
3.1.8. Йод, стандартный титрованный раствор с (I2)=0, 01 моль/дм3.
3.1.9. Крахмал, раствор: 5 г/дм3
Растворяют 0, 5 г крахмала Линтнера или подобное в 100 см3 воды. Нагревают до кипения при помешивании. Добавляют 20 г хлористого натрия, перемешивают и кипятят, пока не закончится растворение. Перед использованием дают раствору охладиться до окружающей температуры.
3.1.10. Дисульфит калия и этилендиаминтетрауксусная кислота (ЭДТА), двунатриевая соль
Растворяют в воде 0, 87 г дисульфита калия (K2S2O5) и 0, 20 г динатрийдигидроэтилендиаминтетраацетат (Na2H2ЭДТА). Переносят порциями данный раствор в перегонную колбу с одной меткой вместимостью 1000 см3. Разбавляют водой до метки и перемешивают.
3.2. Оборудование
Предпочтение должно отдаваться стеклянному оборудованию, снабженному соединениями из матового стекла.
3.2.1. Перегонные колбы с одной меткой вместимостью 1000 см3 по ГОСТ 25336.
3.2.2. Пипетки с одной меткой вместимостью 0, 1-1-2-3-5 и 20 см3 по ГОСТ 29227.
3.2.3. Полумикробюретки вместимостью 10 см3 по ГОСТ 29251.
3.2.4. Бюретки вместимостью 25 и 50 см3 по ГОСТ 29251.
3.2.5. Аналитические весы.
3.2.6. Магнитная мешалка, высокоэффективная, с подогреванием, для пользования с колбой А (см. п. 3.2.7.1).
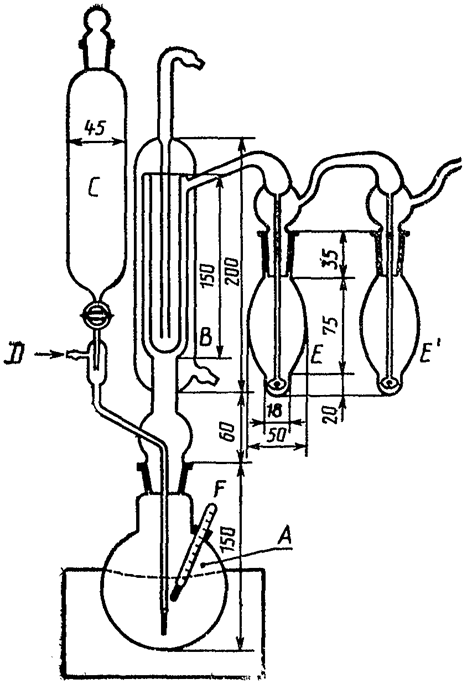
3.2.7. Аппарат для уноса SO2 (черт. 3*) или аналогичное оборудование, обеспечивающее перемещение и унос двуокиси серы и поглощение ее раствором перекиси водорода.
Примечание. Избегать соединений трубками между конденсатором и барботерами, так как это может привести к поглощению двуокиси серы.
3.2.7.1. Схема устройства аппарата:
А - круглодонная колба вместимостью 250 см3 или больше с притертым патрубком, позволяющим вводить термометр.
В - вертикальный конденсатор высокой эффективности, точно соответствует размерам колбы А при насадке.
С - делительная воронка, установленная на колбе А.
D - входное, отверстие для азота с поглотителем, содержащим щелочной раствор пирогаллола.
Е и Е' - два барботера в комплекте, соединенные с конденсатором В.
F - термометр.
3.2.7.2. Контрольные определения.
Аппарат должен удовлетворять требованиям, указанным в пп. 3.2.7.2.1-3.2.7.2.2.
3.2.7.2.1. Помещают в колбу А 100 см3 воды и выполняют операции, указанные в п. 3.3.3.
Содержимое барботера должно оставаться с нейтральной реакцией.
3.2.7.2.2. Далее выполняют следующие операции:
а) помещают в колбу А 100 см3 воды. Пипеткой переносят 20 см3 раствора, указанного в п. 3.1.10. Выполняют операцию по уносу и определению двуокиси серы, как описано в пп. 3.3.3 и 3.3.4;
б) переносят пипеткой 20 см3 раствора йода, 5 см3 соляной кислоты и 1 см3 раствора крахмала в коническую колбу вместимостью 100 см3.
Титруют с помощью бюретки раствором, указанным в п. 3.1.10, пока не исчезнет первичная окраска.
Разница между содержаниями двуокиси серы при определениях, описанных в подпунктах а и б, не должна превышать их арифметическую среднюю более чем на 1%.
Операцию, указанную в подпункте б, не следует выполнять позже чем через 15 мин после завершения операции, указанной в подпункте а, во избежание возможного изменения количества двуокиси серы, содержащейся в растворе дисульфита калия K2S2O5.
3.3. Методика
3.3.1. Приготовление контрольного образца
Тщательно перемешивают лабораторный образец.
3.3.2. Контрольная проба
Взвешивают с точностью до 0, 01 г навеску контрольного образца, примерная масса которого указана в табл. 3.
Таблица 3
|
Ожидаемое содержание двуокиси серы, мг/кг |
Примерная масса контрольной пробы, г |
|
<50 |
100 |
|
50-200 |
50 |
Это количество может быть увеличено, особенно с D-глюкозой.
Если ожидаемое содержание двуокиси серы более 200 мг/кг, уменьшают контрольную пробу соответствующим образом с тем, чтобы в ней не содержалось более 10 мг SO2, и переносят порциями контрольную пробу в колбу А. С некоторыми производными масса контрольной пробы может определяться по разнице путем взвешивания контейнера. Добавляют к контрольной пробе** 100 см3 воды и хорошо перемешивают путем встряхивания.
3.3.3. Унос двуокиси серы
3.3.3.1. Помещают в воронку С 50 см3 соляной кислоты.
3.3.3.2. В каждый из барботеров (Е и Е') помещают с помощью пипетки 3 см3 раствора перекиси водорода, 0, 1 см3 раствора индикатора бромфенола синего (см. примечание к п. 3.1.5) и нейтрализуют раствор перекиси водорода раствором гидроокиси натрия.
3.3.3.3. Присоединяют конденсатор В и оба барботера (Е и Е') к аппарату и медленно прогоняют поток азота, чтобы выгнать из всего прибора воздух. Затем подают воду в конденсатор.
3.3.3.4. Дают соляной кислоте, содержащейся в воронке С, стечь в колбу А (при необходимости прерывают на какое-то время поток азота).
3.3.3.5. Доводят в течение 30 мин эту смесь до точки кипения. Кипятят в течение 30 мин, при постоянном прохождении потока азота и помешивании мешалкой.
3.3.4. Титрование
Добавляют порциями содержимое второго барботера к содержимому первого барботера и титруют образуемую серную кислому раствором гидроокиси натрия в зависимости от ожидаемого содержания двуокиси серы.
Примечание: При отчетливой конечной точке, благодаря присутствию летучих органических кислот, серную кислоту кипятят в течение 2 мин и охлаждают перед титрованием до комнатной температуры.
3.3.5. Контрольный опыт
Если объем менее 5 см3, когда используется раствор гидроокиси натрия концентрации 0, 01 моль/дм3, и менее 0, 5 см3, когда используется раствор гидроокиси натрия концентрации 0, 1 моль/дм3, определения проводят нефелометрическим методом.
3.3.6. Количество определений
Проводят два определения на одном и том же контрольном образце.
3.4. Обработка результатов
Если определение по нефелометрическому методу не является необходимым, то содержание двуокиси серы (X5), мг/кг образца, вычисляют по формуле
,
где m0 - масса контрольной пробы, г;
V - объем используемого раствора гидроокиси натрия концентрацией 0, 01 моль/дм3 или десятикратный объем раствора NaOH концентрацией 0, 1 моль/дм3, см3.
За результат определения принимают среднее арифметическое значение двух определений при условии, что требование на повторимость результатов удовлетворяется (см. п. 3.4.1).
3.4.1. Повторимость результатов
Абсолютная разница между результатами двух определений, выполняемых одновременно или в скорой последовательности одним и тем же химиком-аналитиком на одном и том же контрольном образце, не должна превышать 5% среднего значения этих двух определений.
Разница между результатами двух определений, выполненных в различных лабораториях на одном и том же контрольном образце, не должна превышать 10% среднего значения двух определений.
Если объем был менее 5 см3, когда пользовались раствором гидроокиси натрия концентрации 0, 01 моль/дм3, или менее 0, 5 см3, при использовании раствора гидроокиси натрия концентрации 0, 1 моль/дм3, необходимо применять нефелометрический метод. Для контрольной пробы массой 100 т этот предел в 5 см3 соответствует содержанию двуокиси серы в 16 мг/кг.
Выше предела 5 см3 удовлетворительным будет ацидометрический метод.
4.1. Реактивы
Все реактивы должны быть известного аналитического качества и не должны содержать серу. Вода должна быть дистиллированной или эквивалентной чистоты, недавно кипяченной.
4.1.1. Серная кислота, стандартный раствор
Помещают 31, 2 см3 стандартного титрованного раствора серной кислоты концентрации 0, 1 моль/дм3 в перегонную колбу с одной меткой вместимостью 1000 см3 и разбавляют до метки водой.
1 см3 этого раствора эквивалентен 0, 1 см3 SO2.
4.1.2. Раствор поливинилпирролидона (PVP)
Растворяют в воде 5, 0 г поливинилпирролидона (относительная молекулярная масса 44000 или 85000) в перегонной колбе вместимостью 100 см3. Разбавляют до метки водой и перемешивают. Фильтруют через тонкую фильтровальную бумагу и хранят в бутылке из темного стекла.
Примечание. Каждую неделю следует готовить свежий раствор.
4.1.3. Хлорид бария, основной (маточный) раствор
В перегонной колбе с одной меткой вместимостью 1000 см3 растворяют 22, 14 г хлорида бария дигидрата (BaCl2·2H2O). Разбавляют до метки водой и перемешивают. Фильтруют раствор через тонкую фильтровальную бумагу.
4.1.4. Смешанный раствор
Помещают пипеткой в стеклянную колбу вместимостью 100 см3 15 см3 раствора хлорида бария, 164 см3 воды, 15 см3 95%-ного (V/V) этилового спирта и 5 см3 раствора поливинилпирролидона.
Смесь перемешивают и на водяной бане доводят до температуры 20°С. За 30 мин до того, как потребуется этот реактив для использования, добавляют пипеткой 1 см3 раствора серной кислоты и тщательно перемешивают.
4.2. Оборудование
4.2.1. Перегонные колбы с одной меткой вместимостью 50, 100 и 1000 см3 по ГОСТ 25336.
4.2.2. Пипетки или бюретки вместимостью 2-4-8-12-16 и 25 см3 по ГОСТ 29227 или ГОСТ 29251.
4.2.3. Водяная баня, поддерживающая температуру (20±1)°С.
4.2.4. Стеклянная колба вместимостью 100 см3 с пробкой из матового стекла.
4.2.5. Спектрофотометр, подходящий для производства измерений при длине волны 650 нм, снабженный кюветами с расстоянием между рабочими гранями 10 мм.
4.3. Методика
4.3.1. Построение калибровочной кривой
В шесть перегонных колб с одной меткой вместимостью 50 см3 вводят соответственно 0-2-4-8-12 и 16 см3 стандартного раствора серной кислоты, 20 см3 воды, 0, 1 см3 раствора индикатора бромфенола синего, 1 см3 соляной кислоты и 5 см3 смешанного раствора, что соответствует содержанию 0-0, 2-0, 4-0, 8-1, 2 и 1, 6 мг двуокиси серы соответственно. Добавляют до метки водой и перемешивают.
Через 15-20 мин после добавления реактива, указанного в п. 4.1.4, измеряют оптическую плотность при длине волны 650 нм, пользуясь спектрофотометром.
Строят калибровочную кривую зависимости оптической плотности от содержания двуокиси серы в миллиграммах.
4.3.2. Определение
После титрования выливают содержимое барботера и воду, использованную для его промывания, в перегонную колбу с одной меткой вместимостью 50 см3, добавляют 1 см3 соляной кислоты и 5 см3 смешанного раствора, разбавляют до метки водой и перемешивают.
Через 15 и 20 мин после добавления реактива, указанного в п. 4.1.4, измеряют поглощаемость на волне 650 нм с помощью спектрофотометра.
Примечание. Калибровку и определение следует выполнять при одной и той же температуре, которая не должна превышать (25±1)°С.
4.3.3. Обработка результатов
Содержание двуокиси серы (X6), мг/кг образца, вычисляют по формуле
,
где m0 - масса контрольной пробы, г;
m1 - масса двуокиси серы, мг.
За результат определения принимают среднее арифметическое значение двух определений.
В протоколе анализа должны быть указаны: метод и полученные результаты. Должны быть приведены все детали, не указанные в настоящем приложении или необязательные, а также все другие обстоятельства, которые могли повлиять на результаты испытания.
В протокол анализа включают всю информацию, необходимую для полной идентификации пробы.

А — круглодонная колба; В — вертикальный конденсатор; С — делительная воронка; D — входное отверстие для азота с поглотителем; Е и Е' — два барботера в комплекте, соединенные с конденсатором В; F — термометр
Черт. 3
______________________________
* Аппарат Либа и Цакхерла.
** В контрольной пробе массой более 100 г (например, D-глюкоза), количество добавляемой воды должно быть равно количеству контрольной пробы.
Приложение 7
Справочное
ИСО 5810-82
Устанавливается потенциометрический метод определения содержания хлоридов в крахмалах и их производных, за исключением катионных крахмалов и амилоидов, растворимых на холоде, поскольку их вязкость слишком велика и не позволяет хорошо перемешивать систему во время титрования.
Потенциометрическое титрование раствора или суспензии пробы с использованием стандартного раствора нитрата серебра.
В процессе анализа разрешается использовать только реактивы установленной аналитической степени чистоты и только дистиллированную воду (или воду эквивалентной степени чистоты).
3.1. Азотная кислота
Используется концентрированная азотная кислота плотностью 1, 41 г/см3.
3.2. Нитрат серебра
Используется стандартный раствор, с (AgNO3)=0, 05 моль/дм3 или 0, 02 моль/дм3.
4.1. Химические стаканы вместимостью 250 см3.
4.2. Пипетки с одной меткой вместимостью 1 см3 по ГОСТ 29227.
4.3. Бюретки вместимостью 10 см3 по ГОСТ 29251.
4.4. Аналитические весы.
4.5. Потенциометр или рН-метр, шкала которого градуирована в милливольтах.
Прибор калибруют в соответствии с инструкциями изготовителя.
4.6. Электроды
4.6.1. Серебряный (хлорсеребряный электрод), который может быть приобретен или изготовлен из серебряного электрода одним из способов:
помещают серебряный электрод в раствор хлорида калия концентрации 0, 1 моль/дм3 и подсоединяют его к положительному полюсу батареи напряжением 4 В;
подсоединяют отрицательный полюс ко второму серебряному или платиновому электроду и пропускают через систему электрический ток в течение приблизительно 5 мин до тех пор, пока поверхность положительного электрода не потемнеет. Осторожно промывают этот положительный электрод водой и хранят в воде до момента использования.
4.6.2. Электрод сравнения. Следует использовать систему электродов, пригодную для потенциометрического определения хлорид-ионов (такие системы выпускаются промышленностью).
4.7. Мешалка с переменной скоростью.
5.1. Приготовление образца
Тщательно перемешивают образец до получения однородной смеси.
5.2. Проба для анализа
Взвешивают с точностью до 0, 001 г требуемое количество выбранного для анализа образца, с учетом предполагаемого содержания в нем хлоридов, в соответствии с табл. 4.
Таблица 4
|
Предполагаемое содержание хлорида, % (по массе) NaCl |
Масса пробы для анализа, г |
|
Менее 0, 05 |
25 |
|
0, 05-0, 2 |
15 |
|
0, 2-0, 5 |
5 |
|
0, 5-1, 0 |
2, 5 |
|
1-5 |
0, 5 |
5.3. Приготовление раствора или суспензии
5.3.1. Переносят пробу для анализа в стакан для титрования, который содержит 100 см3 воды и перемешивающий стержень мешалки.
5.3.2. При присутствии растворимых веществ: перемешивают содержимое стакана до полного растворения пробы для анализа, при необходимости охлаждают (доводят раствор до температуры окружающей среды).
5.3.3. При присутствии нерастворимых веществ: перемешивают содержимое стакана до получения гомогенной суспензии, после чего продолжают перемешивание еще в течение 15 мин.
5.4. Проведение анализа
Опускают электроды в раствор или суспензию для анализа. При этом серебряный (хлорсеребряный) электрод должен быть подсоединен к положительному полюсу измерительного устройства, а электрод сравнения - к отрицательному полюсу. При перемешивании добавляют с помощью пипетки 1 см3 азотной кислоты.
Титруют содержимое стакана раствором нитрата серебра*, добавляя этот раствор порциями по 1 см3, а при приближении к конечной точке - по 0, 2 см3.
После добавления каждой порции раствора ждут установления постоянного показания прибора.
Строят потенциометрическую кривую зависимости от добавленного объема раствора нитрата серебра. В качестве конечной точки титрования берут точку перегиба кривой. Определяют объем раствора нитрата серебра, соответствующий конечной точке титрования.
Для каждого образца проводят два анализа.
Содержание хлоридов (X7), выраженное в процентах (по массе) хлорида натрия, вычисляют по формуле
,
где с - точная концентрация раствора нитрата серебра, моль/дм3;
V - объем раствора нитрата серебра, использованный при титровании, см3;
m - масса пробы для анализа, г.
За результат определения принимают среднее арифметическое значение двух определений, если выполняются условия повторяемости (см. п. 6.2). Если эти условия не выполняются, то следует вновь провести определение.
Разница между результатами двух определений, выполненных, одновременно или в быстрой последовательности на одном и том же образце, не должна превышать:
2, 5% среднего арифметического значения при содержании хлоридов более 1% (m/m);
0, 03 г на 100 г вещества при содержании хлоридов менее 1% (m/m).
Разница между результатами двух определений, выполненных на одном и том же образце в двух различных лабораториях, не должна превышать:
10% среднего арифметического значения при содержании хлоридов более 1% (m/m);
0, 1 г на 100 г вещества при содержании хлоридов менее 1% (m/m).
В протоколе анализа должны быть указаны метод и полученные результаты. Должны быть приведены все детали, не указанные в настоящем приложении или необязательные, а также все другие обстоятельства, которые могли повлиять на результаты испытания.
В протокол анализа включают всю информацию, необходимую для полной идентификации пробы.
______________________________
* При содержании хлорида менее 0, 05% (по массе) рекомендуется использовать раствор концентрации 0, 02 моль/дм3.
Приложение 8
Справочное
ИСО 3947-77
Устанавливается метод определения общего содержания жира в нативном или модифицированном крахмалах, в которых предполагаемое содержание общего жира составляет менее 1, 5% (m/m).
Общее содержание жира - остаток, полученный при описанных условиях методики определения и выраженный в процентах по массе продукта.
Гидролиз продукта кипячением в соляной кислоте и коагуляция нерастворимых веществ, включая общий жир, при охлаждении. Отделение фильтрацией, высушивание и выделение общего жира селективной экстракцией.
При проведении анализа используют дистиллированную воду или воду эквивалентной чистоты.
4.1. Растворитель: n-гексан или петролейный эфир (предел кипения 40-60°С), или четыреххлористый углерод. (С этими растворителями, особенно с четыреххлористым углеродом, следует обращаться очень осторожно из-за их токсичности).
Остаток, полученный при полном выпаривании, не должен превышать 0, 001 г/100 см3.
4.2. Соляная кислота плотностью 1, 18 г/см3.
4.3. Раствор йода концентрацией с=0, 001 моль/дм3 (0, 001 н.).
4.4. Метилоранж, 2 г/дм3 водный раствор.
Стеклянная аппаратура должна иметь стеклянные шлифы.
5.1. Эффективный экстрактор, например Сокслета или Твисселмана или другого аналогичного типа.
5.2. Экстракционная колба, присоединяемая к нижнему концу экстрактора.
5.3. Диски из фильтровальной бумаги с диаметром пор 10 мм, не содержащие вещества, растворимого в используемом растворителе.
5.4. Бумажная экстракционная гильза, используемая в экстракторе и не содержащая веществ, растворимых в используемом растворителе.
5.5. Хлопковая вата, не содержащая веществ, растворимых в используемом растворителе.
5.6. Эффективный обратный холодильник с водяным охлаждением, присоединяемый к верхнему концу экстрактора.
5.7. Электрическое нагревательное устройство с температурным регулятором.
Примечание. Может быть использован прибор многократного экстрагирования с индивидуальным электрорегулятором.
5.8. Водяная баня температурой 15-25°С.
5.9. Кипящая водяная баня.
5.10. Термостат, регулируемый при температуре (50±1)°С.
5.11. Вакуумный термостат, регулируемый при температуре (100±1)°С.
5.12. Химический стакан, вместимостью 600 см3.
5.13. Экстрактор с эффективным осушителем.
5.14. Аналитические весы.
6.1. Приготовление пробы
Лабораторную пробу тщательно перемешивают.
6.2. Анализируемый образец
С погрешностью не более 0, 1 г взвешивают 25-50 г пробы, исходя из предполагаемого общего содержания жира, переносят в химический стакан и суспензируют в 100 см3 воды.
6.3. Гидролиз
100 см3 соляной кислоты смешивают с 200 см3 воды. Раствор доводят до кипения и добавляют к суспензии испытуемого образца.
Смесь нагревают до кипения и поддерживают в этом состоянии в течение 5 мин.
Несколько капель смеси переносят в пробирку, охлаждают до температуры окружающей среды и добавляют каплю раствора йода, устанавливая таким образом отсутствие крахмала в смеси. Если окраска не появилась, то продолжают определение, как указано в п. 7.4.
Если окраска появилась, то смесь продолжают кипятить, часто проверяя по описанной выше методике отсутствие в растворе крахмала. При отсутствии в смеси крахмала испытание продолжают, как указано в п. 7.4.
6.4. Определение остаточных продуктов
Химический стакан с содержимым помещают в водяную баню на 30 мин. Содержимое стакана периодически перемещают, чтобы обеспечить равномерную температуру и осаждение жирных материалов.
Смесь количественно фильтруют через фильтровальную бумагу. Жирные материалы, прилипшие к внутренним стенкам химического стакана, удаляют с помощью сухой фильтровальной бумаги и добавляют к остатку. Фильтровальную бумагу и остаток промывают комнатной водой до тех пор, пока фильтрат не будет нейтральным к индикаторному раствору метилоранжа.
Фильтровальную бумагу с остатком и кусочки фильтровальной бумаги складывают, помещают на часовое стекло и высушивают в течение 3 ч в термостате, регулируемом при температуре (50±1)°С.
6.5. Экстрагирование общего жира
Фильтровальную бумагу с содержимым помещают в экстракционную гильзу, дульце которой закрывают хлопковой ватой, и помещают в экстрактор.
В экстракционную колбу, предварительно высушенную и взвешенную с погрешностью не более 0, 001 г, помещают 50 см3 растворителя. Колбу соединяют с экстрактором и на него помещают обратный холодильник. Все устройство устанавливают на нагревательный прибор и подключают холодную воду к обратному холодильнику.
Примечание. Все узлы прибора должны быть плотно подогнаны друг к другу, чтобы при экстрагировании не происходило потери растворителя.
Нагревание регулируют так, чтобы выделялось 150-200 капель конденсата в 1 мин или 7-10 сифонирований в час; экстрагирование проводят в течение 3 ч.
Колбу с экстрагированными жирными веществами отсоединяют. Экстракционную колбу с содержимым погружают в кипящую водяную баню и почти весь растворитель, содержащийся в колбе, дистиллируют. Колбу на 1 ч помещают в вакуумный термостат, регулируемый при температуре (100±1)°С. Затем колбу переносят в эксикатор, охлаждают до температуры окружающей среды и взвешивают с погрешностью не более 0, 001 г.
Примечание. Длительная сушка экстракта при высокой температуре может привести к завышенному результату из-за окисления жиров.
6.6. На одной пробе для анализа выполняют два определения.
Общее содержание жира (X8), выраженное в процентах по массе продукта, вычисляют по формуле
,
где m0 - масса анализируемого образца, г;
m1 - масса пустой экстракционной колбы, г;
m2 - масса колбы и общего жира после высушивания, г.
За результат определения принимают среднее арифметическое результатов двух определений, если соблюдены условия повторяемости. В противном случае определения повторяют.
Разница между двумя определениями, выполненными одним лаборантом на одной пробе для испытания одновременно или в быстрой последовательности одно за другим, не должна превышать 5% среднего значения.
В протоколе анализа должны быть указаны: метод и используемый растворитель, а также полученные результаты. Должны быть приведены все детали, не указанные в настоящем приложении или необязательные, а также все другие обстоятельства, которые могли повлиять на результаты испытания. В протокол анализа включают всю информацию, необходимую для полной идентификации пробы.
Приложение 9
Справочное
ИСО 3946-82
Устанавливается спектрофотометрический метод определения полного содержания фосфора в крахмале, включая его производные и побочные продукты, в которых ожидаемое содержание в пересчете на фосфор (Р) не превышает 5% (m/m).
Полное содержание фосфора - количество фосфора, установленное в соответствии с описанными в настоящем стандарте условиями и выраженное в виде содержания фосфора (Р) % (m/m) в анализируемом продукте.
Разрушение органических веществ с помощью обработки смесью серной и азотной кислот и превращение фосфатов в ортофосфаты.
Образование с помощью восстановительного агента фосфомолибдата, извстного под названием "молибден синий".
Спектрофотометрическое измерение интенсивности синей окраски при длине волны 825 нм.
В процессе анализа следует использовать только аналитически чистые реагенты с указанной чистотой и только дистиллированную воду эквивалентной чистоты.
4.1. Смесь серной и азотной кислот
Готовят смешиванием одного объема раствора серной кислоты плотностью (20°) 1, 84 г/см3 и концентрацией 96 моль/дм3 и одного объема раствора азотной кислоты плотностью (20°) 1, 38 г/см3 и концентрацией 65 моль/дм3.
4.2. Азотная кислота, раствор плотностью (20°) 1, 38 г/см3, концентрацией 65 моль/дм3.
4.3. Аскорбиновая кислота, раствор концентрацией 50 г/дм3. Этот раствор следует хранить в холодильнике не более 48 ч.
4.4. Раствор молибдата аммония готовят следующим образом.
В колбе вместимостью 1 дм3 растворяют 10, 6 г тетрагидрата молибдата аммония (NH4)6MO7O24·4H2O в 500 см3 воды.
Прибавляют 500 см3 серной кислоты концентрацией 10 моль/дм3, перемешивают и дают охладиться до комнатной температуры.
4.5. Гидроксид натрия, раствор концентрации 10 моль/дм3.
4.6. Фосфор, стандартные растворы.
4.6.1. Основной раствор, соответствующий содержанию Р 100 мг/дм3.
С точностью не менее 0, 5 мг взвешивают 0, 4393 безводного дигидроортофосфата натрия и растворяют его в воде. Количественно переносят в мерную колбу вместимостью 1000 см3.
Разбавляют водой до метки и перемешивают.
1 см3 этого стандартного раствора содержит 100 мкг Р.
Примечание. Перед использованием дигидроортофосфат калия необходимо просушить в сушильном шкафу в течение 1 ч при контролируемой температуре (105±2)°С, а затем дать ему охладиться в эксикаторе.
4.6.2. Стандартный раствор, соответствующий содержанию Р 4 мг/дм3.
Пипеткой отбирают 10 см3 основного раствора и переносят в мерную колбу вместимостью 250 см3.
Доводят до метки водой и перемешивают.
1 см3 этого стандартного раствора содержит 4 мкг Р.
Примечание. Обеспечить, чтобы используемые для мытья стеклянной посуды детергенты не содержали фосфора.
Обычное лабораторное оборудование, а также указанное в пп. 5.1-5.10.
5.1. Мерные колбы вместимостью 50, 100, 200, 250 и 500 см3 по ГОСТ 1770.
5.2. Конические колбы вместимостью 50 см3 по ГОСТ 25336.
5.3. Колбы для кипячения вместимостью 100 см3 по ГОСТ 25336.
5.4. Пипетки вместимостью 1, 2, 5, 10, 15 и 25 см3 по ГОСТ 29227.
5.5. Циркуляционная охлаждающая баня для температур между 15 и 25°С.
5.6. Баня с кипящей водой.
5.7. Плитка для нагревания.
5.8. Эксикатор, содержащий эффективный осушитель.
5.9. Спектрофотометр, снабженный кюветой с длиной оптического пути 1, 0 см, пригодной для измерения при длине волны 825 нм.
5.10. Аналитические весы.
Получают калибровочную кривую и в течение 2 ч проводят определение.
6.1. Построение калибровочного графика
Берут серию из семи конических колб вместимостью 50 см3. Пипеткой вводят в шесть из них 1, 0; 2, 0; 3, 0; 4, 0; 5, 0 и 10, 0 см3 стандартного раствора фосфора, что соответствует 4, 8, 12, 16, 20 и 40 мкг Р.
В каждую из семи колб добавляют воду до общего объема примерно 30 см3. Перемешивают.
Пипеткой в каждую из колб прибавляют в следующем порядке: 4 см3 раствора молибдата аммония и 2 см3 раствора аскорбиновой кислоты. Перемешивают после каждого прибавления.
Помещают семь колб в баню с кипящей водой на 10 мин.
Охлаждают до комнатной температуры путем погружения колб в охлаждающую баню. Содержимое колб количественно переносят в мерные колбы вместимостью 50 см3. Доводят до метки водой и перемешивают.
Спектрофотометром определяют поглощение каждого из шести растворов при 825 нм, используя раствор из колбы без стандартного раствора для сравнения. Строят калибровочную кривую в виде зависимости количества микрограммов фосфора от поглощения.
6.2. Приготовление исследуемого образца
Тщательно перемешивают образец.
6.3. Анализируемая порция
С точностью 0, 2 мг отвешивают 0, 5 г исследуемого образца. Эта масса соответствует интервалу поглощения 0, 1-0, 7. Если это не так, соответствующим образом изменяют исследуемую порцию (см. табл. 5).
Таблица 5
|
Ожидаемое содержание фосфора, % |
Масса исследуемой порции, г |
Полученный при разбавлении объем, см3 |
Объем аликвотной порции, см3 |
|
<0, 05 |
0, 500 |
100 |
25 |
|
0, 05 до 0, 10 |
0, 500 |
100 |
10 |
|
0, 10 до 0, 25 |
0, 500 |
100 |
2 |
|
0, 25 до 0, 50 |
0, 500 |
200 |
2 |
|
0, 50 до 1, 00 |
0, 250 |
250 |
2 |
|
1, 00 до 2, 00 |
0, 125 |
250 |
2 |
|
2, 00 до 5, 00 |
0, 125 |
500 |
2 |
6.4. Кипячение
Переносят исследуемую порцию в колбу для кипячения. Приливают 15 см3 смеси серной и азотной кислот и хорошо перемешивают. Помещают колбу на горячую плитку. Постепенно нагревают, пока жидкость в колбе не начнет слабо кипеть. Продолжают кипячение, пока коричневые пары не заменятся на белые и жидкость не станет прозрачной.
Постоянную темную окраску можно ликвидировать путем добавления раствора азотной кислоты по каплям при продолжении кипячения.
Оставляют охладиться, затем добавляют 10 см3 воды и удаляют избыток раствора азотной кислоты путем нагревания колбы, пока она опять не заполнится белыми парами.
6.5. Приготовление анализируемого раствора
Опять охлаждают смесь и прибавляют 45 см3 воды. Увеличивают рН до 7 путем добавления раствора гидроксида натрия. Переносят содержимое колбы для кипячения в мерную колбу подходящего объема. Доводят до метки водой. Тщательно перемешивают.
6.6. Определение
Отбирают аликвотную порцию (см. табл. 5) и помещают ее в коническую колбу вместимостью 50 см3.
Пипеткой прибавляют в следующем порядке: 4 см3 раствора молибдата аммония и 2 см3 раствора аскорбиновой кислоты. Перемешивают после каждого прибавления.
Помещают колбу в баню с кипящей водой на 10 мин.
Охлаждают до комнатной температуры путем погружения колбы в охлаждающую баню. Содержимое количественно переносят в мерную колбу вместимостью 50 см3. Доводят до метки водой и перемешивают.
Спектрофотометром определяют поглощение этого раствора при 825 нм.
По калибровочной кривой (см. п. 6.1) определяют соответствующее количество микрограммов фосфора.
6.7. Холостой опыт
Параллельно с определениями проводят холостой опыт, заменяя анализируемую пробу водой.
6.8. Количество определений
В одном и том же анализируемом образце проводят два определения.
Содержание фосфора (X9), выраженное в процентах, вычисляют по формуле
,
где m0 - масса исследуемой порции, г;
m1 - содержание фосфора в исследуемом растворе, определенное по калибровочной кривой, мкг;
V0 - объем, до которого разбавлен исследуемый раствор, см3,
V1 - объем аликвотной порции, используемый для определения, см3.
За результат определения принимают среднее арифметическое значений, полученных в результате двух определений, при условии выполнения воспроизводимости. Если это не так, то определение повторяют.
Разница между значениями, полученными в результате двух определений, выполненных одновременно одним и тем же химиком-аналитиком на одном и том же исследуемом образце, не должна превышать:
2% среднего арифметического значения при содержании фосфора, превышающем 0, 2%;
0, 004 г фосфора на 100 г продукта при содержании фосфора менее 0, 2%.
В протоколе анализа должны быть указаны: метод и используемый растворитель. Должны быть приведены все детали, не указанные в настоящем приложении или необязательные, а также все другие обстоятельства, которые могли повлиять на результаты испытания.
В протокол анализа включают всю информацию, необходимую для полной идентификации пробы.


