ГОСТ 12.4.166-2018 СИСТЕМА СТАНДАРТОВ БЕЗОПАСНОСТИ ТРУДА. СРЕДСТВА ИНДИВИДУАЛЬНОЙ ЗАЩИТЫ ОРГАНОВ ДЫХАНИЯ. ШЛЕМ-МАСКА. ОБЩИЕ ТЕХНИЧЕСКИЕ УСЛОВИЯ
Occupational safety standards system. Respiratory protective devices. Facepiece. General specifications
МКС 03.120.10
Предисловие
Цели, основные принципы и основной порядок проведения работ по межгосударственной стандартизации установлены в ГОСТ 1.0-2015 "Межгосударственная система стандартизации. Основные положения" и ГОСТ 1.2-2015 "Межгосударственная система стандартизации. Стандарты межгосударственные, правила и рекомендации по межгосударственной стандартизации. Правила разработки, принятия, обновления и отмены"
Сведения о стандарте
1 Разработан Акционерным обществом "АРТИ-Завод" (АО "АРТИ-Завод")
2 Внесен Федеральным агентством по техническому регулированию и метрологии
3 Принят Межгосударственным советом по стандартизации, метрологии и сертификации (протокол от 27 июня 2018 г. N 53-2018)
За принятие проголосовали:
|
Краткое наименование страны по МК (ИСО 3166) 004-97 |
Код страны по МК (ИСО 3166) 004-97 |
Сокращенное наименование национального органа по стандартизации |
|
Армения |
AM |
Минэкономики Республики Армения |
|
Беларусь |
BY |
Госстандарт Республики Беларусь |
|
Киргизия |
KG |
Кыргызстандарт |
|
Россия |
RU |
Росстандарт |
4 Приказом Федерального агентства по техническому регулированию и метрологии от 5 сентября 2018 г. N 565-ст межгосударственный стандарт ГОСТ 12.4.166-2018 введен в действие в качестве национального стандарта Российской Федерации с 1 июня 2019 г.
5 Взамен ГОСТ 12.4.166-85
Настоящий стандарт распространяется на шлем-маски, предназначенные для использования в качестве лицевой части в средствах индивидуальной защиты органов дыхания (СИЗОД), а также на соединительные трубки, предназначенные для комплектации шлем-масок.
Стандарт не распространятся на шлем-маски, используемые в следующих специальных видах СИЗОД, разработанных:
- для подразделений пожарной охраны, а также для защиты при эвакуации людей во время пожара;
- для подразделений, обеспечивающих ликвидацию последствий чрезвычайных ситуаций природного и техногенного характера, и для защиты населения в чрезвычайных ситуациях природного и техногенного характера;
- либо модифицированных для защиты от бактериологических (биологических) агентов и радиоактивных материалов, которые могут быть использованы в военных целях; токсичных химикатов, используемых в химическом оружии, и химических средств для борьбы с массовыми беспорядками;
- для использования в медицинских целях и в микробиологии;
- для использования в авиационной, космической технике и при подводных работах.
В настоящем стандарте использованы нормативные ссылки на следующие межгосударственные стандарты:
ГОСТ 2.610-2006 Единая система конструкторской документации. Правила выполнения эксплуатационных документов
ГОСТ 12.4.157-75 Система стандартов безопасности труда. Противогазы и респираторы промышленные фильтрующие. Нефелометрические методы определения коэффициента подсоса масляного тумана под лицевую часть
ГОСТ 12.4.238-2015 Система стандартов безопасности труда. Средства индивидуальной защиты органов дыхания. Аппараты изолирующие автономные со сжатым воздухом. Технические требования. Методы испытаний. Маркировка. Правила отбора образцов
ГОСТ 12.4.293-2015 (EN 136:1998) Система стандартов безопасности труда. Средства индивидуальной защиты органов дыхания. Маски. Общие технические условия
ГОСТ 15.309-98 Система разработки и постановки продукции на производство. Испытания и приемка выпускаемой продукции. Основные положения
ГОСТ 577-68 Индикаторы часового типа с ценой деления 0, 01 мм. Технические условия
ГОСТ 2405-88 Манометры, вакуумметры, мановакуумметры, напоромеры, тягомеры и тягонапоромеры. Общие технические условия
ГОСТ 5962-2013 Спирт этиловый ректификованный из пищевого сырья. Технические условия
ГОСТ 8762-75 Резьба круглая диаметром 40 мм для противогазов и калибры к ней. Основные размеры
ГОСТ 11358-89 Толщиномеры и стенкомеры индикаторные с ценой деления 0, 01 и 0, 1 мм. Технические условия
ГОСТ 14192-96 Маркировка грузов
ГОСТ 16600-72 Передача речи по трактам радиотелефонной связи. Требования к разборчивости речи и методы артикуляционных измерений
ГОСТ 24297-2013 Верификация закупленной продукции. Организация проведения и методы контроля
ГОСТ 24997-2004 (ИСО 1502:1996) Калибры для метрической резьбы. Допуски
ГОСТ 28498-90 Термометры жидкостные стеклянные. Общие технические требования. Методы испытаний
Примечание - При пользовании настоящим стандартом целесообразно проверить действие ссылочных стандартов в информационной системе общего пользования - на официальном сайте Федерального агентства по техническому регулированию и метрологии в сети Интернет или по ежегодному информационному указателю "Национальные стандарты", который опубликован по состоянию на 1 января текущего года, и по выпускам ежемесячного информационного указателя "Национальные стандарты" за текущий год. Если ссылочный стандарт заменен (изменен), то при пользовании настоящим стандартом следует руководствоваться заменяющим (измененным) стандартом. Если ссылочный стандарт отменен без замены, то положение, в котором дана ссылка на него, применяется в части, не затрагивающей эту ссылку.
В настоящем стандарте применены термины в соответствии с техническим регламентом [1], а также следующие термины с соответствующими определениями:
3.1 шлем-маска: Лицевая часть СИЗОД с нерегулируемой системой крепления на голове, обеспечивающая подачу очищенного воздуха или дыхательной смеси в органы дыхания человека и закрывающая лицо и голову.
3.2 переговорное устройство: Устройство, предназначенное для улучшения качества передачи речи при пользовании шлем-маской.
3.3 переговорная мембрана: Составная часть переговорного устройства, изготовленная из полимерных пленок и предназначенная для комплектации СИЗОД.
4.1 Шлем-маски подразделяются на три категории в соответствии с ГОСТ 12.4.293.
4.2 Шлем-маски в зависимости от их эргономических свойств подразделяются на три класса эффективности:
- класс 1 - шлем-маски низкой эффективности с площадью поля зрения менее 70 % и без наличия переговорного устройства;
- класс 2 - шлем-маски средней эффективности с площадью поля зрения менее 70 % и с наличием переговорного устройства;
- класс 3 - шлем-маски высокой эффективности с площадью поля зрения выше 70 % и с наличием переговорного устройства.
Испытания по показателю "площадь поля зрения" проводят в соответствии с требованиями 9.2.
4.3 Шлем-маски по их применяемости в СИЗОД подразделяются на:
- шлем-маски, предназначенные для фильтрующих СИЗОД;
- шлем-маски, предназначенные для изолирующих СИЗОД открытого типа.
Примечание - Применяемость шлем-масок в СИЗОД устанавливают в технической документации на данное изделие, эксплуатационных документах, маркировке изделий или специально оговаривают в договорах (контрактах) на их поставку.
4.4 Шлем-маски изготовляют в следующем размерно-ростовочном ассортименте:
- размер (рост) 0 - для пользователей с вертикальным обхватом головы до 630 мм;
- размер (рост) 1 - для пользователей с вертикальным обхватом головы от 635 до 655 мм;
- размер (рост) 2 - для пользователей с вертикальным обхватом головы от 660 до 680 мм;
- размер (рост) 3 - для пользователей с вертикальным обхватом головы от 685 до 705 мм;
- размер (рост) 4 - для пользователей с вертикальным обхватом головы от 710 мм.
Примечание - Измерения округляют с точностью до 5 мм.
5.1.1 Контролируемые размеры
5.1.1.1 Контролируемые размеры шлем-масок должны соответствовать размерам, указанным на сборочных чертежах.
Испытания проводят в соответствии с требованиями 9.3.
5.1.1.2 Шлем-маски, предназначенные для фильтрующих СИЗОД, должны иметь соединительный элемент с резьбой одного из следующих типов:
- резьба Кр 40 х 3, 5* или
──────────────────────────────
* См. также [2].
- круглая резьба 40 х 4 по ГОСТ 8762.
Испытания проводят в соответствии с требованиями 9.4.
5.1.1.3 Шлем-маски, предназначенные для изолирующих СИЗОД открытого типа с нормальным давлением, должны иметь соединительный элемент с круглой резьбой 40 х 4 по ГОСТ 8762.
Испытания проводят в соответствии с требованиями 9.4.
5.1.1.4 Шлем-маски, предназначенные для изолирующих СИЗОД открытого типа с избыточным давлением, должны иметь соединительный элемент с резьбой М45 х 3 по ГОСТ 12.4.238 (приложение Б).
Примечание - Допускается вместо резьбы М45 х 3 использовать специальное соединение (например, штекерное, байонетное и др.).
Испытания проводят в соответствии с требованиями 9.4.
5.1.2 Сопротивление воздушному потоку
5.1.2.1 Шлем-маски, кроме предназначенных для изолирующих СИЗОД открытого типа, должны удовлетворять требованиям таблицы 1.
Таблица 1
|
Сопротивление на вдохе, Па (мм вод. ст.), не более |
Сопротивление на выдохе, Па (мм вод. ст.), не более | ||
|
при объемном расходе 2500 см3·см-1 (150 дм3·мин-1) |
при объемном расходе 500 см3·см-1 (30 дм3·мин-1) |
при объемном расходе 2500 см3·см-1 (150 дм3·мин-1) |
при объемном расходе 500 см3·см-1 (30 дм3·мин-1) |
|
373, 0 (38, 0) |
24, 0 (2, 5) |
455, 0 (46, 0) |
127, 0 (13, 0) |
Испытания проводят в соответствии с требованиями 9.5.
5.1.2.2 Шлем-маски, предназначенные для изолирующих СИЗОД открытого типа, должны удовлетворять требованиям таблицы 2.
Таблица 2
|
Сопротивление на вдохе, Па (мм вод. ст.), не более |
Сопротивление на выдохе, Па (мм вод. ст.), не более | |
|
при объемном расходе 2500 см3·см-1 (150 дм3·мин-1) |
при объемном расходе 1830 см3·см-1 (110 дм3·мин-1) |
при объемном расходе 2500 см3·см-1 (150 дм3·мин-1) |
|
196 (20) |
118(12) |
455 (46) |
Испытания проводят в соответствии с требованиями 9.5.
5.1.3 Коэффициент подсоса под шлем-маску
5.1.3.1 Коэффициент подсоса под шлем-маску не должен превышать 0, 05 % при испытании в соответствии с ГОСТ 12.4.293.
Испытания проводят в соответствии с требованиями 9.6.1.
5.1.3.2 Коэффициент подсоса под шлем-маску не должен превышать 0, 0001 % при испытании методом по ГОСТ 12.4.157 (раздел 1).
Испытания проводят в соответствии с требованиями 9.6.2.
5.1.4 Герметичность шлем-маски
Шлем-маска при испытании на герметичность при исходном вакууме в подмасочном пространстве 1177 Па (120 мм вод. ст.) не должна уменьшать вакуум более чем на 353 Па (36 мм вод. ст.) в течение 60 с.
Испытания проводят в соответствии с требованиями 9.7.1.
5.1.5 Условная жесткость шлем-маски
Условная жесткость шлем-маски должна быть не более 63, 5 Н.
Примечание - В эксплуатационной документации должны быть указаны допустимые пределы увеличения условной жесткости после хранения, определяемые на этапе разработки изделия. По истечении минимального гарантийного срока хранения (6 лет) условная жесткость шлем-маски должна быть не более 78, 4 Н.
Испытания проводят в соответствии с требованиями 9.8.
5.1.6 Масса
Масса шлем-маски должна быть не более 0, 405 кг.
Испытания проводят в соответствии с требованиями 9.9.
5.1.7 Устойчивость к воспламенению
Шлем-маски, которые во время непосредственного применения могут быть подвержены воздействию открытого пламени (исходя из области применения, установленной изготовителем в эксплуатационной документации), должны быть устойчивы к воспламенению.
При проведении испытаний на устойчивость к воспламенению элементы шлем-маски, подвергаемые воздействию открытого пламени, не должны воспламеняться и гореть в течение 5 с после извлечения из пламени, а после воздействия открытого пламени шлем-маска должна оставаться герметичной в соответствии с 5.1.4.
Испытания проводят в соответствии с требованиями 9.10.
5.1.8 Устойчивость к тепловому излучению
5.1.8.1 Шлем-маски категории 3 должны быть устойчивы к тепловому излучению. Устойчивость к тепловому излучению может быть установлена одним из двух следующих методов:
- шлем-маску считают устойчивой к тепловому излучению, если она остается герметичной после 20 мин испытаний, даже если она имеет видимые повреждения;
- шлем-маску считают устойчивой к тепловому излучению, если видимые повреждения возникают не менее чем через 4 мин с начала испытаний. При появлении видимых изменений испытания проводят в течение еще 1 мин. После испытаний шлем-маска должна оставаться герметичной.
Испытания проводят в соответствии с требованиями 9.11.
5.1.8.2 До и после испытания на устойчивость к тепловому излучению шлем-маска должна отвечать требованию 5.1.4.
Испытания проводят в соответствии с требованиями 9.7.1.
5.1.9 Смотровые стекла
5.1.9.1 Смотровые стекла не должны искажать зрительное восприятие.
Испытания проводят в соответствии с требованиями 9.21.
5.1.9.2 Изготовитель предоставляет средства по снижению запотевания смотровых стекол для того, чтобы зрительное восприятие не искажалось при эксплуатации шлем-маски в интервале температур и в течение времени, указанных изготовителем. При использовании химических соединений против запотевания в соответствии с указаниями по эксплуатации они не должны оказывать раздражающего или иного вредного воздействия на здоровье пользователя.
Испытания проводят в соответствии с требованиями 9.12 и 9.21.
5.1.9.3 После испытаний на механическую прочность смотровые стекла не должны иметь повреждений, делающих применение маски неэффективным и вызывающим опасность травмирования пользователя. Эффективность проверяют при определении герметичности шлем-маски до и после испытания. Шлем-маска должна отвечать требованию 5.1.4 как до, так и после испытаний на механическую прочность смотровых стекол.
Испытания проводят в соответствии с требованиями 9.7.1, 9.12 и 9.13.
5.1.10 Клапаны вдоха и выдоха
5.1.10.1 Конструкция клапанов должна обеспечивать простоту в обращении и обслуживании, а также их правильную замену, если это предусмотрено указаниями по эксплуатации.
5.1.10.2 Конструкция клапанов должна исключать функционирование клапанов выдоха в цикле вдоха и клапанов вдоха в цикле выдоха.
5.1.10.3 Допускается замена клапанов на клапаны иной конструкции, а также их составных частей, если это оговорено в указаниях по эксплуатации. При этом указания по эксплуатации должны содержать подробные инструкции по замене клапанов или их составных частей.
5.1.10.4 Допускается замена клапанов выдоха в сборе и клапанов вдоха в сборе на идентичные, если это оговорено в указаниях по эксплуатации.
5.1.10.5 Составные части клапанов вдоха и выдоха должны быть четко описаны в информации изготовителя и маркированы. В указаниях по эксплуатации должен быть описан способ проверки правильности сборки: визуальная проверка, проверка пользователем, испытание персоналом по техническому обслуживанию (по обстоятельствам).
5.1.10.6 Клапаны вдоха должны правильно функционировать во всех положениях шлем-маски и отвечать требованиям 5.1.2.1.
Испытания проводят в соответствии с требованиями 9.5 и 9.12.
5.1.10.7 Шлем-маска с резьбовым соединением* должна иметь клапан вдоха.
──────────────────────────────
* См. также [2].
5.1.10.8 Шлем-маска, предназначенная для использования с фильтрами, должна быть оснащена клапаном вдоха, если фильтр не имеет клапана вдоха.
5.1.10.9 Клапаны выдоха должны правильно функционировать во всех положениях шлем-маски и отвечать требованиям 5.1.2.1.
Испытания проводят в соответствии с требованиями 9.5 и 9.12.
5.1.10.10 Шлем-маска, оснащенная резьбовым соединением по ГОСТ 12.4.238 (приложение Б)*, и маска категории 1 должны иметь минимум один клапан выдоха или другое устройство для удаления выдыхаемого и/или избыточного воздуха.
──────────────────────────────
* См. также [2].
Испытания проводят в соответствии с требованиями 9.12.
5.1.10.11 Клапан выдоха должен быть защищен от попадания грязи и механических повреждений корпусом или при необходимости любым другим устройством для того, чтобы шлем-маска соответствовала требованиям 5.1.3.
Испытания проводят в соответствии с требованиями 9.6 и 9.12.
5.1.11 Соединительные элементы
5.1.11.1 Шлем-маски категории 1
Шлем-маски категории 1 не должны иметь резьбовых соединений, описанных в ГОСТ 12.4.238 (приложение Б)*.
──────────────────────────────
* См. также [2].
Испытания проводят в соответствии с требованиями 9.12.
5.1.11.2 Шлем-маски категорий 2 и 3
Шлем-маски категорий 2 и 3 должны иметь не более одного резьбового соединения, описанного в ГОСТ 12.4.238 (приложение Б)*.
Если используют другой соединительный элемент, то должна быть исключена возможность его присоединения к резьбовым соединениям, описанным в ГОСТ 12.4.238 (приложение Б)*.
──────────────────────────────
* См. также [2].
Испытания проводят в соответствии с требованиями 9.12.
5.1.11.3 Прочность соединения шлем-маски
До и после этого испытания шлем-маска должна соответствовать требованию 5.1.4.
Соединение между лицевой частью и соединительным элементом должно быть прочным и должно выдерживать силу растяжения, направленную перпендикулярно плоскости соединительного элемента:
- для шлем-масок категории 1 сила растяжения составляет 250 Н;
- для шлем-масок категорий 2 и 3 сила растяжения составляет 500 Н.
Испытания проводят в соответствии с требованиями 9.7.1 и 9.14.
5.1.12 Переговорная мембрана
5.1.12.1 В тех случаях, когда шлем-маска включает в себя переговорную мембрану, она должна быть защищена от механических повреждений.
Испытания проводят в соответствии с требованиями 9.12.
5.1.12.2 Переговорная мембрана должна выдерживать разность давлений 8 кПа (статическое давление) при положительном давлении снаружи (окружающая атмосфера).
Испытания проводят в соответствии с требованиями 9.12 и 9.15.
5.1.12.3 Узел переговорного устройства должен выдерживать силу растяжения 150 Н, направленную перпендикулярно плоскости переговорного устройства и прилагаемую в течение 10 с.
Испытание повторяют девять раз с интервалом 10 с.
Испытания проводят в соответствии с требованиями 9.12 и 9.15.
5.1.13 Содержание диоксида углерода во вдыхаемом воздухе
Содержание диоксида углерода во вдыхаемом воздухе при применении шлем-маски не должно превышать в среднем 1, 0 % по объему.
Испытания проводят в соответствии с требованиями 9.16.
5.1.14 Внешний вид
Внешний вид шлем-маски и соединительной трубки должен соответствовать требованиям, указанным на сборочных чертежах соответственно, и контрольным образцам допустимых отклонений внешнего вида в соответствии с технической документацией на изделие.
Испытания проводят в соответствии с требованиями 9.17.
5.1.15 Требования к соединительной трубке
5.1.15.1 Круглая резьба 40 х 4 по ГОСТ 8762, или резьба Кр 40 х 3, 5*, или резьбовое соединение М45 х 3 соединительных элементов в смонтированной соединительной трубке должны соответствовать требованиям ГОСТ 8762* или ГОСТ 12.4.238 (приложение Б) соответственно.
──────────────────────────────
* См. также [2].
Испытания проводят в соответствии с требованиями 9.4.
5.1.15.2 Соединительные элементы должны свободно проворачиваться относительно друг друга усилием руки в смонтированной соединительной трубке.
Испытания проводят в соответствии с требованиями 9.18.
5.1.15.3 Соединительная трубка должна выдерживать силу растяжения 150 Н.
Испытания проводят в соответствии с требованиями 9.19.
5.1.15.4 Соединительная трубка при испытании на герметичность должна обеспечивать отсутствие падения давления в течение 15 с при исходном избыточном давлении:
- 0, 050 МПа - с трикотажным слоем;
- 0, 020 МПа - без трикотажного слоя.
Испытания проводят в соответствии с требованиями 9.7.2.
5.1.16 Требования к разборчивости речи
Шлем-маски классов 2 и 3 должны обеспечивать разборчивость речи не хуже II класса качества по ГОСТ 16600 в условиях "белого" шума на расстоянии 1 м.
Испытания проводят в соответствии с требованиями 9.20.
5.2.1 Сырье, материалы и комплектующие изделия должны соответствовать требованиям нормативных документов, действующих на территории государства, принявшего стандарт, и пройти верификацию закупленной продукции по ГОСТ 24297.
5.2.2 Материалы шлем-масок и соединительных трубок должны сохранять свои свойства в процессе хранения и эксплуатации в течение срока годности.
Испытания проводят в соответствии с требованиями 9.21.
5.2.3 Материалы шлем-масок и соединительных трубок должны сохранять свои свойства при использовании чистящих и дезинфицирующих средств, рекомендуемых изготовителем.
Испытания проводят в соответствии с требованиями 9.21.
5.2.4 Кромки деталей шлем-маски, которые могут соприкасаться с пользователем, не должны иметь острых краев и заусенцев.
Испытания проводят в соответствии с требованиями 9.21.
5.2.5 Резины, применяемые для изготовления резиновых деталей, по физико-механическим показателям, коэффициенту морозостойкости, содержанию свободной серы и содержанию продуктов газовыделения должны соответствовать технической документации на резину.
В комплект поставки шлем-маски должны входить:
- шлем-маска;
- соединительная трубка (при наличии заказа);
- упаковочный пакет;
- ведомость эксплуатационных документов (1 экз. на партию);
- руководство по эксплуатации (брошюра, 1 экз. на упаковочную единицу);
- паспорт (1 экз. на партию).
5.4.1 Маркировка шлем-масок
Маркировка шлем-маски должна соответствовать требованиям технического регламента [1], а также должна содержать:
- обозначение настоящего стандарта;
- номер партии;
- марку шлем-маски;
- категорию шлем-маски;
- класс шлем-маски;
- обозначение резьбы соединительного элемента.
Маркировку наносят непосредственно на изделие или на трудноудаляемую этикетку, прикрепленную к изделию.
5.4.2 Транспортная маркировка
Маркировка транспортной тары шлем-масок должна соответствовать требованиям технического регламента [1], а также должна содержать:
- обозначение настоящего стандарта;
- номер партии;
- марку шлем-маски;
- категорию шлем-маски;
- класс шлем-маски;
- обозначение резьбы соединительного элемента.
Транспортная маркировка должна отвечать требованиям ГОСТ 14192 и содержать манипуляционные знаки: "Верх", "Беречь от влаги", "Хрупкое. Осторожно", "Предел по количеству ярусов в штабеле" (в левом верхнем углу двух соседних стенок) и информационную надпись "Брутто" в килограммах (на передней стенке).
Примечание - При маркировке изделия должны быть соблюдены требования технического регламента [1], а также нормативных и правовых актов, действующих на территории государства, принявшего настоящий стандарт, устанавливающих порядок маркирования изделия информацией на государственном языке.
5.5.1 Шлем-маски и соединительные трубки следует упаковывать в ящики или другую тару для упаковки средств защиты.
5.5.2 При соблюдении условий транспортирования и хранения упаковка должна обеспечивать защиту изделий от повреждений в результате внешних воздействий, возникающих в процессе транспортирования и при хранении в течение гарантийного срока. Требования к упаковке устанавливают в технической документации на изделие.
6.1 Шлем-маска и соединительная трубка, их комплектующие узлы и детали не должны выделять в окружающую среду токсичных веществ и оказывать вредного влияния на организм человека при непосредственном контакте. Работа с ней не должна требовать особых мер предосторожности.
6.2 Не допускается попадания масел, растворителей и агрессивных жидкостей на поверхность шлем-маски и соединительной трубки.
6.3 Шлем-маска и соединительная трубка, а также материалы, используемые при их изготовлении, должны быть испытаны по показателям безопасности в соответствии с требованиями санитарного законодательства, действующего на территории государств, принявших настоящий стандарт.
7.1 Изделия не должны представлять опасности для жизни, здоровья или окружающей среды.
7.2 Изделия, непригодные к эксплуатации, а также с истекшим гарантийным сроком подлежат утилизации.
7.3 Шлем-маски и соединительные трубки, подлежащие утилизации, изолируют от годных изделий, разбирают на составные детали, проводят сортировку деталей на резиновые, пластмассовые, стеклянные и металлические, упаковывают в транспортную тару, которую маркируют с указанием вида и массы утилизируемого сырья, и отправляют на утилизацию. Транспортную тару и способ упаковки устанавливает предприятие-потребитель.
7.4 Утилизацию (переработку, захоронение) проводят в порядке, установленном нормами, актами и правилами, принятыми во исполнение законов, действующих на территории государств, принявших настоящий стандарт.
8.1 Шлем-маски принимают партиями. За партию принимают шлем-маски, изготовленные за ограниченный период времени по одной и той же документации, одновременно предъявляемые к приемке и сопровождаемые одним документом о качестве.
Количество шлем-масок в партии должно быть:
- 1000 шт. - при раздельной упаковке шлем-масок и соединительных трубок;
- 900 шт. - при совместной упаковке шлем-масок и соединительных трубок.
Примечания
1 Допускается отдельная поставка соединительных трубок при наличии заказа. В этом случае количество соединительных трубок в партии должно быть 1000 шт.
2 По согласованию с потребителем допускается изменение размера партии изделий.
8.2 Для проверки соответствия качества шлем-масок требованиям настоящего стандарта их подвергают приемо-сдаточным испытаниям в объеме, установленном в таблице 3.
Таблица 3
|
Наименование показателя |
Требования |
Количество образцов от партии, % |
Метод испытаний |
|
Контролируемые размеры: - толщина корпуса |
5.1.1.1 |
1 |
9.3 |
|
Резьба |
5.1.1.2-5.1.1.4; 5.1.15.1 |
8 |
9.4 |
|
Сопротивление воздушному потоку |
5.1.2.1 |
2 |
9.5 |
|
Коэффициент подсоса под шлем-маску |
5.1.3.2 |
2 |
9.6.2 |
|
Герметичность шлем-маски |
5.1.4 |
8 |
9.7.1 |
|
Условная жесткость шлем-маски |
5.1.5 |
1 |
9.8 |
|
Внешний вид |
5.1.14 |
8 |
9.17 |
|
Проворачиваемость соединительных элементов соединительной трубки |
5.1.15.2 |
8 |
9.18 |
|
Прочность соединительной трубки |
5.1.15.3 |
1 |
9.19 |
|
Герметичность соединительной трубки |
5.1.15.4 |
8 |
9.7.2 |
|
Маркировка |
5.4 |
2 ящика |
9.12 |
|
Упаковка |
5.5 |
2 ящика |
9.12 |
8.3 Периодические испытания проводит изготовитель по показателям в объеме, установленном в таблице 4.
Таблица 4
|
Наименование контролируемого показателя |
Вид испытания и/или контроля |
Объем выборки |
Периодичность |
|
Соответствие физико-механических показателей корпуса требованиям документа по стандартизации |
Разрушающие испытания |
3 детали |
Один раз в месяц |
|
Соответствие резиновых деталей требованиям документа по стандартизации |
Измерительный контроль, механические и химические разрушающие испытания |
5 деталей (каждого наименования) |
Один раз в месяц |
|
Содержание продуктов газовыделения в корпусе шлем-маски |
Разрушающие химические испытания |
1 деталь |
Один раз в месяц |
|
Прочность соединения между шлем-маской и соединительным узлом |
Механические, разрушающие испытания |
3 детали |
Один раз в месяц |
|
Переговорная мембрана |
Механические, разрушающие испытания |
3 детали |
Один раз в год |
|
Масса |
Измерительный контроль |
1 изделие |
Один раз в год |
8.4 При неудовлетворительных результатах периодических испытаний хотя бы по одному показателю испытания по этому показателю переводят в категорию приемо-сдаточных до получения положительных результатов не менее чем на трех партиях подряд.
8.5 Типовые испытания проводят в соответствии с требованиями ГОСТ 15.309 (приложение А).
9.1 Общие положения
Все испытания следует проводить с использованием средств измерений утвержденных типов на аттестованном испытательном оборудовании.
Для испытаний следует привлекать практически здоровых людей, годных по состоянию здоровья.
9.2 Площадь поля зрения
Испытания проводят по ГОСТ 12.4.293 (подраздел 6.18).
9.3 Контролируемые размеры
Контролируемые размеры шлем-масок проверяют средствами измерения утвержденного типа, прошедшими поверку в соответствии с требованиями, действующими на территории государства, принявшего настоящий стандарт.
Толщину корпуса шлем-маски проверяют толщиномером типа TP 10-60 по ГОСТ 11358.
9.4 Резьба
Соответствие резьбы соединительных элементов шлем-маски и смонтированной соединительной трубки проверяют калибрами в зависимости от резьбы по ГОСТ 8762* или ГОСТ 24997.
──────────────────────────────
* См. также [2].
9.5 Сопротивление воздушному потоку
Для испытания сопротивления шлем-маски постоянному воздушному потоку применяют:
а) стенд, схема которого приведена на рисунке 1. Стенд подключают к производственной сети сжатого воздуха давлением от 0, 4 до 0, 6 МПа с обязательной установкой ловушки любого типа для масел и осушителей. Стенд должен обеспечивать:
1) создание постоянного потока воздуха с объемным расходом (2500 ± 63) см3·см-1 [(150 ± 4) дм3/мин];
2) измерение объемного расхода расходомером с погрешностью ± 2, 5 % от верхнего предела измерения;
3) измерение сопротивления в пределах от 0 до 982 Па (от 0 до 100 мм вод. ст.) прибором с погрешностью ± 2, 5 % от верхнего предела измерения;
б) термометр лабораторный типа 3-6-2 с погрешностью измерения ± 1 °С по ГОСТ 28498;
в) барометр мембранный метеорологический;
г) спирт этиловый ректификованный из пищевого сырья по ГОСТ 5962.

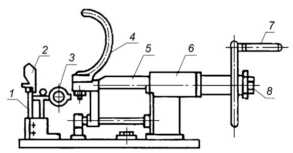
1 - расходомер; 2 - измеритель разности давления; 3 - насадка; 4 - регулятор объемного расхода воздуха
Рисунок 1 - Схема стенда для испытания сопротивления шлем-маски
Перед испытанием осматривают состояние всех узлов стенда.
Устанавливают регулятором по расходомеру объемный расход потока воздуха (2500 ± 63) см3·см-1 [(150 ± 4) дм3/мин].
Устанавливают уровень жидкости в измерителе на нулевую отметку шкалы.
При испытании сопротивления шлем-маски на вдохе насадку устанавливают в вертикальном положении отверстием (в торце) вверх, а при испытании на выдохе - отверстием вниз.
Испытания проводят следующим образом: для определения сопротивления вдоху прокладочное кольцо клапанной коробки шлем-маски сверху плотно прижимают к насадке. Для определения сопротивления выдоху венчик седловины клапана выдоха снизу плотно прижимают к насадке. По шкале измерителя разности давления фиксируют результат.
Сопротивление шлем-маски на вдохе и выдохе R, Па (мм вод. ст.), вычисляют по формуле
R = KA,
(1)
где К - коэффициент, значения которого приведены в приложении А;
А - значение шкалы измерителя.
9.6 Коэффициент подсоса под шлем-маску
9.6.1 Испытания проводят по ГОСТ 12.4.293 (подраздел 6.17).
9.6.2 Испытания проводят методом по ГОСТ 12.4.157 (раздел 1).
9.7 Герметичность
9.7.1 Герметичность шлем-маски определяют статическим методом по уменьшению вакуума в подмасочном пространстве в соответствии с требованиями нормативных документов, действующих на территории государства, принявшего стандарт.
При негерметичности шлем-маски допускается продувать клапаны выдоха сухим сжатым воздухом давлением от 0, 4 до 0, 6 МПа в течение от 5 до 10 с через трубку диаметром (6 ± 1) мм с обязательной установкой ловушки любого типа для масел и осушителей в сети сжатого воздуха.
9.7.2 Для испытания соединительной трубки на герметичность применяют:
- приспособление, схема которого приведена на рисунке 2;
- секундомер механический класса точности 2;
- манометр, показывающий с пределом измерения от 0 до 0, 1 МПа, класса точности 1 по ГОСТ 2405.

1 - клапан с педальным управлением; 2 - манометр; 3, 7 - стойка; 4, 6 - герметизирующий зажим; 5 - испытуемая трубка
Рисунок 2 - Схема приспособления для испытания герметичности соединительной трубки
Перед испытанием проверяют приспособление на герметичность, закрывая входное отверстие герметизирующего зажима и подавая через клапан на приспособление сжатый воздух до избыточного давления (0, 050 ± 0, 005) МПа.
Приспособление считают герметичным, если в течение 60 с давление не меняется.
Для испытания отобранную соединительную трубку вставляют в приспособление, герметизируют зажимами, открывают клапан и повышают давление до (0, 050 ± 0, 005) МПа для соединительной трубки с трикотажным слоем или до (0, 020 ± 0, 002) МПа - для соединительной трубки без трикотажного слоя. Затем клапан закрывают и выдерживают соединительную трубку при этом давлении 15 с.
Изделие считают выдержавшим испытание, если в течение указанного времени не происходит падения давления.
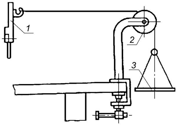
9.8 Условная жесткость шлем-маски
9.8.1 Условную жесткость шлем-маски определяют на приборе ПЖЛ-Х, схема которого приведена на рисунке 3.

1 - силоизмерительная пружина; 2 - передний держатель; 3 - индикатор часового типа; 4 - задний держатель; 5 - подвижный шток; 6 - подшипник; 7 - ручной привод; 8 - ограничительная пробка
Рисунок 3 - Схема прибора ПЖЛ-Х
9.8.2 Перед испытанием после транспортирования или ремонта прибора, а также после проведения 5000 измерений проводят градуировку ПЖЛ-Х следующим образом:
- снимают держатели;
- укрепляют на пружине градуировочное приспособление;
- устанавливают блок на краю рабочего стола справа от прибора в соответствии с рисунком 4;
- устанавливают индикатор часового типа (предел измерения от 0 до 10, цена деления основной шкалы от 0 до 0, 01 мм по ГОСТ 577) с поджатием стержня так, чтобы стрелка отклонялась примерно на полшкалы, и поворотом ободка устанавливают стрелку индикатора на нуль;
- проверяют правильность установки индикатора трех-, четырехкратным нажатием на приспособление для калибровки, при этом каждый раз стрелка индикатора должна возвращаться на нуль;
- подвешивают площадку к крючку калибровочного приспособления через блок, которую последовательно нагружают грузом от 1 до 6 кг, каждый раз добавляя по 1 кг. Первым грузом массой 1 кг является сама площадка;
- записывают показания индикатора после каждой установки груза с погрешностью не более 0, 5 делений шкалы. Калибровку проводят дважды. При расхождении данных более чем на одно деление индикатора проверяют крепление пружины калибровочного приспособления, установку индикатора и повторяют калибровку. По результатам калибровки определяют цену деления шкалы индикатора в ньютонах на деление.

1 - калибровочное приспособление; 2 - блок; 3 - площадка
Рисунок 4 - Схема установки блока для градуировки ПЖЛ-Х
9.8.3 После градуировки устанавливают держатели и закрепляют прибор на столе. Затем отводят задний держатель вправо до совпадения риски на подшипнике с цифрой 236 на шкале штока. При этом расстояние между наиболее удаленными точками на внешней поверхности держателей, измеренное штангенциркулем, должно быть 320 мм.
Если расстояние между наиболее удаленными точками при правильно установленных держателях отличается от требуемого более чем на 1 мм, пределы растяжения лицевой части по шкале штока изменяют на величину получаемого расхождения.
Раздвигают держатели до требуемого предела растяжения лицевой части и фиксируют это положение с использованием ограничительной пробки.
Пределы растяжения лицевой части в зависимости от роста указаны в таблице 5.
Таблица 5
|
Размер (рост) шлем-маски |
Предел растяжения по шкале, мм |
|
0 |
217 |
|
1 |
226 |
|
2 |
236 |
|
3 |
249 |
|
4 |
262 |
9.8.4 Для проведения испытания внутреннюю поверхность лицевой части покрывают тальком, надевают на сдвинутые держатели прибора и вращением маховика растягивают лицевую часть до установленного предела.
Допускается вместо талька применять мыльный раствор.
В момент упора штока в ограничительную пробку отмечают показания шкалы индикатора.
Не допускается удар штока об ограничительную пробку.
9.8.5 Условную жесткость линейной части Жх, Н, вычисляют по формуле
Жх = n В,
(2)
где n - число делений шкалы индикатора;
В - цена деления шкалы индикатора, Н/деление.
9.9 Масса
Проверку проводят путем взвешивания шлем-маски на весах диапазоном измерения до 3 кг и с ценой деления 0, 5 г.
Результат проверки считают положительным, если масса шлем-маски соответствует требованиям 5.1.6.
9.10 Устойчивость к воспламенению
Испытания проводят по ГОСТ 12.4.293 (подраздел 6.6).
9.11 Устойчивость к тепловому излучению
Испытания проводят по ГОСТ 12.4.293 (подраздел 6.7).
9.12 Визуальный контроль
Визуальный контроль проводят до и во время проведения испытаний. При визуальном контроле проверяют маркировку, наличие соответствующих указаний по эксплуатации, а также обращают внимание на наличие комплектующих узлов и деталей и правильность их сборки.
9.13 Смотровые стекла
Испытания проводят по ГОСТ 12.4.293 (подраздел 6.12).
9.14 Прочность соединения шлем-маски
Испытания проводят по ГОСТ 12.4.293 (подраздел 6.10).
9.15 Переговорная мембрана
Испытания проводят по ГОСТ 12.4.293 (подраздел 6.11).
9.16 Содержание диоксида углерода во вдыхаемом воздухе
Испытания проводят по ГОСТ 12.4.293 (подраздел 6.15).
9.17 Внешний вид
Внешний вид проверяют визуальным контролем без применения специальных увеличительных приборов в сравнении с контрольными образцами допустимых отклонений внешнего вида.
9.18 Проворачиваемость соединительных элементов соединительной трубки
Соединительные элементы соединительной трубки проворачивают относительно друг друга в смонтированной соединительной трубке усилием руки.
Результат считают положительным, если соединительные элементы свободно проворачиваются относительно друг друга в смонтированной соединительной трубке.
9.19 Прочность соединительной трубки
Испытания проводят по нормативным документам*.
──────────────────────────────
* См. также [3] (пункт 8.5).
9.20 Разборчивость речи
Испытания проводят по ГОСТ 16600.
9.21 Определение эксплуатационных свойств
9.21.1 Общие положения
Испытывают два образца.
Все испытания проводят два испытателя с регистрацией влажности и температуры при испытаниях в интервале температур и в течение времени, указанных изготовителем.
Для проведения испытаний привлекают лиц, имеющих опыт эксплуатации данной или подобной шлем-маски. При испытаниях шлем-маски испытатель дает субъективную оценку ее работы. После испытаний в протокол следует занести замечания испытателя:
а) надежность соединений;
б) доступность средств управления (при наличии);
в) четкость изображения через смотровые стекла шлем-маски (отсутствие искажений, запотевания);
г) передача речи;
д) любой другой комментарий, который дает испытатель при опросе.
9.21.2 Испытания при ходьбе
Испытатели надевают обычную рабочую одежду и шлем-маску. Испытатели должны идти со скоростью 6 км/ч по тредбану в течение 10 мин.
9.21.3 Испытания, моделирующие трудовую деятельность
Продолжительность испытаний - 20 мин.
Должны быть выполнены следующие действия:
а) ходьба в течение 5 мин в помещении, высота которого составляет (1, 3 ± 0, 2) м;
б) передвижение ползком в течение 5 мин в помещении, высота которого составляет (0, 70 ± 0, 05) м;
в) заполнение небольшой емкости (приблизительный объем - 8 дм3, см. рисунок 5) резиновой стружкой или другим подобным материалом из контейнера высотой 1, 5 м, имеющего в основании отверстие, из которого насыпается содержимое, с открытым верхом для высыпания содержимого из заполненной емкости.
Заполняя емкость стружкой, испытатель должен наклоняться или, по желанию, становиться на колени. Затем он должен поднять емкость и высыпать ее содержимое обратно в контейнер. Данную операцию повторяют 19 раз в течение 10 мин.
Примечание - Последовательность проведенных действий определяет испытательная лаборатория.

Рисунок 5 - Емкость и контейнер с резиновыми стружками
10.1 Изделия транспортируют любым видом транспорта без ограничения расстояния, обеспечивающим сохранность упаковки предприятия-изготовителя и исключающим механические повреждения и загрязнение, воздействие прямых солнечных лучей и атмосферных осадков в соответствии с правилами перевозки грузов, действующими на данном виде транспорта.
При транспортировании ящики с изделиями должны быть закреплены так, чтобы исключить возможность их перемещения при движении транспортных средств.
10.2 В случае обнаружения нарушений правил погрузки (разгрузки) и некачественного состояния транспортных средств представитель отдела технического контроля приостанавливает погрузку (разгрузку) до принятия соответствующих мер.
10.3 Изделия должны храниться на предприятии-изготовителе и предприятии-потребителе в сухом неотапливаемом или отапливаемом помещении, при температуре окружающего воздуха от минус 40 °С до плюс 50 °С, на расстоянии не менее 1 м от отопительных приборов, в штабелях не более шести ящиков по высоте и не более двух ящиков по ширине, строго по партиям, с наличием проходов между штабелями и стенкой хранилища шириной не менее 0, 6 м, на расстоянии не менее 0, 25 м от пола.
10.4 В процессе хранения изделий, в том числе и в процессе вылежки на предприятии-изготовителе, допускается миграция ингредиентов из резины на поверхность резиновых деталей.
10.5 В процессе хранения изделий допускается появление белого налета, серых пятен, коррозии основного металла и появление отдельных вздутий от нитевидной коррозии основного металла по истечении пятилетнего срока хранения.
10.6 После транспортирования и хранения при отрицательных температурах перед эксплуатацией в комплекте противогаза изделия должны быть выдержаны при температуре от 15 до 30 °С в течение не менее 24 ч.
11.1 Шлем-маски и соединительные трубки должны быть работоспособными в различных климатических районах при температуре от минус 40 °С до плюс 50 °С.
11.2 Каждая шлем-маска должна быть снабжена указаниями по эксплуатации.
11.3 Указания по эксплуатации включают в руководство по эксплуатации на шлем-маску и должны содержать сведения согласно техническому регламенту [1].
11.4 Руководство по эксплуатации должно соответствовать требованиям ГОСТ 2.610.
11.5 Указания по эксплуатации должны быть точными и понятными. При необходимости они могут содержать иллюстрации, нумерацию отдельных частей и маркировку. Дополнительная маркировка, используемая для обозначения ограничений или специальных требований, должна иметь пояснение.
11.6 Указания по эксплуатации должны содержать сведения о возможных осложнениях, возникающих в процессе эксплуатации шлем-маски пользователем.
12.1 Предприятие-изготовитель гарантирует соответствие шлем-масок и соединительных трубок требованиям настоящего стандарта при условии соблюдения правил упаковывания, транспортирования, хранения и эксплуатации.
12.2 Гарантийный срок хранения шлем-масок и соединительных трубок устанавливают в технической документации на изделие, эксплуатационных документах, в маркировке изделия или специально оговаривают в договорах (контрактах) на их поставку. При этом гарантийный срок хранения шлем-масок не должен быть менее 6 лет со дня изготовления, из них 5 лет - в составе СИЗОД, а для соединительных трубок - не должен быть менее 13, 5 лет со дня изготовления, из них 13 лет - в составе СИЗОД.
Приложение А
(справочное)
|
Давление, Па (мм рт. ст.) |
Значения коэффициента К при температуре, °С | ||||||||||
|
16 |
18 |
20 |
22 |
24 |
26 |
28 |
30 |
32 |
34 |
36 | |
|
96643 (725) |
0, 993 |
0, 986 |
0, 979 |
0, 972 |
0, 965 |
0, 958 |
0, 951 |
0, 944 |
0, 937 |
0, 930 |
0, 923 |
|
97309 (730) |
0, 996 |
0, 989 |
0, 982 |
0, 975 |
0, 968 |
0, 961 |
0, 954 |
0, 947 |
0, 940 |
0, 933 |
0, 926 |
|
97976 (735) |
0, 999 |
0, 992 |
0, 985 |
0, 978 |
0, 971 |
0, 964 |
0, 957 |
0, 950 |
0, 943 |
0, 936 |
0, 929 |
|
98642 (740) |
1, 002 |
0, 995 |
0, 988 |
0, 981 |
0, 974 |
0, 967 |
0, 960 |
0, 953 |
0, 946 |
0, 939 |
0, 932 |
|
99309 (745) |
1, 005 |
0, 998 |
0, 991 |
0, 984 |
0, 977 |
0, 970 |
0, 963 |
0, 956 |
0, 949 |
0, 942 |
0, 935 |
|
99975 (750) |
1, 008 |
1, 001 |
0, 994 |
0, 987 |
0, 980 |
0, 973 |
0, 966 |
0, 959 |
0, 952 |
0, 945 |
0, 938 |
|
100642 (755) |
1, 011 |
1, 004 |
0, 997 |
0, 990 |
0, 983 |
0, 976 |
0, 969 |
0, 962 |
0, 955 |
0, 948 |
0, 941 |
|
101308 (760) |
1, 014 |
1, 007 |
1, 000 |
0, 993 |
0, 986 |
0, 979 |
0, 972 |
0, 965 |
0, 958 |
0, 951 |
0, 944 |
|
101975 (765) |
1, 017 |
1, 010 |
1, 003 |
0, 996 |
0, 989 |
0, 982 |
0, 975 |
0, 968 |
0, 961 |
0, 954 |
0, 947 |
|
102641 (770) |
1, 020 |
1, 013 |
1, 006 |
0, 999 |
0, 992 |
0, 985 |
0, 978 |
0, 971 |
0, 964 |
0, 957 |
0, 950 |
|
103308 (775) |
1, 023 |
1, 016 |
1, 009 |
1, 002 |
0, 995 |
0, 988 |
0, 981 |
0, 974 |
0, 967 |
0, 960 |
0, 953 |
K=[1-0, 0035·(t-20)+0, 0006·(P-760)],
(А.1)
где t - температура испытания, °С;
Р - давление, мм рт. ст.
Библиография
|
[1] |
Технический регламент Таможенного союза TP ТС 019/2011 |
О безопасности средств индивидуальной защиты |
|
[2] |
ЕН 148-1:1999 |
Средства индивидуальной защиты органов дыхания. Резьбовые соединения для лицевых частей. Часть 1. Стандартное резьбовое соединение |
|
(EN 148-1:1999) |
(Respiratory protective devices - Threads for facepieces - Part 1: Standard threat connection) | |
|
[3] |
ЕН 12083:1998 |
Средства индивидуальной защиты органов дыхания. Фильтры с дыхательными шлангами (фильтры со шлангами) - противоаэрозольные, противогазовые и комбинированные фильтры. Требования, испытания, маркировка |
|
(EN 12083:1998) |
[Respiratory protective devices - Filters with breathing hoses (Nonmask mounted filters) - Particle filters, gasfilters and combined filters - Requirements, testing, marking]* |
──────────────────────────────
* Официальный перевод этого стандарта находится в Федеральном информационном фонде стандартов.


