ГОСТ Р ИСО 8548-2-2021 ПРОТЕЗИРОВАНИЕ И ОРТЕЗИРОВАНИЕ. ДЕФЕКТЫ КОНЕЧНОСТЕЙ. Часть 2. МЕТОД ОПИСАНИЯ АМПУТАЦИОННОЙ КУЛЬТИ НИЖНЕЙ КОНЕЧНОСТИ
Утв. и введен в действие Приказом Федерального агентства по техническому регулированию и метрологии от 1 июня 2021 г. N 488-ст
Prosthetics and orthotics. Limb deficiencies. Part 2. Method of describing lower limb amputation stumps
(ISO 8548-2:2020, IDT)
ОКС 11.180.10
Дата введения - 1 ноября 2021 года
Взамен ГОСТ Р ИСО 8548-2-2011
Предисловие
1 ПОДГОТОВЛЕН Федеральным государственным унитарным предприятием "Российский научно-технический центр информации по стандартизации, метрологии и оценке соответствия" (ФГУП "СТАНДАРТИНФОРМ")
2 ВНЕСЕН Техническим комитетом по стандартизации ТК 381 "Технические средства и услуги для инвалидов и других маломобильных групп населения"
3 УТВЕРЖДЕН И ВВЕДЕН В ДЕЙСТВИЕ Приказом Федерального агентства по техническому регулированию и метрологии от 1 июня 2021 г. N 488-ст
4 Настоящий стандарт идентичен международному стандарту ИСО 8548-2:2020 "Протезирование и ортезирование. Дефекты конечностей. Часть 2. Метод описания ампутационной культи нижней конечности" (ISO 8548-2:2020 "Prosthetics and orthotics - Limb deficiencies - Part 2: Method of describing lower limb amputation stumps", IDT).
При применении настоящего стандарта рекомендуется использовать вместо ссылочных международных стандартов соответствующие им национальные стандарты, сведения о которых приведены в дополнительном приложении ДА
5 ВЗАМЕН ГОСТ Р ИСО 8548-2-2011
Правила применения настоящего стандарта установлены в статье 26 Федерального закона от 29 июня 2015 г. N 162-ФЗ "О стандартизации в Российской Федерации". Информация об изменениях к настоящему стандарту публикуется в ежегодном (по состоянию на 1 января текущего года) информационном указателе "Национальные стандарты", а официальный текст изменений и поправок - в ежемесячном информационном указателе "Национальные стандарты". В случае пересмотра (замены) или отмены настоящего стандарта соответствующее уведомление будет опубликовано в ближайшем выпуске ежемесячного информационного указателя "Национальные стандарты". Соответствующая информация, уведомление и тексты размещаются также в информационной системе общего пользования - на официальном сайте Федерального агентства по техническому регулированию и метрологии в сети Интернет (www.gost.ru)
Предисловие ИСО 8548-2
Международная организация по стандартизации (ИСО) является всемирной федерацией национальных организаций по стандартизации (комитетов - членов ИСО). Разработка международных стандартов обычно осуществляется техническими комитетами ИСО. Каждый комитет-член, заинтересованный в деятельности, для которой был создан технический комитет, имеет право быть представленным в этом комитете. Международные правительственные и неправительственные организации, имеющие связи со стандартом ИСО, также принимают участие в работах. Что касается стандартизации в области электротехники, то ИСО работает в тесном сотрудничестве с Международной электротехнической комиссией (МЭК).
Процедуры, используемые для разработки настоящего стандарта, а также процедуры, предназначенные для дальнейшей работы над стандартом, описаны в Директивах ИСО/МЭК, Часть 1. В частности, должны быть указаны разные критерии утверждения, необходимые для различных типов документов ИСО. Настоящий стандарт был разработан в соответствии с редакторскими правилами Директив ИСО/МЭК, Часть 2 (см. www.iso.org/directives).
Следует иметь в виду, что некоторые элементы настоящего международного стандарта могут быть объектом патентных прав. ИСО не может нести ответственность за идентификацию какого-либо одного или всех патентных прав. Подробная информация о любых патентных правах, идентифицированных в ходе разработки стандарта, будет указана в разделе "Введение" и/или в перечне полученных патентных деклараций ИСО (см. www.iso.org/patents).
Любой товарный знак, используемый в настоящем стандарте, представляет собой информацию, предоставленную для удобства пользователей, и не является ее подтверждением.
С целью разъяснения значения особых терминов и выражений ИСО, связанных с оценкой соответствия, а также информации о соблюдении ИСО принципов ВТО в Технических барьерах в торговле, см. www.iso.org/iso/foreword.html.
Настоящий документ был подготовлен Техническим комитетом ИСО/ТК 168 "Протезирование и ортезирование".
Данное второе издание отменяет и заменяет первое издание (ИСО 8548-2:1993), которое было пересмотрено. Основные изменения следующие:
- пересмотрены регистрационные данные в отношении культей (таблицы 1 - 7);
- пересмотрены списки измерений, которые должны проводить все члены команды, и дополнительных измерений, которые должен проводить только протезист (таблица 8).
Перечень всех частей серии стандартов ИСО 8548 можно найти на сайте ИСО.
Любые отзывы или вопросы по данному стандарту следует направлять в национальный орган по стандартизации пользователя. Полный список данных органов можно найти по адресу: www.iso.org/members.html.
Введение
В настоящем стандарте представлен стандартный метод описания и измерения ампутационной культи. Такой метод необходим для сравнения результатов ампутации и реабилитации, выполняемых различными бригадами.
Медицинские работники, которые будут использовать этот метод, включают хирургов различных специальностей, других врачей (особенно тех, которые занимаются реабилитацией), медсестер, физиотерапевтов, специалистов по трудотерапии (эрготерапевтов) и протезистов.
Такой метод также может быть использован эпидемиологами и государственными чиновниками в сфере здравоохранения.
Настоящий стандарт устанавливает метод описания ампутационной культи нижней конечности и определяет измерения, необходимые для обеспечения протезирования.
В настоящем стандарте использованы нормативные ссылки на следующие стандарты [для датированных ссылок применяют только указанное издание ссылочного стандарта, для недатированных - последнее издание (включая все изменения к нему)]:
ISO 8549-2, Prosthetics and orthotics - Vocabulary - Part 2: Terms relating to external limb prostheses and wearers of these prostheses (Протезирование и ортезирование. Словарь. Часть 2. Термины, относящиеся к наружным протезам конечностей и их пользователям)
ISO 8549-4, Prosthetics and orthotics - Vocabulary - Part 4: Terms relating to limb amputation (Протезирование и ортезирование. Словарь. Часть 4. Термины, относящиеся к ампутации конечностей)
В настоящем стандарте применены термины по ИСО 8549-2 и ИСО 8549-4.
Организации ИСО и МЭК ведут терминологические базы данных для использования при стандартизации по следующим адресам:
- просмотровая онлайн-платформа ИСО: https://www.iso.org/obp;
- Электропедия МЭК: http://www.electropedia.org/.
Определяют сторону ампутационного дефекта и описывают культю, используя соответствующие регистрационные данные, перечисленные в соответствующих таблицах (см. таблицы 1 - 7) и руководстве, представленном в 4.2 - 4.6.
Форму культи следует описывать как коническую, булавовидную или цилиндрическую. В этом контексте значения данных терминов очевидны.
Мягкие ткани культи следует описывать со ссылкой на степень их атрофии и тургор. Степень атрофии следует описывать как умеренную, выраженную, значительно выраженную, а консистенцию (тургор) - как нормальную, дряблую или плотную. Если пяточный бугор сохраняется, его положение следует описывать как правильно расположенное, смещенное или подвижное.
Важно записать, фиксированы ли, не фиксированы или перемещены мышцы культи.
Описывают особенности костей, такие как выстояние, опил, длина или положение.
Следует отметить наличие любых заметных инородных тел, например трансплантатов, имплантатов или осколков.
При необходимости следует записать состояние опорной культи.
Для частичной ампутации стопы фиксируют уровень ампутации, указанный в ИСО 8549-4. Полное описание требует идентификации ампутированных костей и уровней их ампутации.
Регистрируют наличие повреждений кожи и сохранена ли нормальная чувствительность кожи.
Должны быть зафиксированы положение/ориентация послеоперационного рубца, а также зажил он или нет, подвижен или спаян. Кроме того, следует отметить наличие и состояние других рубцов или мест пересадки кожи.
Следует отметить любую кожную патологию в анамнезе, например контактный дерматит, кожную аллергию и/или гипергидроз.
Должны быть описаны показатели, связанные с кровообращением культи, - цвет, температура и отек.
Кожу следует описывать как обычной окраски, цианотичную или иной окраски, теплую при пальпации или нет.
Следует отметить наличие чрезмерного отека. Чрезмерный отек рассматривают как отек, который может негативно повлиять на заживление культи или на ее протезирование и дальнейшее использование.
Сильной болью считают ту, которая более интенсивная, чем та, которая ожидалась на этапе лечения.
Наличие сильной боли или болезненности из любого источника (например, болезненная неврома, боль после физических упражнений или после использования протезов) должно быть зафиксировано с использованием соответствующей шкалы интенсивности болевых ощущений.
Фантомные ощущения и фантомная боль - это ощущения и боль в отсутствующей ампутированной конечности или ее части. Фантомные ощущения обычно встречаются после ампутации и, как правило, не требуют лечения. Фантомная боль варьируется по интенсивности и должна фиксироваться с использованием соответствующей шкалы интенсивности болевых ощущений.
4.7.1 Измерение патологического объема движений в суставах
Патологический объем движений в проксимальном суставе (суставах) ампутированной конечности следует регистрировать с использованием метода нейтрального нуля, в котором нулем является анатомическое положение.
4.7.2 Оценка силы мышц культи
Снижение силы мышечных групп, ответственных за выполнение движений в проксимальном суставе (суставах) ампутированной конечности, следует регистрировать с использованием шкалы от 0 до 5 для мануального мышечного тестирования.
4.7.3 Оценка стабильности суставов
Следует фиксировать нестабильность проксимального сустава (суставов) ампутированной конечности, которая является следствием поражения костей или связок.
4.7.4 Боль в суставах
Фиксируют боль в проксимальном суставе (суставах).
5.1.1 Общие положения
Определяют рекомендуемые контрольные уровни и плоскости, относящиеся к конкретному уровню ампутации, как описано в 5.1.2 и 5.1.3.
5.1.2 Контрольные уровни
5.1.2.1 Талия
Уровень, определяемый линией, соединяющей самую высокую точку на гребне каждой подвздошной кости.
5.1.2.2 Подвздошный гребень
Уровень, определяемый линией, соединяющей наивысшую точку на гребне каждой подвздошной кости.
5.1.2.3 Проксимальный уровень
Самый ближайший уровень, на котором можно получить измерение окружности перпендикулярно к средней линии бедра.
5.1.2.4 Минимальная окружность
Уровень минимальной окружности, определяемый только в культях после вычленения коленного и голеностопного суставов.
5.1.2.5 Мыщелки эпифиза бедренной кости
Уровень максимальной окружности бедренной кости, определяемый только в культях после вычленения коленного сустава и при чрезмыщелковой ампутации.
5.1.2.6 Изгиб (флексия)
Уровень на культе, определяемый только в культях после ампутации бедра и голени, при котором угол наклона культи изменяется по мере ее искривления ближе к концу.
5.1.2.7 Концевая (дистальная) часть культи
Уровень конца культи.
5.1.2.8 Средняя линия сустава (суставная щель)
Уровень верхней суставной поверхности мыщелка большеберцовой кости (в случае, если нет фиксированной деформации коленного сустава), являющийся самым высоким, при котором можно измерить окружность культи перпендикулярно к ее средней линии.
5.1.2.9 Уровень середины собственной связки надколенника
Уровень посередине между местом отхождения и прикреплением собственной связки надколенника.
5.1.2.10 Уровень голеностопного сустава
Уровень, определяемый только в культях после вычленения голеностопного сустава на уровне максимальной дистальной окружности.
5.1.2.11 Уровень опорной поверхности
Уровень, на котором пациент стоит босиком.
5.1.3 Контрольные плоскости, используемые при частичной ампутации стоп
5.1.3.1 Плоскость пяточного отдела
Плоскость в задней части пятки, параллельная средней линии ноги.
5.1.3.2 Плоскость передней поверхности большеберцовой кости
Плоскость в переднем отделе большеберцовой кости на линии голеностопного сустава, параллельная средней линии ноги.
5.1.3.3 Плоскость дистальной концевой части культи
Плоскость кончиков пальцев контралатеральной стопы, параллельная средней линии ноги.
5.1.3.4 Плоскость пальцев стопы
Плоскость на кончиках пальцев противоположной ноги, параллельная средней линии ноги.
В настоящем стандарте не указан метод, который следует использовать для получения измерений. В настоящем стандарте указаны как измерения, которые должны выполняться командой, отвечающей за реабилитацию человека, так и измерения, которые должны выполняться только протезистом, ответственным за обеспечение протезом.
Для того чтобы описание культи можно было связать с человеком в целом, контралатеральную конечность следует подвергнуть минимальному измерению.
Измеряют и записывают длину, окружность, ширину и передне-задние размеры, как указано в таблице 8 и показано на рисунках 1 - 6 для уровня ампутации.
Следует зафиксировать положение тела человека, в котором проводят измерения.
|
Показатель |
Данные, которые должны быть зафиксированы |
|
Характеристики культи | |
|
Остаток таза |
Отсутствует/представлен |
|
Мягкие ткани культи | |
|
Степень атрофии |
Умеренная/выраженная/значительно выраженная |
|
Тургор |
Нормальный/дряблый/плотный (повышенный) |
|
Кожный покров | |
|
Общее состояние |
Неповрежденная структура кожи/поврежденная структура кожи. Нормальная чувствительность сохранена/чувствительность нарушена |
|
Послеоперационный рубец |
Заживший (первичное заживление)/незаживший. Подвижный/спаянный |
|
Дополнительное рубцевание или пересадка |
Заживший (первичное заживление)/незаживший. Подвижный/плотно прилегающий |
|
Патология |
Воспалительные процессы (указать) |
|
Кровообращение | |
|
Отек |
Нет/присутствует/чрезмерный |
|
Характер боли | |
|
Боль |
Есть/нет. Локализация, интенсивность (оценка по шкале боли), частота и продолжительность |
|
Болезненность |
Есть/нет. Локализованная |
|
Фантомная боль |
Есть/нет. Интенсивность (оценка по шкале боли), частота и длительность |
Подобное описание также следует использовать для пациентов с чрезмерно короткой культей бедра, расположенной проксимальнее межвертельной линии.
|
Показатель |
Данные, которые должны быть зафиксированы |
|
Характеристики культи | |
|
Остаток бедренной кости |
Присутствует, но незначительный/присутствует и значительный/отсутствует |
|
Мягкие ткани культи | |
|
Степень атрофии |
Умеренная/выраженная/значительно выраженная |
|
Тургор |
Нормальный/дряблый/плотный (повышенный) |
|
Кожный покров | |
|
Общее состояние |
Неповрежденная структура кожи/поврежденная структура кожи. Нормальная чувствительность сохранена/чувствительность нарушена |
|
Послеоперационный рубец |
Заживший (первичное заживление)/незаживший. Подвижный/спаянный |
|
Дополнительное рубцевание или пересадка |
Заживший (первичное заживление)/незаживший. Подвижный/спаянный |
|
Патология |
Воспалительные процессы (указать) |
|
Кровообращение | |
|
Отек |
Нет/присутствует/чрезмерный |
|
Характер боли | |
|
Боль |
Есть/нет. Локализация, интенсивность (оценка по шкале боли), частота и продолжительность |
|
Болезненность |
Есть/нет. Локализованная |
|
Фантомная боль |
Есть/нет. Интенсивность (оценка по шкале боли), частота и длительность |

Примечание - Все измерения приведены в таблице 8.
Рисунок 1 - Контрольные уровни и измерения культи после вычленения в тазобедренном суставе
|
Показатель |
Данные, которые должны быть зафиксированы |
|
Характеристики культи | |
|
Форма |
Цилиндрическая/коническая/булавовидная |
|
Длина бедренной кости |
Верхняя (проксимальная треть)/средняя (средняя треть)/длинная (дистальная треть) |
|
Конец бедренной кости |
Не выступает/выступает |
|
Положение бедренной кости |
Нормальное/нарушенное (указать) |
|
Опора на конец культи |
Имеется/отсутствует |
|
Запас мягких тканей |
Достаточный/недостаточный/избыточный |
|
Тургор |
Нормальный/дряблый/плотный(повышенный) |
|
Фиксация мышц |
Фиксированы/не фиксированы/перемещены |
|
Кожный покров | |
|
Общее состояние |
Неповрежденная структура кожи/поврежденная структура кожи. Нормальная чувствительность сохранена/чувствительность нарушена |
|
Послеоперационный рубец |
Заживший (первичное заживление)/незаживший. Подвижный/спаянный |
|
Дополнительное рубцевание или пересадка |
Нет дополнительного рубцевания/дополнительное рубцевание. Подвижный/спаянный |
|
Патология |
Воспалительные процессы (указать) |
|
Кровообращение | |
|
Цвет кожи |
Обычной окраски, цианотичный или иной окраски |
|
Температура кожного покрова |
Нормальная/нарушенная (указать) |
|
Отек |
Нет/присутствует/чрезмерный |
|
Характер боли | |
|
Боль |
Есть/нет. Локализованная, интенсивность (оценка по шкале боли), частота и длительность |
|
Болезненность |
Отсутствует/представлена. Локализованная |
|
Фантомная боль |
Есть/нет. Интенсивность (оценка по шкале боли), частота и длительность |
|
Функционирование суставов | |
|
Бедро | |
|
Диапазон движения |
Нормальный/нарушенный (указывают: сгибание/разгибание и/или отведение/приведение) (мануальное мышечное тестирование по шкале 0 - 5) |
|
Сила мышц |
Нет значительного снижения/значительно снижена (указывают сгибание/разгибание и/или отведение/приведение) (мануальное мышечное тестирование в диапазоне 0 - 5 баллов) |
|
Стабильность |
Нормальная/нарушенная. Описывают направление |
|
Боль |
Есть/нет |

1 - измерения на контрольных уровнях; 2 - дополнительное(ые) измерение(я) окружности
Примечание - Все измерения приведены в таблице 8.
Рисунок 2 - Контрольные уровни и измерения при ампутации бедра
|
Показатель |
Данные, которые должны быть зафиксированы |
|
Характеристики культи | |
|
Дистальный конец кости |
Вычленение/чрезмыщелковая ампутация |
|
Нагрузка на конец |
Отсутствует/представлена |
|
Форма |
Цилиндрическая/коническая/булавовидная |
|
Запас мягких тканей |
Достаточный/недостаточный/избыточный |
|
Тургор мягких тканей |
Нормальный/дряблый/плотный или повышенный |
|
Надколенник | |
|
Статус |
Отсутствует/представлен |
|
Позиция |
Дистальная/проксимальная |
|
Подвижность |
Фиксированная/мобильная/чрезмерно мобильная |
|
Кожный покров | |
|
Общее состояние |
Неповрежденная структура кожи/поврежденная структура кожи. Нормальная чувствительность сохранена/чувствительность нарушена |
|
Послеоперационный рубец |
Заживший (первичное заживление)/незаживший. Подвижный/спаянный |
|
Дополнительное рубцевание или пересадка |
Нет дополнительного рубцевания/дополнительное рубцевание. Подвижный/спаянный |
|
Патология |
Воспалительные процессы (указать) |
|
Кровообращение | |
|
Цвет кожи |
Обычной окраски, цианотичный или иной окраски |
|
Температура кожного покрова |
Нормальная/нарушенная (указать) |
|
Отек |
Нет/присутствует/чрезмерный |
|
Характер боли | |
|
Боль |
Есть/нет. Локализованная, интенсивность (оценка по шкале боли), частота и длительность |
|
Болезненность |
Есть/нет. Локализованная |
|
Фантомная боль |
Есть/нет. Интенсивность (оценка по шкале боли), частота и длительность |
|
Функционирование суставов | |
|
Бедро | |
|
Диапазон движения |
Нормальный/нарушенный (указывают: сгибание/разгибание и/или отведение/приведение) (мануальное мышечное тестирование по шкале 0 - 5) |
|
Сила мышц |
Нет значительного снижения/значительно снижена (указывают: сгибание/разгибание и/или отведение/приведение) (мануальное мышечное тестирование в диапазоне 0 - 5 баллов) |
|
Стабильность |
Нормальная/нарушенная. Описывают направление |
|
Боль |
Есть/нет |

1 - измерения на контрольных уровнях; 2 - дополнительное(ые) измерение(я) окружности
Примечание - Все измерения приведены в таблице 8.
Рисунок 3 - Контрольные уровни и измерения при вычленении в коленном суставе (плюс передне-заднее измерение A1)
|
Показатель |
Данные, которые должны быть зафиксированы |
|
Характеристики культи | |
|
Форма |
Цилиндрическая/коническая/булавовидная |
|
Запас мягких тканей |
Достаточный/недостаточный/избыточный |
|
Тургор мягких тканей |
Нормальный/дряблый/плотный (повышенный) |
|
Фиксация мышц |
Фиксированы/не фиксированы/перемещены |
|
Большеберцовая кость | |
|
Длина |
Очень короткая/верхняя треть/короткая/средняя/длинная |
|
Выступ |
Есть/нет |
|
Форма опила кости |
Правильная/неправильная |
|
Малоберцовая кость |
(описывают) |
|
Наличие |
Есть/нет |
|
Длина |
Очень короткая/допустимая/очень длинная |
|
Выступ |
Есть/нет |
|
Положение |
Нормальное/отклонено |
|
Нагрузка на конец |
Есть/нет |
|
Кожный покров | |
|
Общее состояние |
Неповрежденная структура кожи/поврежденная структура кожи. Нормальная чувствительность сохранена/чувствительность нарушена |
|
Послеоперационный рубец |
Заживший (первичное заживление)/незаживший. Подвижный/спаянный |
|
Дополнительное рубцевание или пересадка |
Нет дополнительного рубцевания/дополнительное рубцевание. Подвижный/спаянный |
|
Патология |
Воспалительные процессы (указать) |
|
Кровообращение | |
|
Цвет кожи |
Обычной окраски, цианотичный или иной окраски |
|
Температура кожного покрова |
Нормальная/нарушенная (указать) |
|
Отек |
Нет/присутствует/чрезмерный |
|
Характер боли | |
|
Боль |
Есть/нет. Локализованная, интенсивность (оценка по шкале боли), частота и длительность |
|
Болезненность |
Есть/нет. Локализованная |
|
Фантомная боль |
Есть/нет. Интенсивность (оценка по шкале боли), частота и длительность |
|
Функционирование суставов | |
|
Тазобедренный сустав | |
|
Объем движения |
Нормальный/нарушенный. Указывают: сгибание/разгибание, отведение/приведение и внутренняя/наружная ротация (в соответствующих случаях) (метод нейтрального нуля) |
|
Сила мышц |
Нет значительного снижения/значительно снижена (указывают: сгибание/разгибание и/или отведение/приведение) (мануальное мышечное тестирование по шкале 0 - 5) |
|
Стабильность |
Нормальная/нарушенная. Описывают направление |
|
Боль |
Есть/нет |
|
Коленный сустав | |
|
Объем движения |
Нормальный/нарушенный (указать: сгибание/разгибание) (метод нейтрального нуля) |
|
Сила мышц |
Нет значительного снижения/значительно снижена (указывают: сгибание/разгибание и/или отведение/приведение) (мануальное мышечное тестирование по шкале 0 - 5) |
|
Стабильность |
Нормальная/нарушенная. Описывают направление |
|
Боль |
Есть/нет |

1 - измерения на контрольных уровнях; 2 - дополнительное(ые) измерение(я) окружности
Примечание - Все измерения приведены в таблице 8.
Рисунок 4 - Описание культи после вычленения в голеностопном суставе
|
Показатель |
Данные, которые должны быть зафиксированы |
|
Характеристики культи | |
|
Форма |
Цилиндрическая/коническая/булавовидная |
|
Запас мягких тканей |
Достаточный/недостаточный/избыточный |
|
Лодыжка |
Не выступает/выступает |
|
Нагрузка на конец |
Отсутствует/представлена |
|
Пятка (пяточная жировая прокладка) | |
|
Наличие |
Есть/нет |
|
Позиция |
Правильная/смещенная/подвижная |
|
Плотность |
Нормальная/дряблая/отвердевшая |
|
Кожный покров | |
|
Общее состояние |
Неповрежденная структура кожи/поврежденная структура кожи. Нормальная чувствительность сохранена/чувствительность нарушена |
|
Послеоперационный рубец |
Заживший (первичное заживление)/незаживший. Подвижный/спаянный |
|
Дополнительное рубцевание или пересадка |
Нет дополнительного рубцевания/дополнительное рубцевание. Подвижный/спаянный |
|
Патология |
Воспалительные процессы (указать) |
|
Кровообращение | |
|
Цвет кожи |
Обычной окраски, цианотичный или иной окраски |
|
Температура кожного покрова |
Нормальная/нарушенная (указать) |
|
Отек |
Нет/присутствует/чрезмерный |
|
Характер боли | |
|
Боль |
Есть/нет. Локализованная, интенсивность (оценка по шкале боли), частота и длительность |
|
Болезненность |
Есть/нет. Локализованная |
|
Фантомная боль |
Есть/нет. Интенсивность (оценка по шкале боли), частота и длительность |
|
Функционирование суставов | |
|
Тазобедренный сустав | |
|
Объем движения |
Нормальный/нарушенный. Указывают: сгибание/разгибание, отведение/приведение и внутренняя/наружная ротация (в соответствующих случаях) (метод нейтрального нуля) |
|
Сила мышц |
Нет значительного снижения/значительно снижена (указывают: сгибание/разгибание и/или отведение/приведение) (мануальное мышечное тестирование по шкале 0 - 5) |
|
Стабильность |
Нормальная/нарушенная. Описывают направление |
|
Боль |
Есть/нет |
|
Коленный сустав | |
|
Объем движения |
Нормальный/нарушенный (указывают: сгибание/разгибание) (метод нейтрального нуля) |
|
Сила мышц |
Нет значительного снижения/значительно снижена (указывают: сгибание/разгибание и/или отведение/приведение) (мануальное мышечное тестирование по шкале 0 - 5) |
|
Стабильность |
Нормальная/нарушенная. Описывают направление |
|
Боль |
Есть/нет |

1 - измерения на контрольных уровнях; 2 - дополнительное(ые) измерение(я) окружности
Примечание - Все измерения приведены в таблице 8.
Рисунок 5 - Контрольные уровни и измерения при вычленении голеностопного сустава (плюс передне-заднее измерение A2)
|
Показатель |
Данные, которые должны быть зафиксированы |
|
Характеристики культи | |
|
Форма |
Вычленение фаланги, плюснефалангового сустава, плюсневой кости, предплюсны и плюсневой кости или предплюсны |
|
Запас мягких тканей |
Достаточный/недостаточный/избыточный |
|
Кости |
Не выступают/выступают. Указывают |
|
Нагрузка на ногу |
Да/нет |
|
Кожный покров | |
|
Общее состояние |
Неповрежденная структура кожи/поврежденная структура кожи. Нормальная чувствительность/поврежденная чувствительность |
|
Послеоперационный рубец |
Нет дополнительного рубцевания/дополнительное рубцевание. Подвижный/плотно прилегающий |
|
Дополнительное рубцевание или пересадка |
Нет дополнительного рубцевания/дополнительное рубцевание. Подвижный/плотно прилегающий |
|
Патология |
Воспалительные процессы (указать) |
|
Кровообращение | |
|
Цвет кожи |
Нормальный/синюшный/другой цвет |
|
Температура кожного покрова |
Нормальная/нарушенная (указать) |
|
Отек |
Нет/присутствует/чрезмерный |
|
Характер боли | |
|
Боль |
Есть/нет. Локализованная, интенсивность (оценка по шкале боли), частота и длительность |
|
Болезненность |
Есть/нет. Локализованная |
|
Фантомная боль |
Есть/нет. Интенсивность (оценка по шкале боли), частота и длительность |
|
Функционирование суставов | |
|
Тазобедренный сустав | |
|
Объем движения |
Нормальный/нарушенный (указывают: сгибание/разгибание и/или отведение/приведение) (мануальное мышечное тестирование по шкале 0 - 5) |
|
Сила мышц |
Нет значительного снижения/значительно снижена (указывают: сгибание/разгибание и/или отведение/приведение) (мануальное мышечное тестирование в диапазоне 0 - 5 баллов) |
|
Стабильность |
Нормальная/нарушенная. Описывают направление |
|
Коленный сустав | |
|
Объем движения |
Нормальный/нарушенный (указывают: сгибание/разгибание) (метод нейтрального нуля) |
|
Сила мышц |
Нет значительного снижения/значительно снижена (указывают: сгибание/разгибание и/или отведение/приведение) (мануальное мышечное тестирование по шкале 0 - 5) |
|
Стабильность |
Нормальная/нарушенная. Описывают направление |
|
Лодыжка (голеностопный сустав)/таранно-пяточный сустав (таранно-пяточно-ладьевидный сустав) |
Описывают направление |
|
Объем движения |
Нормальный/нарушенный (указывают: тыльное сгибание/подошвенное сгибание и пронация/супинация) |
|
Сила мышц |
Нет значительного снижения/значительно снижена |
|
Стабильность |
Нормальная/нарушенная |
|
Боль в проксимальных суставах |
Есть/нет |

Примечание - Все измерения приведены в таблице 8.
Рисунок 6 - Контрольные уровни и измерения при частичной ампутации стоп
|
Уровень |
Измерения, выполняемые всеми членами команды, которая осуществляет лечение пациента |
Дополнительные измерения, которые выполняет протезист, ответственный за лечение пациента |
|
Контралатеральная конечность |
- |
Необходимо фиксировать любое значительное расхождение между сегментами пораженной и контралатеральной конечности. Измерения формы контралатеральной конечности могут быть необходимы для окончательной отделки (косметической) протеза |
|
Гемипельвектомия и вычленение в тазобедренном суставе |
- |
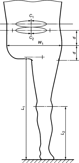
Длина контралатеральной конечности от седалищного бугра до пола, L1. Длина контралатеральной конечности от средней линии (суставной щели) коленного сустава до пола, L2. Окружность талии, C1. Окружность на уровне гребней подвздошных костей, C2. Ширина таза посередине между гребнями подвздошных костей и большим вертелом бедренной кости (только при вычленении в тазобедренном суставе), W1. Расстояние от гребня подвздошной кости d до середины между гребнем подвздошной кости и большим вертелом бедренной кости, W1 |
|
Ампутация бедра (за исключением надмыщелковых и чрезмыщелковых ампутаций) |
Длина культи от промежности до конца культи, L3. Длина от уровня изгиба бедренной кости до конца культи, L4. Окружность проксимального отдела бедра на уровне промежности, C3. Окружность на уровне изгиба, C4. Длина от седалищного бугра до конца культи, L5 |
Длина контралатеральной конечности от седалищного бугра до пола, L1. Длина контралатеральной конечности от средней линии (суставной щели) коленного сустава до пола, L2. Дополнительные измерения окружности на указанном(ых) расстоянии(ях) x (см) ниже проксимального уровня, C3x. Длина от седалищного бугра до конца культи, L5 |
|
Вычленение колена (включая надмыщелковую и чрезмыщелковую ампутацию) |
Длина культи от промежности до конца культи, L3. Окружность проксимального отдела бедра на уровне промежности, C3 |
Длина контралатеральной конечности от седалищного бугра до пола, L1. Длина контралатеральной конечности от средней линии (суставной щели) коленного сустава до пола, L2. Окружность на уровне мыщелка бедренной кости, C5 (на уровне булавовидного расширения). Окружность на минимальном уровне окружности культи выше булавовидного расширения, C6. Дополнительные измерения окружности на указанном(ых) расстоянии(ях) x (см) ниже проксимального уровня, C3x. Ширина культи на минимальном уровне окружности выше булавовидного расширения, W2. Измерение максимальной ширины дистального конца на уровне булавовидного расширения, W3. Измерение передне-заднего размера максимального дистального конца на уровне булавовидного расширения, A1 |
|
Ампутация голени |
Длина от уровня изгиба до конца культи, L3. Окружность на уровне изгиба, C4 |
Длина контралатеральной конечности от седалищного бугра до пола, L1. Длина контралатеральной конечности от средней линии (суставной щели) коленного сустава до пола, L4. Окружность на уровне суставной щели коленного сустава, C6. Дополнительные измерения окружности на указанном(ых) расстоянии(ях) x (см) ниже уровня суставной щели коленного сустава, C6x. Ширина коленного сустава, W4. Ширина над бугристостью большеберцовой кости, W5. Измерение передне-заднего размера от собственной связки надколенника до подколенной ямки, A2 |
|
Вычленение в голеностопном суставе |
Длина от средней линии (суставной щели) коленного сустава до конца культи, L6 |
Длина контралатеральной конечности от седалищного бугра до уровня земли, L1. Длина контралатеральной конечности от средней линии (суставной щели) коленного сустава до пола, L2. Окружность на уровне средней линии (суставной щели) коленного сустава, C6. Окружность на уровне минимальной окружности выше булавовидного расширения, C7. Окружность на уровне лодыжек на уровне булавовидного расширения, C8. Дополнительные измерения окружности на указанном(ых) расстоянии(ях) x (см) ниже уровня средней линии (суставной щели) коленного сустава, C6x. Ширина на минимальном уровне окружности выше булавовидного расширения, W6. Ширина максимального дистального конца на уровне булавовидного расширения, W7. Измерение передне-заднего размера максимального дистального конца на уровне булавовидного расширения, A3 |
|
Частичная ампутация стоп |
Длина от крайней точки пятки до конца культи, L8 |
Длина контралатеральной конечности от седалищного бугра до пола, L1. Длина контралатеральной конечности от седалищного бугра до пола, L7. Максимальная окружность на пятке, C9. Окружность на основании пятой плюсневой кости, C10. Минимальная окружность между основанием пятой плюсневой кости и дистальным концом плюсневой кости, C11. Окружность дистального конца плюсневых костей (на конце культи), C12. Ширина на уровне лодыжек, W8. Измерение максимальной ширины в дистальном отделе культи, W9. Измерение передне-заднего размера на уровне лодыжек, A4 |
Приложение ДА
(справочное)
Таблица ДА.1
|
Обозначение ссылочного международного стандарта |
Степень соответствия |
Обозначение и наименование соответствующего национального стандарта |
|
ISO 8549-2 |
IDT |
ГОСТ Р ИСО 8549-2-2013 "Протезирование и ортезирование. Словарь. Часть 2. Термины, относящиеся к наружным протезам конечностей и их пользователям" |
|
ISO 8549-4 |
IDT |
ГОСТ Р ИСО 8549-4-2019 "Протезирование и ортопедия. Словарь. Часть 4. Термины, относящиеся к ампутации конечностей" |
|
Примечание - В настоящей таблице использовано следующее условное обозначение степени соответствия стандартов: - IDT - идентичные стандарты. | ||


