ГОСТ Р ИСО 8536-8-2021 УСТРОЙСТВА ИНФУЗИОННЫЕ МЕДИЦИНСКОГО НАЗНАЧЕНИЯ. Часть 8. ИНФУЗИОННЫЕ НАБОРЫ ОДНОКРАТНОГО ПРИМЕНЕНИЯ, ИСПОЛЬЗУЕМЫЕ С АППАРАТАМИ ДЛЯ ИНФУЗИИ ПОД ДАВЛЕНИЕМ
Утв. и введен в действие Приказом Федерального агентства по техническому регулированию и метрологии от 21 октября 2021 г. N 1199-ст
Infusion equipment for medical use. Part 8. Infusion sets for single use with pressure infusion apparatus
(ISO 8536-8:2015, IDT)
ОКС 11.040.20
Дата введения - 1 февраля 2022 года
Введен впервые
Предисловие
1 ПОДГОТОВЛЕН Федеральным государственным бюджетным учреждением "Российский институт стандартизации" (ФГБУ "РСТ") и Обществом с ограниченной ответственностью "Медтехстандарт" (ООО "Медтехстандарт") на основе собственного перевода на русский язык англоязычной версии стандарта, указанного в пункте 4
2 ВНЕСЕН Техническим комитетом по стандартизации ТК 011 "Медицинские приборы, аппараты и оборудование"
3 УТВЕРЖДЕН И ВВЕДЕН В ДЕЙСТВИЕ Приказом Федерального агентства по техническому регулированию и метрологии от 21 октября 2021 г. N 1199-ст
4 Настоящий стандарт идентичен международному стандарту ИСО 8536-8:2015 "Устройства инфузионные медицинского назначения. Часть 8. Инфузионные наборы однократного применения, используемые с аппаратами для инфузии под давлением" (ISO 8536-8:2015 "Infusion equipment for medical use - Part 8: Infusion sets for single use with pressure infusion apparatus", IDT).
При применении настоящего стандарта рекомендуется использовать вместо ссылочных международных стандартов соответствующие им национальные стандарты, сведения о которых приведены в дополнительном приложении ДА
5 ВВЕДЕН ВПЕРВЫЕ
Правила применения настоящего стандарта установлены в статье 26 Федерального закона от 29 июня 2015 г. N 162-ФЗ "О стандартизации в Российской Федерации". Информация об изменениях к настоящему стандарту публикуется в ежегодном (по состоянию на 1 января текущего года) информационном указателе "Национальные стандарты", а официальный текст изменений и поправок - в ежемесячном информационном указателе "Национальные стандарты". В случае пересмотра (замены) или отмены настоящего стандарта соответствующее уведомление будет опубликовано в ближайшем выпуске ежемесячного информационного указателя "Национальные стандарты". Соответствующая информация, уведомление и тексты размещаются также в информационной системе общего пользования - на официальном сайте Федерального агентства по техническому регулированию и метрологии в сети Интернет (www.rst.gov.ru)
Введение
Настоящий стандарт идентичен ИСО 8536-8:2015, подготовленному Техническим комитетом ISO/TC 76 "Оборудование для переливания, инфузии и инъекций, а также оборудование для обработки крови медицинского и фармацевтического назначения".
Второе издание отменяет и заменяет первое издание ИСО 8536-8:2004, которое было технически пересмотрено со следующими изменениями:
- наименование части было изменено с "Инфузионное оборудование..." на "Инфузионные наборы...";
- пункт 4 первого издания о назначении был исключен;
- в подпункт 6.14 были внесены изменения и добавлено соответствующее приложение B "Объем хранения";
- пункт 10 о маркировке был дополнен примечанием, касающимся использования символа "XXX" в соответствии с ИСО 7000-2725;
- добавлен пункт 11 об утилизации;
- пункт A.3 "испытания на утечку" был изменен;
- пункт A.4 первого издания, описывающий испытание конического соединения типа male на утечку, был исключен;
- нормативные ссылки и библиография были обновлены;
- стандарт был редакционно переработан.
ИСО 8536 под общим наименованием "Устройства инфузионные медицинского назначения" состоит из следующих частей:
- часть 1. Бутылки стеклянные инфузионные;
- часть 2. Крышки для инфузионных бутылок;
- часть 3. Алюминиевые колпачки для инфузионных бутылок;
- часть 4. Инфузионные наборы однократного применения, гравитационная подача;
- часть 5. Инфузионные наборы с бюреткой однократного применения, гравитационная подача;
- часть 6. Крышки для лиофильной сушки для инфузионных бутылок;
- часть 7. Колпачки комбинированные из алюминия и пластмассы для инфузионных бутылок;
- часть 8. Инфузионные наборы однократного применения, используемые с аппаратами для инфузии под давлением;
- часть 9. Линии подачи жидкости однократного применения, используемые с аппаратами для инфузии под давлением;
- часть 10. Приспособления для линий подачи жидкости однократного применения, используемых с аппаратами для инфузии под давлением;
- часть 11. Инфузионные фильтры однократного применения, используемые с аппаратами для инфузии под давлением;
- часть 12. Возвратные клапаны.
Следующие части находятся на стадии подготовки:
- часть 13. Градуированные регуляторы потока однократного применения с жидкостным контактом <1>;
- часть 14. Зажимы и регуляторы потока для оборудования для переливаний и вливаний без жидкостного контакта <2>.
--------------------------------
<1> ИСО 8536-13:2016 действует и доступен с даты опубликования 27.09.2016 г.
<2> ИСО 8536-14:2016 действует и доступен с даты опубликования 04.11.2016 г.
Настоящий стандарт предоставляет пользователям информацию о стерильных инфузионных наборах однократного применения, используемых с аппаратами для инфузии под давлением не более 200 кПа (2 бар).
В некоторых странах национальная фармакопея или другие национальные нормативные акты являются юридически обязательными и имеют приоритет над настоящим стандартом.
В настоящем стандарте использованы нормативные ссылки на следующие стандарты [для датированных ссылок применяют только указанное издание ссылочного стандарта, для недатированных - последнее издание (включая все изменения)]:
ISO 594-2, Conical fittings with 6% (Luer) taper for syringes, needles and certain other medical equipment - Part 2: Lock fittings <1> [Детали соединительные с конусностью 6% (Люэра) для шприцев, игл и другого медицинского оборудования. Часть 2. Люэровские наконечники]
--------------------------------
<1> Заменен на ISO 80369-7:2021, Small-bore connectors for liquids and gases in healthcare applications - Part 7: Connectors for intravascular or hypodermic applications (Соединители с небольшим внутренним диаметром для жидкостей и газов, применяемые в медицине. Часть 7. Соединители внутрисосудистого или подкожного применения).
ISO 7000, Graphical symbols for use on equipment - Registered symbols (Графические символы, наносимые на оборудование. Зарегистрированные символы)
ISO 8536-4, Infusion equipment for medical use - Part 4: Infusion sets for single use, gravity feed (Устройства инфузионные медицинского назначения. Часть 4. Инфузионные наборы однократного применения, гравитационная подача)
ISO 15223-1, Medical devices - Symbols to be used with medical device labels, labelling and information to be supplied - Part 1: General requirements (Изделия медицинские. Символы, применяемые при маркировании на медицинских изделиях, этикетках и в сопроводительной документации. Часть 1. Общие требования)
В настоящем стандарте применены следующие термины с соответствующими определениями:
Примечание - Указанные термины и определения в частности применимы к приложению B.
3.1 объем заполнения VF (filling volume): Объем трубки при отсутствии давления - заполнение соответствует заполнению под действием силы тяжести (самотеком), трубка остается ненапряженной.
Примечание - Объем заполнения должен быть равен расчетному объему трубки.
3.2 объем хранения VS (storage volume): Объем трубки при подаче давления, равный сумме объема заполнения (VF) и объема болюса (VB):
VS = VF + VB.
3.3 объем болюса VB (bolus volume): Увеличение объема трубки при подаче давления (объем хранения VS) в сравнении с ненапряженной трубкой (объем заполнения VF).
Примечание - Рисунок 1 иллюстрирует объем болюса.

1 - пациент; 2 - окклюзия; 3 - трубка; 4 - объем болюса; 5 - шприцевой насос
Рисунок 1 - Объем болюса
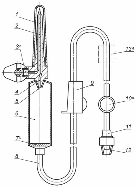
4.1 Номенклатура для компонентов инфузионных наборов и воздуховода представлена на рисунках 2, 3 и 4. На указанных рисунках приведены примеры конфигураций инфузионных наборов и воздуховодов, другие конфигурации могут быть использованы при условии, что их применение приводит к аналогичным результатам. Инфузионный набор, представленный на рисунке 3, должен быть использован только с мягкими пластмассовыми инфузионными контейнерами. Инфузионный набор, представленный на рисунке 3, используемый в комплекте с воздуховодом, представленным на рисунке 4, или инфузионный набор, представленный на рисунке 2, должны быть использованы с жесткими инфузионными контейнерами.

1 - защитный колпачок прокалывающего устройства; 2 - прокалывающее устройство; 3 - воздуховод с воздушным фильтром и заглушкой; 4 - жидкостный канал; 5 - каплеобразующий элемент; 6 - капельная камера; 7 - фильтр для жидкости; 8 - трубка; 9 - регулятор потока; 10 - инъекционный узел; 11 - коническое соединение типа male; 12 - защитный колпачок на коническое соединение типа male; 13 - проточный элемент
--------------------------------
Заглушка воздуховода является дополнительным элементом.
Фильтр для жидкости может быть расположен в других местах, предпочтительно вблизи доступа пациента. Как правило, используемый фильтр для жидкости имеет номинальный размер пор 15 мкм.
Рисунок 2 - Пример вентилируемого инфузионного набора

1 - защитный колпачок прокалывающего устройства; 2 - прокалывающее устройство; 3 - жидкостный канал; 4 - каплеобразующий элемент; 5 - капельная камера; 6 - фильтр для жидкости; 7 - трубка; 8 - регулятор потока; 9 - инъекционный узел; 10 - коническое соединение типа male; 11 - защитный колпачок на коническое соединение типа male; 12 - проточный элемент
--------------------------------
Фильтр для жидкости может быть расположен в других местах, предпочтительно вблизи доступа пациента. Как правило, используемый фильтр для жидкости имеет номинальный размер пор 15 мкм.
Инъекционный узел является дополнительным элементом.
Рисунок 3 - Пример невентилируемого инфузионного набора

1 - защитный колпачок; 2 - прокалывающее устройство или игла; 3 - трубка; 4 - зажим; 5 – воздуховод с воздушным фильтром
--------------------------------
Другие варианты конструкции являются допустимыми при условии сохранения параметров безопасности.
Рисунок 4 - Пример воздуховода
4.2 Инфузионный набор должен быть снабжен защитными колпачками, поддерживающими стерильность внутренних частей набора до тех пор, пока набор не будет использован. Воздуховод должен быть снабжен защитным колпачком на прокалывающем устройстве или игле.
Материалы, из которых изготавливают инфузионный набор и его компоненты, должны соответствовать требованиям, указанным в пункте 6. Если компоненты инфузионного набора вступают в контакт с инфузионным раствором, то материалы дополнительно должны соответствовать требованиям, указанным в пунктах 7 и 8.
Применяют ИСО 8536-4.
При испытании, указанном в A.2, инфузионный набор, за исключением защитных колпачков, должен выдерживать при растяжении статическую нагрузку не менее 15 Н в течение 15 с.
Инфузионный набор должен быть непроницаем для воздуха, микроорганизмов и жидкостей.
Ни воздух, ни вода не должны выходить наружу при испытании в соответствии с A.3.2 и A.3.4, и воздух не должен проникать внутрь при испытании в соответствии с A.3.3.
Коническое соединение типа male должно соответствовать требованиям ИСО 594-2.
Инъекционный узел должен обеспечивать возможность впрыска в трубку. При испытании в соответствии с A.4 не должно быть утечки более чем одной капли воды.
Применяют ИСО 8536-4.
Применяют ИСО 8536-4.
Применяют ИСО 8536-4.
Применяют ИСО 8536-4.
Применяют ИСО 8536-4.
Применяют ИСО 8536-4.
Применяют ИСО 8536-4.
Применяют ИСО 8536-4.
Объем хранения должен быть указан в соответствии с 10.2 i). Определение объема хранения и метод испытаний для определения объема хранения указаны в приложении B.
Применяют ИСО 8536-4.
Применяют ИСО 8536-4.
Применяют ИСО 8536-4.
Маркировка должна содержать требования, указанные в 10.2 и 10.3. Если используются графические символы, то они должны соответствовать требованиям ИСО 15223-1.
Примечание - Наличие представляющих интерес веществ можно указать с помощью символа 2725 согласно ИСО 7000, заменив "XXX" аббревиатурой вещества. Отсутствие представляющих интерес веществ можно обозначить, перечеркнув соответствующий символ.
Индивидуальная упаковка должна быть маркирована по меньшей мере следующей информацией:
a) наименование и адрес изготовителя;
b) текстовое описание содержимого;
c) указание на то, что инфузионный набор не содержит пирогенов или что инфузионный набор не содержит бактериальных эндотоксинов;
d) указание на то, что инфузионный набор является стерильным, посредством использования графического символа, приведенного в ИСО 15223-1;
e) номер партии (серии) с использованием надписи "LOT" или соответствующего графического символа согласно ИСО 15223-1;
f) год и месяц истечения срока годности, сопровождаемые соответствующей формулировкой или графическим символом в соответствии с ИСО 15223-1;
g) указание на то, что инфузионный набор предназначен только для однократного применения, или эквивалентная формулировка, или с использованием графического символа в соответствии с ИСО 15223-1;
h) инструкция по применению, включая предупреждения, например, о снятии защитных колпачков (инструкции по применению также могут быть в форме вкладыша);
i) объем хранения должен быть маркирован в соответствии с B.3. В случае специализированных инфузионных наборов изготовитель дополнительно указывает название и тип аппарата для инфузии под давлением;
j) буква "P", обозначающая давление, высота шрифта которой должна четко выделяться из окружающего текста;
k) сведения о том, что 20 капель дистиллированной воды с использованием обычной капельной камеры или 60 капель дистиллированной воды с использованием капельной камеры с микрокаплеобразующим элементом эквивалентны объему (1 ± 0,1) мл или массе (1 ± 0,1) г.
Если доступное пространство слишком мало, чтобы дать всю эту информацию в виде разборчивых надписей и/или символов, информация может быть сведена к указанной в e) и f). В этом случае информация, требуемая в настоящем подпункте, должна быть указана на этикетке следующей более крупной транспортной упаковки или групповой упаковки.
Транспортная упаковка или групповая упаковка должны быть маркированы по меньшей мере следующей информацией:
a) наименование и адрес изготовителя;
b) текстовое описание содержимого;
c) номер партии (серии) с использованием надписи "LOT" или соответствующего графического символа согласно ИСО 15223-1;
d) год и месяц истечения срока годности, сопровождаемые соответствующей формулировкой или графическим символом в соответствии с ИСО 15223-1;
e) инструкция по применению, включая предупреждения, например, о снятии защитных колпачков (инструкции по применению также могут быть в форме вкладыша);
f) буква "P", обозначающая давление, высота шрифта которой должна четко выделяться из окружающего текста;
g) информация об условиях хранения.
Должна быть предоставлена информация для безопасной и экологически обоснованной утилизации инфузионных наборов однократного применения.
Пример - "Всегда утилизируйте загрязненные кровью продукты в соответствии с установленными процедурами биологической безопасности".
Приложение A
(обязательное)
A.1 Испытание на загрязнение частицами
Применяют ИСО 8536-4.
A.2 Испытание на прочность при растяжении
К испытуемому инфузионному набору вдоль продольной оси прикладывают растягивающую статическую нагрузку 15 Н в течение 15 с. Проверяют выдерживает ли инфузионный набор приложенную испытательную нагрузку.
A.3 Испытание на утечку
A.3.1 В начале испытания вся система должна быть выдержана при температуре испытания.
A.3.2 Подсоединяют инфузионный набор к системе подачи воздуха и закрывают все остальные отверстия. Заполняют инфузионный набор воздухом с внутренним избыточным давлением 50 кПа в течение 15 с. Проверяют инфузионный набор на наличие утечек воздуха под водой при температуре (40 ± 1) °C.
A.3.3 Заполняют инфузионный набор дистиллированной водой при температуре (40 ± 1) °C, соединяют его герметичными отверстиями с вакуумным насосом и подвергают внутреннему избыточному давлению минус 20 кПа в течение 15 с. Проверяют, поступает ли воздух в верхнюю секцию инфузионного набора.
Это испытание применимо только к верхней секции инфузионного набора.
A.3.4 Расположенную ниже наполненную водой секцию инфузионного набора, включающую проточный элемент, испытывают в течение 15 мин при внутреннем избыточном давлении 200 кПа. В случае специализированных наборов необходимо применять максимальное рабочее давление инфузионного насоса. Проверяют наличие любой утечки воды при температуре (40 ± 1) °C.
Примечание - Для инфузионных наборов, которые не имеют проточного элемента, всю трубку до точки непосредственно под капельной камерой испытывают в одинаковых условиях.
A.4 Испытание инъекционного узла
Выполняют в соответствии с ИСО 8536-4, но при внутреннем избыточном давлении 200 кПа.
A.5 Испытания эффективности фильтра для жидкости
Применяют ИСО 8536-4.
Приложение B
(обязательное)
B.1 Общие сведения
В настоящем приложении разъясняются различные измеряемые объемы трубок путем предоставления четкого определения и метода испытаний для определения каждого из этих объемов.
B.2 Определение объемов трубок
B.2.1 Объем заполнения (VF)
Объем заполнения трубки исключительно рассчитывается. Расчет производится по номинальному внутреннему диаметру трубки по формуле (B.1):
, (B.1)
где d - номинальный внутренний диаметр трубки;
l - длина трубки.
B.2.2 Объем болюса (VB)
B.2.2.1 Общие сведения
Объем болюса трудно определить только расчетным путем, учитывая все переменные, например внутренний диаметр, толщину стенки, твердость трубки, влияние температуры. Поэтому определение объема болюса производится в соответствии со следующими условиями испытания (см. также рисунок B.1):
- комнатная температура (23 ± 2) °C;
- испытательная среда - дистиллированная вода, температура испытательной среды (40 ± 1) °C;
- внутреннее избыточное давление - 200 кПа. В случае специализированных наборов должно применяться максимальное рабочее давление инфузионного насоса. Продолжительность подачи давления 15 с;
- все испытуемые образцы находятся в готовом к использованию состоянии, например стерильном;
- длина трубки 2000 мм плюс коннекторы;
- для "жестких" коннекторов разница в объеме при подаче давления равна нулю.

Рисунок B.1 - Испытательный аппарат для определения объема болюса
B.2.2.2 Процедура
Для определения объема болюса необходимо выполнить следующие действия:
a) заполняют испытуемый образец без пузырьков воздуха испытательной средой;
b) окклюзия выхода трубки закрытием заглушкой и входа трубки поворотом трехходового крана;
c) определяют массу испытуемого образца, заполненного без давления = M1;
d) открывают трехходовой кран, прикладывают испытательное давление (давление жидкости) к трехходовому крану, ждут, пока испытательное давление стабилизируется, и поддерживают его в течение 15 с, затем закрывают трехходовой кран;
e) определяют массу испытуемого образца, заполненного под давлением = M2;
f) расчет объема болюса (VB) с помощью разности массы (1 г = 1 мл) приведен в формуле (B.2):
, (B.2)
где M1 - масса без давления;
M2 - масса под давлением;
l - длина трубки.
B.2.3 Объем хранения (VS)
Объем хранения трубки рассчитывается путем сложения объема заполнения (VF) и объема болюса (VB), как показано в формуле (B.3)
VS = VF + VB. (B.3)
B.3 Маркировка
В связи с тем, что термины "объем заполнения", "объем хранения" и "объем болюса" известны не каждому пользователю, эти термины были заменены общей информацией "VOL" (объем). Эта информация сопровождается указанием температурных условий и давления. Информация всегда относится к трубке длиной 1 м для облегчения простого преобразования и/или расчета для пользователя в случае частичной окклюзии. Пример маркировки приведен на рисунке B.2:
- точность указания объема: 1 мл;
- эскиз указания информации.

Рисунок B.2 - Пример маркировки
Приложение ДА
(справочное)
Таблица ДА.1
|
Обозначение ссылочного международного стандарта |
Степень соответствия |
Обозначение и наименование соответствующего национального стандарта |
|
ISO 594-2 |
- |
<*> |
|
ISO 7000 |
- |
<*> |
|
ISO 8536-4 |
- |
<*> |
|
ISO 15223-1 |
IDT |
ГОСТ Р ИСО 15223-1-2020 "Изделия медицинские. Символы, применяемые при маркировании медицинских изделий, на этикетках и в сопроводительной документации. Часть 1. Основные требования" |
|
<*> Соответствующий национальный стандарт отсутствует. До его принятия рекомендуется использовать перевод на русский язык данного международного стандарта. Примечание - В настоящей таблице использовано следующее условное обозначение степени соответствия стандарта: - IDT - идентичный стандарт. | ||
Библиография
|
[1] |
ISO 8536-9, Infusion equipment for medical use - Part 9: Fluid lines for single use with pressure infusion equipment |
|
[2] |
ISO 10993-4, Biological evaluation of medical devices - Part 4: Selection of tests for interactions with blood |
|
[3] |
ISO 11135-1, Sterilization of health care products - Ethylene oxide - Part 1: Requirements for development, validation and routine control of a sterilization process for medical devices |
|
[4] |
ISO 11137-1, Sterilization of health care products - Radiation - Part 1: Requirements for development, validation and routine control of a sterilization process for medical devices |
|
[5] |
ISO 11137-2, Sterilization of health care products - Radiation - Part 2: Establishing the sterilization dose |
|
[6] |
ISO 17665-1, Sterilization of health care products - Moist heat - Part 1: Requirements for the development, validation and routine control of a sterilization process for medical devices |
|
[7] |
EN 15986, Symbol for use in the labelling of medical devices - Requirements of medical devices containing phthalates |
|
[8] |
European Pharmacopoeia |
|
[9] |
United States Pharmacopeia |
|
[10] |
Japanese Pharmacopoeia |


