ГОСТ Р 59409-2021 (МЭК 61869-11:2017) ТРАНСФОРМАТОРЫ ИЗМЕРИТЕЛЬНЫЕ. Часть 11. ДОПОЛНИТЕЛЬНЫЕ ТРЕБОВАНИЯ К МАЛОМОЩНЫМ ПАССИВНЫМ ТРАНСФОРМАТОРАМ (ПРЕОБРАЗОВАТЕЛЯМ) НАПРЯЖЕНИЯ
Instrument transformers. Part 11. Additional requirements for low-power passive voltage transformers
ОКС 17.220.20
Дата введения - 1 сентября 2021 г.
Введен впервые
Предисловие
1 Подготовлен ФГУП "Всероссийский научно-исследовательский институт метрологической службы" (ФГУП "ВНИИМС") на основе собственного перевода на русский язык англоязычной версии стандарта, указанного в пункте 4
2 Внесен Техническим комитетом по стандартизации ТК 445 "Метрология учета энергоресурсов"
3 Утвержден и введен в действие Приказом Федерального агентства по техническому регулированию и метрологии от 1 апреля 2021 г. N 179-ст
4 Настоящий стандарт является модифицированным по отношению к международному стандарту МЭК 61869-11:2017 "Трансформаторы измерительные. Часть 11. Дополнительные требования к маломощным пассивным трансформаторам (преобразователям) напряжения" (IEC 61869-11:2017 "lnstrument transformers - Part 11: Additional requirements for low-power passive voltage transformers", MOD) путем изменения отдельных фраз (слов, значений показателей, ссылок), которые выделены в тексте курсивом. Внесение указанных технических отклонений направлено на учет потребностей национальной экономики Российской Федерации.
Сведения о соответствии ссылочных национальных стандартов международным стандартам, использованным в качестве ссылочных в примененном международном стандарте, приведены в дополнительном приложении ДА
5 Введен впервые
Введение
Перечень всех стандартов серии МЭК 61869 под общим наименованием "Трансформаторы измерительные", разрабатываемых Техническим комитетом ТК МЭК 38, находится на электронном сайте МЭК: www.iec.ch. Обзор разрабатываемых/разработанных стандартов на дату публикации настоящего стандарта представлен ниже.
|
Серия, объединяющая стандарты МЭК |
Разрабатываемый/ разработанный стандарт |
Наименование стандарта |
Перерабатываемый стандарт | |
|
МЭК 61869-1 Общие требования к измерительным трансформаторам |
МЭК 61869-2 |
Дополнительные требования к трансформаторам тока |
МЭК 60044-1 МЭК 60044-6 | |
|
МЭК 61869-3 |
Дополнительные требования к индуктивным трансформаторам напряжения |
МЭК 60044-2 | ||
|
МЭК 61869-4 |
Дополнительные требования к комбинированным трансформаторам |
МЭК 60044-3 | ||
|
МЭК 61869-6 Дополнительные общие требования к маломощным измерительным трансформаторам (преобразователям) |
МЭК 61869-5 |
Дополнительные требования к емкостным трансформаторам напряжения |
МЭК 60044-5 | |
|
МЭК 61869-7 |
Дополнительные требования к электронным трансформаторам напряжения |
МЭК 60044-7 | ||
|
МЭК 61869-8 |
Дополнительные требования к электронным трансформаторам тока |
МЭК 60044-8 | ||
|
МЭК 61869-9 |
Цифровой интерфейс для измерительных трансформаторов | |||
|
МЭК 61869-10 |
Дополнительные требования к маломощным пассивным трансформаторам (преобразователям) тока | |||
|
МЭК 61869-11 |
Дополнительные требования к маломощным пассивным трансформаторам (преобразователям) напряжения |
МЭК 60044-7 | ||
|
МЭК 61869-12 |
Дополнительные требования к комбинированным электронным измерительным трансформаторам или комбинированным пассивным трансформаторам (преобразователям) |
- | ||
|
МЭК 61869-13 |
Требования к автономному устройству сопряжения с шиной процесса (УСШ) |
- | ||
|
МЭК 61869-14 |
Дополнительные требования к трансформаторам постоянного тока |
- | ||
|
МЭК 61869-15 |
Дополнительные требования к трансформаторам постоянного напряжения |
- | ||
Общая блок-схема пассивного маломощного трансформатора напряжения (ММТН) приведена на рисунке 1101.
Пассивные ММТН основаны на технологии делителя напряжения. Технология такого ММТН может быть основана на резистивных, емкостных или резистивно-емкостных делителях. Приложение 11С представляет собой схематическую диаграмму различных делителей.
Согласно общей блок-схеме, представленной на рисунке 601 ГОСТ Р МЭК 61869-6-2021, пассивные ММТН не используют активного первичного конвертера (т.е. применяются без активных электронных компонентов), и, таким образом, нет необходимости в первичном энергоснабжении, а также не используют вторичный конвертер и, соответственно, вторичное энергоснабжение.
От применяемой технологии зависит, какие составные части необходимы для реализации пассивных ММТН, при этом необязательно присутствие штатного передающего кабеля или первичного пассивного конвертера, изображенного на рисунке 1101.

Рисунок 1101 - Общая блок-схема однофазного пассивного ММТН
Нумерация разделов, подразделов, пунктов, рисунков и таблиц сохранена в соответствии с нумерацией структурных элементов, приведенных в МЭК 61869-1:2007 и МЭК 61869-6:2016.
Настоящий стандарт содержит только дополнительные общие требования к пассивным маломощным трансформаторам напряжения (далее - ММТН), не входящие в другие части данной серии стандартов. Основные требования к производству маломощных измерительных трансформаторов (ММИТ) приведены в [1]. При этом также необходимо руководствоваться требованиями ГОСТ Р МЭК 61869-6 и настоящим стандартом, содержащим дополнительные требования.
Настоящий стандарт содержит требования к погрешности пассивных ММТН с аналоговым выходом для использования с электроизмерительными приборами или электрическими защитными устройствами с номинальными частотами от 15 до 100 Гц.
Настоящий стандарт дополнительно распространяется на некоторые типы защитных пассивных ММТН, а также на многоцелевые пассивные ММТН. Многоцелевые пассивные ММТН, предназначенные как для измерения, так и для защиты, должны соответствовать требованиям настоящего стандарта.
Настоящий стандарт распространяется только на пассивные ММТН с аналоговым выходом (для цифрового выхода или технологии с применением любого вида активных электронных компонентов рекомендуется учитывать требования [2]). Пассивные ММТН с аналоговым выходом могут включать вторичный штатный кабель, передающий измерительный сигнал. Вторичное напряжение пассивных ММТН пропорционально первичному напряжению. Дифференцированные выходные сигналы не являются областью применения настоящего стандарта.
В настоящем стандарте использованы нормативные ссылки на следующие стандарты:
ГОСТ 1516.2-97 Электрооборудование и электроустановки переменного тока на напряжение 3 кВ и выше. Общие методы испытаний электрической прочности изоляции
ГОСТ 10390 Электрооборудование на напряжение свыше 3 кВ. Методы испытаний внешней изоляции в загрязненном состоянии
ГОСТ 15150 Машины, приборы и другие технические изделия. Исполнения для различных климатических районов. Категории, условия эксплуатации, хранения и транспортирования в части воздействия климатических факторов внешней среды
ГОСТ 23366 Ряды номинальных напряжений постоянного и переменного тока
ГОСТ Р 51369-99 Методы испытаний на стойкость к климатическим внешним воздействующим факторам машин, приборов и других технических изделий. Испытания на воздействие влажности
ГОСТ Р МЭК 61869-6-2021 Трансформаторы измерительные. Часть 6. Дополнительные общие требования к маломощным измерительным трансформаторам (преобразователям)
Примечание - При пользовании настоящим стандартом целесообразно проверить действие ссылочных стандартов в информационной системе общего пользования - на официальном сайте Федерального агентства по техническому регулированию и метрополии в сети Интернет или по ежегодному информационному указателю "Национальные стандарты", который опубликован по состоянию на 1 января текущего года, и по выпускам ежемесячного информационного указателя "Национальные стандарты" за текущий год. Если заменен ссылочный стандарт, на который дана недатированная ссылка, то рекомендуется использовать действующую версию этого стандарта с учетом всех внесенных в данную версию изменений. Если заменен ссылочный стандарт, на который дана датированная ссылка, то рекомендуется использовать версию этого стандарта с указанным выше годом утверждения (принятия). Если после утверждения настоящего стандарта в ссылочный стандарт, на который дана датированная ссылка, внесено изменение, затрагивающее положение, на которое дана ссылка, то это положение рекомендуется применять без учета данного изменения. Если ссылочный стандарт отменен без замены, то положение, в котором дана ссылка на него, рекомендуется применять в части, не затрагивающей эту ссылку.
В настоящем стандарте применены термины и определения по [1] с нижеприведенными дополнениями и примечаниями.
3.1.613 система передачи измерительного сигнала (transmitting system): Применяют определение 3.1.613 ГОСТ Р МЭК 61869-6-2021 с нижеприведенным дополнительным примечанием.
Примечание 1101 - Для пассивных ММТН системой передачи измерительного сигнала является штатный кабель.
3.1.621 выходной сигнал (output signal): Применяют определение 3.1.621 ГОСТ Р МЭК 61869-6-2021 с нижеприведенным дополнительным примечанием.
Примечание - В установившемся режиме выходной сигнал u s(t) определен следующим уравнением:
,
(1)
где U s - среднеквадратическое значение выходного сигнала напряжения, при u s res(t) = 0;
f - основная частота;
φS - фазовое смещение вторичной цепи;
u s res(t) - вторичный остаточный сигнал напряжения на выходе, включая гармонические и субгармонические составляющие;
t - мгновенное значение времени;
f, U s, φS - постоянны в установившемся режиме.
3.1.1101 делитель напряжения (voltage divider): Устройство, включающее в себя резисторы, индуктивность, конденсаторы (или комбинацию данных элементов) таким образом, что между двумя точками устройства может быть получена заданная доля напряжения, подаваемого на устройство в целом.
3.1.1102 высоковольтный резистор R 1 (high-voltage resistor R 1): Резистор, подключаемый между входом высокого напряжения и выходом промежуточного напряжения делителя напряжения.
3.1.1103 высоковольтный конденсатор (высокого напряжения) С 1 (high-voltage capacitor С 1): Конденсатор, подключаемый между выводом высокого напряжения и выводом промежуточного напряжения делителя напряжения.
3.1.1104 низковольтный резистор R 2 (low-voltage resistor R 2): Резистивная составляющая резистивного или резистивно-емкостного делителя, подключаемая между вторичными выводами.
3.1.1105 низковольтный конденсатор (низкого напряжения) С 2 (low-voltage capacitor С 2): Емкостная составляющая емкостного или резистивно-емкостного делителя между вторичными выводами.
3.1.1106 ограничитель перенапряжения (voltage limitation device): Устройство для ограничения перенапряжений, подключенное параллельно вторичным выводам делителя.
3.2.1101 коэффициент номинального напряжения F V (rated voltage factor F V): Коэффициент, на который следует умножить номинальное первичное напряжение, чтобы определить его максимальное значение, при котором трансформатор должен отвечать соответствующим требованиям к температуре нагрева в течение установленного времени и требованиям к точности.
3.4.3 погрешность коэффициента масштабного преобразования ε (ratio error ε): Применяют определение согласно 3.4.3 [7] с нижеприведенным дополнительным примечанием.
Примечание - Погрешность коэффициента масштабного преобразования ε, %, вычисляют по формуле
,
(2)
где K r - номинальный коэффициент масштабного преобразования (трансформации);
U p - среднеквадратическое входного сигнала напряжения;
U s - среднеквадратическое значение выходного сигнала напряжения.
Это определение относится только к составляющей номинальной частоты как входного, так и выходного сигнала.
3.4.602 номинальное время задержки t dr (rated delay time t dr): В настоящем стандарте не применимо.
3.4.1101 поправочный коэффициент CF U (ratio correction factor CF U): Коэффициент, на который умножается номинальный коэффициент масштабного преобразования, измеренный при номинальной нагрузке и номинальной частоте каждого отдельно взятого пассивного ММТН для достижения заданного класса точности.
3.4.1102 скорректированный коэффициент масштабного преобразования K cor (corrected transformation ratio K cor): Коэффициент масштабного преобразования для каждого отдельно взятого пассивного ММТН.
Примечание - Соотношение между скорректированным коэффициентом трансформации и номинальным коэффициентом трансформации:
Kcor = CFU·Kr.
(3)
3.4.1103 поправка к фазовому смещению φocor (phase offset correction φocor): Значение, добавленное к номинальному углу фазового смещения, измеренному при номинальной нагрузке и номинальной частоте каждого отдельно взятого пассивного ММТН для достижения заданного класса точности.
3.4.1104 скорректированное фазовое смещение φcorφo (corrected phase offset φcorφo): Фазовое смещение для каждого отдельно взятого пассивного ММТН.
Примечание - Соотношение между скорректированным фазовым смещением и поправкой к фазовому смещению:
φcor φo = φo cor + φor.
(4)
3.4.1105 погрешность скорректированного коэффициента масштабного преобразования εcorU (corrected ratio εcorU): Погрешность коэффициента масштабного преобразования для каждого отдельно взятого пассивного ММТН с поправкой к коэффициенту, определяемой согласно 3.4.1102.
Примечание - Погрешность скорректированного коэффициента масштабного преобразования вычисляют по формуле
,
(5)
где CF U - поправочный коэффициент масштабного преобразования для каждого отдельно взятого пассивного ММТН.
3.4.1106 погрешность скорректированного фазового сдвига φecor (corrected phase error φecor): Фазовая погрешность для каждого отдельно взятого пассивного ММТН, скорректированная на значение, определенное в 3.4.1104.
Примечание - Скорректированную фазовую погрешность вычисляют по формуле
φecor = φs – φp - φcorφo.
(6)
Подраздел 3.7 [7] заменен нижеприведенной таблицей.
|
C 1 |
Высоковольтный конденсатор (высокого напряжения) (емкость) делителя |
|
C 2 |
Низковольтный конденсатор (низкого напряжения) (емкость) делителя |
|
CF U |
Поправочный коэффициент |
|
F |
Механическая нагрузка |
|
f r |
Номинальная частота |
|
F V |
Коэффициент номинального напряжения |
|
K |
Действительный коэффициент масштабного преобразования |
|
K cor |
Скорректированный коэффициент масштабного преобразования |
|
K r |
Номинальный коэффициент масштабного преобразования |
|
ММИТ |
Маломощный измерительный трансформатор |
|
ММТН |
Маломощный трансформатор напряжения |
|
R 1 |
Резистор высоковольтного плеча делителя |
|
R 2 |
Резистор низковольтного плеча делителя |
|
R br |
Номинальная нагрузка |
|
U m |
Наибольшее рабочее напряжение оборудования |
|
U pr |
Номинальное первичное напряжение |
|
U sr |
Номинальное вторичное напряжение |
|
U sys |
Максимальное напряжение электрической сети |
|
ε |
Погрешность коэффициента масштабного преобразования (амплитудная погрешность) |
|
εcor U |
Погрешность скорректированного коэффициента масштабного преобразования |
|
εU (t) |
Погрешность мгновенного значения напряжения в переходном режиме |
|
φe |
Фазовая погрешность |
|
φo |
Фазовое смещение |
|
φo cor |
Поправка к фазовому смещению |
|
φor |
Номинальный угол фазового смещения |
|
Δφ |
Угловая погрешность (погрешность угла фазового сдвига) |
|
φe cor |
Скорректированная фазовая погрешность |
|
φcorφo |
Скорректированное фазовое смещение |
5.3.5 Требования к изоляции вторичных выходов
В настоящем стандарте применяют требования 5.3.5 ГОСТ Р МЭК 61869-6-2021.
Для номинального вторичного напряжения более 10 В испытательное напряжение равно 3 кВ независимо от длины кабеля.
5.3.601 Номинальное напряжение вспомогательного электропитания U ar
Не применяется.
5.5.601 Номинальная нагрузка R br
В настоящем стандарте применяют требования раздела 5.5.601 ГОСТ Р МЭК 61869-6-2021 с нижеприведенным дополнением.
Штатный кабель, входящий в комплектацию ММТН, не должен быть заменен/модифицирован во избежание изменений в его нормированных характеристиках.
5.5.602 Стандартные значения номинального времени задержки t dr
Не применяется.
5.6.1101 Требования к точности пассивного ММТН, нормированные для номинального коэффициента масштабного преобразования и номинального угла фазового сдвига
Погрешность коэффициента масштабного преобразования ε рассчитывают по формуле (2) примечания 1101 к определению 3.4.3. Не допускается вносить поправки к отдельным отклонениям характеристики погрешности пассивных ММТН.
5.6.1102 Требования к точности пассивного ММТТ, нормированные для индивидуального скорректированного коэффициента масштабного преобразования и скорректированного угла фазового сдвига
В качестве альтернативы требованиям к точности пассивных ММТН, нормированных для номинального коэффициента масштабного преобразования и номинального угла фазового сдвига, класс точности определяют с учетом индивидуального скорректированного коэффициента масштабного преобразования и скорректированного угла фазового сдвига либо индивидуального поправочного коэффициента угла фазового сдвига.
Погрешность скорректированного коэффициента масштабного преобразования εcorU рассчитывают по формуле (5), представленной в примечании 1 к определению 3.4.1105. Поправочный коэффициент CF U должен находиться в пределах от 0,900 до 1,100 и быть определен с достаточной точностью и количеством десятичных знаков согласно соответствующему классу точности (с минимальным разрешением 0,001).
Погрешность скорректированного угла фазового сдвига рассчитывают по формуле (6) примечания к определению 3.4.1105. Для пассивных ММТН индивидуальный скорректированный угол фазового сдвига φcorφo заменяет номинальный угол фазового сдвига φor. Так как номинальное время задержки не применимо к пассивным ММТН, φtdr считается равным нулю. Поправка фазового смещения должна находиться в пределах ± 300 мин и определяться с подходящей точностью и количеством десятичных знаков согласно соответствующему классу точности (с минимальным разрешением 1 мин).
Если требования к точности основаны на индивидуальном скорректированном коэффициенте масштабного преобразования и скорректированном угле фазового смещения, то должна присутствовать соответствующая маркировка на табличке с техническими данными.
5.6.1103 Пассивные ММТН для целей измерения
5.6.1103.1 Определение класса точности пассивных ММТН для целей измерения
Класс точности пассивных ММТН для целей измерения определяют пределами наибольшей допустимой погрешности коэффициента масштабного преобразования при номинальном первичном напряжении и номинальной нагрузке.
5.6.1103.2 Стандартные классы точности
Стандартными классами точности пассивных ММТН для целей измерения являются значения:
0,1 - 0,2 - 0,5 - 1,0 - 3,0.
5.6.1103.3 Пределы амплитудной и угловой погрешности пассивных ММТН для целей измерения
Амплитудная и угловая погрешности при напряжении номинальной частоты в диапазоне от 80 % до 120 % номинального значения напряжения и нагрузке, составляющей:
- ± 5 % - резистивной номинальной нагрузки;
- от 0 % до 100 % - емкостной номинальной нагрузки.
Амплитудная и угловая погрешности не должны превышать значений, представленных в таблице 1101.
|
Класс точности |
Амплитудная погрешность ε, εcorU, ± % |
Фазовая погрешность φe, φcorφo | |||||||
|
± минуты |
± сантирадианы | ||||||||
|
при напряжении (% от номинального) | |||||||||
|
80 |
100 |
120 |
80 |
100 |
120 |
80 |
100 |
120 | |
|
0,1 |
0,1 |
0,1 |
0,1 |
5 |
5 |
5 |
0,15 |
0,15 |
0,15 |
|
0,2 |
0,2 |
0,2 |
0,2 |
10 |
10 |
10 |
0,3 |
0,3 |
0,3 |
|
0,5 |
0,5 |
0,5 |
0,5 |
20 |
20 |
20 |
0,6 |
0,6 |
0,6 |
|
1,0 |
1,0 |
1,0 |
1,0 |
40 |
40 |
40 |
1,2 |
1,2 |
1,2 |
|
3,0 |
3,0 |
3,0 |
3,0 |
Не нормировано |
Не нормировано | ||||
5.6.1103.4 Требования к точности при гармонических искажениях
При наличии требований к гармоническим искажениям требования к точности гармонических составляющих, представленные в приложении 6А ГОСТ Р МЭК 61869-6-2027, применимы даже в случае доработки ТК МЭК 38 соответствующих методов испытания, представленных в настоящем стандарте.
5.6.1004 Пассивные ММТН для целей защиты и многоцелевые ММТН
5.6.1104.1 Класс точности пассивных ММТН для целей защиты и многоцелевых ММТН
Класс точности пассивных ММТН для целей защиты и многоцелевых ММТН определяется наивысшим допустимым процентом погрешности его коэффициента масштабного преобразования в диапазоне от 2 % номинального напряжения до соответствующего значения напряжения, учитывающего коэффициент номинального напряжения (см. 5.1.1102). За обозначением класса точности добавляют букву "Р".
5.6.1104.2 Обозначение класса точности
Класс точности пассивных ММТН:
- "0,1Р", "0,2Р", "0,5Р" и "1Р" - для многоцелевых;
- "3Р" и "6Р" - для целей защиты.
Многоцелевые ММТН с возможностью измерения постоянной составляющей напряжения, как правило, являются подходящими для измерения остаточного напряжения, основанного на сумме напряжений трех фаз.
5.6.1104.3 Пределы амплитудной и угловой погрешностей пассивных ММТН для целей защиты
При номинальной частоте и температуре, нагрузке, составляющей:
- ± 5 % - резистивной номинальной нагрузки;
- от 0 % до 100 % - емкостной номинальной нагрузки.
Погрешность масштабного коэффициента преобразования (амплитудная) и угловая погрешность не должны превышать значений, представленных в таблице 1102.
|
Класс точности |
Амплитудная погрешность ε, εcorU, ± % |
Фазовая погрешность φe, φcorφo | |||||||||||||
|
± минуты |
± сантирадианы | ||||||||||||||
|
при напряжении (% номинального) | |||||||||||||||
|
2 |
20 |
80 |
100 |
FV·100 |
2 |
20 |
80 |
100 |
FV·100 |
2 |
20 |
80 |
100 |
FV·100 | |
|
0,1Р |
0,5 |
0,2 |
0,1 |
0,1 |
0,1 |
20 |
10 |
5 |
5 |
5 |
0,6 |
0,3 |
0,15 |
0,15 |
0,15 |
|
0,2Р |
1 |
0,4 |
0,2 |
0,2 |
0,2 |
40 |
20 |
10 |
10 |
10 |
1,2 |
0,6 |
0,3 |
0,3 |
0,3 |
|
0,5Р |
2 |
1 |
0,5 |
0,5 |
0,5 |
80 |
40 |
20 |
20 |
20 |
2,4 |
1,2 |
0,6 |
0,6 |
0,6 |
|
1Р |
4 |
2 |
1 |
1 |
1 |
160 |
80 |
40 |
40 |
40 |
4,8 |
2,4 |
1,2 |
1,2 |
1,2 |
|
3Р |
6 |
3 |
3 |
3 |
3 |
240 |
120 |
120 |
120 |
120 |
7 |
3,5 |
3,5 |
3,5 |
3,5 |
|
6Р |
12 |
6 |
6 |
6 |
6 |
480 |
240 |
240 |
240 |
240 |
14 |
7 |
7 |
7 |
7 |
|
Примечание - Класс точности определяют в соответствии с правилами калибровки изготовителя реле и требованиями по применению. Пассивный ММТН класса точности 0,1Р может быть рекомендован для энергосистем, заземленных катушкой Петерсена, в то время как пассивные ММТН классов точности 0,2Р или 0,5Р допускается использовать для других систем заземления электрических сетей. | |||||||||||||||
5.1101.1 Номинальное первичное напряжение U pr
Стандартные значения номинального первичного напряжения пассивных ММТН, подключаемых между одной линией трехфазной системы (сети) и землей, должны быть менее номинального напряжения сети в 1/√3 раза.
Предпочтительные значения напряжения представлены в [3] и ГОСТ 23366.
Диапазон номинальных первичных напряжений может быть присвоен пассивному ММТН. В этом случае нормирование точности применимо к назначенному диапазону первичного напряжения, и коэффициент напряжения F V применяют к наибольшему значению этого диапазона.
Примечание - Работа пассивного ММТН, как для целей измерения, так и для целей защиты, основана на номинальном первичном напряжении U pr, в то время как номинальный уровень изоляции основан на наибольшем рабочем напряжении электрооборудования U m.
5.1101.2 Номинальное вторичное напряжение U sr
Стандартные среднеквадратические (действующие) значения номинального вторичного напряжения U sr:
3,25√3 В, 100/√3 В.
Для пассивных ММТН, используемых для диапазона первичных напряжений, номинальное вторичное напряжение должно соответствовать одному из номинальных первичных напряжений или может применяться номинальный коэффициент масштабного преобразования (например, 1000/1).
5.1102 Стандартные значения коэффициента номинального напряжения F V
Коэффициент номинального напряжения определяют максимальным рабочим напряжением, которое, в свою очередь, зависит от схемы заземления сети.
Стандартные значения коэффициента номинального напряжения в зависимости от схемы заземления и допустимой длительности (т.е. нормированного времени) приложения максимального рабочего напряжения не должны превышать значений, представленных в таблице 1103.
|
Коэффициент напряжения F V |
Номинальное время |
Метод подключения первичного ввода и условия заземления электрической сети |
|
1,2 |
Продолжительное |
Между фазой и землей в системе (электрической сети) с эффективно заземленной нейтралью (согласно 3.2.7 а) [1]) |
|
1,5 |
30 с | |
|
1,2 |
Продолжительное |
Между фазой и землей в системе (электрической сети) с неэффективно заземленной нейтралью (согласно 3.2.7 b) [1] и с автоматическим отключением замыкания на землю |
|
1,9 |
30 с | |
|
1,2 |
Продолжительное |
Между фазой и землей в системе (электрической сети) с изолированной нейтралью (согласно 3.2.4 [1]) без автоматического отключения замыкания на землю или в сети с нейтралью, заземленной через дугогасящий реактор (согласно 3.2.5 [1]) без автоматического отключения замыкания на землю |
|
1,9 |
8 ч | |
|
Примечание - По соглашению между производителем и заказчиком допускается уменьшать значения номинального времени. Максимальное рабочее напряжение пассивного ММТН должно быть ниже или равно наибольшему рабочему напряжению для электрооборудования U m/√3 или номинальному первичному напряжению U pr, умноженному на коэффициент номинального напряжения 1,2 для непрерывного обслуживания, т.е. тому значению, которое меньше. | ||
6.11.3 Требования к помехоустойчивости
Не применяется.
6.11.601 Требования к эмиссии
В настоящем стандарте применяют требования 6.11.601 ГОСТ Р МЭК 61869-6-2021 с нижеприведенным дополнением.
Как следствие, никаких дополнительных требований к эмиссии пассивных ММТН нет, помимо требований к испытаниям напряжением радиопомех (RIV) и испытаниям на передаваемые перенапряжения (TOV).
В настоящем стандарте применяют требования 6.13 ГОСТ Р МЭК 61869-6-2021 с нижеприведенным дополнением.
6.13.1101 Маркировка вводов/выводов. Общие правила
Маркировка вводов/выводов должна идентифицировать:
a) первичный ввод и вторичный выход;
b) относительную полярность вводов/выводов.
6.13.1102 Метод маркировки
Первичные вводы должны быть четко маркированы способом, обеспечивающим их неудаляемость, либо непосредственно на их поверхности, либо в непосредственной близости от них. Вторичные выводы также должны быть четко маркированы способом, обеспечивающим их неудаляемость, либо непосредственно на их поверхности или, при наличии встроенного кабеля, кабеля с соединителем, в непосредственной близости от соединителя. Если такой возможности нет, то изготовитель должен в любом случае представить соответствующую информацию в документации на трансформатор напряжения.
Маркировка должна состоять из букв и, при необходимости, чисел.
6.13.1103 Рекомендуемая маркировка
Маркировка вводов/выводов ММТН должна быть обозначена согласно рисунку 1102.

Рисунок 1102 - Маркировка вводов и выводов пассивного ММТН
Примечание - Для других типов пассивных ММТН способ маркировки представлен в приложении 11С.
6.13.1104 Табличка с техническими данными
В дополнение к маркировке согласно 6.13 [7] и ГОСТ Р МЭК 61869-6-2021, все ММТН должны иметь табличку со следующими техническими данными:
a) номинальное первичное и вторичное напряжения (например, 20/√3 кВ/3,25/√3 В) или, если применимо, номинальный коэффициент масштабного преобразования (например, 10 000/1);
b) диапазон напряжения первичной обмотки, если применимо (например, от 10/√3 кВ до 30/√3 кВ);
c) коэффициент номинального напряжения и соответствующее номинальное время (например, F V = 1,9/8 ч);
d) серийный номер высоковольтного плеча, если применимо (например, для высоковольтного применения);
e) первичное и вторичное сопротивление и емкость (для U m ≥ 72,5 кВ);
f) номинальная нагрузка и класс точности, основанный на номинальном и скорректированном коэффициенте масштабного преобразования, если применимо.
Примеры
1 2 МОм/50 пФ класс 0,2 (для измерительного пассивного ММТН).
2 2 МОм /50 пФ класс 3Р (для защитного пассивного ММТН);
g) поправочный коэффициент или скорректированный коэффициент масштабного преобразования, если требуется для заявленного класса точности (например, CF U = 0,965, или K cor = 10 005 В/В);
h) номинальный угол фазового сдвига (например, φor = 0°);
i) поправка к фазовому смещению или скорректированное фазовое смещение, если требуется для заявленного класса точности (например, φocor = -52 мин, или φcorφo = 52 мин).
Не применяется.
6.602.1 Разъемы
В настоящем стандарте применяют требования 6.602.1 ГОСТ Р МЭК 61869-6-2021 с нижеприведенным дополнением.
|
RJ45 подключение |
Пин: |
1 |
2 |
3 |
4 |
5 |
6 |
7 |
8 |
|
Пассивный ММТН |
а |
n | |||||||
|
Зарезервировано для пассивного ММТТ |
S1 |
S2 | |||||||
|
Зарезервировано для TEDS |
+ |
- | |||||||
|
Зарезервировано для источника питания |
+ |
- | |||||||
Для вторичных напряжений более 10 В необходимо применять следующие подключения:
- винтовые зажимы;
- коаксиальные или трехосные штепсельные вилки или гнезда соединителя с терминалом "а" в центральном проводнике.
Примечание - При наличии более одной вторичной обмотки каждый сигнал на выходе должен быть подключен отдельным кабелем (разъемом).
Не применяется.
Не применяется.
Не применяется.
Не применяется.
6.1101.1 Общие требования
Требования к функционированию пассивных ММТН в переходном режиме перечислены в приложении 6С ГОСТ Р МЭК 61869-6-2021.
Испытание первичной обмотки на стойкость к короткому замыканию предоставляет информацию о функционировании при низкой частоте, в то время как испытание переходной характеристики при помощи "ступеньки" предоставляет информацию о функционировании при высокой частоте. В зависимости от применения и доступного оборудования может быть проведено одно из этих испытаний для демонстрации характеристик в переходном режиме.
6.1101.2 Испытание на стойкость к короткому замыканию первичной цепи
После короткого замыкания на первичной цепи вторичное напряжение пассивного ММТН должно снизиться в течение 500 мкс до значения ниже 10 % от пикового значения перед возникновением короткого замыкания.
6.1101.3 Испытание на устойчивость к переходной характеристике при помощи "ступеньки"
Время выдерживания режима "ступеньки" должно быть менее 500 мкс.
Требования к методам проведения испытания представлены в 7.4.1102.3.
Пассивный ММТН может иметь в своей конструкции устройства для ограничения перенапряжения (например, искровые разрядники или другие ограничители перенапряжений и т.д.).
Уровень напряжения пробоя разрядника при напряжении грозового импульса или уровень защиты ограничителей перенапряжений должен быть ниже 5 кВ.
Уровень напряжения пробоя искрового разрядника при напряжении переменного тока или уровень защиты ограничителей перенапряжений должен в три раза превышать номинальное вторичное напряжение с коэффициентом напряжения F V.
7.1.2 Перечень испытаний
В настоящем стандарте применяют требования 7.1.2 ГОСТ Р МЭК 61869-6-2027 с заменой таблицы 10 следующей:
|
Испытания |
Структурный элемент |
|
Типовые испытания |
7.2 |
|
Испытание на превышение температуры |
7.2.2 |
|
Испытание вводов первичной обмотки импульсным напряжением |
7.2.3 |
|
Испытание трансформаторов наружной установки на воздействие влажности |
7.2.4 |
|
Испытания на электромагнитную совместимость (ЭМС) |
7.2.5 |
|
Испытание на соответствие классу точности |
7.2.6 |
|
Проверка степени защиты, обеспечиваемой оболочкой (корпусом) |
7.2.7 |
|
Испытание на герметичность оболочки (корпуса) при температуре окружающего воздуха |
7.2.8 |
|
Испытание оболочки (корпуса) при повышенном давлении |
7.2.9 |
|
Испытание низковольтных компонентов на стойкость к перенапряжениям |
7.2.601 |
|
Испытание вводов первичной обмотки срезанным грозовым импульсом напряжения |
7.4.1 |
|
Приемо-сдаточные испытания |
7.3 |
|
Испытание первичного ввода выдерживаемым напряжением промышленной частоты |
7.3.1 |
|
Измерение уровня частичных разрядов |
7.3.2 |
|
Испытание вторичных цепей выдерживаемым напряжением промышленной частоты |
7.3.4 |
|
Испытание на соответствие классу точности |
7.3.5 |
|
Проверка маркировки |
7.3.6 |
|
Испытание на герметичность оболочки (корпуса) при температуре окружающего воздуха |
7.3.7 |
|
Испытание оболочки (корпуса) при повышенном давлении |
7.3.8 |
|
Измерение электрической емкости и тангенса угла диэлектрических потерь при промышленной частоте |
7.3.1101 |
|
Проверка (измерение) сопротивления |
7.3.1102 |
|
Специальные испытания |
7.4 |
|
Испытание первичного ввода срезанным грозовым импульсом напряжения |
7.4.2 |
|
Испытание на передаваемые перенапряжения |
7.4.4 |
|
Испытание на механическую прочность |
7.4.5 |
|
Испытание на стойкость к электрической дуге при внутреннем коротком замыкании |
7.4.6 |
|
Испытание оболочки (корпуса) на герметичность при низких и высоких температурах |
7.4.7 |
|
Определение температуры точки росы газа |
7.4.8 |
|
Испытание на коррозионную стойкость |
7.4.9 |
|
Испытание на пожаробезопасность |
7.4.10 |
|
Испытание на виброустойчивость |
7.4.601 |
|
Испытание на соответствие классу точности в зависимости от гармонических искажений и низких частот |
Приложение 6А, 6А.5 |
|
Измерения частотной характеристики |
7.4.1101 |
|
Испытание в переходном режиме |
7.4.1102 |
|
Выборочные испытания |
7.5 |
7.1.1101 Пассивные ММТН, встроенные в другое оборудование
Для специального применения, когда пассивный ММТН встроен в другое оборудование (такое как встроенные выключатели, вводы, выводы и др.), должны быть учтены испытательные напряжения и методы испытаний соответствующих стандартов на данное оборудование. Этот вопрос находится на рассмотрении ТК МЭК 38.
7.2.2 Испытание на превышение температуры
7.2.2.1101 Общие положения
Для этого испытания пассивный ММТН должен быть смонтирован так, как он будет установлен при эксплуатации. Испытание на превышение температуры следует проводить с соответствующей номинальной нагрузкой. Температура должна быть зарегистрирована. Если пассивный ММТН имеет ряд напряжений в диапазоне номинального первичного напряжения, то для проведения данного испытания выбирают максимальное значение диапазона.
Все испытания следует проводить при температуре окружающей среды от 10 °С до 30 °С.
7.2.2.1102 Методы испытания
Для проведения испытания пассивный ММТН должен пройти соответствующие процедуры в соответствии с перечислением а), в сочетании с одним из подразделов b) или с), как описано ниже.
a) Все пассивные ММТН, независимо от номинального коэффициента напряжения и номинальных значений времени, должны быть испытаны при 1,2 номинального первичного напряжения. Испытание должно продолжаться до достижения делителем установившегося значения температуры. Пассивный ММТН считается достигшим установившегося режима, когда скорость увеличения температуры не превышает 1 К/ч.
b) Пассивные ММТН, имеющие коэффициент номинального напряжения 1,5 при 30 с или 1,9 при 30 с, должны быть испытаны при соответствующем номинальном коэффициенте напряжения в течение 30 с сразу после процедуры испытания согласно перечислению а).
c) Пассивные ММТН, имеющие номинальный коэффициент напряжения 1,9 в течение 8 ч, должны быть испытаны на уровне 1,9 от номинального напряжения в течение 8 ч сразу после процедуры испытания согласно перечислению а).
Для измерения температуры окружающей среды следует применять термометры или термопары, погруженные в эквивалентную изоляции испытуемого объекта среду таким образом, чтобы данный изоляционный материал имел такую же тепловую постоянную времени.
Температура должна быть измерена на различных участках оборудования, включая поверхности и, если требуется, недоступные компоненты (выбор мест расположения - в соответствии с маркировками изготовителя, например рассматривая конкретный образец термического исполнения пассивного ММТН, в зависимости от проводимых измерений, и т.д.).
Примечание - По договоренности между изготовителем и заказчиком может быть выбран другой метод измерения температуры (например, по изменению давления, изменению емкости), результатом которого является среднее значение температуры.
Для всех перечислений а), b), с) ММТН считается выдержавшим испытание в случае, если повышение температуры не превышает значений, приведенных в таблице 5 [1].
7.2.5 Испытания на электромагнитную совместимость (ЭМС)
7.2.5.2 Испытание на помехоустойчивость
Не применяется.
7.2.5.601 Испытание на устойчивость к эмиссии
Не применяется.
7.2.6 Испытание на точность
7.2.6.601 Общие положения
В настоящем стандарте применяют требования 7.2.6.601 [1] с нижеприведенным дополнением.
Поправочный коэффициент и угол фазового сдвига, обозначенные на табличке с техническими данными, должны быть применены для всех испытаний на соответствие классу точности [если отсутствует соответствующая маркировка на табличке, поправочный коэффициент принимают равным единице (CF U = 1)].
Если входное сопротивление эталонного измерительного оборудования не считается частью номинальной нагрузки, применяемой для проверки точности, изменение общей нагрузки, вызванное нагрузкой этого эталонного измерительного оборудования, не должно превышать ± 0,5 % номинальной.
7.2.6.602 Основные испытания на точность
7.2.6.602.1 Основные испытания на соответствие классу точности пассивного ММТН
В настоящем стандарте применяют требования 7.2.602.1 ГОСТ Р МЭК 61869-6-2021 с нижеприведенным дополнением.
Для подтверждения соответствия нормированному классу точности испытания следует проводить в каждой точке входного сигнала согласно перечню значений, указанных в 5.6 при номинальном значении частоты и температуры окружающей среды, если не указано иное.
Испытания должны проводиться при каждой из перечисленных в таблице 1105 нагрузок.
|
Сопротивление |
Емкость |
|
Номинальное значение |
Номинальное значение + 10 % |
|
Номинальное значение |
Номинальное значение - 10 % |
|
Номинальное значение + 5 % |
Номинальное значение |
|
Номинальное значение - 5 % |
Номинальное значение |
Сначала точность следует измерять в коротком промежутке времени (менее 0,05 от тепловой постоянной времени) при температуре окружающей среды с увеличением напряжения согласно значениям, указанным в таблицах 1101 и 1102.
Затем напряжение устанавливают на уровне номинального U pr и выдерживают до достижения установившегося температурного режима (стабилизации), после этого проводят повторное определение точности. Если ММТН имеет установленный ряд напряжений в диапазоне первичного напряжения, то для проведения данного испытания выбирают его максимальный уровень.
Погрешности должны находиться в пределах соответствующего класса точности как в случае применения определенного времени испытательного напряжения, так и после температурной стабилизации.
Изменения точности в ходе данных двух измерений должны быть зарегистрированы в протоколе испытаний в качестве характеристики испытуемого пассивного ММТН.
Примечания
1 Стабилизация наступает по истечении трехкратного увеличения тепловой постоянной времени, которая определяется производителем, либо в ходе испытаний на превышение температуры.
2 Это испытание допускается проводить в сочетании с испытанием на превышение температуры или в сочетании с испытанием на соответствие классу точности температурного цикла согласно 7.2.6.603.
7.2.6.605 Испытание на соответствие классу точности при замене компонентов
Не применяется.
7.2.6.1101 Испытание на зависимость от влияния электрического поля (помех) от других фаз
Испытание проводят для проверки влияния электрических полей (помех), воспроизводимых другими фазами, при номинальной частоте.
Это испытание следует проводить в конфигурации цепи, представляющей собой установку, как она будет применяться при эксплуатации. Испытание может быть проведено на трех фазах или на одной. Испытательная схема и метод испытания подробно описаны в приложении 11А.
7.2.6.1102 Испытание при воздействии загрязнения изоляции в результате длительной эксплуатации в условиях выпадения росы на поверхности загрязненной изоляции
Применимо для ММТН наружного исполнения.
Испытание проводят:
- при номинальной частоте;
- номинальной нагрузке;
- максимальном рабочем первичном напряжении.
Метод нанесения и характеристика загрязнения - согласно ГОСТ 10390. Рекомендуемым является метод предварительного загрязнения (ПЗ).
Измерения проводят во всех пространственных положениях ММТН, разрешенных заводом-изготовителем.
Разница между коэффициентами масштабного преобразования, определенными в начале испытаний без загрязнения и в результате воздействия загрязнением, отнесенная к номинальному коэффициенту масштабного преобразования, не должна превышать 1/5 доли погрешности соответствующего класса точности, указанного заводом-изготовителем. Разница между углами фазового сдвига должна быть ниже 1/3 доли угла фазового сдвига, соответствующего классу точности, указанного заводом-изготовителем.
7.2.6.1103 Испытание при длительном воздействии повышенной влажности
Испытание проводят:
- при номинальной частоте;
- номинальной нагрузке;
- максимальном рабочем первичном напряжении.
Исходя из вида климатического исполнения (согласно ГОСТ 15150) и максимальных температур эксплуатации, указанных производителем, режимы испытания определяют согласно таблице 2 ГОСТ Р 51369-99. В конце выдержки погрешность ММТН должна быть в пределах соответствующего класса точности.
Измерение погрешности необходимо проводить на последнем цикле при температуре в диапазоне 22 °С - 28 °С (метод 207-3 по ГОСТ Р 51369) после достижения теплового равновесия (выдержка не менее трех постоянных времени нагрева ММТН).
7.2.6.1104 Учет влияния ММТТ
Применимо для ММТН в составе комбинированного датчика.
1) Определяют погрешности по напряжению и фазе в ходе основного испытания на точность (см. 7.2.6.602) без пропускания тока.
2) Пропускают нормированный ток длительного нагрева. На высоте расположения первичных терминалов ММТТ должна быть сформирована токовая петля согласно рисунку 7.2.6.1104.
ММТН должен быть нагружен на номинальную нагрузку. В отсутствие напряжения на первичных выводах измеряют напряжение U V, индуцированное на вторичных выводах ММТН. Для каждого уровня напряжений подтверждаемого класса точности (таблицы 1101 и 1102) определяют максимально возможные отклонения коэффициента и сдвига фаз.

ИТ - источник тока
Примечание - ИТ не должен оказывать влияние на показания ММТН. Если в положении А есть влияние источника, его необходимо переместить в положение Б. В качестве расстояния а выбирают минимально допустимое расстояние по [4] для U m или предусмотренное конструкцией межфазное расстояние. Расстояние b должно быть 1,6 м при U m ≥ 72,5 кВ и ≥ 3а для U m ≤ 72,5 кВ.
Рисунок 7.2.6.1104 - Учет влияния ММТТ
Наибольшее изменение коэффициента, когда U V в фазе с U s:
,
(7)
где X - процентная доля рассматриваемого напряжения от номинального вторичного напряжения;
U sr - номинальное вторичное напряжение ММТН (В);
U V - измеренное напряжение на выходе ММТН (В).
Наибольшее изменение сдвига фаз возможно, если U V сдвинуто на 90° с U s:
±ΔφeV = ΔεV·34,4, в минутах, или
±ΔφeV = ΔεV, в сантирадианах.
Полученные погрешности суммированы с погрешностями, полученными на первом этапе (в отсутствие тока): ±ε'V = /εV / + /ΔεV / и ±Δφ'eV = φeV/+/ ΔφeV / не должны превышать пределы погрешностей ММТН, указанные в 5.6.1103.3 и 5.6.1104.3.
7.2.601 Испытание на устойчивость низковольтных компонентов к перенапряжению
В настоящем стандарте требования 7.2.601 ГОСТ Р МЭК 61869-6-2021 заменены следующими.
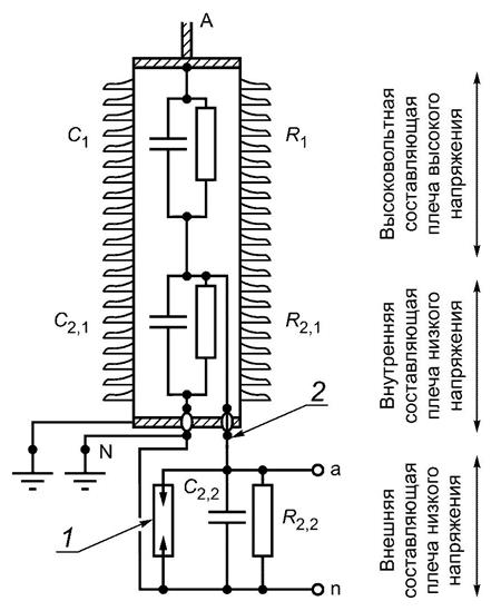
Низковольтный компонент пассивного ММТН представляет собой низковольтное резистивно-емкостное плечо делителей или емкостных делителей с U m > 72,5 кВ при размещении вне основного корпуса (внешняя низковольтная составляющая), как представлено на рисунке 1103.

1 - ограничитель перенапряжений; 2 - вывод промежуточного напряжения делителя
Рисунок 1103 - Резистивно-емкостной делитель с внешней составляющей плеча низкого напряжения вне основного корпуса
Для испытания внешней вторичной составляющей применяют пять положительных и пять отрицательных грозовых импульсов формы 1,2/50 мкс, при испытательном значении согласно 5.3.5, как представлено на рисунке 1104. Устройство для ограничения перенапряжения должно быть отключено. Это испытание проверяет способность выдержать напряжение готовой к эксплуатации внешней низковольтной составляющей части к заземлению.
Не допускается возникновение пробоя изоляции.
7.3.3 Испытание междусекционной изоляции на устойчивость к напряжению промышленной частоты
Не применяется.
7.3.4 Испытание вторичных выводов выдерживаемым напряжением промышленной частоты
В настоящем стандарте применяют требования 7.3.4 ГОСТ Р МЭК 61689-6-2021 с нижеследующим дополнением.
Если низковольтный ограничитель перенапряжения подключен к земле, то во время проведения данного испытания следует отключить его от земли.
В случае применения среднего напряжения (U m < 72,5 кВ) и при наличии внутренней гальванической связи между вторичным выводом n и землей данное испытание требуется только при проведении типовых испытаний. В этом случае подключение между вторичным выводом n и землей должно быть разомкнуто во время проведения испытания.
7.3.5 Испытание на соответствие классу точности
В настоящем стандарте применяют требования 7.3.5 ГОСТ Р МЭК 61689-6-2021 с нижеприведенным дополнением.
|
|
|
|
а) Внешняя низковольтная составляющая; с одним изолированным вводом |
b) Внешняя низковольтная составляющая с двумя изолированными вводами |
- источник питания для испытания;
- подключения должны быть разомкнуты во время испытания напряжением;
- возможное короткое замыкание во время испытания напряжением;
- оболочка (корпус)
Рисунок 1104 - Схемы подключения для испытания выдерживаемым напряжением внешней составляющей плеча низкого напряжения делителя
Приемо-сдаточные испытания на соответствие классу точности проводят только при номинальной нагрузке и температуре окружающей среды. Точность должна быть определена за короткий промежуток времени (менее 0,05 от тепловой постоянной времени), и измерение должно быть настроено с поправкой на прогрев, определяемой согласно 7.2.6.602 при типовых испытаниях.
Как измеренные, так и заданные погрешности должны находиться в пределах заявленного класса точности.
Примечание - Если температурные коэффициенты первичной и вторичной составляющих различны, точность после прогрева пассивного ММТН при эксплуатации может измениться.
7.3.1101 Измерение электрической емкости и тангенса угла диэлектрических потерь на промышленной частоте
Для пассивного ММТН с U m ≥ 72,5 кВ емкость С и tanδ при 10 % и 100 % первичного напряжения U pr измеряют до и после диэлектрического испытания при 10 % и 100 % U pr для того, чтобы выявить изменение емкости вследствие пробоя в одном или нескольких компонентах. Измерения следует проводить при номинальной частоте.
Емкость должна быть измерена при помощи метода, исключающего погрешности, возникающие по причине влияния гармоник и вспомогательных приборов измерительной цепи.
Примечание 1101 - При наличии вывода промежуточного напряжения, доступ к которому обеспечен, при оборудовании, смонтированном так, как оно будет установлено при эксплуатации, измеряются следующие величины:
a) емкость между линейным и низковольтным выводами или линейным выводом и землей;
b) емкость между промежуточным и низковольтным выводами или промежуточным выводом и землей.
Примечания
1 Для резистивных и резистивно-емкостных делителей измеряют только емкость.
2 Изменение емкости в зависимости от изменения температуры проверяют при испытаниях на соответствие классу точности с учетом температурного цикла согласно 7.2.6.603 ГОСТ Р МЭК 61689-6-2021.
7.3.1102 Измерение сопротивления
Для пассивного ММТН с U m ≥ 72,5 кВ, при наличии резистивной составляющей, сопротивление R 1 высоковольтного плеча должно быть измерено при 1000 В постоянного тока (± 10 %) до и после (диэлектрических) испытаний изоляции.
Сопротивление низковольтного плеча R 2 должно быть измерено после (диэлектрических) испытаний изоляции. Испытательное напряжение постоянного тока должно быть не ниже, но и не более чем в два раза превышать номинальное вторичное напряжение.
7.4.3 Измерение электрической емкости и тангенса угла диэлектрических потерь
В настоящем стандарте требования 7.4.3 ГОСТ Р МЭК 61689-6-2021 не применимы, так как для пассивных ММТН данные измерения относятся к приемо-сдаточным испытаниям (см. 7.3.1101).
7.4.1101 Измерения частотной характеристики
Частотная характеристика пассивного ММТН должна быть оценена в диапазоне частот согласно приложению 6А ГОСТ Р МЭК 61689-6-2021. Регистрируют погрешность масштабного преобразования и угол фазового сдвига. Амплитуда испытательного напряжения должна быть не ниже:
- 2,5 % номинального первичного напряжения - для U m < 72,5 кВ;
- 1000 - для U m ≥ 72,5 кВ.
Критерии приемлемости в отношении погрешности масштабного преобразования и угла фазового сдвига должны соответствовать приложению 6А ГОСТ Р МЭК 61689-6-2021.
Для классов точности, предназначенных для измерения (таблица 6А.2 ГОСТ Р МЭК 61869-6-2021), испытания следует проводить в диапазоне между 2-й и 13-й гармониками.
7.4.1102 Испытание в переходном режиме
7.4.1102.1 Общие положения
На соответствие требованиям 6.1101 проводят одно из следующих испытаний.
7.4.1102.2 Испытание на стойкость к короткому замыканию в первичной цепи
Для защитного пассивного ММТН вторичное напряжение измеряют при помощи регистратора переходных характеристик. После подачи первичного напряжения FV·Upr первичное напряжение замыкают. Пиковое значение вторичного напряжения должно быть ниже значения, нормированного в 6.1101.2.
7.4.1102.3 Испытание на устойчивость к переходной характеристики при помощи "ступеньки"
Для этого испытания пассивный ММТН должен быть смонтирован так, как он будет установлен при эксплуатации. Испытание на устойчивость к переходной характеристике при помощи "ступеньки" необходимо проводить с соответствующей номинальной нагрузкой и оригинальным силовым кабелем, если он имеется в комплектации.
Первичное испытательное напряжение должно быть U pr √2/√3 с точностью ± 3 % и представлять собой импульсную характеристику напряжения. Сигнал напряжения "ступеньки" может быть сгенерирован при помощи генератора импульсного напряжения.
Время нарастания фронта 1,2 мкс, ± 30 %, должно соответствовать стандартному грозовому импульсу согласно 7.2.7 ГОСТ 1516.2-97.
Время до полуспада 2500 мкс, ± 60 %, должно соответствовать стандартному коммутационному импульсу согласно 8.2.7 ГОСТ 1516.2-97.
Испытание следует проводить один раз в каждой полярности. В результате каждого измерения при данном испытании должны быть одновременно зарегистрированы обе формы волны испытуемого объекта - эталонная кривая и кривая с учетом переходной характеристики при помощи "ступеньки".
Первичное напряжение измеряют с помощью широкополосного эталонного делителя. Выходной сигнал этого эталонного делителя и выходное напряжение пассивного ММТН измеряют при помощи регистратора переходной характеристики.
Окончанием времени переходного процесса пассивного ММТН считают время, когда вторичный сигнал остается в нормированных пределах допуска Δus = 6 % (см. рисунок 1105). Время окончания переходного процесса пассивного ММТН должно быть ниже значения, указанного в 6.1101.3.

u p - напряжение на входе; u s1 - напряжение на выходе объекта исследования, периодическая функция; u s2 - напряжение на выходе объекта исследования, апериодическая функция; 2Δus - нормированный предел допуска; T sr1 - время переходного процесса, периодическая функция; T sr2 - время переходного процесса, апериодическая функция
Рисунок 1105 - Время переходного процесса пассивного ММТН
В настоящем стандарте применяют требования 601.1 ГОСТ Р МЭК 61869-6-2021 со следующей дополнительной таблицей:
|
Номинальная характеристика |
Аббревиатура (сокращение) |
Определение |
Структурный элемент |
|
Наибольшее рабочее напряжение для электрооборудования |
U m |
3.2.2 |
5.2 |
|
Номинальный класс изоляции |
- |
3.2.3 |
5.3 |
|
Условия эксплуатации |
- |
- |
4 |
|
Номинальная частота |
f r |
3.5.1 |
5.4 |
|
Номинальное первичное напряжение |
U pr |
3.2.601 |
5.1101.1 |
|
Номинальное вторичное напряжение |
U sr |
3.1.623 |
5.1101.2 |
|
Коэффициент номинального напряжения |
F V |
3.2.1101 |
5.1102 |
|
Номинальная нагрузка |
R br (сопротивление/ емкость) |
3.4.7 |
5.5.601 |
|
Класс точности |
- |
3.4.5 |
5.6.1101.1, 5.6.1101.2 |
|
Применение (например, автономный, КРУ, контакты или шина, вмонтированный прерыватель) |
- |
- |
- |
|
Поправочный коэффициент |
CF U |
3.4.1101 |
- |
|
Фазовое смещение |
φo |
3.4.603 |
- |
|
Поправка к фазовому смещению |
φo cor |
3.4.1103 |
- |
|
Примечание - Пользователю необходимо включить в заявку, следует ли учитывать для нормированного класса точности поправочный коэффициент и/или поправку смещения по фазе. | |||
Не применяется.
Примечание - В подразделе 601.2 ГОСТ Р МЭК 61869-6-2021 приведена ссылка на 6.606, требования которого в настоящем стандарте не применяют, в связи с тем, что пассивный ММТТ не имеет компонентов, которые будут заменены во время обслуживания.
Приложение 11А
(обязательное)
11А.1 Общие положения
Соседние фазы в трехфазной энергосистеме могут влиять на точность пассивного ММТН. Следующее испытание проводят для оценки влияния воздействия электрического поля при номинальной частоте, производимого соседними фазами в энергосистеме.
11А.2 Испытательная установка
Для этого испытания пассивный ММТН для КРУ должен быть смонтирован так, как он будет установлен при эксплуатации.
Пассивный ММТН для подстанций с воздушной изоляцией должен быть испытан при трехфазной конфигурации на подстанции. Если его невозможно испытать смонтированным в конфигурации, как он будет установлен при эксплуатации, то он должен быть испытан на испытательной установке, применяемой при испытании ММТН на подстанциях с воздушной изоляцией (см. рисунок 11А.1).

1 - металлическая стена; 2 - шина; 3 - объект испытания, испытуемое оборудование; 4 - изолирующая опора; 5 - ММТН; 6 - высоковольтный генератор; 7 - эталонный ТН; 8 - измерительный прибор; D - расстояние между фазами
Рисунок 11А.1 - Испытательная установка, применяемая при испытаниях пассивных ММТН, спроектированных для подстанций с воздушной изоляцией
Испытуемый пассивный ММТН размещают на испытательном поле на расстоянии от заземленной стенки, равном расстоянию между фазами энергосистемы, работающей при U m испытуемого пассивного ММТН. Длина стены должна быть равна расстоянию между двумя пассивными ММТН, и высота стены должна быть не менее 1,5-кратной высоты пассивного ММТН.
Второй пассивный ММТН такого же типа размещают на расстоянии, равном расстоянию между фазами энергосистемы при U m испытуемого пассивного ММТН. Металлический стержень длиной, равной расстоянию между двумя пассивными ММТН, закрепляют на втором пассивном ММТН.
Если пассивный ММТН сконструирован для совместного функционирования с другими комплектующими (такими как встроенные выключатели, вводы, выводы и др.), экран для обеспечения защиты от внешнего электрического поля при номинальной частоте может быть расположен внутри или обеспечиваться этими комплектующими. Если пассивный ММТН встроен в другое оборудование, испытуемым устройством является вся система в целом вместе со встроенным пассивным ММТН.
11А.3 Методы испытания
Для следующей двухэтапной процедуры испытания номинальное значение нагрузки для пассивного ММТН должно составлять:
- этап 1
Номинальное первичное напряжение подают на испытуемый пассивный ММТН. Второй пассивный ММТН и металлический стержень заземляют. Измерительное оборудование в составе эталонного делителя напряжения и измерительного прибора применяют для измерения векторов обоих напряжений на выходе эталонного делителя и испытуемого пассивного ММТН. Определяют действительный коэффициент масштабного преобразования, а также угол фазового сдвига пассивного ММТН;
- этап 2
Номинальное первичное напряжение подают на испытуемый пассивный ММТН и на металлический стержень. Измерительный прибор применяют для измерения векторов обоих напряжений на выходе эталонного делителя и испытуемого пассивного ММТН. Определяют действительный коэффициент масштабного преобразования, а также угол фазового сдвига пассивного ММТН.
Коэффициенты трансформации, а также углы фазового сдвига, определенные при проведении испытаний в рамках этапа 1 и этапа 2, сравнивают. Разницу между действительными коэффициентами трансформации, определенными при проведении испытаний в рамках этапа 1 и этапа 2, делят на действительный коэффициент масштабного преобразования, определенный на этапе 1, результат должен быть менее или равен 1/5-кратному значению коэффициента масштабного преобразования соответствующего класса точности, указанного заводом-изготовителем для испытуемого пассивного ММТН. Разница между углами фазового сдвига должна быть менее 1/3 угла фазового сдвига, соответствующего класса точности, указанного заводом-изготовителем для испытуемого пассивного ММТН. Например, для пассивного ММТН с нормированным классом точности 0,5, в соответствии с характеристиками точности, указанными в таблице 1101, разница между двумя коэффициентами трансформации должна составлять менее 0,1 %, разница между двумя углами фазового сдвига должна быть менее чем 7 мин/0,2 срад.
Приложение 11В
(справочное)
11В.1 Общие положения
В данном приложении определен класс точности пассивных ММТН, основанный на определении индивидуального поправочного масштабного коэффициента CF U, где U - обозначение напряжения. Преимущество определения класса точности, основанного на определении индивидуального поправочного масштабного коэффициента вместо традиционного номинального коэффициента масштабного преобразования K r, состоит в том, что более высокий класс точности может быть приписан для пассивного ММТН. Обозначение класса точности, основанное на номинальном коэффициенте масштабного преобразования, приведено в ГОСТ Р МЭК 61869-6-2021. Для разъяснения определена амплитудная погрешность (погрешность коэффициента масштабного преобразования), являющаяся погрешностью, которую ММТН вносит при измерении напряжения, и которая возникает в результате того, что действительный коэффициент масштабного преобразования отдельного ММТН не равен номинальному коэффициенту трансформации.
Технология производства традиционных измерительных и защитных устройств не является достаточно гибкой, чтобы принять действительный коэффициент масштабного преобразования отдельно взятого пассивного ММТН. Поэтому используют номинальный коэффициент масштабного преобразования, к которому относится целая группа ИТ с одинаковым классом точности. Поскольку действительный (фактический) коэффициент масштабного преобразования несколько отличается для каждого отдельно взятого пассивного ММТН, то класс точности следует определять так, чтобы охватить все ИТ одного класса, что приводит к понижению обозначения класса точности. Современные технологии позволяют эффективно использовать индивидуальный коэффициент масштабного преобразования пассивного ММТН для защитных, измерительных и контролирующих устройств. Это возможно путем применения поправочного коэффициента CF U вместе с номинальным коэффициентом трансформации или посредством применения скорректированного коэффициента масштабного преобразования K cor. Обозначение класса точности, основанного на поправочном коэффициенте или скорректированном коэффициенте масштабного преобразования, подтверждается фактическими испытаниями на соответствие классу точности, выполненными на пассивном ММТН такой же конструкции. Этот метод может быть также применен к любому типу измерительных трансформаторов.
Поправочный коэффициент CF U вычисляют по формуле
CFU = Kcor/Kr.
(11В.1)
Коэффициент CF U является отношением действительного коэффициента масштабного преобразования K cor при номинальном напряжении к номинальному коэффициенту масштабного преобразования K r.
Скорректированный коэффициент масштабного преобразования K cor вычисляют по формуле
Kcor = CFU ·Kr.
(11В.2)
В условиях реального применения защитные реле могут быть сконструированы либо для определения коэффициента масштабного преобразования K r, либо для поправочного коэффициента CF U, либо для скорректированного коэффициента масштабного преобразования K cor, либо в виде единого устройства, которое сочетает в себе одновременное определение K r, CF U.
На рисунке 11В.1 приведено улучшение класса точности для трех пассивных ММТН с учетом поправочного коэффициента CF U.
|
|
|
|
а) Определение класса точности при нормировании по номинальному коэффициенту масштабного преобразования |
б) Улучшение класса точности при учете поправочного коэффициента к номинальному коэффициенту масштабного преобразования |
1 - предел класса точности; 2 - предел более высокого класса точности; 3 - улучшенный предел класса точности с учетом поправочного коэффициента; 4 - предел класса точности с учетом номинального коэффициента масштабного преобразования; F V - коэффициент номинального напряжения
Рисунок 11В.1 - Улучшение класса точности, основанное на индивидуальном поправочном коэффициенте CFU
11В.2 Обозначение класса точности пассивных ММТН, нормированных для номинального коэффициента масштабного преобразования
Погрешность коэффициента масштабного преобразования ε для аналогового выхода вычисляют по формуле (2) настоящего стандарта.
11В.3 Обозначение класса точности пассивных ММТН, нормированных для индивидуального поправочного коэффициента
Погрешность с учетом поправочного коэффициента CF U называют погрешностью скорректированного коэффициента масштабного (εcorU) преобразования и вычисляют при помощи формулы раздела 3.4.1105:
.
(11B.3)
Отличием от формулы (2) является то, что вместо номинального коэффициента масштабного преобразования K r здесь применяют поправочный коэффициент CF U.
Приложение 11С
(справочное)
На рисунке 11С.1 представлены типы делителей, разделенных по принципу функционирования, на которые распространяется настоящий стандарт.
|
|
|
|
|
|
а) Резистивный делитель |
b) Емкостной делитель |
с) Резистивно-емкостной делитель |
d) Емкостно-резистивный делитель с пассивным интегратором |
Рисунок 11С.1 - Принципы функционирования делителей
Приложение ДА
(справочное)
Таблица ДА.1
|
Обозначение ссылочного национального стандарта |
Степень соответствия |
Обозначение и наименование ссылочного международного стандарта |
|
ГОСТ 1516.2-97 |
NEQ |
IEC 60060-1:1989 "Методы испытаний высоким напряжением. Часть 1. Общие определения и требования к испытаниям" |
|
ГОСТ Р МЭК 61869-6-2021 |
IDT |
IEC 61869-6:2016 "Трансформаторы измерительные. Часть 6. Дополнительные общие требования к маломощным измерительным трансформаторам (преобразователям)" |
|
Примечание - В настоящей таблице использованы следующие условные обозначения степени соответствия стандартов: IDT - идентичные стандарты; NEQ - неэквивалентные стандарты. | ||
Библиография
|
[1] |
МЭК 61869-1 |
Трансформаторы измерительные. Часть 1. Общие требования (Instrument transformers - Part 1: General requirements) |
|
[2] |
МЭК 61869-7 |
Трансформаторы измерительные. Часть 7. Дополнительные требования к электронным трансформаторам напряжения (Instrument transformers - Part 7: Additional requirements for electronic voltage transformers) |
|
[3] |
МЭК 60038 |
Напряжения стандартные по МЭК (IEC standard voltages) |
|
[4] |
ПУЭ |
Правила устройства электроустановок. Издание 7. Утверждено Министерством энергетики Российской Федерации, приказ от 8 июля 2002 г. N 204 |










