ГОСТ Р 58773-2019 (ИСО 19901-7:2013) НЕФТЯНАЯ И ГАЗОВАЯ ПРОМЫШЛЕННОСТЬ. СООРУЖЕНИЯ НЕФТЕГАЗОПРОМЫСЛОВЫЕ МОРСКИЕ. СИСТЕМЫ ПОЗИЦИОНИРОВАНИЯ ПЛАВУЧИХ СООРУЖЕНИЙ
Petroleum and natural gas industry. Offshore oil and gas field structures. Stationkeeping systems for floating structures
ОКС 75.180.10
ОКПД2 30.11.4
Дата введения - 1 сентября 2020 г.
Введен впервые
Предисловие
1 Подготовлен Филиалом Общества с ограниченной ответственностью "ЛУКОЙЛ-Инжиниринг" "ВолгоградНИПИморнефть" в г. Волгограде на основе официального перевода на русский язык англоязычной версии указанного в пункте 4 стандарта, который выполнен ФГУП "Стандартинформ"
2 Внесен Техническим комитетом по стандартизации ТК 23 "Нефтяная и газовая промышленность"
3 Утвержден и введен в действие Приказом Федерального агентства по техническому регулированию и метрологии от 18 декабря 2019 г. N 1411-ст
4 Настоящий стандарт является модифицированным по отношению к международному стандарту ИСО 19901-7:2013 "Промышленность нефтяная и газовая. Специальные требования, предъявляемые к морским платформам. Часть 7. Системы удержания плавучих морских платформ и передвижных морских оснований" (ISO 19901-7:2013 "Petroleum and natural gas industries - Specific requirements for offshore structures - Part 7: Stationkeeping systems for floating offshore structures and mobile offshore units", MOD) путем внесения технических отклонений, объяснение которых приведено во введении к настоящему стандарту.
Сведения о соответствии ссылочных национальных стандартов международным стандартам, использованным в качестве ссылочных в примененном международном стандарте, приведены в дополнительном приложении ДА.
Сопоставление структуры настоящего стандарта со структурой указанного международного стандарта приведено в дополнительном приложении ДБ
5 Введен впервые
Введение
Настоящий стандарт разработан в дополнение к комплексу действующих национальных стандартов в области морской нефтегазодобычи, устанавливающих требования к проектированию и строительству морских нефтегазопромысловых сооружений.
Формирование комплекса стандартов по морским нефтегазопромысловым сооружениям, в соответствии с основами национальной стандартизации и принципами гармонизации документов национальной системы стандартизации с международной, осуществляется на основе применения международных стандартов, отражающих передовой зарубежный опыт, лучшие мировые практики и современные методики проектирования. При этом для повышения научно-технического уровня комплекса национальных стандартов, учета особенностей объекта и аспекта стандартизации, которые характерны для Российской Федерации в силу климатических и географических факторов, а также для учета накопленного отечественного опыта проектирования, строительства и эксплуатации морских нефтегазопромысловых сооружений техническое содержание национальных стандартов модифицировано по отношению к применяемым международным стандартам.
При разработке настоящего стандарта также использована модифицированная форма применения международного стандарта, которая определена необходимостью внесения технических отклонений, изменения структуры и их идентификации.
Целью разработки настоящего стандарта является обеспечение безопасности при выполнении работ по освоению морских месторождений, расположенных на континентальном шельфе (в том числе на акваториях с ледовым режимом), во внутренних морских водах, в территориальном море, прилежащей зоне Российской Федерации и в российском секторе Каспийского моря, за счет установления требований и принципов в отношении выбора, оценки и проектирования систем позиционирования плавучих морских нефтегазопромысловых сооружений.
Настоящий стандарт является модифицированным по отношению к международному стандарту ИСО 19901-7:2013 "Промышленность нефтяная и газовая. Специальные требования к морским платформам. Часть 7. Системы удержания плавучих морских платформ и передвижных морских оснований" и разработан в развитие требований нормативных положений основополагающего ГОСТ Р 54483-2011 (ИСО 19900:2002) "Нефтяная и газовая промышленность. Платформы морские для нефтегазодобычи. Общие требования".
Положения, учитывающие особенности национальной стандартизации и специфику национальной практики в области эксплуатации систем позиционирования плавучих сооружений, проектирования и строительства морских нефтегазопромысловых сооружений, приведены в дополнительных пунктах 8.2.8 "Морской лед", 8.3.3.1.1 "Управление ледовой обстановкой" и терминологических статьях: 3.2 "верхнее строение", 3.4 "грунт морского дна", 3.6 "класс сооружения по требованиям стойкости к внешним воздействиям", 3.11 "мобильное морское нефтегазопромысловое сооружение", 3.12 "морское дно", 3.13 "номинальное значение", 3.18 "плавучий нефтегазодобывающий комплекс", 3.19 "поверхность морского дна", 3.26 "репрезентативное значение", 3.31 "система управления конструктивной целостностью", 3.32 "состояние резервного функционирования", 3.35 "судно технического флота", 3.38 "частота дискретизации", 3.40 "элемент системы позиционирования", 3.41 "якорная линия".
Эти дополнительные положения заключены в рамки из тонких линий. Пункт 8.2.8 добавлен в связи с необходимостью учета при проектировании систем позиционирования природно-климатических особенностей расположения континентального шельфа Российской Федерации, связанной с низкими температурами окружающей среды и наличием льда на акватории установки МНГС. Пункт 8.3.3.1.1 включен в целях учета при проектировании систем позиционирования, эксплуатирующихся на акваториях с ледовым режимом, систем управления ледовой обстановкой, обеспечивающих снижение интенсивности или полного исключения воздействий на якорные линии и удерживаемые плавучие морские нефтегазопромысловые сооружения со стороны ледяных образований. Терминологические статьи 3.2, 3.4, 3.6, 3.11, 3.12, 3.13, 3.18, 3.19, 3.26, 3.31, 3.32, 3.35, 3.38, 3.40 и 3.41 добавлены, поскольку определяемые термины находят применение в настоящем стандарте.
Для улучшения понимания пользователями некоторых положений настоящего стандарта, а также для учета требований российских нормативных правовых актов, нормативно-технических документов и отечественной специфики проектирования, строительства и эксплуатации морских нефтегазопромысловых сооружений в текст внесены изменения и дополнения, выделенные полужирным курсивом.
Настоящий стандарт устанавливает требования, предъявляемые к выбору, оценке, анализу и проектированию, с учетом условий площадок установки, систем позиционирования плавучих морских нефтегазопромысловых сооружений, устанавливаемых на континентальном шельфе (в том числе на акваториях с ледовым режимом), во внутренних морских водах, в территориальном море, прилежащей зоне Российской Федерации и в российском секторе Каспийского моря. Также требования настоящего стандарта могут применяться к системам позиционирования судов технического флота (см. 3.35), использующихся при обустройстве и эксплуатации морских месторождений углеводородов.
Настоящий стандарт распространяется:
a) на стационарные системы позиционирования плавучих морских нефтегазопромысловых сооружений, размещаемых на месторождении на весь период его эксплуатации и имеющих следующие функции:
- бурение;
- добыча;
- технологическая подготовка;
- хранение и отгрузка продукции скважин;
- размещение персонала;
- прочее (возможно совмещение различных функций на одном сооружении);
b) мобильные системы позиционирования мобильных морских нефтегазопромысловых сооружений и судов технического флота.
Настоящий стандарт применим ко всем аспектам жизненного цикла систем позиционирования и включает требования, относящиеся к производству элементов систем, а также содержит рекомендации по техническому контролю в процессе эксплуатации.
Настоящий стандарт распространяет свои требования на следующие типы систем позиционирования:
- пространственные системы позиционирования (системы с провисающими якорными линиями и системы с натянутыми якорными линиями);
- системы позиционирования одноточечных плавучих причалов (удержание морского одноточечного плавучего причала пространственной системой позиционирования);
- системы динамического позиционирования (удержание при помощи работы движителей и средств активного управления);
- комбинированные системы (удержание при помощи совместной работы якорных линий и средств активного управления).
Описание характеристик и стандартных элементов данных систем представлено в приложении А.
В настоящем стандарте основные требования сформулированы для пространственных систем позиционирования и систем позиционирования одноточечных плавучих причалов с якорными линиями из стальных цепей и стальных канатов. При этом стандарт содержит требования по применению в системах позиционирования якорных линий из волоконных синтетических канатов, а также дополнительные требования к свойствам волоконных синтетических канатов.
Настоящий стандарт также может распространяться на системы позиционирования с одной якорной линией и другие системы позиционирования одноточечных плавучих причалов, при условии, что эти требования применимы.
Действие настоящего стандарта не распространяется на натяжные связи систем позиционирования плавучих морских нефтегазопромысловых сооружений и опорные колонны самоподъемных плавучих буровых платформ.
Изложенные в стандарте методологии последовательного анализа систем позиционирования плавучих сооружений * с учетом гидрометеорологических условий площадки установки, характеристик плавучего сооружения, а также других факторов могут использоваться для определения соответствия проектируемых систем позиционирования функциональным требованиям настоящего стандарта.
──────────────────────────────
* Для удобства пользования настоящим стандартом здесь и далее по тексту под плавучими сооружениями следует понимать плавучие морские нефтегазопромысловые сооружения и суда технического флота.
──────────────────────────────
При проектировании, строительстве и эксплуатации систем позиционирования под техническим наблюдением Российского морского регистра судоходства в дополнение к требованиям настоящего стандарта следует выполнять требования [1] и [2].
В настоящем стандарте использованы нормативные ссылки на следующие стандарты:
ГОСТ 34233.1 Сосуды и аппараты. Нормы и методы расчета на прочность. Общие требования
ГОСТ Р 54483-2011 (ИСО 19900:2002) Нефтяная и газовая промышленность. Платформы морские для нефтегазодобычи. Общие требования
ГОСТ Р 55311 Нефтяная и газовая промышленность. Сооружения нефтегазопромысловые морские. Термины и определения
ГОСТ Р 57148 (ИСО 19901-1:2015) Нефтяная и газовая промышленность. Сооружения нефтегазопромысловые морские. Проектирование и эксплуатация с учетом гидрометеорологических условий
ГОСТ Р 57555 (ИСО 19901-3:2014) Нефтяная и газовая промышленность. Сооружения нефтегазопромысловые морские. Верхние строения
Примечание - При пользовании настоящим стандартом целесообразно проверить действие ссылочных стандартов в информационной системе общего пользования - на официальном сайте Федерального агентства по техническому регулированию и метрологии в сети Интернет или по ежегодному информационному указателю "Национальные стандарты", который опубликован по состоянию на 1 января текущего года, и по выпускам ежемесячного информационного указателя "Национальные стандарты" за текущий год. Если заменен ссылочный стандарт, на который дана недатированная ссылка, то рекомендуется использовать действующую версию этого стандарта с учетом всех внесенных в данную версию изменений. Если заменен ссылочный стандарт, на который дана датированная ссылка, то рекомендуется использовать версию этого стандарта с указанным выше годом утверждения (принятия). Если после утверждения настоящего стандарта в ссылочный стандарт, на который дана датированная ссылка, внесено изменение, затрагивающее положение, на которое дана ссылка, то это положение рекомендуется применять без учета данного изменения. Если ссылочный стандарт отменен без замены, то положение, в котором дана ссылка на него, рекомендуется применять в части, не затрагивающей эту ссылку.
В настоящем стандарте применены термины по ГОСТ Р 55311, а также следующие термины с соответствующими определениями:
3.1 верификация (verification): Комплекс мероприятий по определению и оценке фактических значений контролируемых параметров, характеризующих работоспособность объекта проверки и определяющих возможность его дальнейшей эксплуатации, реконструкции или необходимость восстановления, усиления, ремонта.
|
3.2 верхнее строение (topside): Конструкции и оборудование, установленные на опорную часть, обеспечивающие функционирование морского нефтегазопромыслового сооружения по его назначению. Примечания 1 Для плавучих сооружений палуба не является частью верхнего строения. 2 Для самоподъемной плавучей буровой установки корпус не является частью верхнего строения. 3 Отдельно изготовленная несущая палуба является частью верхнего строения. |
3.3
|
воздействие (action): Явление, вызывающее внутренние силы в элементах конструкции. [ГОСТ Р 54483-2011, статья 3.6] |
3.4
|
грунт морского дна (seabed soil): Грунт, составляющий верхний слой морского дна. [ГОСТ 23634-83, статья 49] |
3.5 динамическое воздействие (dynamic action): Воздействие, которое вызывает существенные ускорения сооружения или его конструктивных элементов.
|
3.6 класс сооружения по требованиям стойкости к внешним воздействиям (exposure level): Система классификации, устанавливающая требования для сооружений, основанная на рассмотрении последствий разрушения сооружений на безопасность жизни, окружающей среды и экономических потерь. |
3.7
|
конструкция (structure): Организованная комбинация соединенных между собой элементов, выполняющих несущие, оградительные либо совмещенные функции. [ГОСТ Р 54483-2011, статья 3.13] |
3.8 комбинированная система позиционирования (thruster-assisted stationkeeping system): Система позиционирования, в которой непрерывное удержание плавучего сооружения над заданной точкой обеспечивается совместной работой якорных линий и средств активного управления.
3.9 минимальное разрывное усилие (minimum breaking strength): Минимальный предел механического напряжения, выше которого происходит разрушение материала изделия.
3.10 мобильная система позиционирования (mobile stationkeeping system): Система позиционирования плавучего сооружения, временно устанавливаемого на месторождении.
|
3.11 мобильное морское нефтегазопромысловое сооружение (mobile offshore structure): Плавучее или стационарное морское нефтегазопромысловое сооружение, временно используемое для выполнения работ по обустройству и (или) эксплуатации месторождения. Примечание - Мобильные морские нефтегазопромысловые сооружения используют для выполнения геологоразведочных, буровых, строительно-монтажных работ, ремонтно-технических работ в скважинах и т.д. 3.12 морское дно (seabed): Часть поверхности земной коры, находящаяся в пределах моря ниже его уровня. 3.13 номинальное значение (nominal value): Значение, присваиваемое (назначаемое) базовой переменной, определяемое на основе эксперимента или физических условий. |
3.14 нормативное значение (characteristic value): Значение, устанавливаемое нормативными документами или принятое по репрезентативному значению.
3.15 ожидаемое значение (expected value): Статистический момент первого порядка плотности распределения вероятности для рассматриваемой переменной, который в случае параметра с временной зависимостью может быть ассоциирован с конкретным базовым периодом.
3.16 период повторяемости (return period): Средний период времени между возникновениями события или случаями превышения какого-либо значения.
Примечание - Как правило, для природных явлений используется период повторяемости, измеряемый в годах. Период повторяемости в годах равен величине, обратной годовой вероятности превышения события.
3.17 плавучее сооружение (floating structure): Объемная строительная конструкция, способная перемещаться по воде в надводном или подводном положении.
|
3.18 плавучий нефтегазодобывающий комплекс (floating oil and gas production complex): Морское плавучее сооружение судовой, понтонной или иной формы с устройствами удержания на точке эксплуатации, предназначенное для осуществления одной или нескольких функций: добычи, приема, хранения, подготовки и отгрузки продукции. 3.19 поверхность морского дна (sea floor): Поверхность контакта толщи воды и грунтового основания. |
3.20 предельное состояние (limit state): Состояние, при котором сооружение в целом или его элементы перестают удовлетворять заданным эксплуатационным требованиям (расчетным критериям), требованиям при производстве работ (строительстве) или находятся в состоянии, при котором их дальнейшая эксплуатация недопустима или нецелесообразна, либо восстановление их работоспособного состояния невозможно или нецелесообразно.
3.21 признанное классификационное общество (recognized classification society): Член Международной ассоциации классификационных обществ, имеющий признанную и соответствующую компетенцию и опыт работ с плавучими сооружениями для морских операций в соответствии с общепринятыми правилами и процедурами, применяемыми в морской нефтегазодобыче.
3.22 пространственная система позиционирования (spread station keeping system): Система позиционирования, в которой непрерывное удержание плавучего сооружения над заданной точкой обеспечивается необходимым количеством якорных линий, коренные концы которых закреплены к сооружению, а якорные концы к якорям, установленным на поверхность морского дна или заглубленным в грунт морского дна.
3.23 расчетная ситуация (design situation): Учитываемый в расчете комплекс возможных условий, определяющих расчетные требования к строительным конструкциям, системам инженерно-технического обеспечения и частям указанных конструкций и систем.
3.24 расчетный критерий предельных состояний (design criteria for limit state): Соотношение, определяющее условие реализации предельного состояния.
3.25
|
расчетный срок службы (design service life): Принятый период времени, в течение которого конструкцию будут использовать по назначению с предусмотренным техническим обслуживанием. [ГОСТ Р 54483-2011, статья 3.30] |
|
3.26 репрезентативное значение (representative value): Одно из множества значений, наиболее близко характеризующее необходимый параметр, используемый при расчетах по предельным состояниям. |
3.27 система динамического позиционирования (dynamic positioning system): Система позиционирования, в которой непрерывное удержание плавучего сооружения над заданной точкой обеспечивается работой движителей и средств активного управления.
3.28 система позиционирования (stationkeeping system): Система непрерывного удержания плавучего сооружения над заданной точкой, в том числе с заданным курсом, ограничением перемещений в заданных пределах и обеспечением условий для выполнения технологических процессов при помощи якорей, якорных линий, натяжных связей, работы средств активного управления или комбинацией указанных способов.
3.29 система позиционирования с натянутыми якорными линиями (taut-line stationkeeping system): Пространственная система позиционирования, в которой непрерывное удержание плавучего сооружения над заданной точкой обеспечивается за счет упругой деформации предварительно натянутых якорных линий.
3.30 система позиционирования с провисающими якорными линиями (catenary stationkeeping system): Пространственная система позиционирования, в которой непрерывное удержание плавучего сооружения над заданной точкой обеспечивается распределенной массой якорных линий.
|
3.31 система управления конструктивной целостностью (structural integrity management system): Совокупность организационно-управленческой структуры, средств, процессов, ресурсов и персонала, обеспечивающих управление конструктивной целостностью в течение расчетного срока службы сооружения и его элементов. 3.32 состояние резервного функционирования (redundancy check condition): Состояние выполнения сооружением требуемых функций за счет работы резервных элементов в условиях отказа и неисправностей части основных элементов. |
3.33 статистически значимое значение (significant value): Значение, вероятность случайного возникновения которого или еще более крайних величин ничтожно мала.
3.34 стационарная система позиционирования (permanent stationkeeping system): Система позиционирования плавучего сооружения, устанавливаемого на месторождении на весь период его эксплуатации.
|
3.35 судно технического флота (technical fleet vessel): Судно, предназначенное для выполнения строительно-монтажных и (или) ремонтных работ при обустройстве, эксплуатации, ликвидации объектов обустройства месторождения. |
3.36 техническое обслуживание (maintenance): Комплекс мероприятий, выполняемых в течение расчетного срока службы сооружения (конструкции) для обеспечения его пригодности к использованию.
3.37 пригодность к использованию (fit-for-purpose): Соответствие требованиям действующих нормативных документов с учетом обеспечения общей целостности, безопасности эксплуатации и охраны окружающей среды.
|
3.38 частота дискретизации (sampling rate): Число отсчетов измеряемого сигнала в единицу времени. |
3.39
|
эффект воздействия (action effect): Реакция (внутренние усилия, напряжения, перемещения, деформации) строительных конструкций на внешние воздействия. [ГОСТ 27751-2014, статья 2.2.14] |
|
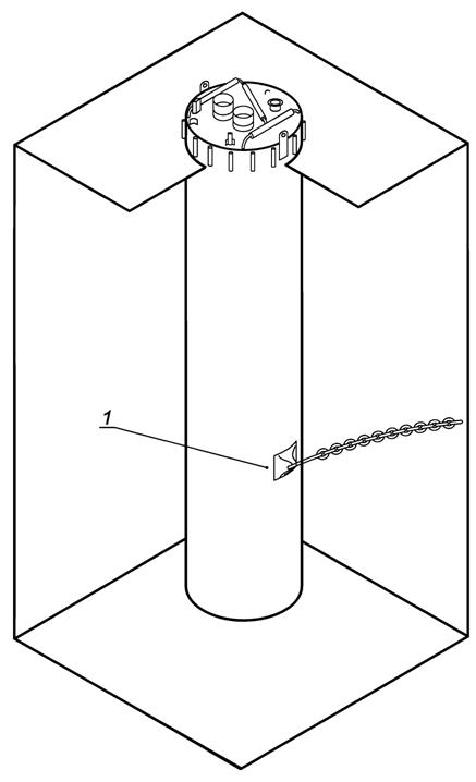
3.40 элемент системы позиционирования (stationkeeping system component): Устройство, входящее в совокупность взаимосвязанных устройств, используемых для наведения и удержания плавучих сооружений с требуемой ориентацией и точностью над заданной точкой. 3.41 якорная линия (anchor line): Элемент системы позиционирования, состоящий из цепи или каната, соединительных звеньев, амортизирующих буев и стабилизирующих грузов, предназначенный для соединения плавучего сооружения с якорем, установленным на поверхность морского дна или заглубленным в грунт морского дна. |
В настоящем стандарте использованы следующие обозначения:
С - коэффициент (безразмерный, если не указано иное);
D - годовое усталостное повреждение, год-1;
d - диаметр кантата или калибр цепи якорной линии, м;
F - прямое воздействие, Н, либо прямое воздействие на единицу длины, Н/м;
f - частота, Гц;
K - постоянная усталости (безразмерная, если не указано иное);
k - осевая жесткость, Н/м;
L - расчетный срок службы, лет;
l - длина, м;
М - масса, кг;
m - обратный уклон кривых усталости T-N или S-N;
N - общее количество допустимых циклов;
n - количество циклов в год, год-1;
Р - вероятность возникновения события;
S - перемещение, м;
SR - размах напряжений, МПа;
s - стандартное отклонение;
Т - натяжение, Н, или безразмерный диапазон натяжения;
t - время, период или продолжительность, с;
v - скорость, м/с;
W - вес погруженной части элемента системы позиционирования, Н, или вес на единицу длины, Н/м;
Г - гамма-функция;
γ - расчетный коэффициент безопасности;
δ - параметр частотного диапазона применительно к частоте волн;
ε - годовая ползучесть металла, % в год;
σ - отношение стандартного отклонения вариантов натяжения от среднего значения к эталонному разрывному усилию;
ρ - плотность, кг/м3.
В настоящем стандарте использованы следующие сокращения:
ИМО - международная морская организация;
МНГС - морское нефтегазопромысловое сооружение;
НПА - необитаемый подводный аппарат;
ПКО - признанное классификационное общество;
ПНК - плавучий нефтегазодобывающий комплекс;
ППБУ - полупогружная плавучая буровая установка;
РМРС - Российский морской регистр судоходства;
ALS (accidental limit state) - предельное состояние по критериям аномальных воздействий и аварийных ситуаций;
ASTM (American society for testing and materials) - Американское общество по материалам и их испытаниям;
CALM (catenary anchor leg mooring) - одноточечный плавучий причал с провисающими якорными линиями;
DSS (direct simple shear) - прямой простой сдвиг;
FLS (fatigue limit state) - предельное состояние по критерию усталостной прочности;
FMEA (failure modes and effects analysis) - анализ видов и последствий отказов;
FOS (factor of safety) - коэффициент безопасности;
FPSO (floating production, storage and offloading unit) - ПНК, предназначенный для приема, подготовки, хранения и отгрузки продукции;
FSO (floating storage and offloading unit) - ПНК, предназначенный для приема, хранения и отгрузки продукции);
IMCA (International Marine Contractors Association) - Международная ассоциация морских подрядчиков;
MDS (mooring design states) - расчетные состояния системы позиционирования;
SALM (single anchor leg mooring) - одноточечный плавучий причал с одной якорной линией;
SEPLA (suction embedded plate anchor) - плитовидный якорь, заглубляемый вакуумным толкателем;
SLS (serviceability limit state) - предельное состояние по критериям пригодности к нормальной эксплуатации;
ULS (ultimate limit state) - предельное состояние по критериям несущей способности.
Назначением системы позиционирования является удержание плавучего сооружения над заданной точкой с ограничением перемещений в заданных пределах и обеспечением нормальных условий для выполнения технологических процессов.
Ограничения по горизонтальным перемещениям и ориентации плавучего сооружения устанавливаются заказчиком в задании на проектирование или определяются при проектировании системы позиционирования в целях обеспечения:
- безопасности персонала;
- защиты окружающей среды;
- устойчивости и эксплуатационной надежности плавучего сооружения;
- эксплуатационной надежности оборудования верхних строений;
- целостности и эксплуатационной надежности буровых, добывающих, транспортных или других типов райзеров;
- зазоров безопасности до расположенных рядом других сооружений и обеспечения доступа подводным и надводным частям сооружений для контроля и осмотра;
- иных требований к позиционированию плавучих сооружений.
Соответствие проектируемой системы позиционирования указанным требованиям обеспечивают применением методов последовательного анализа, изложенных в разделах 9 и 10, и удовлетворением расчетных критериев, представленных в разделе 11. Внешние воздействия на плавучее сооружение, вызывающие эффекты воздействия, такие как натяжение якорных линий, перемещение сооружения и усилия на якорях, должны быть оценены для всех допустимых расчетных ситуаций и сопоставлены с сопротивлением системы позиционирования и ее элементов для определения запаса прочности сопротивления разрыву якорных линий, исключения превышения допустимых перемещений сооружения, сползания якорей или возникновения других нежелательных событий.
Дополнительная информация и рекомендации приведены в А.5.1 (приложение А).
Безопасность жизни и здоровья персонала, сохранность имущества и охрана окружающей среды должны быть основными принципами проектирования систем позиционирования и обеспечиваться выполнением следующих мероприятий:
- проектированием и оценкой систем позиционирования с учетом воздействий окружающей среды или других внешних воздействий, которые могут возникнуть в период расчетного срока службы плавучих сооружений и систем их позиционирования;
- проектированием и оценкой систем позиционирования с учетом условий площадки установки в период постановки судов технического флота;
- разработкой безопасных процедур эксплуатации в целях выявления и минимизации рисков травматизма персонала;
- идентификацией и оценкой вероятных опасных событий и снижения их последствий;
- выполнением оценки риска для исключения возможных отказов, создающих угрозу жизни персонала или нарушению конструктивной целостности;
- выполнением требований безопасности, изложенных в [3].
Данные мероприятия выполняют при проектировании систем позиционирования, их оценке, а также при разработке принципов их эксплуатации.
Дополнительная информация и рекомендации приведены в А.5.2 (приложение А).
Работы в области инжиниринга выполняют до начала работ по проектированию или оценке систем позиционирования в целях обеспечения способности системы выполнять свое назначение в соответствии с функциональными требованиями, изложенными в 6.1. Инжиниринг должен включать определение всех условий и критериев в соответствии с общими требованиями и условиями, изложенными в ГОСТ Р 54483.
В дополнение к требованиям, изложенным в 6.3, на этапе планирования разрабатывают и документируют основополагающие принципы инспектирования и технического обслуживания, обеспечивающие поддержание конструктивной целостности систем позиционирования и их эксплуатационной надежности на протяжении расчетного срока службы. Оценку способности систем позиционирования выполнять свое функциональное назначение подтверждают посредством проведения инспектирования и технического обслуживания. Требования к инспектированию и техническому обслуживанию представлены в разделе 13.
Последовательный анализ систем позиционирования следует выполнять по методикам, изложенным в настоящем стандарте. Реализация методик анализа также может быть выполнена на базе апробированных программных комплексов с подтвержденными результатами данных.
7.1.1 Общие сведения
Определение соответствующих расчетных ситуаций и расчетных критериев для конкретных плавучих сооружений, имеющих различные габаритные размеры, уровни технической и технологической сложности, функциональное назначение, численность размещаемого персонала, возможные опасности и т.д., должно осуществляться согласно концепции классов сооружений по требованиям стойкости к внешним воздействиям.
В соответствии с данной концепцией плавучее сооружение, размещенное на конкретной площадке установки, характеризуется определенным классом сооружения по требованиям стойкости к внешним воздействиям. Каждому классу сооружения по требованиям стойкости к внешним воздействиям соответствуют расчетные ситуации и расчетные критерии применительно к назначению данного сооружения.
Для конкретного плавучего сооружения класс по требованиям стойкости к внешним воздействиям определяется с учетом безопасности жизнедеятельности персонала и последствий возможных отказов. Безопасность жизнедеятельности напрямую зависит от расчетной численности персонала, обслуживающего сооружение, в условиях эксплуатационных параметров окружающей среды. Последствия возможных отказов относятся к потенциальному риску, создающему угрозу жизни персонала при возникновении опасного события, потенциальному риску нанесения ущерба окружающей среде и потенциальному риску экономических потерь.
Описываемая концепция классов сооружений по требованиям стойкости к внешним воздействиям и представленные формулировки распространяются только на плавучие морские нефтегазопромысловые сооружения, представленные в перечислении а) раздела 1.
Определение классов сооружений по требованиям стойкости к внешним воздействиям применительно к плавучим сооружениям изложено в [3].
Дополнительная информация и рекомендации приведены в А.6.1 (приложение А).
7.1.2 Классы систем позиционирования по требованиям стойкости к внешним воздействиям
Классы стационарных систем позиционирования по требованиям стойкости к внешним воздействиям не принимают ниже классов плавучих сооружений по требованиям стойкости к внешним воздействиям, удерживаемых данными системами.
7.2.1 Общие сведения
Общие принципы проектирования МНГС представлены в ГОСТ Р 54483. Эксплуатационные характеристики МНГС в целом или его частей проверяют на определенные предельные состояния, при превышении которых конструкция перестает удовлетворять расчетным требованиям.
Для каждого предельного состояния определяют соответствующие расчетные ситуации, модели расчетов, расчетные критерии и выполняют адекватные процедуры с целью верификации соответствия требованиям к проектированию.
7.2.2 Предельные состояния для систем позиционирования
При проектировании рассматривают четыре категории предельных состояний в соответствии с требованиями ГОСТ Р 54483:
- ULS - предельные состояния по критериям несущей способности;
- SLS - предельные состояния по критериям пригодности к нормальной эксплуатации;
- FLS - предельные состояния по критериям усталостной прочности;
- ALS - предельные состояния по критериям аномальных воздействий и аварийных ситуаций.
Дополнительная информация и рекомендации приведены в А.6.2.2 (приложение А).
Для обеспечения функционирования систем позиционирования на протяжении расчетного срока службы при определении расчетных ситуаций должны быть учтены:
- функциональное назначение системы позиционирования;
- эксплуатационные требования к системе позиционирования;
- расчетный срок службы;
- опасные факторы, которые могут угрожать системе позиционирования и плавучему сооружению, которое она удерживает;
- потенциальные последствия частичного или полного отказа системы позиционирования;
- природно-климатические особенности расположения площадки установки.
7.4.1 Общие сведения
Определение и использование параметров гидрометеорологических условий площадки установки для проектирования систем позиционирования осуществляют в соответствии с требованиями настоящего пункта стандарта и нормативных положений ГОСТ Р 54483 и ГОСТ Р 57148.
Расчетные ситуации должны включать в себя все требования по техническому обслуживанию и эксплуатации, которые необходимы для обеспечения функционирования плавучего сооружения и условий окружающей среды, которые могут отрицательно воздействовать на систему позиционирования в соответствии с ГОСТ Р 54483.
При проектировании систем позиционирования плавучих сооружений учитывают воздействия внешних условий окружающей среды с характерными периодами повторяемости (ветер, волны, течения, морской лед, снег и обледенение) на плавучее сооружение, райзеры или на систему позиционирования.
В случае отсутствия данных по условиям окружающей среды на площадке установки возможно применение экстремальных значений для конкретных географических зон, представленных в ГОСТ Р 57148. Данные значения являются усредненными и применимыми для стадий предпроектных проработок. Перед использованием указанных данных заказчик должен проанализировать их достоверность, а в случае необходимости на завершающей стадии проектирования заменить их на фактические данные по условиям окружающей среды на площадке установки и передать проектанту.
Критерии, которым должен удовлетворять проект, могут напрямую быть связаны с конкретными формулировками расчетных ситуаций. В этом случае расчетные ситуации, процесс вычислений и расчетные критерии будут связаны между собой и не должны отделяться один от другого.
Для стационарных систем позиционирования расчетные ситуации, перечисленные ниже, относятся к системам позиционирования для плавучих сооружений с классом сооружения по требованиям стойкости к внешним воздействиям L1 в соответствии с [3].
7.4.2 Расчетные ситуации для предельного состояния по критериям несущей способности ULS
7.4.2.1 Общие сведения
Параметры проектирования с учетом воздействий внешних условий окружающей среды разрабатывают на основе данных по гидрометеорологическим условиям на площадке установки. Для стационарных систем позиционирования плавучих сооружений данные условия представлены в 7.4.2.2, для мобильных систем позиционирования в 7.4.2.3.
Дополнительная информация и рекомендации приведены в А.6.4.2.1 (приложение А).
7.4.2.2 Стационарные системы позиционирования
7.4.2.2.1 Общие сведения
Для стационарных систем позиционирования период повторяемости параметров, характеризующих условия окружающей среды на площадке установки, должен в несколько раз превышать срок службы системы позиционирования.
Параметры, характеризующие условия окружающей среды на площадке установки, характерные для предельного состояния ULS в настоящем стандарте, должны основываться на периоде повторяемости один раз в 100 лет, за исключением случаев, указанных ниже.
Дополнительная информация и рекомендации приведены в А.6.4.2.2 (приложение А).
7.4.2.2.2 Стационарные системы позиционирования с коротким расчетным сроком службы
Если расчетный срок службы системы позиционирования составляет менее 20 лет, то возможно применение параметров, характеризующих расчетные ситуации при периоде повторяемости менее 100 лет. В таких случаях период повторяемости должен определяться посредством оценки рисков, учитывая возможные последствия отказа системы позиционирования.
Дополнительная информация и рекомендации приведены в А.6.4.2.2 (приложение А).
7.4.2.2.3 Стационарные системы позиционирования, рассчитанные на отсоединение
Системы позиционирования могут быть рассчитаны на отсоединение от плавучего сооружения в случае определенных неблагоприятных природных явлений, например воздействия айсбергов или ураганов. Воздействия на плавучее сооружение от таких неблагоприятных явлений при проектировании по предельным состояниям по критериям несущей способности (ULS) могут игнорироваться в следующих случаях:
- удовлетворены условия предельного состояния по критериям аномальных воздействий и аварийных ситуаций (ALS), которые представляют собой неблагоприятное природное явление в сочетании с отказом безопасного отсоединения;
- одновременная вероятность наступления неблагоприятного воздействия окружающей среды и отказа отсоединения системы позиционирования составляет менее чем 10-4 в год.
Кроме того, конструкция системы позиционирования также должна быть верифицирована в отношении расчетной ситуации ULS, которая будет состоять из воздействий волн, ветра, течения и льда (при наличии) на систему позиционирования по отдельности (то есть без плавучего сооружения).
Дополнительная информация и рекомендации приведены в А.6.4.2.2 (приложение А).
7.4.2.2.4 Стационарные системы позиционирования в непосредственной близости от других сооружений
При проектировании стационарных систем позиционирования, располагающихся в непосредственной близости от других сооружений, применяют параметры условий окружающей среды с увеличенным периодом повторяемости, в целях учета возможных последствий контактов с объектами обустройства, расположенными на поверхности воды, под водой или на поверхности морского дна.
Дополнительная информация и рекомендации приведены в А.6.4.2.2 (приложение А).
7.4.2.2.5 Состояние резервного функционирования стационарных систем позиционирования
Стационарные системы позиционирования проектируют с достаточным запасом прочности, чтобы они могли выдерживать соответствующие расчетные ситуации (см. 7.4.2.2.1-7.4.2.2.4) даже после обрыва любой одной якорной линии или отказа одного или нескольких движителей, что соответствующим образом оценивается в рамках FMEA. Это может быть последствием случайного обрыва, планового техобслуживания или локального отказа.
Дополнительная информация и рекомендации приведены в А.6.4.2.2 (приложение А).
7.4.2.3 Мобильные системы позиционирования
7.4.2.3.1 Мобильные системы позиционирования, удаленные от других сооружений
При проектировании мобильных систем позиционирования, удаленных от других сооружений, используют параметры условий окружающей среды с периодом повторяемости не менее одного раза в пять лет.
Должен выполняться анализ рисков, в ходе которого исследуются различные отказы систем позиционирования, чтобы оценить последствия их отказа и продемонстрировать, что риск, обусловленный потерей положения над заданной точкой, является приемлемым.
Дополнительная информация и рекомендации приведены в А.6.4.2.3.1 (приложение А).
7.4.2.3.2 Мобильные системы позиционирования в непосредственной близости от других сооружений
При проектировании мобильных систем позиционирования, располагающихся в непосредственной близости от других сооружений, используют параметры условий окружающей среды с периодом повторяемости не менее одного раза в 10 лет, для учета возможных последствий контактов с объектами обустройства, расположенными на поверхности воды, под водой или на поверхности морского дна.
Дополнительная информация и рекомендации приведены в А.6.4.2.3.2 (приложение А).
7.4.2.3.3 Состояние резервного функционирования мобильных систем позиционирования
Мобильные системы позиционирования следует проектировать с достаточным запасом прочности, чтобы они могли выдерживать соответствующие расчетные ситуации (см. 7.4.2.3.1 и 7.4.2.3.2) даже после обрыва одной из якорных линий или отказа одного или нескольких движителей, что соответствующим образом оценивается в рамках FMEA. Это может быть последствием случайного обрыва, планового техобслуживания или локального отказа.
7.4.3 Расчетные ситуации для предельного состояния по критериям пригодности к нормальной эксплуатации SLS
Расчетные ситуации для предельного состояния SLS следует принимать непосредственно при проектировании либо определять исходя из процентной доли времени нахождения плавучего сооружения на площадке установки, где будет осуществляться эксплуатация в соответствии с его функциональным назначением.
Дополнительная информация и рекомендации приведены в А.6.4.3 (приложение А).
7.4.4 Расчетные ситуации для предельного состояния по критериям усталостной прочности FLS
Расчетные ситуации для предельного состояния FLS определяют для условий окружающей среды, характеризующихся следующими параметрами:
- периодом, высотой и направлением волнения;
- скоростью и направлением ветра;
- скоростью, профилем и направлением течения (см. 9.3.5.5 по аспектам перемещений, вызываемых вихреобразованием);
- частотой возникновения каждого параметра окружающей среды.
Эти параметры должны соответствовать долговременным статистическим данным для рассматриваемого региона.
Дополнительная информация и рекомендации приведены в А.6.4.4 (приложение А).
7.4.5 Расчетные ситуации для предельного состояния по критериям аномальных воздействий и аварийных ситуаций ALS
Никаких событий ALS не указывается в отношении систем позиционирования в настоящем стандарте, за исключением событий, которые применяются, если это уместно. Тем не менее учитывают выполнение оценки в зависимости от конкретных условий площадки установки для установления характера и вероятности возможных расчетных ситуаций ALS, например контакта с айсбергом. Опасные события с повторяемостью, превышающей 10 000 лет, могут не учитываться.
Дополнительная информация и рекомендации приведены в А.6.4.5 (приложение А).
В настоящем разделе рассматривают основные воздействия окружающей среды, которые учитывают при проектировании систем позиционирования. При проектировании учитывают перемещения плавучих сооружений, которые оказывают наибольшее влияние на конструктивные решения по системам позиционирования, а также принимают во внимание внешние воздействия, оказываемые непосредственно на плавучие сооружения, которые в свою очередь приводят к косвенным воздействиям на системы позиционирования.
8.2.1 Сбор и анализ данных
Внешние условия окружающей среды, такие как воздействия ветра, волн, течений и приливно-отливных явлений, являются уникальными для каждой площадки установки. Совместное распределение вероятности, описывающее эти воздействия, следует учитывать при разработке аналитических и статистических моделей, предназначенных для прогноза воздействий и их последствий.
При сборе данных, где следует учитывать совместное распределение, необходимо соблюдать осторожность для сохранения соответствующей информации. Особое значение придается ветру/волнам, высоте волн/периоду волнения, а также взаимной связи волн/течения и их характеристикам абсолютной, а также относительной направленности.
Существуют регионы, характеризуемые особыми гидрометеорологическими условиями, которые в недостаточной мере представлены параметрами с определенными периодами повторяемости. Например, некоторые регионы с мягким климатом могут подвергаться воздействию внезапных штормов, таких как шквалы, а другие регионы могут подвергаться воздействию периодических сильных течений. В этих случаях для стадий предпроектных проработок возможно применение гидрометеорологических параметров регионов, имеющих схожие условия окружающей среды.
Характеристики воздействий окружающей среды, определяющие расчетные ситуации в отношении мобильных систем позиционирования, устанавливают на основе ежегодных статистических данных. Тем не менее если сезон эксплуатации четко определен и сезонных природных данных вполне достаточно для обеспечения значимой статистической информации, то эти характеристики могут быть определены на основе сезонных данных.
Для выполнения расчетов на усталость должны быть собраны данные по волнению, течению и ветрам в соответствии с 7.4.4.
Дополнительные требования, описывающие характер информации и процедуры сбора данных, приведены в ГОСТ Р 57148.
Дополнительная информация и рекомендации приведены в А.7.2.1 (приложение А).
8.2.2 Глубина моря
Расчетная глубина моря для системы позиционирования в месте нахождения каждого якоря должна учитывать возможные изменения уровня моря вследствие приливно-отливных колебаний и штормовых сгонно-нагонных явлений.
8.2.3 Грунтовые условия и профиль морского дна
Для получения данных для проектирования мобильных и стационарных систем позиционирования с якорными линиями на площадках установки плавучих сооружений необходимо выполнить инженерно-геологические изыскания в целях исследования грунтов поверхности морского дна. Уклон поверхности морского дна также должен учитываться при выполнении анализа системы позиционирования.
Дополнительная информация и рекомендации приведены в А.7.2.3 (приложение А).
8.2.4 Статистические данные по волнам
При проектировании систем позиционирования для расчетных ситуаций необходимо установить зависимости высот волн от их периодов и направлений на основе гидрометеорологических данных по площадке установки плавучего сооружения.
Дополнительная информация и рекомендации приведены в А.7.2.4 (приложение А).
8.2.5 Статистические данные по ветру
В отношении исследуемой площадки на основе гидрометеорологических данных необходимо точно определить скорости и направления ветра.
Дополнительная информация и рекомендации приведены в А.7.2.5 (приложение А).
8.2.6 Профили течений
В отношении исследуемой площадки на основе гидрометеорологических данных необходимо точно определить скорость и направление течения. Надлежащий учет воздействия профилей течения на линии/райзеры часто требуется для более подробных и достоверных аналитических представлений.
Дополнительная информация и рекомендации приведены в А.7.2.6 (приложение А).
8.2.7 Снег и обледенение
При проектировании систем позиционирования для эксплуатации в условиях, где возможно выпадение снега, образование льда, обледенение, вызываемое морскими брызгами, замерзающим дождем, моросью и туманом, эти воздействия необходимо учитывать. Обледенение элементов, расположенных в надводной части, плавучих сооружений может увеличить их размер, что приведет к существенному увеличению ветрового воздействия и весовой нагрузки. В особенности это относится к элементам, имеющим большое отношение длины к поперечному размеру (например, факельные стрелы, грузоподъемное оборудование, буровые вышки и др.).
Нагрузки от воздействий снега и обледенения необходимо учитывать в соответствии с требованиями ГОСТ Р 54483 и ГОСТ Р 57555.
|
8.2.8 Морской лед Нагрузки от воздействий морского льда на якорные линии, корпуса плавучих сооружений могут существенно превышать нагрузки от воздействий волн. Особенностями воздействий морского льда являются: - действие на протяжении продолжительного времени; - сравнительно высокие частоты воздействия, что приводит к возникновению вибраций в сооружениях; - образование нагромождений льда. При прочностных расчетах систем позиционирования следует учитывать наличие перечисленных ниже воздействий: - поступательные ускорения вследствие воздействий морского льда; - угловые ускорения вследствие наклона и вращения корпуса плавучего сооружения; - поворот плавучего сооружения вследствие вращения и наклона с последующим изменением направления воздействий. Положения по определению ледовых нагрузок приведены в ГОСТ Р 57148. |
8.2.9 Обрастание морскими организмами
Тип и скорость обрастания морскими организмами на площадке установки может оказывать влияние на массы, геометрические размеры и коэффициенты сопротивления элементов плавучего сооружения и якорных линий. Это необходимо учитывать при проектировании стационарных систем позиционирования, которые не будут подвергаться регулярной очистке от обрастания морскими организмами.
8.3.1 Общие сведения
В настоящем разделе суммируются методы оценки прямых воздействий окружающей среды на якорные линии. Якорные линии, как правило, моделируются в качестве узких цилиндрических деталей. Прямое воздействие волн на линии не учитывают.
8.3.2 Воздействия течений
При проектировании систем позиционирования учитывают воздействия течений на якорные линии. Воздействие течений на якорные линии рассчитывают по формуле
F = 1/2ρwCd·d·v2,
(1)
где F - прямое воздействие на единицу длины, перпендикулярное к якорной линии, Н/м;
ρw - плотность морской воды, кг/м3;
Cd - коэффициент сопротивления в соответствии с правилами ПКО;
d - диаметр кантата или калибр цепи якорной линии, м;
v - составляющая скорости течения, перпендикулярная к рассматриваемой якорной линии, м/с.
В районах с высокими скоростями течения коэффициенты сопротивления должны учитывать наличие вибраций, вызываемых вихреобразованием.
8.3.3 Воздействия льда
На акваториях с ледовым режимом в условиях низких температур воздуха, где возможно обледенение и образование льда, воздействия на систему позиционирования следует определять в соответствии с ГОСТ Р 57148.
|
8.3.3.1 Управление ледовой обстановкой Для систем позиционирования плавучих сооружений, эксплуатирующихся на акваториях с ледовым режимом, необходимо разрабатывать систему управления ледовой обстановкой, представляющую собой комплекс мероприятий, целью которых является снижение интенсивности или полное исключение воздействия со стороны ледяных образований на якорные линии и сооружения. |
8.3.4 Вибрации якорных линий, вызываемые вихреобразованием
Для гладких цилиндрических якорных линий необходимо учитывать вероятность возникновения вибраций, вызываемых вихреобразованием, и их способности оказывать влияние на коэффициент сопротивления.
Дополнительная информация и рекомендации приведены в А.7.3.3 (приложение А).
8.4.1 Общие сведения
Перемещения плавучих сооружений являются основными косвенными воздействиями на системы позиционирования. Подробная информация по расчетам воздействия окружающей среды на плавучие сооружения представлена в [3].
8.4.2 Частотные диапазоны
Для оценки эффекта воздействий окружающей среды, а иногда для учета их относительного влияния, воздействия окружающей среды на плавучие сооружения можно подразделить на категории следующим образом, в зависимости от их диапазона частот:
- установившиеся воздействия, такие как воздействия ветра, течения и волнового дрейфа, которые являются постоянными по величине и направлению в интересующем промежутке времени;
- низкочастотные циклические воздействия (часто называемые медленный дрейф) с характерными периодами продолжительностью от 1 до 10 мин, которые обычно вызывают возбуждение динамических колебаний плавучих сооружений в дополнение к их собственным колебаниям при продольно-горизонтальной качке, поперечно-горизонтальной качке и рыскании. Для плавучих сооружений на натяжных связях с цилиндрическим корпусом типа "spar" указанные воздействия также могут вызывать возбуждение динамических колебаний в дополнение к их собственным колебаниям при килевой и бортовой качках;
- циклическое воздействие с частотой волн с характерными периодами от 3 до 30 с.
8.4.3 Воздействия волн
Воздействие волн (установившееся, низкочастотное, а также с частотой волн) определяют при помощи соответствующих аналитических и эмпирических методов или модельных испытаний, учитывающих влияние фактических глубин моря на площадке установки. Аналитические и эмпирические методы должны охватывать явления волновой дифракции, радиально расходящихся цилиндрических волн, а также гидродинамику гибких тел.
Поскольку период волнения может оказывать значительное влияние на дрейф плавучего сооружения, то необходимо исследовать периоды волнений в соответствии с А.7.2.4 (приложение А).
Необходимо исследовать взаимодействие между течением и волнами. Это включает в себя изменение частот, свойственных волнам, на кажущиеся частоты волн (см. ГОСТ Р 57148), а также изменение величины воздействия волн.
Дополнительная информация и рекомендации приведены в А.7.4.3 (приложение А).
8.4.4 Воздействия ветра
Необходимо исследовать коэффициенты сопротивления с помощью испытаний в аэродинамической трубе и (или) инструментария для эмпирического анализа в соответствии с [3]. Постоянное воздействие ветра с конкретного направления должно включать в себя все три горизонтальные составляющие сил и крутящего момента, действующих на плавучее сооружение (Fx, Fy, Mz), используя коэффициенты воздействия ветра, определенные на основе модельных испытаний или расчетов. Для плавучих сооружений на натяжных связях с цилиндрическим корпусом типа "spar" крутящие моменты килевой и бортовой качек имеют важное значение, так как средние углы килевой и бортовой качек также будут влиять на коэффициенты воздействия ветра при продольно-горизонтальной качке, поперечно-горизонтальной качке и рыскании (вращательные колебательные перемещения относительно вертикальной оси).
Для представления воздействия ветра с установившейся и низкой частотой применяют два аналитических подхода в соответствии с [3]:
a) ветер рассматривают в качестве постоянного с точки зрения направления и скорости, которая берется равной осредненной за 1 мин;
b) ветер моделируют по установившемуся компоненту на основе среднего значения скорости в течение 1 ч и изменяющемуся по времени компоненту, определяемому на основе пригодного эмпирического спектра порывов ветра, см. ГОСТ Р 57148.
Расчетную скорость ветра следует определять на высоте 10 м над уровнем моря (спокойной воды).
Для стационарных систем позиционирования в условиях предельного состояния ULS следует использовать подход b); подход а) также допускается использовать при условии, что он покажет более консервативные результаты. Тем не менее для предельного состояния FLS следует использовать подход b), поскольку эффект воздействия ветра (изменяющегося во времени) на плавучее сооружение может повлиять на значение низкочастотных циклов натяжения якорных линий.
Для мобильных систем позиционирования допускается использовать оба аналитических подхода.
Для площадок установки плавучих сооружений, на которые обрушаются шквалы, применение концепции ветрового спектра невозможно. Должен выполняться анализ соответствующих воздействий и эффектов воздействий ветра с использованием данных многолетних измерений скорости ветра.
Дополнительная информация и рекомендации приведены в А.7.4.4 (приложение А).
8.4.5 Воздействия течений
Воздействия течений (установившихся или низкочастотных) на крупногабаритные плавучие сооружения определяют посредством модельных испытаний и (или) инструментария эмпирического анализа. Воздействия течений на элементы большого удлинения, включая райзеры, могут быть определены по формуле (1) (см. 8.3.2).
Дополнительная информация и рекомендации приведены в А.7.4.5 (приложение А).
8.4.6 Распределение по направлениям
Перемещения плавучих сооружений, которые учитывают при проектировании систем позиционирования, должны быть оценены для самых неблагоприятных сочетаний направлений воздействий ветра, волн и течений, которые соответствуют гидрометеорологическим характеристикам площадки установки. Также необходимо принимать во внимание способность плавучих сооружений изменять курс постановки и параметры перемещений в ответ на изменение направлений внешних воздействий окружающей среды.
Дополнительная информация и рекомендации приведены в А.7.4.6 (приложение А).
8.4.7 Перемещения плавучих сооружений, вызываемые вихреобразованием
Плавучие сооружения, состоящие из цилиндрических элементов большого диаметра, такие как плавучие сооружения на натяжных связях с цилиндрическим корпусом типа "spar" и ППБУ, могут испытывать низкочастотные колебания, вызываемые вихреобразованием в присутствии течений. Эти колебания являются наиболее заметными на плавучих сооружениях на натяжных связях с цилиндрическим корпусом типа "spar", на которых был получен наибольший опыт эксплуатации плавучих сооружений. Тем не менее многоколонные плавучие сооружения, такие как ППБУ, также могут испытывать воздействие вихреобразования, и эффект от таких перемещений должен учитываться при проектировании.
Перемещения, вызываемые вихреобразованием, воздействуют на конструкцию системы позиционирования по трем аспектам:
a) средний согласованный коэффициент сопротивления выше, чем его значение было бы при отсутствии перемещений, вызываемых вихреобразованием;
b) низкочастотные колебания, вызываемые вихреобразованием, могут быть статистически значимыми с точки зрения общей реакции плавучего сооружения;
с) перемещения, вызываемые вихреобразованием, могут вызвать дополнительные низкочастотные колебания, натягивающие якорные линии.
Дополнительная информация и рекомендации приведены в А.7.4.7 (приложение А).
9.1.1 Введение
Анализ систем позиционирования выполняется с целью прогнозирования экстремальных значений эффектов воздействий (максимальных или минимальных, в зависимости от ситуации), таких как перемещения плавучего сооружения, натяжения якорных линий и изменение усилий на якоре под влиянием природных и других воздействии (воздействия райзеров, нагрузки от пришвартованных судов и т.д.). Экстремальные значения эффектов воздействий необходимо сопоставлять с расчетными критериями, приведенными в разделе 11.
Натяжение якорных линий часто можно регулировать принудительно по эксплуатационным причинам и (или) в преддверии наступления неблагоприятных природных явлений. Для анализа расчетных ситуаций ULS моделирование конфигурации системы позиционирования плавучего сооружения должно отражать такую регулировку. Тем не менее моделирование активной регулировки натяжения якорных линий при анализе расчетных ситуаций учитывать не стоит.
Значение диаметра кантата или калибра цепи якорной линии, применяемое при анализе якорных линий, должно представлять собой номинальное значение (т.е. без вычетов на коррозию или износ), если ниже не указано иное.
9.1.2 Анализируемые состояния
9.1.2.1 Общие сведения
Анализ систем позиционирования выполняют в соответствии с 9.8 для неповрежденного состояния, состояния резервного функционирования и переходного состояния. Описание анализируемых состояний для комбинированных систем позиционирования (с якорными линиями и средствами активного управления) представлено в 9.9.2.
Посадочные допуски на установку якоря и длину линии учитывают в конструкции системы позиционирования.
9.1.2.2 Неповрежденное состояние
Это состояние, при котором все якорные линии не повреждены, а все движители и средства активного управления находятся в рабочем состоянии.
9.1.2.3 Состояние резервного функционирования
Это состояние, при котором плавучее сооружение находится в новой позиции после обрыва одной якорной линии или отказа одного или нескольких движителей, что необходимо оценить в рамках выполнения анализа видов и последствий отказов (FMEA).
В рамках анализа системы позиционирования в состоянии резервного функционирования необходимо выполнить процесс идентификации и оценки рисков.
9.1.2.4 Переходное состояние
Это состояние, при котором плавучее сооружение испытывает переходные колебания между неповрежденным состоянием и состоянием резервного функционирования, включая возможность превышения, как результата обрыва отдельной якорной линии, так и отказа одного или нескольких движителей, что необходимо оценить в рамках FMEA.
9.1.2.5 Рекомендуемые методы анализа и анализируемые состояния
Рекомендуемые методы анализа систем позиционирования и анализируемые состояния приведены в таблице 1.
|
Тип системы позиционирования |
Предельное состояние |
Анализируемое состояние |
Метод анализа |
|
Стационарная система позиционирования |
ULS |
Неповрежденное/резервного функционирования |
Динамический |
|
Переходное 1) |
Квазистатический или динамический | ||
|
FLS |
Неповрежденное |
Динамический | |
|
SLS |
Нет требований |
Нет требований | |
|
Мобильная система позиционирования |
ULS |
Неповрежденное/резервного функционирования |
Квазистатический или динамический |
|
Переходное 1), 2) |
Квазистатический или динамический | ||
|
FLS |
Не требуется |
Не предусмотрен | |
|
SLS |
Нет требований |
Нет требований | |
|
1) Применимо лишь в случае, если другое МНГС находится в непосредственной близости от системы позиционирования. 2) Применимо для МНГС, осуществляющих бурение на глубоководных участках, где в переходном состоянии возможны чрезмерные перемещения, которые могут вызвать развинчивание соединительных элементов райзеров. | |||
Методы анализа систем позиционирования в условиях перемещений плавучих сооружений, вызываемых вихреобразованием, представленные в 9.3.5, целесообразно применять в зависимости от анализируемых состояний и удовлетворительных предельных состояний.
9.2.1 Общие сведения
Изложенные в настоящем подразделе требования распространяются на определение перемещений плавучих сооружений относительно любой выбранной нулевой точки на сооружениях.
9.2.2 Средние перемещения
При определении средних перемещений плавучих сооружений анализируют перемещение сооружений под действием сочетания установившихся воздействий ветра, волн, течений и других внешних воздействий. Помимо продольно-горизонтальной качки, поперечно-горизонтальной качки и рыскания (вращательные колебательные перемещения относительно вертикальной оси), в особенности для сооружений с небольшой площадью ватерлинии, при выполнении анализа систем позиционирования учитывают вертикальную, бортовую и килевую качки.
9.2.3 Экстремальные значения перемещений
При использовании подхода в частотной области (9.3.1.2) для описания реакций сооружений экстремальные значения перемещений определяют как средние перемещения плюс или минус максимальные расчетные значения отклонений, меняющиеся во времени вследствие комбинированных перемещений сооружений из-за частоты волн и низких частот. Экстремальные значения перемещений также допускается вычислять по отношению к местоположению каждого якоря с целью вычисления натяжения.
Экстремальные значения перемещений Smax и Smin рассчитывают по формулам (2) и (3):
Smax = Smean + MAX(Sdyn1, Sdyn2),
(2)
Smin = Smean – MAX(Sdyn1, Sdyn2),
(3)
Sdyn1 = Slfmax + Swfsig,
(4)
Sdyn2 = Swfmax + Slfsig,
(5)
где MAX - наибольшее значение из абсолютных величин, указанных в скобках;
Smax - максимальное перемещение сооружения, м;
Smin - минимальное перемещение сооружения, м;
Smean - среднее перемещение сооружения, м;
Slfmax - наиболее вероятное максимальное значение низкочастотного колебания, м;
Slfsig - статистически значимое значение низкочастотного колебания, м;
Swfmax - наиболее вероятное максимальное значение колебания с частотой волн, м;
Swfsig - статистически значимое значение колебания с частотой волн, м.
Определение наиболее вероятных максимальных и статистически значимых значений представлено в 9.3.2.
Комбинированное перемещение для различной степени свободы (например, продольно-горизонтальной и поперечно-горизонтальной качек) определяют как векторную сумму отдельных элементов перемещения.
Альтернативами такому подходу будет подход во временной области (см. 9.3.1.3), а также комбинированный подход в частотной и временной областях (см. 9.3.1.4), который включает статистическую обработку смоделированных временных зависимостей для получения экстремальных значений перемещения.
Вышеуказанные требования применимы в отношении условий неповрежденного состояния и состояния резервного функционирования. Для перемещений плавучих сооружений в переходных состояниях максимальные значения перемещений определяют согласно 9.10.2.
9.3.1 Методы выполнения анализа
9.3.1.1 Общие сведения
Для определения реакций плавучего сооружения применяют три основных метода:
- подход в частотной области;
- подход во временной области;
- комбинированный подход в частотной и временной областях.
Указанные подходы включают в себя различные степени приближенных значений и допущения и, как следствие, не всегда предоставляют достоверные результаты. Для верификации применяемых подходов целесообразно осуществить проверку систем позиционирования проведением модельных испытаний или применением иного подтвержденного практикой метода.
Вследствие отсутствия утвержденного аналитического метода для определения реакций плавучего сооружения, испытывающего воздействие вихреобразования, необходимо предусматривать проведение модельных испытаний. Тем не менее имеются ограниченные полномасштабные данные для подтверждения масштабируемости модельных испытаний. Если нагрузки от течений и перемещения, вызываемые вихреобразованием, определяются в качестве определяющих факторов, то необходимо выполнять хорошо спланированные модельные испытания для определения амплитуд колебаний и коэффициентов сопротивления для проектирования конструкции системы позиционирования.
9.3.1.2 Подход в частотной области
В этом подходе общие уравнения колебаний, описывающие реакцию сооружения, разделяют и анализируют по отдельности по средней, низкочастотной реакции и реакции с частотой волны. Средние реакции определяют из статического равновесия между установившимся воздействием окружающей среды и восстанавливающим усилием системы позиционирования. Колебания сооружения с частотой волны и низкой частотой определяют с использованием подхода в частотной области, который позволяет получить статистические данные по реакции на колебания. Экстремальные значения, такие как существенные и наиболее вероятные максимальные реакции, определяют на основе пиковых распределений плотности вероятности, см. 9.3.2. В заключение, наиболее вероятные максимальные значения и существенные значения реакций с частотой волны и низкочастотными реакциями объединяются со средней реакцией, формулы (2) и (3), для вычисления комбинированной наиболее вероятной максимальной реакции для указанной продолжительности шторма.
При выполнении анализа частотных характеристик плавучих сооружений, обладающих возможностью совершать вращение вокруг вертикальной оси плавучего одноточечного причала для снижения воздействий ветра, течения и волнения на корпус, должен быть установлен курс постановки. Проектные курсы постановки плавучих сооружений, при которых вычисляются реакции системы позиционирования, следует определять с учетом среднего значения равновесного положения курса и низкочастотного рыскания сооружений. Необходимо учесть более одного курса постановки сооружений, чтобы обеспечить определение его максимального значения в соответствии с 9.8.2.
9.3.1.3 Подход во временной области
В этом подходе общие уравнения колебаний, описывающие комбинированные средние, низкочастотные реакции и реакции плавучего сооружения с частотой волны определяют во временной области. Функции воздействия включают среднее, низкочастотное воздействие и воздействие с частотой волны вследствие воздействия волн, ветра, течения и средств активного управления, при их наличии. Моделирование во временной области содержит уравнения, описывающие поведение плавучего сооружения, якорных линий, райзеров и средств активного управления, а также их взаимодействие. Временные зависимости всех основных параметров реакции (перемещение сооружения, натяжение якорных линий, удерживающие усилия на якорях и т.п.) определяют с помощью моделирования, а результирующие временные зависимости затем обрабатывают статистически для вычисления экстремальных значений. Моделирование во временной области должно быть достаточно продолжительным для получения стабильных статистических значений.
Дополнительная информация и рекомендации приведены в А.8.3.1.3 (приложение А).
9.3.1.4 Комбинированный подход в частотной и временной областях
Для упрощения и уменьшения вычислений, на основе моделирования полностью связанных временных и частотных областях, часто используют комбинированный подход во временной и частотной областях. Решения во временной и частотной областях для средних реакций, волновых и низкочастотных реакций могут быть объединены различными способами. При стандартном подходе моделируются средние и низкочастотные реакции (перемещение сооружения, натяжение якорных линий, усилия на якорях и т.п.) во временной области, в то время как реакции на частоте волны решаются отдельно в частотной области. Решение в частотной области в отношении реакций с частотой волны обрабатывается для получения либо статистических экстремальных значений, либо временных зависимостей, которые затем накладываются на средние и низкочастотные реакции.
Дополнительная информация и рекомендации приведены в А.8.3.1.4 (приложение А).
9.3.2 Статистические данные по экстремальным значениям
Для анализа во временной области могут определяться соответствующие экстремальные значения в соответствии с положениями А.8.3.1.3 (приложение А).
При проведении анализа в частотной области для явления, которое может быть представлено узкополосным гауссовским процессом, статистические экстремальные данные для меняющегося во времени компонента явления могут быть вычислены на основе стандартного отклонения соответствующего спектра реакций (распределение Рэлея) следующим образом:
Vsig = ±2s,
(6)
,
(7)
,
(8)
где Vsig - статистически значимое значение;
Emax - наиболее вероятное максимальное значение;
Emin - наиболее вероятное минимальное значение;
s - стандартное отклонение;
t - продолжительность расчетной ситуации в единицах времени; в отношении продолжительности расчетной ситуации должно быть указано не менее 3 ч;
tz - средний нулевой период выхода за установленный уровень колебаний в единицах времени, где для низкочастотных колебаний может быть взят tz в качестве периода собственных колебаний для соответствующей степени свободы объединенной системы сооружения/райзера/системы позиционирования tn, которую можно определить по формуле
,
(9)
где М - масса системы позиционирования, включая присоединенную массу, кг;
k - жесткость системы для соответствующей степени свободы в среднем положении сооружения, Н/м.
Наиболее вероятное максимальное натяжение, которое необходимо сравнить с допустимыми значениями натяжения якорной линии, представленными в 11.2, может быть определено по формуле (7) путем добавления значения среднего натяжения.
Примечание - Эти формулы могут занижать наиболее вероятное максимальное значение нелинейной широкополосной реакции.
Дополнительная информация и рекомендации приведены в А.8.3.2 (приложение А).
9.3.3 Подавление низкочастотных колебаний
Особое внимание нужно уделить подавлению низкочастотных колебаний. Низкочастотные колебания удерживаемого плавучего сооружения являются узкополосными по частоте, поскольку его сдерживает резонансная реакция на собственной частоте удерживаемого сооружения. Амплитуда колебаний сильно зависит от жесткости системы позиционирования. Имеется существенная степень неопределенности в оценке подавления низкочастотных колебаний. Четырьмя источниками подавления могут быть:
- вязкостное демпфирование сооружением;
- демпфирование дрейфа волн сооружением;
- демпфирование системой позиционирования;
- демпфирование райзером.
Дополнительная информация и рекомендации приведены в А.8.3.3 (приложение А).
9.3.4 Анализ райзеров
Система райзеров (при ее наличии) взаимодействует с плавучим сооружением и системой позиционирования по нескольким направлениям. Воздействие волн и течений непосредственно на райзеры увеличивает нагрузки от воздействий окружающей среды на систему позиционирования, при этом райзеры воспринимают часть нагрузок на себя, снижая при этом нагрузки на систему позиционирования. Более того, демпфирование системой райзера снижает низкочастотные колебания и уменьшает натяжение якорных линий системы позиционирования. Конечный результат воздействия этих эффектов зависит от количества факторов, таких как тип и количество райзеров, а также глубины моря. Конструкция системы позиционирования должна учитывать воздействие райзеров, жесткость и демпфирование. Это действие райзеров можно игнорировать, если такие действия приводят к более консервативной конструкции системы позиционирования.
Если райзерная система предназначена для различного количества райзеров в течение расчетного срока службы (например, из-за предполагаемых врезок в будущем), то необходимо исследовать все различные конфигурации.
9.3.5 Анализ систем позиционирования в условиях перемещений плавучих сооружений, вызываемых вихреобразованием
9.3.5.1 Общие сведения
В отличие от других резонансных реакций плавучих сооружений амплитуда колебаний, вызываемых вихреобразованием, ограничена. Поперечные перемещения, как правило, характеризуются безразмерным отношением амплитуды колебаний а к диаметру корпуса плавучего сооружения d (a/d). Наибольшая амплитуда колебаний при поперечном перемещении отмечается у плохообтекаемых плавучих сооружений с малым удлинением корпуса и составляет a/d = 1. Спиралевидные пояса обшивки обычно применяются у плавучих сооружений на натяжных связях с цилиндрическим корпусом типа "spar" или системе райзеров для уменьшения амплитуды колебаний. Пояса обшивки могут быть очень эффективными для устранения перемещений, вызываемых вихреобразованием; однако их эффективность на плавучих сооружениях на натяжных связях с цилиндрическим корпусом типа "spar" зависит от различных факторов, таких как точная схема расположения и размер поясов обшивки, вспомогательные элементы и профили течения.
Специальные аспекты проектирования для учета и анализа перемещений, вызываемых вихреобразованием, должны принимать во внимание следующее:
a) в настоящее время отсутствуют работающие аналитические инструменты для прогнозирования перемещений, вызываемых вихреобразованием, и расчетные критерии перемещений, вызываемых вихреобразованием, обычно определяются на основе модельных испытаний. Методики модельных испытаний должны быть подтверждены с использованием натурных измерений;
b) на перемещения, вызываемые вихреобразованием, оказывают одновременное влияние периоды собственных колебаний плавучего сооружения и системы позиционирования, профиль скорости направление и течения, геометрия корпуса сооружения и вспомогательные элементы на корпусе;
c) продолжительные течения, приводящие к перемещениям, вызываемым вихреобразованием, могут быть значительно дольше, чем максимальная продолжительность шторма;
d) модельные испытания могут моделировать лишь определенные параметры, аппроксимируя другие, поэтому нужно внимательно интерпретировать и использовать данные модельных испытаний;
e) если перемещения, вызываемые вихреобразованием, приводят к большим циклам натяжения при высокой средней нагрузке, то расчетный срок службы при усталостной нагрузке может быть коротким для элементов системы позиционирования с низким сопротивлением усталостной нагрузке, таким как цепи;
f) калибровка коэффициентов безопасности для конструкций системы позиционирования не должна включать в себя условие перемещений, вызываемых вихреобразованием, и неопределенности, связанные с перемещениями, вызываемыми вихреобразованием. В этой связи рекомендуется проводить проверки чувствительности, как изложено в А.8.3.5.1.
Указанные выше аспекты следует учитывать при проектировании систем позиционирования, эксплуатирующихся в условиях перемещений плавучих сооружений, вызываемых вихреобразованием, выполнением следующих мероприятий:
- определением расчетных критериев, которые учитывают перемещения, вызываемые вихреобразованием, например проверка чувствительности в дополнение к базовым вариантам, а также контроль данных натурных наблюдений и данных модельных испытаний;
- проведением усталостного анализа перемещений, вызываемых вихреобразованием, за 100-летний период в дополнение к анализу долговременной усталости;
- выбором соответствующего оборудования и характеристик системы позиционирования для лучшего восприятия и смягчения воздействий, вызываемых вихреобразованием.
Дополнительная информация и рекомендации приведены в А.8.3.5.1 (приложение А).
9.3.5.2 Расчетные критерии для анализа прочности систем позиционирования в условиях перемещений плавучих сооружений, вызываемых вихреобразованием
При выполнении анализа прочности определяют расчетные критерии перемещений, вызываемых вихреобразованием. Параметры проектирования, относящиеся к перемещениям, вызываемым вихреобразованием, обеспечивающие прочность системы позиционирования, должны включать следующее:
- амплитуду продольных и поперечных колебаний плавучих сооружений при перемещениях, вызываемых вихреобразованием (a/d), как функцию от приведенной скорости Vr;
- коэффициент сопротивления как функцию от амплитуды колебаний при перемещениях плавучих сооружений, вызываемых вихреобразованием;
- определение диапазонов Vr;
- траекторию или область перемещений плавучих сооружений, вызываемых вихреобразованием.
Данные параметры в основном базируются на сочетании данных модельных испытаний (с учетом специфики проекта) и предшествующего опыта проектирования с учетом перемещений плавучих сооружений, вызываемых вихреобразованием. В зависимости от применяемого подхода, могут быть рассмотрены различные уровни неопределенности критериев перемещений, вызываемых вихреобразованием, для применения в конкретном проекте. Критерии необходимо разрабатывать для базового варианта (наилучшая оценка) и для некоторых вариантов проверки чувствительности. Коэффициенты запаса прочности по натяжению для условий неповрежденного и поврежденного состояний должны выполняться для базового варианта. Варианты проверки чувствительности следует применять для проверки эксплуатационной надежности системы позиционирования, в целях подтверждения того, что риск отказа системы позиционирования находится на приемлемом уровне даже в случае, если оценки конкретных влияющих параметров, таких как жесткость системы позиционирования, скорость течения, коэффициент сопротивления, состояние синхронизации колебаний или амплитуда колебаний при перемещениях, вызываемых вихреобразованием, являются неточными. Одной из важных функций проверки чувствительности является определение того, войдет ли система позиционирования при наличии некоторых изменений критических параметров в состояние синхронизации перемещений, вызываемых вихреобразованием.
Дополнительная информация и рекомендации приведены в А.8.3.5.2 (приложение А).
9.3.5.3 Метод анализа прочности систем позиционирования в условиях перемещений плавучих сооружений, вызываемых вихреобразованием
В настоящее время специализированное программное обеспечение по выполнению анализа прочности систем позиционирования в условиях перемещений плавучих сооружений, вызываемых вихреобразованием, не имеет широкого распространения, и в этой связи возможно использование методики анализа, изложенной в А.8.3.5.3 (приложение А).
9.3.5.4 Основные факторы усталостного анализа систем позиционирования в условиях перемещений плавучих сооружений, вызываемых вихреобразованием
Натяжения в системе позиционирования, возникающие в условиях перемещений плавучих сооружений, вызываемых вихреобразованием, имеют циклический характер и вносят свой вклад в усталостное повреждение системы позиционирования. Факторы, приведенные ниже, следует учитывать при выполнении оценки усталостной прочности вследствие воздействия перемещений, вызываемых вихреобразованием:
a) для определения количества циклов натяжения необходимо использовать период перемещений, вызываемых вихреобразованием, при перемещенном положении плавучего сооружения, который соответствует конкретной рассматриваемой частоте дискретизации течения. Указанный период может варьироваться в зависимости от направления и силы течения и, как правило, отличается от периода собственных колебаний спокойной воды;
b) в дополнение к оценке долгосрочного усталостного повреждения, также рекомендуется выполнять усталостный анализ, в условиях перемещений, вызываемых вихреобразованием, с периодом повторяемости один раз в 100 лет (или другого единичного события по наихудшему сценарию, как указано в 9.3.5.5);
c) системы позиционирования, испытывающие высокое среднее натяжение и значительные колебания натяжения, могут создать механическое напряжение в цепи, выходящее за пределы упругости материала цепи, для которого отсутствуют данные по испытаниям усталостной прочности. Чтобы обеспечить достаточный срок службы до разрушения от усталости, системы позиционирования следует проектировать таким образом, чтобы избежать таких ситуаций;
d) повреждение цепи вследствие усталости на направляющем блоке требует особого внимания, так как дополнительное напряжение изгиба прикладывается к цепи на этом участке, и цепь, как правило, имеет наименьший срок службы до разрушения от усталости всех элементов системы позиционирования;
e) варианты проверки чувствительности, аналогичные тем, которые использованы в прочностном анализе, должны учитывать неопределенность в прогнозах перемещений, вызываемых вихреобразованием.
9.3.5.5 Усталостный анализ систем позиционирования в условиях перемещений плавучих сооружений, вызываемых вихреобразованием, для долговременных и единичных экстремальных событий
Для анализа усталостного повреждения в условиях долговременных событий, связанных с перемещениями плавучих сооружений, вызываемых вихреобразованием, текущие события могут быть представлены в виде ряда частот дискретизации течений, в котором каждая частота дискретизации будет соответствовать опорным значениям направления, скорости и профиля течения, а также сопутствующим ветровым и волновым условиям и вероятности их возникновения. Усталостное повреждение для каждой частоты дискретизации должно оцениваться, а усталостное повреждение вследствие перемещений плавучего сооружения, вызываемых вихреобразованием, должно суммироваться с усталостным повреждением из-за ветра и волнения для определения суммарного усталостного повреждения.
Исследования показывают, что существенное усталостное повреждение может быть вызвано единичным экстремальным событием возникновения перемещений, вызываемых вихреобразованием. Поэтому, в дополнение к оценке усталостного повреждения в результате длительного воздействия, следует выполнять анализ возникновения перемещений, вызываемых вихреобразованием, с повторяемостью один раз в 100 лет. Поскольку перемещения, вызываемые вихреобразованием, в большей степени зависят от приведенной скорости, то течения, связанные с наихудшей расчетной ситуацией перемещений, вызываемых вихреобразованием, необязательно могут быть течениями с повторяемостью один раз в 100 лет. Амплитуды колебаний при перемещениях, вызываемых вихреобразованием, вызывающие самые сильные усталостные повреждения, могут возникать в присутствии течений с более низкой повторяемостью. Профиль скорости и направления течения, используемый в оценке усталости, должен соответствовать наиболее неблагоприятному профилю скорости и направления течения, определенному в ходе анализа прочности. Однако вместо использования профиля скорости течения, охарактеризованного постоянной скоростью, для экстремального события может рассматриваться изменяющееся течение, характеристики которого получены на основе натурных измерений. Продолжительность этого события может отличаться от той, которая получена на основе долгосрочного распределения течений.
Усталостный анализ, как правило, выполняется только для условий неповрежденного состояния. Тем не менее усталостный анализ для поврежденного состояния должен рассматриваться для единичного экстремального события возникновения перемещений, вызываемых вихреобразованием, когда прогрессирующее повреждение якорной линии вследствие усталости представляет проблему.
Коэффициент безопасности усталостной прочности представлен в 11.5. Этот коэффициент необходимо применять в отношении долговременного усталостного повреждения (вследствие воздействий ветра, волнения и перемещений, вызываемых вихреобразованием) и по отношению к усталостному повреждению в результате единичного события в условиях неповрежденного состояния.
Дополнительная информация и рекомендации приведены в А.8.3.5.5 (приложение А).
9.3.5.6 Усталостное повреждение и износ цепей систем позиционирования в условиях перемещений плавучих сооружений, вызываемых вихреобразованием
Усталостное повреждение цепи на направляющем блоке, как правило, выше, чем на удалении от направляющего блока. Для систем позиционирования, где усталостное повреждение цепей является критическим, важно периодически перемещать звенья на направляющем блоке, чтобы таким образом более равномерно распределить дополнительное усталостное повреждение из-за изгибания. Если такая процедура является частью программы эксплуатации, то усталостное повреждение звеньев вокруг направляющего блока можно оценить на основе части времени, когда звенья расположены на направляющем блоке. Тем не менее звенья на направляющем блоке должны иметь достаточную усталостную прочность, чтобы преодолеть, по крайней мере, единичное экстремальное событие (например, событие возникновения перемещений, вызываемых вихреобразованием, за 100 лет).
Системы позиционирования, подверженные действию перемещений, вызываемых вихреобразованием, могут быть также подвержены усиленному износу звеньев в районе направляющего блока, который обусловлен высоким контактным давлением и большим перемещением между звеньями. Этот аспект необходимо тщательно оценивать, и следует учитывать измерение периодического сдвига звеньев на направляющем блоке, чтобы смягчить проблему износа. Измерение износа с помощью предельного калибра, как указано в [4], также следует рассматривать для выявления чрезмерного износа звеньев цепи.
9.4.1 Общие сведения
Динамические реакции плавучих сооружений вызывают перемещения систем позиционирования в трех различных частотных областях:
- средние реакции;
- низкочастотные реакции;
- реакции с частотой волн.
Наибольшие значения натяжения якорных линий должны оцениваться методом объединения всех трех составляющих, указанных выше, в соответствии с 9.5. Наибольшие значения натяжения лежащих на грунте участков якорных линий необходимо оценивать аналогичным методом, если это применимо.
Реакции системы позиционирования на средние воздействия могут быть спрогнозированы с помощью статических уравнений упругих провисающих якорных линий, включая удлинение якорных линий. Как правило, реакции на низкочастотные колебания также можно прогнозировать с помощью этого же метода, по причине длительных периодов таких колебаний. Реакции системы позиционирования на перемещения сооружения с частотой волн возможно прогнозировать с помощью методов, приведенных в 9.4.2 и 9.4.3.
Дополнительная информация и рекомендации приведены в А.8.4.1 (приложение А).
9.4.2 Квазистатический анализ
В этом методе воздействие волн учитывается за счет перемещения сооружения в результате колебаний, вызываемых волнами. Динамическое действие на якорные линии, связанное с массой, демпфированием и ускорением жидкости, не учитывают. Исследования динамики якорных линий выявили, что показатели надежности конструкций якорных линий, определенные на основе данного метода, могут варьироваться в зависимости от типа сооружения, глубины моря и конфигурации якорных линий.
Дополнительная информация и рекомендации приведены в А.8.4.2 (приложение А).
9.4.3 Динамический анализ
Динамический анализ якорных линий описывает изменяющиеся во времени эффекты, связанные с массой, демпфированием и ускорением жидкости. В данном подходе изменяющиеся во времени движения направляющих блоков якорных линий необходимо определять на основе продольно-горизонтальной, поперечно-горизонтальной, бортовой, килевой качек и рыскания плавучего сооружения. Динамические модели используют для прогнозирования реакции якорных линий на движения направляющих блоков.
Может использоваться подход в частотной области в соответствии с 9.3.1.2 или подход во временной области в соответствии с 9.3.1.3, для прогнозирования натяжений на якорных линиях. При использовании временной области все нелинейные эффекты, включая удлинение якорных линий, геометрию якорных линий, влияние водной среды и воздействия поверхности морского дна могут моделироваться. Использование подхода в частотной области, с другой стороны, в целом линейное. Методы аппроксимации нелинейных параметров в частотной области, а также их ограничения, необходимо исследовать, чтобы обеспечить приемлемые решения для предполагаемого применения.
Дополнительная информация и рекомендации приведены в А.8.4.3 (приложение А).
9.5.1 Среднее натяжение
Среднее натяжение представляет собой натяжение якорных линий, которое соответствует среднему значению перемещения при реакции плавучего сооружения.
9.5.2 Наибольшие значения натяжения
При использовании подхода в частотной области наибольшие значения натяжения якорных линий при моделировании реакции сооружения согласно 9.3.1.2 получают из натяжения якорных линий под действием колебаний с частотой волнения, рассчитанных в положениях сооружения, эквивалентных Smax - Swfmax, по отношению к местоположению каждого якоря. Наибольшие значения натяжения якорных линий затем определяются следующим образом:
Textreme = Tstatic ± Twfmax,
(10)
где Textreme - наибольшее значение натяжения, Н;
Tstatic - статическое натяжение при Sextreme - Swfmax, Н;
Twfmax - максимальное натяжение на основе анализа в частотной области, Н;
Sextreme - применимые значения перемещений Smax или Smin для конкретного перемещения от верхней точки закрепления до якоря, из формулы (2) или формулы (3) соответственно, м;
Swfmax - перемещение от верхней точки закрепления до якоря, определенное в соответствии с 9.2.3, м.
Альтернативой этому подходу являются подход с использованием временной области (9.3.1.3), и комбинированный подход во временной и частотной областях (9.3.1.4), который включает статистическую обработку моделируемых временных зависимостей для получения максимальных значений натяжения якорных линий.
9.5.3 Проверка расчетов
Наибольшие значения натяжения якорных линий проверяют по расчетным критериям, указанным в 11.2.
9.5.4 Натяжение для усталостного анализа
Диапазон натяжения якорных линий для усталостного анализа вычисляют аналогично 9.5.1 и 9.5.2. Детальная информация по методу изложена в 10.3.3.2.
В зависимости от типа системы позиционирования, оценивают тип используемых якорей и материал якорных линий, ряд параметров по длине линий и их геометрии, для подтверждения их соответствия расчетным критериям.
Для систем позиционирования с провисающими якорными линиями с якорями, заглубляемыми протаскиванием, не рассчитанными на вертикальные нагрузки, необходимо определять минимальную длину участка якорной линии, укладываемой на морское дно, в соответствии с расчетными критериями, обусловленными конкретными условиями площадки установки плавучего сооружения.
Для якорей, рассчитанных на вертикальные нагрузки, должно быть продемонстрировано соответствие расчетным критериям для специального типа якоря.
Для якорных линий, длительное нахождение которых на поверхности морского дна нежелательно, участок линии, расположенный ближе всего к якорю, необходимо заменить цепью. В таких случаях минимальное возвышение участка каната-цепи вычисляют, и верифицируют по минимальному возвышению, заданному с учетом специфики площадки.
Для якорных линий, для которых нежелательно нахождение в зоне периодического смачивания или трение о направляющий блок, верхний участок линии необходимо заменить цепью. В таких случаях положение верхнего участка якорной линии оценивают и сравнивают с критерием минимальной глубины, заданным с учетом специфики площадки установки плавучего сооружения.
Для якорных линий, которые находятся в непосредственной близости от других подводных и надводных сооружений, могут существовать другие требования к вертикальным и горизонтальным зазорам безопасности. В данных случаях результаты анализа перемещений в конкретных точках необходимо сопоставить со значениями, установленными в 11.7, для конкретного месторасположения. Ограничения по длине и геометрии якорных линий, выполненных из волоконных синтетических канатов, представлены в разделе 15.
Наибольшее из предельных значений натяжения якорных линий, определенное в рамках анализа натяжения якорных линий, представленного в 9.5.2, должно быть использовано для прогнозирования максимальных усилий на якорях. Результаты необходимо сравнивать с расчетными критериями, представленными в 11.4.
9.8.1 Анализ частотных характеристик пространственных систем позиционирования
При анализе систем позиционирования с использованием описания реакции плавучих сооружений в частотной области среднее положение сооружений сначала определяется на основе вычислений статического равновесия в направлении продольно-горизонтальной качки, поперечно-горизонтальной качки и рыскания. Затем определяют реакции сооружения на волновые и низкочастотные колебания в виде продольно-горизонтальной качки, поперечно-горизонтальной качки и рыскания и добавляют к среднему положению сооружения. Следует использовать процедуру, описанную в А.8.8.1.
В случае если сооружение имеет небольшую площадь ватерлинии (см. 9.2.2), анализ систем позиционирования выполняют для перемещений в шести степенях свободы (продольно-горизонтальной качки, поперечно-горизонтальной качки, вертикальной качки, бортовой качки, килевой качки и рыскания). Дополнительная информация и рекомендации приведены в А.8.8.1 (приложение А).
9.8.2 Анализ частотных характеристик систем позиционирования одноточечных плавучих причалов
При выполнении анализа, основанного на описании реакции плавучего сооружения в частотной области, учитывают курс постановки сооружения. Проектные курсы постановки плавучего сооружения, при которых вычисляют реакции системы позиционирования, определяют с учетом среднего значения равновесного положения курса и низкочастотного рыскания сооружения. Методика выполнения анализа частотных характеристик систем позиционирования одноточечных плавучих причалов представлена в А.8.8.2 (приложение А).
Дополнительная информация и рекомендации приведены в А.8.8.2 (приложение А).
9.8.3 Анализ во временной области
Методы анализа во временной области могут быть использованы для одновременного моделирования средней реакции, низкочастотной реакции и реакции с частотой волнения объединенной системы, состоящей из плавучего сооружения и якорных линий. Данный подход требует инструментария для анализа системы позиционирования во временной области, который предоставляет возможность решения общего уравнения колебаний и выдачи комбинированных значений средних, низкочастотных реакций и реакций с частотой волнения плавучего сооружения, якорных линий и райзеров. Существенное преимущество такого подхода состоит в том, что низкочастотное демпфирование от сооружения, якорных линий и райзеров автоматически генерируется при моделировании, а взаимодействие между сооружением и системой позиционирования/райзерами полностью это учитывает. Процедура анализа во временной области представлена в А.8.8.3 (приложение А).
9.9.1 Общие сведения
В настоящем подразделе рассматриваются системы позиционирования одноточечных плавучих причалов или пространственные системы позиционирования, использующие для удержания совместную работу якорных линий и средств активного управления.
Дополнительная информация и рекомендации приведены в А.8.9.1 (приложение А).
9.9.2 Анализируемые состояния
Определение неповрежденного состояния и состояния резервного функционирования для комбинированных систем позиционирования (с якорными линиями и средствами активного управления) представлены в таблице 2.
|
Анализируемое состояние якорных линий |
Анализируемое состояние средств активного управления |
Анализируемое состояние комбинированной системы позиционирования (с якорными линиями и средствами активного управления) в целом |
|
Неповрежденное |
Неповрежденное |
Неповрежденное |
|
Неповрежденное |
Состояние резервного функционирования |
Состояние резервного функционирования |
|
Состояние резервного функционирования |
Неповрежденное |
Состояние резервного функционирования |
Дополнительная информация и рекомендации приведены в А.8.9.2 (приложение А).
9.9.3 Определение допустимой тяги средств активного управления
Когда средства активного управления используют в качестве вспомогательных для системы позиционирования, то допустимую тягу, которую допускается использовать в анализе системы позиционирования, следует определять следующим образом:
a) определить имеющуюся эффективную тягу (тяговое усилие) с учетом эффективности и потерь у средств активного управления из-за перемещения плавучего сооружения, течения, взаимодействия средств активного управления между собой и корпусом сооружения, а также любых ограничений по направлению;
b) определить вариант наихудшего отказа средств активного управления. Следует выполнить анализ методом FMEA для определения самого наихудшего варианта единичного отказа, см. 14.2.1. При определении наихудшего варианта единичного отказа следует учитывать степень готовности системы активного управления (среднее время наработки на отказ и среднее время на устранение отказа) на протяжении расчетного срока службы сооружения;
c) определить допустимое тяговое усилие:
1) для систем с автоматическим управлением средствами активного управления допустимое тяговое усилие:
- для средства активного управления в неповрежденном состоянии - эквивалентное имеющемуся эффективному тяговому усилию;
- для средства активного управления в состоянии резервного функционирования - эквивалентное имеющемуся эффективному тяговому усилию после учета наихудшего варианта отказа, определенного по методу FMEA;
2) для систем с ручным управлением средствами активного управления допустимое тяговое усилие должно составлять 0,7 от величины, определенной выше для систем с автоматическим управлением средствами активного управления.
Допустимая тяга, используемая в анализе системы позиционирования, должна быть верифицирована при выполнении ходовых испытаний средств активного управления.
Дополнительная информация и рекомендации приведены в А.8.9.3 (приложение А).
9.9.4 Распределение нагрузки
9.9.4.1 Общие сведения
В комбинированных системах позиционирования (с якорными линиями и средствами активного управления) распределение нагрузки между средствами активного управления и якорными линиями является сложным процессом. Тем не менее простой метод снижения средней нагрузки, описанный ниже, позволяет получить необходимые результаты.
9.9.4.2 Метод снижения средней нагрузки
В этом упрощенном подходе для средств активного управления необходимо учитывать только усредненные воздействия окружающей среды в направлении продольно-горизонтальной, поперечно-горизонтальной качек и рыскания. Сначала оценивают допустимую тягу средств активного управления (см. 9.9.3), а затем ее вычитают из усредненного воздействия. Остаток усредненного воздействия, а также волновые и низкочастотные колебания компенсируются работой системы позиционирования.
Для сооружений с пространственными системами позиционирования, где устойчивость курса плавучего сооружения поддерживается за счет якорных линий, компоненты продольного и бокового сноса допустимой тяги могут быть вычтены из среднего продольного и среднего бокового воздействия окружающей среды. Реакцию системы позиционирования затем оценивают путем анализа систем позиционирования без средств активного управления, см. 9.8.1-9.8.3.
9.9.4.3 Контроль курса и демпфирования продольно-горизонтальной качки
В комбинированных системах позиционирования (с якорными линиями и средствами активного управления) одноточечных плавучих причалов основной функцией средств активного управления является контроль курса постановки подсоединенного к причалу плавучего сооружения. В случае если мощность средств активного управления значительно превышает требования по контролю курса плавучего сооружения, имеющаяся мощность может быть перераспределена между контролем курса постановки и осуществлением низкочастотного демпфирования продольно-горизонтальной качки.
9.9.4.4 Динамический анализ системы
Динамический анализ комбинированной системы позиционирования (с якорными линиями и средствами активного управления) следует выполнять во временной области. Эта модель должна вырабатывать среднее перемещение, низкочастотные колебания плавучего сооружения, характеристики системы управления и реакции средств активного управления, которые соответствуют конкретным условиям окружающей среды.
9.10.1 Общие сведения
Удерживаемое плавучее сооружение испытывает перемещения в переходном состоянии после обрыва якорной линии или отказа средств активного управления, перед тем, как будет найдено новое положение статического равновесия, см. 9.1.1.4. Анализ переходных состояний выполняется для проверки максимального перемещения, которое произошло после указанных событий, в соответствии с таблицей 1.
Анализ переходных состояний удерживаемого сооружения под воздействием волн, ветров, течений и воздействий средств активного управления является сложным, и может потребоваться проведение анализа во временной области. Для упрощения анализа допускается использовать комбинированный подход, как это представлено в 9.10.2.
Дополнительная информация и рекомендации приведены в А.8.10 (приложение А).
9.10.2 Комбинированный подход в частотной и временной областях
В этом подходе максимальные перемещения в переходном состоянии сначала определяют на основе анализа во временной области. Низкочастотные колебания, а также колебания с частотой волны, полученные при проведении анализа в частотной области, затем объединяются с переходными процессами перемещений. Рекомендуется выполнить следующую процедуру:
a) определить положение статического равновесия при среднем воздействии на неповрежденную систему позиционирования;
b) смоделировать обрыв якорной линии и вычислить максимальное значение перемещения в переходном состоянии во временной области лишь со средней нагрузкой, но с жесткостью системы позиционирования, которая уточняется на каждом интервале времени. В целом, требуется модель с тремя степенями свободы (продольно-горизонтальная качка, поперечно-горизонтальная качка и рыскание);
с) определить максимальное перемещение плавучего сооружения.
Smax = Smean + Slfsig + Swfsig + St,
(11)
где Smean - среднее перемещение плавучего сооружения, определенное в соответствии с шагом а), м;
Slfsig - положительное значение статистически значимого значения низкочастотного колебания, определенного в частотной области, в состоянии резервного функционирования жесткости системы позиционирования, м;
Swfsig - положительное значение статистически значимого значения колебаний с частотой волн, определенного в частотной области, м;
St - максимальное значение перемещения плавучего сооружения в переходном состоянии переходного относительно положения статического равновесия [из шага а)], определенное в соответствии с шагом b), м.
9.10.3 Подход во временной области
Анализ во временной области перемещений плавучего сооружения в переходном состоянии аналогичен анализу во временной области реакции сооружения, описанного в 9.3.1.3. Единственным различием является то, что в моделировании не используется якорная линия с целью имитации ее обрыва. Моделирование необходимо повторять для нескольких волновых воздействий в различные периоды времени, а для обрывов якорных линий в различных временных точках для каждого периода времени. Следует использовать максимальное наблюдаемое перемещение в ходе указанного моделирования или максимальное рассчитанное перемещение на основе результатов этого моделирования, см. 9.3.2.
Усталостный анализ представляет собой сложный процесс со многими неопределенностями. Стандартные процедуры усталостного анализа представлены в настоящем стандарте. Альтернативные процедуры также могут быть использованы, при условии, что они документально оформлены для достижения аналогичных уровней надежности по сравнению с процедурами, представленными в настоящем стандарте.
Для определения суммарного усталостного повреждения следует использовать правило Майнера. В отношении основных компонентов якорных линий (т.е. цепей, стальных канатов и соединительных звеньев) вычисления правила Майнера могут основываться на диапазоне натяжения (так называемом T-N подходе), как это описывается ниже, или на основе диапазона напряжений (так называемом S-N подходе), как это описано в А.9.1. Для других компонентов, таких как свайные якоря и принадлежности, как правило, используется S-N подход. Дополнительная информация и рекомендации приведены в А.10.4.3.2.3.7.1 (приложение А).
Динамические анализы во временной и (или) частотной областях используют для определения диапазонов натяжения или напряжения. Квазистатический анализ может использоваться только при условии его полного документального оформления для достижения уровней надежности, сопоставимых с полученными с помощью динамического анализа во временной и (или) частотной области. Данные модельных испытаний в бассейне допускается использовать вместо динамических анализов, при условии, что эти данные полностью документально оформлены и пригодны для усталостного анализа.
Определение усталостной прочности некоторых типичных элементов систем позиционирования указано в 10.2. Требования к усталостной прочности волоконных синтетических канатов представлены в разделе 15.
Процедуры вычислений с целью определения циклов натяжения приведены в 10.3. Приведено несколько подходов для определения усталостного повреждения, включая варьирующие степени упрощения суммирования повреждения на основе правила Майнера.
10.2.1 Стальные канаты, цепи и соединительные звенья
Усталостная прочность стальных канатов, цепей, соединительных звеньев, а также других элементов системы позиционирования, показана кривыми усталости T-N, где диапазон натяжения T, как правило, безразмерный, путем деления на приемлемое эталонное разрывное усилие, а N представляет собой допустимое количество циклов. Кривые усталости T-N основываются на данных усталостных испытаний для этих компонентов, а также регрессионном анализе.
Характерные кривые усталости T-N для некоторых стальных канатов, цепей, а также соединительных звеньев, представлены в 10.2.2. Кривые усталости T-N используют для оценки усталостных условий "натяжение-натяжение" (Т-Т) в соответствии с 10.2.3. Усталостные условия при свободном изгибе рассматривают в 10.2.4.
10.2.2 Кривые усталости T-N
Типовая кривая усталости T-N выражается формулой (12):
N·Tm = K,
(12)
где N - общее количество допустимых циклов натяжения Т;
T - отношение диапазона натяжения (двойная амплитуда) к эталонному разрывному усилию элемента (соответствующая эталонная прочность для каждого типа элементов приведена ниже);
m - обратный уклон кривой усталости T-N;
K - постоянная усталости.
Кривые T-N наносятся на миллиметровую бумагу в качестве прямых линий.
Значения m и K приведены в таблице 3 для звеньев цепей, соединительных звеньев и компонентов стальных канатов.
|
Элемент |
m |
K |
|
Общее звено с распоркой |
3,00 |
1000 |
|
Общее звено без распорки |
3,00 |
316 |
|
Соединительное звено Болдта и Кентера |
3,00 |
178 |
|
Стальной канат шестипрядный/многопрядный (с защитным антикоррозионным покрытием) |
4,09 |
10(3,20 - 2,79 Q *) = 231, если Q * = 0,3 |
|
Стальной канат одинарной свивки (с защитным антикоррозионным покрытием) |
5,05 |
10(3,25 - 3,43 Q *) = 166, если Q * = 0,3 |
|
* Q - отношение среднего натяжения к минимальному разрывному усилию стального каната. | ||
Чтобы сделать допуск на коррозию и износ при определении эталонного разрывного усилия общих и соединительных звеньев якорных цепей категорий R3, R3S, R4, R4S, R5, их калибр должен быть равен номинальному калибру минус половина допуска на коррозию и износ.
В таблице 3 указано, что усталостная прочность цепи без распорки меньше, чем у соответствующей цепи с распоркой. Тем не менее наличие распорки приводит к ряду возможных усталостных явлений, которые не могут быть выявлены при осмотре (ослабленные распорки, трещины в сварных швах распорки, острые углы в основании распорок, коррозия между распоркой и звеном и дефекты, которые скрыты за распоркой). Уравнения для цепи с распоркой не действуют для звеньев с ослабленными распорками. Поэтому важно учитывать все факторы, влияющие на усталостную прочность при выборе типа цепи.
Кривая усталости T-N для соединительных звеньев Болдта и Кентера основана на ограниченных данных усталостных испытаний.
Усталостная прочность дугообразных скоб со штырями сравнима с общими звеньями аналогичного размера и марки, при условии, что скобы обработаны, чтобы входить в соединение с малым допуском. В корпусе скобы шплинт не используется, и скоба имеет узкий зев.
Для других типов соединительных звеньев, если опубликованных данных недостаточно для построения кривых усталостной прочности, следует проводить соответствующие испытания с целью построения кривых для использования таких звеньев в стационарных системах позиционирования. Испытания следует проводить, чтобы их характер согласовывался с испытаниями, на результатах которых основываются кривые усталости T-N, перечисленные в таблице 3.
Эталонное разрывное усилие стального каната равно его минимальному разрывному усилию.
Кривые усталости T-N для стального каната основываются на данных усталостного испытания для шестипрядного, многопрядного канатов и канатов одинарной свивки. Как показано в таблице 3, усталостная прочность стального каната является функцией среднего натяжения в канате, которая в системе позиционирования с провисающими якорными линиями, как правило, составляет 0,2-0,3 от минимального разрывного усилия. При оценке усталостного повреждения стального каната необходимо учитывать воздействие среднего натяжения согласно 10.3.3.
Усталостные данные по стальному канату основаны на испытаниях, в которых не учитывают эффекты коррозии. Поэтому кривые усталости T-N в таблице 3 соответствуют лишь стальным канатам с антикоррозийной защитой, например, с гальванической, плакирующей оболочкой, с защитным компаундным соединением, а также могут рассматриваться канаты с цинковым покрытием. При использовании стального каната как части стационарной системы позиционирования, расчетный срок службы, освидетельствование, а также стратегию замены следует учитывать при определении комбинации систем антикоррозийной защиты, которая необходима для использования в каждом конкретном случае.
Дополнительная информация и рекомендации приведены в А.9.2.2 (приложение А).
10.2.3 Усталость типа "натяжение-натяжение" (Т-Т)
Элементы цепи, соединительного звена и стального каната систем позиционирования, подверженных натяжению, следует проектировать с учетом усталостной прочности, определяемой в соответствии с 10.2.2 для вычисления усталостного повреждения в соответствии с 10.3.3. Оценка усталости других элементов систем позиционирования, подверженных чистому натяжению, которое может моделироваться с помощью кривых T-N, также должна выполняться в соответствии с 10.2.2 и 10.3.3, при условии, что соответствующие кривые T-N существуют или могут быть построены.
10.2.4 Усталость типа "изгиб-натяжение" (В-Т) и усталость при свободном изгибе
Комбинация изгибания-натяжения стальных канатов и цепей, как правило, происходит в таких местах, как направляющие блоки, отводные блоки, стопорные устройства, полуклюзы, ограничители изгиба, а также стабилизирующие грузы якорных линий и амортизирующие буи. В этих местах усталостное повреждение типа "натяжение-натяжение" усиливается за счет наличия изгиба, а также за счет возможных дополнительных эффектов, связанных с износом и коррозией.
При отсутствии применимых данных по усталостному повреждению вследствие изгиба-натяжения стальных канатов отношение диаметра изгиба к диаметру стального каната должно быть довольно значительным, чтобы избежать чрезмерного изгиба [см. А.9.2.4 таблица А.4 (приложение А)].
Усталостный анализ стального каната и цепей должен адекватно учитывать дополнительную концентрацию напряжения в точках непосредственного контакта. Усталостное повреждение в таких условиях может быть снижено за счет проведения регулярного осмотра и регулировки линий, чтобы избежать концентрации изгибания в одном месте.
Свободный изгиб оконечностей стального каната может вызывать значительное усталостное повреждение и уменьшать срок наступления усталости. Должны устанавливаться устройства, ограничивающие изгибание в таких местах. Такие устройства проектируются, чтобы плавно переносить усилия от окончаний на канат в условиях всего диапазона осадок и перемещений плавучего сооружения.
Дополнительная информация и рекомендации приведены в А.9.2.4 (приложение А).
10.3.1 Общие сведения
Процедура определения натяжения якорных линий для усталостного анализа приведена в 10.3.3.2. Рекомендованные процедуры усталостного анализа описаны в 10.3.2 и 10.3.3, в то время как коэффициент безопасности усталостной прочности приведен в 11.5.
10.3.2 Накопленное усталостное повреждение
Накопленное усталостное повреждение в течение расчетного срока службы L принимается равным L, умноженному на годовое усталостное повреждение. Годовое усталостное повреждение компонентов якорных линий определяется как сумма годового усталостного повреждения, возникающего в виде комбинации n MDS.
Каждое MDS включает:
- определенное состояние моря, которое выбрано с целью дискретизировать долговременные внешние воздействия окружающей среды, в которых находится система позиционирования;
- вероятность возникновения определенного состояния моря;
- среднее перемещение и изменение курса, отражающие влияние воздействий ветра, течения и волнения на плавучее сооружение;
- типовые условия нагружения (т.е. расчетные условия эксплуатации) плавучего сооружения.
Годовое усталостное повреждение рассчитывают по формуле
,
(13)
где D - годовое усталостное повреждение компонента якорной линии, год-1;
Di - годовое усталостное повреждение, выраженное в MDSi, год-1.
Дискретизация в i = 1, ..., n комбинации должна учитывать чувствительность расчета на усталость к принятым входным параметрам, включая эффекты от:
- изменений направления среднего результирующего воздействия на плавучее сооружение ветра, течения и волнения;
- характерной высоты волны;
- периода пика спектра или среднего периода нулевого пересечения;
- параметра формы коэффициента пиковатости;
- среднего перемещения плавучего сооружения (из-за дрейфа, течения или других эффектов);
- гидродинамического демпфирования из-за течения или дрейфа;
- расчетного распределения профилей течения по глубине;
- условий нагружения плавучего сооружения.
10.3.3 Оценка усталостного повреждения
10.3.3.1 Общие сведения
После определения внешних условий окружающей среды, приведенных в 10.3.2, необходимо отобрать и задокументировать типовые данные по каждому MDS в качестве основы для долговременной усталостной оценки. Каждое условие окружающей среды должно определяться параметрами ветра, волн и течения и их направлений. Реакции плавучего сооружения должны быть выражены в значениях осадки, крена и дифферента (соответствующих конкретному распределению груза и балласта).
Необходимо определить годовую вероятность возникновения Pi расчетного состояния системы позиционирования MDSi. Как правило, следует рассматривать от восьми до десяти направлений, представляющих распределение по направлениям долговременных внешних воздействий окружающей среды. Оценка чувствительности, как это описано в 10.3.2, может использоваться для выявления количества состояний моря, необходимых для адекватного долговременного представления, обычно это от 10 до 50. Как правило, трех условий нагружения плавучих сооружений бывает достаточно: полностью загруженное плавучее сооружение, полностью загруженное балластом плавучее сооружение и плавучее сооружение в долговременном среднем эксплуатационном состоянии. Если система позиционирования работает в различных режимах, например, с/без присоединенного плавучего сооружения, то для каждого режима должен выполняться отдельный анализ.
Годовое усталостное повреждение, накопленное в отдельном MDS, рассчитывают по формуле
,
(14)
где nk - количество циклов безразмерного диапазона натяжения Тk, возникающего в MDSi, год-1;
Nk - общее количество допустимых циклов для безразмерного диапазона натяжения Тk из формулы (12), год-1;
Tk - безразмерный диапазон натяжения, как это определено в 10.2.2.
Количество циклов диапазона натяжения в год в каждой MDS может быть определено следующим образом:
ni=fiXi=fi·Pi·C1,
(15)
где fi - нулевая частота, пересекающая снизу вверх спектр натяжения в MDSi, Гц;
Xi - время, потраченное в MDSi в год, с;
Pi - вероятность возникновения MDSi;
C1 - среднее количество секунд в год = 3,15576 х 107 с.
Примечание - Упрощенная запись формулы (14) представлена в А.9.3.3.1, где Тk вытекает из распределения Рэлея, а кривая T-N согласуется с формулой (12).
Дополнительная информация и рекомендации приведены в А.9.3.3.1 (приложение А).
10.3.3.2 Определение диапазона натяжения
При выполнении анализа в частотной области стандартное отклонение низкочастотного натяжения вычисляют в районе среднего перемещения плавучего сооружения для каждого MDS, т.е.
slf_eff=Tlf_mean+stdev - Tmean,
(16)
где slf_eff - эффективное стандартное отклонение низкочастотного натяжения, Н;
Tlf_mean+stdev - натяжение при Smean + slf_s, Н;
Tmean - натяжение при среднем перемещении, Н;
Smean - среднее перемещение сооружения, м, как определено в 9.2.2;
slf_s - стандартное отклонение низкочастотного колебания от верхней точки прикрепления до якоря, для каждой якорной линии, м.
Стандартное отклонение натяжения с частотой волны также вычисляют в районе среднего перемещения плавучего сооружения для каждой MDS.
При выполнении анализа во временной области изменение натяжения во времени может быть напрямую взято из анализа.
10.3.3.3 Комбинация натяжений с частотой волны и низкочастотных натяжений
10.3.3.3.1 Общие сведения
Для оценки усталостного повреждения допускается использовать следующие четыре метода для комбинации повреждений вследствие натяжений с частотой волн и низкочастотного натяжения:
a) метод простого суммирования: повреждение на частоте волн и низкочастотное повреждение вычисляют по отдельности, а суммарное повреждение берут как сумму двух повреждений;
b) метод комбинированного спектра: стандартные отклонения диапазонов натяжения на частоте волны и диапазоны низкочастотного натяжения вычисляют независимо друг от друга, на основе временных серий спектра натяжения на частоте волн и спектра натяжения на низких частотах; стандартное отклонение комбинированной реакции вычисляют с использованием формулы (19). Повреждение затем вычисляют с использованием комбинированного стандартного отклонения;
c) метод комбинированного спектра с поправочным коэффициентом, учитывающим данные двух полос частот, которые присутствуют в процессе натяжения: поправочный коэффициент умножается на результат, полученный методом комбинированного спектра, представленного в перечислении b);
d) метод подсчета циклов во временной области: усталостное повреждение вычисляют на основе временной зависимости натяжения с использованием метода подсчета, такого как "метод дождя", для оценки значения и количества циклов в диапазоне натяжения. Временную зависимость натяжения можно определить непосредственно путем анализа во временной области, либо она может быть определена на основе комбинированного анализа в низкочастотном спектре и в спектре частоты волн.
Относительные преимущества каждого из этих методов приведены ниже.
Метод из перечисления а) "простое суммирование" не является консервативным, но может применяться в отношении MDS, если вклад низкочастотного натяжения в общую реакцию натяжения является незначительным [λLi < 0,15, см. формулу (21)].
Метод из перечисления b) "комбинированный спектр" в целом консервативный и может применяться в отношении любого MDS.
Метод из перечисления с) "комбинированный спектр с поправочным коэффициентом, учитывающим данные двух полос частот, которые присутствуют в процессе натяжения" является усовершенствованием, которое позволяет получить менее завышенные результаты с отклонением в безопасную сторону, чем с использованием метода из перечисления b), и который также может применяться в отношении любого MDS. Однако усовершенствование, как правило, теряется в MDS, где низкочастотное натяжение сильно доминирует.
Метод из перечисления d) "подсчет циклов во временной области", при неукоснительном использовании с достаточным количеством моделирований во времени представляет диаграмму рассеяния волн, в целом, считается наиболее достоверным методом вычисления усталостного повреждения и должен использоваться в случаях, когда имеются временные зависимости комбинированного низкочастотного натяжения и натяжения с частотой волны.
Анализ процедур по методам из перечислений а), b) и с) представлен в 10.3.3.3.2-10.3.3.3.4.
Дополнительная информация и рекомендации приведены в А.9.3.3.3 (приложение А).
10.3.3.3.2 Простое суммирование
Годовое усталостное повреждение Di для состояния MDSi определяется путем использования по отдельности формул (14) и (15) применительно к диапазонам натяжения на частоте волн и низкочастотного диапазона натяжения. Результат дан в формуле (17):
,
(17)
где обозначения используются, как это определено в 10.2.2. Обозначения с нижним индексом Wi относятся к натяжению в MDSi только применительно к возбуждению на частоте волны, в то время как обозначения с нижним индексом Li относятся к натяжению в MDSi только за счет низкочастотного возбуждения, и где:
nLi - количество циклов низкочастотного диапазона натяжения в год для MDSi на основании формулы (15), в котором средняя нулевая частота пересечения снизу вверх может быть вычислена путем 1/tn, где tn - период собственной частоты (продольно-горизонтальная качка, поперечно-горизонтальная качка и (или) рысканье, в зависимости от ситуации) удерживаемого сооружения, вычисляемое в его среднем положении;
nWi - количество циклов натяжения с частотой волны в год в MDSi на основе формулы (15);
σLi - отношение стандартного отклонения вариантов низкочастотного натяжения от среднего значения к эталонному разрывному усилию;
σWi - отношение стандартного отклонения вариантов натяжения с частотой волны от среднего значения к эталонному разрывному усилию;
Г - гамма-функция.
K и m - определены в 9.2.2.
Примечание - Стандартное отклонение распределения вероятности диапазона натяжения в два раза больше стандартного отклонения натяжения.
10.3.3.3.3 Комбинированный спектр
Годовое усталостное повреждение Di для состояния MDSi определяется следующим образом на основе распределения Рэлея пиков натяжения:
,
(18)
где σi - отношение стандартного отклонения комбинированных вариантов низкочастотного натяжения и натяжения с частотой волны от среднего значения к эталонному разрывному усилию
,
(19)
где ni - количество циклов диапазона натяжения в год в MDSi на основе формулы (15), в котором средняя нулевая частота пересечения снизу вверх определяется следующим уравнением:
,
(20)
где fWi - нулевая частота пересечения снизу вверх спектра натяжения с частотой волны в MDSi, Гц;
fLi - нулевая частота пересечения снизу вверх низкочастотного спектра натяжения в MDSi (вычисляемое, как описано по nLi в 10.3.3.3.2), Гц;
,
(21)
.
(22)
10.3.3.3.4 Комбинированный спектр с поправочным коэффициентом, учитывающим данные двух полос частот, которые присутствуют в процессе натяжения
Годовое усталостное повреждение для состояния MDSi определяется на основе:
,
(23)
где
,
(24)
где ρi - поправочный коэффициент, учитывающий данные двух полос частот, которые присутствуют в процессе натяжения;
fei - средняя частота пересечения снизу вверх в области нормализованных вариантов натяжения от среднего значения натяжения, Гц
,
(25)
где δWi - параметр частотного диапазона для компонента на частоте волны нормализованных вариантов натяжения от среднего значения натяжения, которые могут быть взяты равными 0,1.
Значения гамма-функций в отношении стандартных значений m представлены в таблице 4.
|
Наименование показателя |
Обратный уклон кривой усталости T-N m | |||
|
3,000 |
4,090 |
5,050 | ||
|
Гамма-функция Г |
Г |
1,329 |
2,086 |
3,417 |
|
Г |
1,000 |
1,373 |
2,047 | |
10.3.3.4 Учет средних значений натяжения стальных канатов
Усталостное повреждение в стальном канате зависит от среднего значения натяжения, а также от переменной дополнительной составляющей. Для учета этого двойного воздействия сначала должно быть определено среднее натяжение для каждой линии в каждом MDS. Из таблицы 3 должны быть выбраны соответствующие типовые кривые усталости T-N для вычисления усталостного повреждения для этого MDS. Это значит, что в принципе различные типовые кривые усталости T-N могут применяться для каждой линии в каждом MDS.
Дополнительная информация и рекомендации приведены в А.9.3.3.4 (приложение А).
Ограничения по перемещению плавучих сооружений устанавливают на основе требований к допускам и ограничениям к удовлетворительной работе оборудования, такого как шлангокабели, райзеры и переходные площадки, а также ко времени, которое требуется для безопасной работы любой системы отключения/разъединения. Для неповрежденного состояния, состояния резервного функционирования и переходного состояния плавучего сооружения следует применять различные критерии, подробное описание которых представлено ниже.
Перемещение плавучего сооружения от месторасположения скважины на дне моря контролируют, чтобы не допустить повреждения бурового оборудования, не затруднить доступ к скважине или не повредить добывающие райзеры.
Дополнительная информация и рекомендации к настоящему нормативному положению приведены в А.10.1 (приложение А).
Для якорной линии допустимые натяжения выражают в виде процента от ее минимального разрывного усилия после вычета на коррозию и износ.
Допустимые натяжения в различных условиях и для разных методов анализа устанавливают в соответствии с данными таблицы 5, в которой также указаны расчетные коэффициенты безопасности. Эти ограничения применяют только в отношении надлежащим образом эксплуатируемых якорных линий, значения минимального разрывного усилия соединительных элементов которых выше или равны значениям минимального разрывного усилия для самих якорных линий.
|
Анализируемое состояние |
Метод анализа |
Допустимые натяжения якорной линии, % от минимального разрывного усилия |
Расчетный коэффициент безопасности |
|
Неповрежденное |
Квазистатический |
50 |
2,00 |
|
Неповрежденное |
Динамический |
60 |
1,67 |
|
Состояние резервного функционирования |
Квазистатический |
70 |
1,43 |
|
Состояние резервного функционирования |
Динамический |
80 |
1,25 |
|
Переходное |
Квазистатический или динамический |
95 |
1,05 |
Аналогичные ограничения по натяжению якорных линий применяют в комбинированных системах позиционирования (с якорными линиями и средствами активного управления), при условии, что система средств активного управления спроектирована с соответствующим уровнем надежности и способна внести значительный вклад в способность удерживать плавучее сооружение.
Дополнительная информация и рекомендации приведены в А.10.2 (приложение А).
В случае применения якорей, заглубляемых протаскиванием, длина забортного участка якорной линии должна быть достаточной, чтобы не допустить подрыва якоря при возникновении любого из состояний, указанных в 9.1.2.5, если только не подтверждено, что якорь обладает достаточным сопротивлением вертикальным выдергивающим усилиям. Рекомендации по применению якорей, заглубляемых протаскиванием, способных противостоять вертикальным выдергивающим усилиям, представлены в А.10.4.2.
В системах позиционирования возможно применение более коротких участков якорных линий, лежащих на морском дне, при условии использования свайных якорей, вакуумных якорей или якорей с высоким сопротивлением вертикальным выдергивающим усилиям.
Дополнительная информация и рекомендации приведены в А.10.3 (приложение А).
11.4.1 Общие сведения
Системы позиционирования с якорными линиями включают в себя следующие типы якорей:
- якоря, заглубляемые протаскиванием;
- свайные якоря (забивные, вакуумные, винтовые и буронабивные);
- другие типы якорей (гравитационные и плитовидные).
При выборе якорей учитывают требуемые характеристики системы позиционирования, характеристики грунта, надежность, способ установки и испытательную нагрузку. Следует продемонстрировать, что конструктивная прочность якорей является достаточной по отношению к удерживающей способности грунта.
Дополнительная информация и рекомендации приведены в А.10.4.1 (приложение А).
11.4.2 Якоря, заглубляемые протаскиванием
Наибольшая удерживающая способность якоря, заглубляемого протаскиванием, представляет собой максимальную горизонтальную составляющую установившегося тягового усилия, которому может противодействовать якорь при непрерывном протаскивании. Она включает в себя сопротивление грунту погруженных в морское дно цепи или каната, идущих к заглубленному якорю, но не включает силу трения цепи или каната при протаскивании их по поверхности морского дна.
Для стандартных систем позиционирования и условий грунта (т.е. однородной плотной глины в диапазоне от мягкой до средней) самое большое из экстремальных натяжений якорных линий не должно превышать предельной удерживающей способности, деленной на расчетный коэффициент безопасности, приведенный в таблице 6.
Дополнительная информация и рекомендации приведены в А.10.4.2 (приложение А).
|
Тип системы позиционирования |
Анализируемое состояние |
Расчетный коэффициент безопасности | |
|
Квазистатический анализ |
Динамический анализ | ||
|
Стационарная система позиционирования |
Неповрежденное |
Не предусмотрен |
1,50 |
|
Состояние резервного функционирования |
Не предусмотрен |
1,00 | |
|
Мобильная система позиционирования |
Неповрежденное |
1,00 |
0,80 |
|
Состояние резервного функционирования |
Не требуется |
Не требуется | |
Расчетные коэффициенты безопасности для плитовидных якорей, заглубляемых протаскиванием, необходимо принимать в соответствии с рекомендациями А.10.4.4.2.1.4 (приложение А).
11.4.3 Свайные якоря
Типовые вертикальные и горизонтальные сопротивления свайных якорей следует определять в соответствии с требованиями к стационарным стальным конструкциям, сообразно обстоятельствам. Вертикальные и горизонтальные компоненты наибольшего из экстремальных значений натяжения якорных линий, полученные с помощью динамического анализа, не должны превышать существующих значений сопротивления, деленного на расчетные коэффициенты безопасности, приведенные в таблице 7.
|
Анализируемое состояние |
Расчетный коэффициент безопасности | |||
|
Стационарная система позиционирования |
Мобильная система позиционирования | |||
|
Осевая нагрузка |
Боковая нагрузка |
Осевая нагрузка |
Боковая нагрузка | |
|
Неповрежденное |
2,00 |
1,60 |
1,50 |
1,20 |
|
Состояние резервного функционирования |
1,50 |
1,20 |
1,20 |
1,00 |
Дополнительная информация и рекомендации приведены в А.10.4.3 (приложение А).
11.4.4 Другие типы якорей
Расчетные коэффициенты безопасности для гравитационных и плитовидных якорей представлены в таблице 8. Другие типы якорей могут использоваться при условии, что имеется возможность документального оформления достижения ими аналогичных уровней надежности по отношению к якорям, которые представлены в таблицах 6-8. Расчетные коэффициенты безопасности - отношение удерживающей способности якоря, принятой по кривой отказа, к экстремальному значению усилий на якоре, определяемых в рамках динамического анализа.
|
Анализируемое состояние |
Расчетный коэффициент безопасности | |||||
|
Гравитационный якорь |
Плитовидный якорь | |||||
|
Стационарная система позиционирования |
Мобильная система позиционирования |
Стационарная система позиционирования |
Мобильная система позиционирования | |||
|
Осевая нагрузка |
Боковая нагрузка |
Осевая нагрузка |
Боковая нагрузка | |||
|
Неповрежденное |
2,00 |
1,60 |
1,50 |
1,20 |
2,00 |
1,50 |
|
Состояние резервного функционирования |
1,50 |
1,20 |
1,20 |
1,00 |
1,50 |
1,20 |
Дополнительная информация и рекомендации приведены в А.10.4.4 (приложение А).
11.4.5 Удерживающая способность цепей и стальных канатов
Удерживающую способность, основанную на трении цепи и стального каната, лежащих на поверхности морского дна, рассчитывают по формуле
Fcw=Cf·lcw·Wcw,
(26)
где Fcw - удерживающая способность цепи или стального каната, Н;
Cf - коэффициент трения цепи или стального каната о поверхность морского дна [дополнительная информация и рекомендации приведены в А.10.4.2.12 и А.10.4.5 (приложение А)];
lcw - длина цепи или стального каната, лежащая на поверхности морского дна, м;
Wcw - вес погруженного элемента цепи или стального каната в воде, Н/м.
Дополнительная информация и рекомендации приведены в А.10.4.5 (приложение А).
11.4.6 Обтяжка якорных линий
11.4.6.1 Общие сведения
Перед началом эксплуатации систем позиционирования и после существенных изменений в конфигурации систем позиционирования, выполненных намеренно, либо в результате воздействий окружающей среды или вследствие опасных событий, необходимо выполнить обтяжку всех якорных линий. Обтяжка якорных линий выполняется для установки плавучего сооружения в проектное положение, проверки удерживающей способности системы позиционирования, устранения ослабления натяжения участков якорных линий, заглубленных в морское дно, и для обнаружения любых существенных повреждений элементов системы позиционирования при монтаже. Требования к нагрузкам для обтяжки определяются проектантом в соответствии с нижеследующими подпунктами. Более подробная информация по обтяжке вакуумных и плитовидных якорей представлена в А.10.4.6.1.
Необходимо принимать во внимание, что нагрузка для обтяжки якорных линий систем позиционирования должна быть установлена достаточно высокой, но чтобы дополнительная нагрузка, соответствующая расчетному воздействию, не перегружала соседние якорные линии. Подробнее данные вопросы рассмотрены в А.10.4.2.1, А.10.4.2.10 и А.10.4.2.11.
Дополнительная информация и рекомендации приведены в А.10.4.6.1 (приложение А).
11.4.6.2 Стационарные системы позиционирования
Для якорных линий с якорями, заглубляемыми протаскиванием, значение нагрузки для обтяжки в условиях мягких глинистых грунтов, где возможно глубокое проникновение якорей, должно составлять не менее 80 % от силы, вызванной внешними расчетными условиями, как определено расчетом динамическим методом для неповрежденного состояния. В твердом, песчаном или слоистом грунте, где заглубление якоря ограничивается на длину не более чем длина лап якоря, значение нагрузки при испытаниях должно быть выше и доходить до 100 % или больше от силы, вызванной внешними расчетными условиями, как определено динамическим методом анализа для неповрежденного состояния.
Для якорных линий с неподвижными якорями, например со свайными и вакуумными якорями, значение нагрузки для обтяжки должно быть достаточным для обеспечения правильной установки всей системы позиционирования и обеспечения образования достаточной обратной кривой провеса для предотвращения недопустимого провисания якорных линий в результате дополнительного действия обратного провеса в штормовых условиях.
Продолжительность приложения нагрузки для обтяжки якорных линий должна составлять не менее 15 мин.
Необходимо принимать во внимание, что нагрузка для обтяжки якорных линий систем позиционирования должна быть установлена достаточно высокой, но чтобы дополнительная нагрузка, соответствующая расчетному воздействию, не перегружала соседние якорные линии. Подробнее данные вопросы рассмотрены в А.10.4.2.1, А.10.4.2.10 и А.10.4.2.11.
Дополнительная информация и рекомендации приведены в А.10.4.6.2 (приложение А).
11.4.6.3 Мобильные системы позиционирования
Для якорных линий с якорями, заглубляемыми протаскиванием, значение нагрузки для обтяжки должно определяться с учетом ряда факторов, включая тип якоря, характеристики грунта, тягового усилия лебедки и способа установки и извлечения якоря. По меньшей мере, должно быть выполнено следующее:
- нагрузка для обтяжки, создаваемая лебедкой, должна быть не менее, чем самое высокое значение из экстремальных значений натяжения для системы позиционирования в неповрежденном состоянии в условиях расчетной ситуации для предельного состояния SLS;
- нагрузка для обтяжки на веретене якоря при его установке должна составлять не менее трехкратной массы якоря;
- для системы позиционирования, которая находится вблизи других сооружений, нагрузка для обтяжки, создаваемая лебедкой, не должна быть меньше среднего натяжения якорной линии системы позиционирования в неповрежденном состоянии в условиях расчетной ситуации для предельного состояния ULS;
- продолжительность приложения нагрузки для обтяжки должна составлять не менее 15 мин.
Общее накопленное усталостное повреждение должно соответствовать:
DT·γF ≤ 1,0,
(27)
где DT - общее накопленное повреждение ото всех источников в течение срока службы системы позиционирования;
DT= D·L + любое усталостное повреждение от других источников;
D - годовое усталостное повреждение, определяемое в соответствии с 10.3, год-1;
L - расчетный срок службы (см. 10.3.2), год;
γF - коэффициент безопасности усталостной прочности.
Минимальное значение γF должно быть 3,0.
Дополнительная информация и рекомендации приведены в А.10.5 (приложение А).
Защита от коррозии и износа (в т. ч. от фреттинг-коррозии) применяется для стационарных систем позиционирования.
Для цепей допуск на коррозию и износ обеспечивается за счет соответствующего увеличения калибра звеньев. Увеличение определяется путем проведения специальной оценки условий площадки установки в зависимости от нескольких параметров, например солености воды. Стандартными значениями допусков на коррозию и износ являются:
- 0,2-0,8 мм в год расчетного срока службы для компонентов якорной линии в зоне периодического смачивания или в зоне контакта на участке моря с твердым грунтом;
- 0,1-0,2 мм в год расчетного срока службы применительно к оставшейся длине.
Коррозия стального каната в местах заделки в патроны (муфты) может ускоряться, если канат с гальваническим покрытием действует как анод для соседних деталей. Для стационарных систем либо канат должен быть электрически изолирован от зажимов, либо зажимы должны быть электрически изолированы от соседних деталей. Дополнительная защита от коррозии может быть обеспечена за счет добавления протекторных анодов на этом участке.
Дополнительная информация и рекомендации приведены в А.10.6 (приложение А).
11.7.1 Общие требования
Зазоры безопасности между плавучим сооружением или элементами системы его позиционирования и другими сооружениями должны соответствовать национальным и (или) федеральным нормативным актам. Если не существует иных руководств, то допуски, для анализируемых состояний, указанных в 9.1.1.5, должны удовлетворять требованиям 11.7.3, 11.7.4.
11.7.2 Пересечение якорными линиями подводных трубопроводов
Минимальный вертикальный зазор между поднимающимся участком якорной линии, находящейся в неповрежденном состоянии, и пересекаемым ею подводным трубопроводом, проложенным по поверхности морского дна, должен составлять 10 м. Якорная линия, находящаяся в неповрежденном состоянии, может проходить над защищенным трубопроводом и касаться его при условии, что такой контакт является постоянным и не прерывается при всем размахе неповрежденной якорной линии, т.е. контакт происходит без соударений.
11.7.3 Горизонтальные зазоры безопасности между сооружениями
Минимальный горизонтальный зазор 10 м должен сохраняться между плавучим сооружением, включая его якорные линии, и любыми другими сооружениями для всех анализируемых состояний в соответствии с 9.1.1.5.
Требования по зазорам могут быть снижены после соответствующей оценки рисков.
11.7.4 Зазоры безопасности между якорями, заглубляемым протаскиванием, и другими сооружениями
Если траектория протаскивания якоря плавучего сооружения пересекает уже имеющиеся на площадке установки сооружения, то зазор между конечным положением якоря и другими сооружениями должен составлять не менее 300 м. Если направление протаскивания якоря находится в стороне от сооружений, то зазор должен составлять не менее 100 м.
Необходимая прочность вспомогательных конструкций, таких как стопорные устройства, направляющие блоки и их фундаменты, должна быть больше, чем аналогичные компоненты якорных линий. Особое внимание необходимо уделять проектированию вспомогательных конструкций, чтобы их отказ не привел к отказу нескольких якорных линий.
12.1.1 Общие сведения
Изготовление оборудования систем позиционирования выполняется с обеспечением качества на соответствующем уровне.
12.1.2 Стальные канаты
Стальные канаты якорных линий не должны иметь сердечника из волокна.
Пространство между проволоками в канате заполняют защитным компаундом хорошего качества.
Концы каждого участка каната заделывают в патроны (муфты) с заливкой смолой или цинком.
Во всем остальном стальные канаты якорных линий и патроны (муфты) заделки концов канатов должны соответствовать требованиям к материалам, конструкциям, изготовлению и испытаниям, приведенным в соответствующих межгосударственных и национальных стандартах, правилах РМРС или другого ПКО.
Дополнительная информация и рекомендации приведены в А.11.1.2 (приложение А).
12.1.3 Цепи
Цепи якорных линий и их комплектующие должны удовлетворять требованиям в части материалов, конструкций, изготовления и испытаний Правил РМРС [5] или другого ПКО, а также требованиям соответствующих межгосударственных и национальных стандартов.
Дополнительная информация и рекомендации к настоящему нормативному положению приведены в А.11.1.3 (приложение А).
12.1.4 Соединительные звенья
Соединительные звенья якорных цепей должны удовлетворять требованиям в части материалов, конструкций, изготовления и испытаний Правил РМРС [5] или другого ПКО, а также требованиям соответствующих межгосударственных и национальных стандартов.
Дополнительная информация и рекомендации приведены в А.11.1.4 (приложение А).
12.1.5 Амортизирующие буи
Надводные амортизирующие буи необходимо проектировать для нахождения в плавучем положении, с максимальной степенью погружения 67 %, в условиях неповрежденного состояния и состояния резервного функционирования, если иное не предусмотрено при проектировании. Корпус буя должен был разделен на водонепроницаемые отсеки для снижения риска его затопления при возникновении повреждений.
Подводные амортизирующие стальные буи необходимо проектировать с учетом нагрузок от внешнего давления в соответствии с требованиями ГОСТ 34233.1 для условий максимальной рабочей глубины, определенной при выполнении анализа системы позиционирования. Расчетный коэффициент безопасности должен быть не менее 1,5 для стационарных систем позиционирования и 1,2 - для мобильных систем позиционирования. Дополнительная информация и рекомендации приведены в А.11.1.5 (приложение А).
Для буев из вспененного поливинилхлорида допустимое гидростатическое давление должно определяться путем отношения значения гидростатического разрушающего давления к расчетному коэффициенту безопасности. Выбор расчетного коэффициента безопасности зависит от конструктивной прочности и значимости выполняемой функции данным амортизирующим буем в системе позиционирования.
Колебательные движения буя учитывают в конструкциях узлов его крепления.
12.1.6 Якоря
Типы якорей, описываемые в 11.4.1, включают в себя:
- якоря, заглубляемые протаскиванием;
- свайные якоря (забивные, вакуумные, винтовые и буронабивные);
- другие типы якорей (гравитационные и плитовидные).
Дополнительная информация и рекомендации приведены в А.11.1.6 (приложение А).
Лебедки должны удовлетворять требованиям соответствующих международных и национальных стандартов.
Якорные линии подвержены сильному износу и высоким напряжениям в районе направляющих блоков и стопорных устройств. Направляющие блоки и стопорные устройства следует проектировать с целью минимизации износа и усталостного повреждения компонентов якорных линий.
Дополнительная информация и рекомендации приведены в А.11.2 (приложение А).
12.3.1 Натяжение якорных линий
Удерживаемые плавучие сооружения оборудуют откалиброванными системами для измерения натяжения якорных линий, если эксплуатационные требования предусматривают регулирование линий, а натяжение линий должно непрерывно отображаться на индикаторе каждой лебедки. Для тех стационарных систем позиционирования, для которых не требуется устройство для измерения натяжения, устанавливают средства обнаружения неисправности системы позиционирования.
Для комбинированных систем позиционирования (с якорными линиями и средствами активного управления), которые предназначены для снижения натяжения якорных линий, предусматривают средства отображения показаний натяжения якорных линий и (или) перемещений плавучего сооружения. Эти средства должны быть достаточными для резервирования в случае отказа одной якорной линии.
12.3.2 Вытравливание якорных линий
Если при работе плавучего сооружения, удерживаемого системой позиционирования, требуется регулировка якорных линий, то их оснащают оборудованием для измерения длины вытравленной якорной линии.
12.3.3 Положение плавучих сооружений
Если требования к эксплуатационной надежности накладывают ограничения на перемещения плавучего сооружения, то сооружение должно быть оборудовано системой мониторинга его положения. Для мобильных морских буровых установок система позиционирования должна быть оснащена системой мониторинга расстояния от устья скважины/точки крепления райзеров до плавучего сооружения.
Для комбинированных систем позиционирования (с якорными линиями и средствами активного управления) определение положения предусматривается с учетом резервирования в случае единичного отказа.
12.3.4 Курс постановки плавучих сооружений
Плавучие сооружения, подсоединенные к одноточечным плавучим причалам с системами позиционирования, оборудуют аппаратурой для контроля курса постановки. Выполнение контроля курса постановки необходимо обеспечивать, по меньшей мере, двумя различными датчиками курса.
Если курс контролируется автоматически, то точность и скорость обновления данных обоих датчиков должны соответствовать требованиям автоматического контроля. Если необходимость выполнения контроля курса постановки плавучего сооружения имеет решающее значение, должны быть предусмотрены три независимых датчика курса.
Для мобильных плавучих сооружений требования к курсу постановки представлены в соответствующих рекомендациях ИМО и IMCA, см. А.11.3 (приложение А).
Требования к мониторингу технического состояния, инспектированию и техническому обслуживанию мобильных систем позиционирования, которые регулярно используются и перемещаются на новые площадки установки, хорошо отработаны (см. 13.2). Стационарные системы позиционирования должны оставаться на площадке установки в течение всего расчетного срока службы. Мероприятия по мониторингу их технического состояния, инспектированию и техническому обслуживанию систем позиционирования необходимо осуществлять при помощи системы управления конструктивной целостностью в соответствии с 13.3.
Инспектирование в процессе эксплуатации компонентов якорной линии должно отвечать требованиям рекомендаций ИМО, правил ПКО или другим соответствующим документам, распространяющимся на проектирование и эксплуатацию мобильных плавучих сооружений, см. А.12.2.
Дополнительная информация и рекомендации приведены в А.12.2 (приложение А).
13.3.1 Общие сведения
Эксплуатирующая организация должна осуществлять проведение соответствующих мероприятий, которые обеспечивают мониторинг и поддержание конструктивной целостности системы позиционирования в течение ее расчетного срока службы. Такие мероприятия должны включать в себя техническое обслуживание и инспектирование системы позиционирования, периодическую оценку ее состояния применительно к первоначальным ожидаемым результатам в ходе проектирования, оценку разрушения или предполагаемого разрушения, и организационные мероприятия по ремонту и (или) замене в случае повреждения или износа. Периодические оценки должны отражать текущие эффективные практики и вносить накопленные знания и изменения в уровне риска сообразно обстоятельствам. Частота, объем работ и методы технического контроля должны быть адекватными, чтобы обеспечить гарантию, вместе с сопутствующими оценками о том, что конструктивная целостность системы позиционирования обеспечивается.
При формировании программы технического обслуживания учитывают необходимость замены элементов системы позиционирования вследствие их коррозии, износа или повреждений, которая может потребовать большого количества времени и быть сопряжена с дополнительными рисками, особенно в случае необходимости выполнения водолазных работ.
Целью системы управления конструктивной целостностью является строгое соблюдение процессов обеспечения конструктивной целостности системы позиционирования на протяжении всего расчетного срока ее службы. Это предусматривает предоставление безопасных и эффективных средств технического контроля, мониторинга техобслуживания системы, а также ремонта и (или) замены элементов системы позиционирования в соответствии с требованиями, представленными в 6.4.
Дополнительная информация и рекомендации приведены в А.12.3.1 (приложение А).
13.3.2 Основные принципы системы управления конструктивной целостностью
13.3.2.1 Общие сведения
Основные принципы управления конструктивной целостностью могут изменяться в зависимости от продолжительности разработки месторождения, типа плавучего сооружения, конфигурации системы позиционирования, а также сложности или иных аспектов местной инфраструктуры. В свою очередь, эти факторы влияют на детализацию системы управления конструктивной целостностью. Подходы к реализации системы управления конструктивной целостностью позволяют предусматривать активное применение оборудования мониторинга конструктивной целостности в одном случае или широкое применение программ инспектирования в другом случае. Один подход предусматривает профилактическую замену элементов, другой подход - замену элементов после их поломки. Соответственно различные подходы приводят к различным вариантам разработки и реализации системы управления конструктивной целостностью. Независимо от принятых принципов, результирующая система управления конструктивной целостностью должна восприниматься как система поддержания целостности системы позиционирования на протяжении ее расчетного срока службы.
Разработка и внедрение системы управления конструктивной целостностью осуществляется посредством следующих этапов:
a) разработка базы данных и сбор данных;
b) оценка;
c) планирование;
d) внедрение;
е) верификация.
Мероприятия по каждому этапу не обязательно являются взаимоисключающими и поэтому возможно параллельное выполнение работ на различных этапах.
13.3.2.2 Разработка базы данных и сбор данных
База данных должна содержать информацию о жизненном цикле системы позиционирования, включая этапы проектирования, строительства и эксплуатации системы, и акцентировать внимание на особенностях, ошибках и неопределенностях, выявленных при проектировании, изготовлении, монтаже, плановых и внеплановых осмотрах, мониторинге, ремонтах, модернизациях и т.п.
Особое внимание необходимо уделить тем системам, элементам и деталям, которые могут создавать проблемы в период эксплуатации систем позиционирования, в том числе:
- якорным линиям в зонах периодического смачивания и биений о поверхность морского дна на предмет коррозии и износа;
- концевым элементам стальных канатов на предмет попадания воды, коррозии и усталости;
- соединительным элементам на предмет усталости и коррозии;
- внутренним слоям канатов на лебедках барабанного типа на предмет коррозии и износа;
- якорным линиям в районе направляющих блоков, отводных блоков, стопорных устройств и захватов на предмет износа и усталости.
База данных должна обеспечивать выполнение процессов хранения и копирования ее информации в требуемом формате. Копия базы данных должна храниться на плавучем сооружении в дополнение к основной копии, хранящейся у эксплуатирующей организации.
13.3.2.3 Оценка
Оценку выполняют с учетом конструктивных особенностей плавучего сооружения, гидрометеорологических и геологических условий площадки установки и основывают на обеспечении соответствия системы позиционирования ее пригодности к использованию. Оценка должна учитывать расчетный срок службы МНГС и, как минимум, должна выполняться ежегодно, а также при смене эксплуатирующей организации, изменении площадки установки плавучего сооружения, после аварий, ремонтов или модернизаций.
Оценка включает оценку рисков, анализ методом конечных элементов, а также другие формы оценок (если необходимо) всей системы, или ее элементов, там, где возникло повреждение, или это может касаться известных проблемных зон, в зависимости от ситуации. Подход, основанный на проведении инспекций с учетом зон риска, может, как правило, быть весьма полезным в процессе оценки и для построения графика инспекций. Такой подход позволяет точно оценить вероятность и риски и соотнести их с целевыми показателями.
13.3.2.4 Планирование
Планирование должно определить процессы, процедуры и методы, которые должны быть исполнены по результатам этапа оценки, для обеспечения пригодности к использованию системы позиционирования. Механизмы отказа, степень ухудшения характеристик, а также последствия отказа следует анализировать, чтобы определить методы, частоту и объем инспектирования и возможный ремонт и (или) замену.
13.3.2.5 Внедрение
Внедрение является этапом исполнения процессов, процедур и методов, определенных в ходе этапа планирования, и должно включать комплекс работ по мониторингу технического состояния, инспектированию и техническому обслуживанию систем позиционирования, выполняемых по определенным программам.
Данные, собранные на этом этапе, а также процессы, процедуры и методы, определенные в ходе этапа планирования, должны быть включены в базу данных, обновление которой необходимо проводить не реже одного раза в год.
13.3.2.6 Верификация
Верификацию эффективности функционирования системы управления конструктивной целостностью системы позиционирования целесообразно выполнять с привлечением специализированной организации.
14.1.1 Общие сведения
Настоящий подраздел стандарта не устанавливает требований к проектированию систем динамического позиционирования. Проектирование данных систем рекомендуется выполнять согласно соответствующим рекомендациям ИМО и правилам ПКО, ссылки на которые приведены в А.13 (приложение А). При этом в нижеследующих пунктах обобщаются факторы, которые необходимо учитывать при проектировании, и приведены дополнительные рекомендации к системам динамического позиционирования.
Дополнительная информация и рекомендации приведены в А.13.1 (приложение А).
14.1.2 Оборудование систем динамического позиционирования
Системы динамического позиционирования должны состоять из совокупности следующих подсистем и оборудования:
- электроэнергетической подсистемы, включающей первичные двигатели генераторов с их вспомогательными механизмами, устройствами и трубопроводами, генераторы, распределительные щиты, кабельную сеть и т.д.;
- подсистемы движителей и средств активного управления, включающей движители и средства активного управления с их приводами и вспомогательными механизмами, трубопроводы и цистерны гидравлики (при наличии), электрическое и электронное оборудование индивидуального управления движителями и устройствами, органы ручного и автоматизированного управления устройствами;
- подсистемы управления, включающей компьютеры с их программным обеспечением и интерфейсами, систему автоматизированного управления механизмами с применением одного органа управления (джойстика) или нескольких органов управления, систему датчиков положения плавучего сооружения и воздействующих на него внешних сил и датчиков обратных связей, систему операторских пультов с органами управления и информационными мониторами, систему выработки параметров управляющих воздействий движителями и средствами активного управления, кабельную силовую, информационную и управляющую сети.
Дополнительная информация и рекомендации приведены в А.13.1.2 (приложение А).
14.2.1 Анализ видов и последствий отказов
Учитывая потенциальные последствия потери плавучим сооружением удерживаемой позиции относительно заданной точки, системы динамического позиционирования следует проектировать с запасом надежности и со встроенным резервированием. Анализ видов и последствий отказов (FMEA) выполняют для плавучих сооружений с системами динамического позиционирования и дополнительно проводят в ходе эксплуатации. Типы отказов, которые рассматривают в рамках FMEA, должны включать в себя анализ следующих ситуаций:
- внезапную поломку основных элементов оборудования;
- внезапную или последовательную поломку нескольких единиц взаимосвязанного оборудования;
- нестабильность управления и мониторинга, а также отказ методов обнаружения и блокирования;
- отказы, которые могут быть скрыты, пока не произойдут другие отказы.
Системы динамического позиционирования проектируют таким образом, чтобы, по мере возможности, отсутствовали единичные отказы, которые могли бы привести к потере удерживаемой позиции и (или) курса. Кроме того, системам динамического позиционирования должен быть присвоен класс в соответствии с 14.2.2.
14.2.2 Классы систем динамического позиционирования
Исходя из тяжести последствий потери плавучим сооружением положения над заданной точкой, системы динамического позиционирования, перечень оборудования которых представлен в 14.1.2, по резервированию подразделяют на три класса, при этом класс 1 имеет наименьшее, а класс 3 имеет наибольшее резервирование.
Классы систем динамического позиционирования должны соответствовать требованиям Правил РМРС [2] или другого ПКО:
a) система динамического позиционирования класса 1 является системой с минимальным резервированием, оборудование которой допускает потерю плавучим сооружением положения над заданной точкой в случае единичного отказа либо одного активного элемента (средства активного управления, его локальной системы управления, генератора системы питания, автоматизированного клапана), либо одного пассивного элемента (трубопровода, кабеля питания или управления, управляемого вручную клапана и т.п.).
Система динамического позиционирования класса 1 должна иметь резервирование следующих элементов:
- исполнительных средств активного управления с их локальными системами управления;
- системы управления (одна ручная система управления, вторая - компьютеризированная);
- датчиков курса;
b) система динамического позиционирования класса 2 должна обеспечивать удержание плавучего сооружения над заданной точкой при единичном отказе в любом активном элементе.
Система динамического позиционирования класса 2 должна иметь резервирование следующих элементов:
- электроэнергетической подсистемы питания;
- исполнительных средств активного управления с их локальными системами управления;
- компьютеризированной системы управления;
- датчиков курса;
с) система динамического позиционирования класса 3 должна обеспечивать удержание плавучего сооружения над заданной точкой при единичном отказе в следующих вариантах:
- при отказе в любом одном активном и пассивном элементе [см. описание а)] из находящихся в разных водонепроницаемых отсеках;
- при отказе активных и пассивных элементов, находящихся в любом одном из водонепроницаемых отсеков в результате затопления или пожара;
- при отказе активных и пассивных элементов, находящихся в любой из противопожарных зон, в результате пожара или взрыва.
Система динамического позиционирования класса 3 должна иметь резервирование элементов, как указано для класса 2, но дополнительно все резервированные элементы должны быть разделены водонепроницаемыми или противопожарными переборками класса А-60.
Используя данную классификацию и результаты анализа FMEA, на оборудовании системы позиционирования плавучего сооружения необходимо разместить условные обозначения его класса.
Дополнительная информация и рекомендации приведены в А.13.2.2 (приложение А).
Система средств активного управления должна быть спроектирована таким образом, чтобы, насколько это возможно, в ней отсутствовали единые точки отказа. Необходимо запланировать серию ходовых испытаний в целях верификации результатов анализа системы средств активного управления по методу FMEA, демонстрации влияния различных режимов отказа на функционирование и проверки способности оборудования и процедуры обеспечивать безотказность работы системы динамического позиционирования.
После ходовых испытаний системы динамического позиционирования проводят ежегодные испытания для подтверждения того, что система динамического позиционирования поддерживается в хорошем работоспособном состоянии. Ежегодные испытания всех важных систем и компонентов проводят в целях подтверждения способности системы динамического позиционирования, в соответствии с присвоенным ей классом (см. 14.2.2), обеспечивать удержание плавучего сооружения над заданной точкой, в том числе с заданным курсом, после возникновения единичных отказов.
Испытания выполняют всякий раз, когда обнаруживают и устраняют дефект, либо когда происходит авария, которая отрицательно влияет на безопасность плавучего сооружения с динамическим позиционированием, либо когда выполняется ремонт или модернизация.
Дополнительная информация и рекомендации приведены в А.13.3 (приложение А).
Эксплуатацию плавучих сооружений с системами динамического позиционирования осуществляет только сертифицированный и специально обученный персонал.
Дополнительная информация и рекомендации приведены в А.13.4 (приложение А).
Анализ удерживающей способности выполняют для определения способности системы динамического позиционирования сохранять положение плавучего сооружения в пределах приемлемого круга безопасности в условиях предельного состояния по критериям несущей способности ULS и предельного состояния по критериям пригодности к нормальной эксплуатации SLS, в зависимости от того что более применимо. Такой анализ выполняется для новых проектов и для отдельных операций.
Дополнительная информация и рекомендации приведены в А.13.5 (приложение А).
В этом пункте изложены требования к проектированию или оценке стационарных и мобильных систем позиционирования, в которых используются волоконные синтетические канаты. В разделе не рассматриваются другие варианты применения волоконных синтетических канатов в качестве буксирных канатов, швартовных канатов танкеров, одноточечных плавучих причалов и SALM. Кроме того, имеется очень мало данных по испытаниям в отношении больших волоконных синтетических канатов, стационарно развернутых вокруг направляющих блоков, поскольку такие данные касаются лишь канатов, свободно висящих между оконечными точками. Волоконные синтетические канаты не должны длительно (без движения) находиться в направляющих блоках.
Все требования, определенные в разделах 6-13, применимы к якорным линиям, выполненным из волоконных синтетических канатов, если только не указано иное применительно к данному пункту.
На волоконных синтетических канатах должны быть предусмотрены оболочки для защиты от внешнего истирания, которое возникает в период эксплуатации, при монтаже и при извлечении. Необходимо избегать контакта с другими канатами, шлангокабелями и т.п., особенно при монтаже, так как это может привести к повреждению каната.
Волоконные синтетические канаты следует классифицировать в соответствии с требованиями ПКО или другими соответствующими техническими условиями. Классификационные процедуры должны рассматривать, по крайней мере:
- прочность каната;
- свойства натяжения-удлинения;
- усталостную прочность;
- защиту каната (покрытие и защита от проникновения частиц);
- кручение, если применимо.
Технология позиционирования с использованием волоконных синтетических канатов стремительно развивается. Проектанты должны предпринимать соответствующие меры, чтобы обеспечить использование соответствующих технологических преимуществ.
Дополнительная информация и рекомендации приведены в А.14.1 (приложение А).
15.2.1 Анализ свойств натяжения-удлинения волоконных синтетических канатов
Свойства натяжения-удлинения волоконных канатов являются нелинейными и зависят от диаграммы натяжения якорных линий. Свойства натяжения-удлинения якорных линий из волоконных синтетических канатов оказывают воздействие на реакцию всей системы (плавучее сооружение и система позиционирования) посредством:
- изменения длины участков каната в течение расчетного срока службы;
- изменения длины якорной линии и соответствующего среднего натяжения в меняющейся окружающей обстановке, включая эффект продолжительности этих условий;
- низкочастотной реакции перемещений плавучего сооружения;
- реакции якорной линии на частоте волны.
При отсутствии более достоверной модели, верхняя граница (шторм) и нижняя граница (после установки) значений жесткости часто используются для прогнозирования усилий позиционирования и перемещений сооружений, соответственно. Тем не менее необходимо соблюдать осторожность в определенных обстоятельствах (например, в случае сооружений, восприимчивых к перемещениям, вызываемым вихреобразованием), для которых метод верхняя граница/нижняя граница необязательно является консервативным.
Дополнительная информация и рекомендации приведены в А.14.2.1 (приложение А).
15.2.2 Длина якорных линий из волоконных синтетических канатов
Проектные решения по системам позиционирования должны обеспечивать поддержание достаточного зазора безопасности между направляющими блоками и поверхностью морского дна. В конструкции необходимо учитывать протягивание при установке и дополнительной настройке, а также удлинение за счет ползучести в течение расчетного срока службы, чтобы верхний конец каната был на расстоянии от направляющего блока на сооружении, а минимальные требования по натяжению якорной линии, указанные в 15.5.2, были соблюдены.
Самая высшая точка установки волоконного каната должна находиться на глубине, исключающей возможность его механического повреждения вследствие маневрирования судов обеспечения и морских работ, выполняемых на акватории месторождения, а также обеспечивать уменьшения вредных воздействий проникающего солнечного света, отложения солей и обрастания морскими организмами.
Для стационарных и мобильных систем позиционирования самая нижняя точка установки волоконного синтетического каната должна находиться на глубине, исключающей его контакт с поверхностью морского дна, в любом из условий неповрежденного состояния. Если волоконный канат имеет надежную защиту от попадания твердых частиц (например, оплетку, как указано в [6]), и обеспечено условие отсутствия на поверхности морского дна участков, сложенных прочными грунтами или неровностей, то контакт каната с поверхностью морского дна допустим во время выполнения операций по монтажу системы позиционирования и в условиях состояния резервного функционирования.
Для мобильных систем позиционирования волоконные канаты с надежной защитой от попадания частиц и защитными кожухами могут контактировать с морским дном в ходе работы в нормальных условиях, если они специально предназначены для такого использования. Проектант системы позиционирования и проектант якорных линий должны решить следующие вопросы:
- проведение изысканий на площадке установки, включающих обнажение горных пород и определение свойств грунта, таких как абразивность и мягкость;
- исключение повреждений оплетки и защитного кожуха из-за попадания частиц в ходе установки из-за абразивного эффекта твердого грунта;
- определение результатов воздействий циклических колебаний на проникновение частиц грунта внутрь защитного кожуха;
- обеспечение неподвижности канатов, временно уложенных на морском дне до начала операций по монтажу системы позиционирования;
- процедуры технического контроля (см. [4]).
Дополнительная информация и рекомендации приведены в А.14.2.2 (приложение А).
15.3.1 Усталостная прочность "натяжение-натяжение"
При проектировании необходимо выполнить оценку усталостной прочности "натяжение-натяжение".
Усталостная прочность канатов из полиэстера и высокомолекулярного полиэтилена может, как правило, считаться равной шестикратному сроку, который указан в таблице 3 для стального каната одинарной свивки при Q = 0,3 [т.е. K = 1000 в формуле (12)], для диапазонов нагрузки, не превышающих 50 % от минимального разрывного усилия.
Для канатов из других волокон, таких как арамид и нейлон, данные по усталостным испытаниям недостаточны для построения расчетных кривых по усталости. Из-за отсутствия необходимых данных кривую усталости для стального каната одинарной свивки допускается использовать для расчета на усталость этих волоконных канатов, см. таблицу 3.
Дополнительная информация и рекомендации приведены в А.14.3.1 (приложение А).
15.3.2 Усталость при осевом сжатии
Усталость при осевом сжатии не является проблемой для канатов из полиэстера и высокомолекулярного полиэтилена. Усталость при осевом сжатии может возникнуть с другими материалами, из которых изготавливают канаты, когда канат испытывает избыточное число циклов при низких значениях натяжения каната. Чтобы не допустить воздействия осевого сжатия на какой-либо участок каната, постоянно должно поддерживаться минимальное натяжение линии в соответствии с 15.5.2.
Дополнительная информация и рекомендации приведены в А.14.3.2 (приложение А).
Удлинение за счет ползучести канатов из высокомолекулярных полиэтиленов должно прогнозироваться для наиболее критичных участков каната, т.е. участков, подвергающихся воздействию высоких температур окружающей среды и высокого натяжения. Как правило, такой участок является самым верхним участком каната. Для канатов из полиэстера и арамида, как правило, исследование ползучести не требуется, если только такие канаты не подвергаются нестандартному воздействию.
Суммарное удлинение вследствие ползучести в течение расчетного срока службы оценивается, когда это необходимо (см. 15.2.2), для системы позиционирования в неповрежденном состоянии. Где это применимо, и особенно для ранее использованных элементов системы позиционирования, удлинение вследствие ползучести должно учитываться по результатам предшествующей эксплуатации.
Дополнительная информация и рекомендации приведены в А.14.4 (приложение А).
15.5.1 Максимальное натяжение якорных линий
Максимальное натяжение якорных линий и расчетные коэффициенты безопасности должны соответствовать 11.2.
Дополнительная информация и рекомендации приведены в А.14.5.1 (приложение А).
15.5.2 Минимальное натяжение якорных линий
15.5.2.1 Общие сведения
Минимальное натяжение якорных линий в процессе эксплуатации оценивают соответствующим образом.
Минимальное натяжение линии определяют на основе анализа подветренных якорных линий в ходе расчетных ситуаций. При необходимости количество циклов низкого натяжения линии вычисляют путем анализа долговременного распределения состояний моря.
Минимальные значения натяжения линий прогнозируют методами вычислений в частотной или временной областях. Нелинейности также учитывают соответствующим образом. Эффекты меняющихся во времени воздействий на плавучее сооружение должны быть включены, так как они влияют на значение минимального натяжения подветренных линий, а также на количество случаев минимального натяжения.
15.5.2.2 Полиэстер и высокомолекулярные полиэтилены
Повреждение при сжатии не является проблемой для канатов из полиэстера и высокомолекулярных полиэтиленов. Тем не менее, целостность якорных линий следует учитывать, если известно, что якорная линия не всегда будет натянута в процессе эксплуатации.
15.5.2.3 Арамид и другие материалы
Для канатов, изготовленных из арамида и других материалов с более высоким модулем упругости, минимальное натяжение линий должно постоянно поддерживаться на уровне 10 % от минимального разрывного усилия (за исключением случаев, указанных в 15.5.2.4), если только в ходе испытаний не будет обосновано более низкое значение. Тем не менее если такие канаты подвержены сильному перекручиванию, то даже эти минимальные значения натяжения могут быть недостаточными для обеспечения целостности канатов.
15.5.2.4 Минимальное среднее натяжение для предварительно развернутых якорных линий
Минимальное среднее натяжение предварительно развернутых линий из арамида и других материалов с более высоким модулем упругости составляет 2 % от минимального разрывного усилия. Однако если такие канаты подвержены значительному перекручиванию, то даже эти минимальные средние уровни натяжения могут быть недостаточны для обеспечения целостности каната.
15.5.3 Усталость
Коэффициент безопасности усталостной прочности, указанный в 11.5, также применим для волоконных синтетических канатов.
15.5.4 Удлинение якорных линий при ползучести канатов
Требования, указанные ниже, не применяют в отношении канатов из полиэстера и арамида.
Максимально допустимое удлинение якорных линий при ползучести канатов определяется как наименьшее:
- от удлинения, при котором прочность каната составляет 95 % от первоначального минимального разрывного усилия;
- 10 % длины после установки и после полной обтяжки.
Прогнозируемое удлинение якорных линий при ползучести канатов для большинства критичных участков каната на протяжении расчетного срока службы каната, должно быть меньше максимально допустимого удлинения при ползучести.
Дополнительная информация и рекомендации приведены в А.14.5.4 (приложение А).
Для систем позиционирования с якорными линиями из волоконных синтетических канатов модельные испытания должны учитывать нелинейное удлинение при натяжении якорной линии. Если более точные данные или модели отсутствуют, то при испытаниях следует, как минимум, моделировать значения жесткости по нижнему пределу (после установки) и по верхнему пределу (для шторма).
Приложение А
(справочное)
А.1 Область применения
А.1.1 Общие сведения
Системы позиционирования плавучих сооружений, используемых в морской нефтегазодобыче, могут быть различного исполнения, в зависимости от характеристик сооружения и внешних условий окружающей среды. Системы позиционирования одноточечных плавучих причалов применяют для плавучих сооружений с судовой формой корпуса, а пространственные системы позиционирования используют в основном для ППБУ или других плавучих сооружений, обеспечение удержания которых над заданной точкой необходимо. Третьим типом систем позиционирования является динамическое позиционирование. Динамическое позиционирование может применяться для удержания сооружений с судовой формой корпуса или полупогружных плавучих сооружений.
Комбинированная система позиционирования (с якорными линиями и средствами активного управления) может использоваться для снижения натяжения якорных линий и (или) контроля курса плавучего сооружения.
Для систем позиционирования, которые развернуты на акваториях с ледовым режимом, дополнительная информация по ледовому воздействию приведена в [7].
А.1.2 Пространственные системы позиционирования (системы с провисающими якорными линиями и системы с натянутыми якорными линиями)
На рисунке А.1 изображена стандартная пространственная система позиционирования ППБУ с провисающими якорными линиями. Пространственные системы позиционирования обладают высокой эффективностью удержания ППБУ над заданной точкой, что обусловлено малой чувствительностью данного типа плавучих сооружений к направлениям внешних воздействий окружающей среды. Пространственные системы позиционирования также показали эффективность при удержании плавучих сооружений с судовой формой корпуса, которые более чувствительны к направлениям внешних воздействий окружающей среды, когда преобладающие воздействия на площадке установки сконцентрированы на одном направлении, а сооружение имеет возможность поворота вокруг вертикальной оси для ориентирования по данному направлению и соответственно снижения его воздействия. Пространственные системы позиционирования могут использовать в качестве якорных линий цепи, стальные и волоконные канаты или комбинацию трех указанных элементов. Для закрепления якорных линий применяют якоря, заглубляемые протаскиванием, или свайные якоря.
К другим пространственным системам позиционирования относят системы с натянутыми якорными линиями.
Основное преимущество пространственных систем позиционирования заключается в том, что они удерживают плавучие сооружения таким образом, что операции бурения, заканчивания и освоения скважин могут выполняться на подводных скважинах, расположенных непосредственно под сооружением. С другой стороны, пространственная система позиционирования имеет достаточно большую протяженность якорных линий, которая в несколько раз превышает глубину моря на площадке установки плавучего сооружения. Расположение якорей и якорных линий необходимо учитывать при монтаже или техническом обслуживании подводных трубопроводов, райзеров и подводного оборудования.

1 - лебедка или брашпиль; 2 - направляющий блок; 3 - якорь; 4 - надводный буй; 5 - шкентель буя; 6 - якорная линия
Рисунок А.1 - Пространственная система позиционирования с провисающими якорными линиями
А.1.3 Системы позиционирования одноточечных плавучих причалов
Системы позиционирования одноточечных плавучих причалов в основном применяют для удержания плавучих сооружений с судовой формой корпуса, таких как FPSO и FSO. Основной их характеристикой является обеспечение возможности совершать плавучими сооружениями вращения вокруг вертикальной оси плавучего одноточечного причала для снижения воздействий ветра, течения и волнения на корпус. Существует большое разнообразие конструктивного исполнения систем позиционирования одноточечных плавучих причалов и конструкций самих причалов, но все они предназначены для выполнения одной функции. Одноточечные плавучие причалы обеспечивают соединение райзеров, транспортирующих продукцию скважин, с плавучими сооружениями. Наиболее распространенные типы систем позиционирования одноточечных плавучих причалов представлены ниже:
а) системы позиционирования одноточечных плавучих причалов с турелью
В этом типе системы позиционирования провисающие якорные линии закрепляются на турели, которая, как правило, является частью плавучего сооружения, которое необходимо удерживать. Турель включает в себя подшипники, которые позволяют сооружению совершать вращение независимо от системы позиционирования.
Турель может устанавливаться снаружи и создавать носовую оконечность плавучего сооружения или корму с соответствующим усилением (рисунок А.2) или внутри (рисунок А.3). Цепной стол может находиться над или под ватерлинией. Транспортирование продукции скважин от турели на технологический комплекс осуществляется по морским шлангам или гибким трубопроводам, которые идут вверх со дна в нижнюю часть турели.

1 - плавучее нефтехранилище; 2 - верхняя соединительная конструкция; 3 - диагональная стяжка; 4 - нижняя соединительная конструкция; 5 - вертикальный вал турели; 6 - цепной стол; 7 - цепная якорная линия (типовая)
Рисунок А.2 - Система позиционирования одноточечного плавучего причала с внешней турелью

1 - плавучее нефтехранилище; 2 - встроенный вертлюг; 3 - тороидальный вертлюг; 4 - верхняя соединительная конструкция; 5 - нижняя соединительная конструкция; 6 - стенки шахты турели; 7 - вертикальный вал турели; 8 - цепной стол; 9 - цепная якорная линия (типовая)
Рисунок А.3 - Система позиционирования одноточечного плавучего причала с внутренней турелью
В некоторых случаях турель сконструирована таким образом, что более низкий цепной стол может быть отсоединен, чтобы позволить плавучему сооружению (обычно самоходному) отплыть с точки в преддверии неблагоприятного природного события, например циклона или приближающегося айсберга. После отсоединения способный самостоятельно держаться на поверхности цепной стол остается погруженным на заданной глубине, поддерживая линии и райзеры.
Вариантом такой компоновки является держащаяся на поверхности погруженная турель, сконструированная для легкого соединения/разъединения, чтобы временно пришвартовать специально модифицированные челночные танкеры для прямой загрузки добываемой нефти. Такую компоновку также используют для стационарных плавучих сооружений (FPSO или FSO). В таком варианте конструкции турель имеет основной подшипник, который позволяет маневрировать танкеру или плавучему сооружению;
b) система позиционирования одноточечного плавучего причала с провисающими якорными линиями (CALM)
Система CALM состоит из большого буя, который удерживается провисающими якорными линиями (рисунок А.4). Такие системы, как правило, используют в качестве отгрузочных терминалов для прямой загрузки танкеров на месторождении, где ведется добыча. Система райзеров или выкидных линий выходит на поверхность с морского дна и подсоединяется в нижней части буя CALM. Швартовка танкера к причалу, как правило, осуществляется волоконными синтетическими канатами. Поскольку реакция одноточечного причала CALM на внешние воздействия окружающей среды сильно отличается от воздействия танкера, то эта система ограничена в своей способности противостоять воздействиям окружающей среды. Когда состояние моря достигает определенного значения, то необходимо отсоединить танкер.

1 - швартовый канат; 2 - одноточечный плавучий причал; 3 - якорная линия
Рисунок А.4 - Система позиционирования одноточечного плавучего причала с провисающими якорными линиями (CALM) и швартовыми канатами
Системы CALM также использовались для позиционирования FPSO и FSO. Чтобы преодолеть ограничения, указанные выше, жесткие швартовные захваты (траверсы) с шарнирными соединениями используются в некоторых конструкциях для удержания плавучего сооружения к верхней части причала. Пример показан на рисунке А.5. Это жесткое шарнирное соединение виртуально устраняет горизонтальные перемещения между буем и танкером. Используется ряд вариаций на основе этой базовой компоновки.

1 - жесткий швартовный захват; 2 - одноточечный плавучий причал; 3 - якорная линия
Рисунок А.5 - Система позиционирования одноточечного плавучего причала с провисающими якорными линиями (CALM) и жестким швартовным захватом
с) система позиционирования одноточечного плавучего причала с одной якорной линией (SALM)
Эта система иллюстрируется на рисунке А.6, и в ней используется система райзеров с вертикальной цепью, которая предварительно натянута с помощью надводного буя. Подъемная сила, действующая в верхней части райзера, стремится восстановить райзер в вертикальном положении (эффект обратного маятника).
Танкер можно пришвартовать к верхней части буя SALM с помощью швартового каната. Основание райзера, как правило, крепится с помощью U-образного соединения к свайному или бетонному грузу, или стальной конструкции, размещенной на дне. В более глубоководных местах цепная система райзеров может быть заменена трубчатой конструкцией райзеров. Варианты такой конструкции были использованы для позиционирования плавучего сооружения (FPSO или FSO) с помощью жесткого колена.

1 - швартовый канат; 2 - одноточечный плавучий причал, выполненный в виде надводного буя; 3 - цепной райзер, встроенный в систему позиционирования
Рисунок А.6 - Система позиционирования одноточечного плавучего причала с одной якорной линией (SALM) и вертикальным цепным райзером
А.1.4 Системы динамического позиционирования
Система динамического позиционирования представляет собой метод автоматического поддержания положения плавучего сооружения с конкретными допусками путем контроля средств активного управления, которые создают векторы тяги для противостояния воздействиям ветра, волнения и течений. Система динамического позиционирования наиболее применима к плавучим сооружениям, которым необходимо часто перемещаться с одного места постановки на другое, например для проведения расширенного опробования скважин.
Системы динамического позиционирования осуществляют удержание плавучих сооружений без использования якорных линий.
А.1.5 Комбинированные системы позиционирования (с якорными линиями и средствами активного управления)
Плавучие сооружения, предназначенные для удержания на точке эксплуатации якорными линиями, могут быть дополнительно оборудованы средствами активного управления и системами управления средствами активного управления. Средства активного управления допускается использовать для управления курсом постановки сооружения, снижения усилий на якорных линиях, возникающих при воздействии суровых внешних условий окружающей среды, или увеличения работоспособности плавучего сооружения.
А.1.6 Стационарные и мобильные системы позиционирования
А.1.6.1 Общие сведения
Системы позиционирования, используемые для операций по добыче с длительным сроком службы, как правило, определяются в качестве стационарных, т.е. используемых долговременно. Системы позиционирования для ПНК являются стационарными системами позиционирования, так как расчетный срок службы ПНК, как правило, превышает 10 лет. Мобильные системы позиционирования обычно развертываются в одном месте на довольно короткий срок. Примерами мобильных систем позиционирования являются системы позиционирования для мобильных МНГС, а также для судов обеспечения, пришвартованных рядом с другими плавучими сооружениями, такими как плавучий отель, буровое судно, баржа или другое судно технического флота. Различие между мобильными и стационарными системами позиционирования иногда не вполне четко прослеживается в случае необходимости выполнения удержания плавучих сооружений с расчетным сроком службы, равным всего нескольким годам. В этом случае эксплуатирующая организация должна это определить с учетом риска подвергнуться воздействию суровых внешних условий окружающей среды и последствий отказа системы позиционирования.
А.1.6.2 Оборудование систем позиционирования
Мобильные системы позиционирования, как правило, включают оборудование, которое можно быстро развернуть и демонтировать. Это требование не распространяется на стационарные системы позиционирования. Многие элементы системы позиционирования, такие как свайные якоря, линейные лебедки, буи и цепные подъемники, которые часто неприменимы для мобильных систем позиционирования и могут использоваться для стационарных систем позиционирования.
А.1.6.3 Установка оборудования систем позиционирования
Развертывание мобильной системы позиционирования в нормальных условиях выполняется с помощью судов обеспечения. Эта операция не является сложной и обычно не занимает более нескольких дней. Развертывание стационарной системы позиционирования часто требует задействования более тяжелого установочного оборудования, такого как плавучий кран, или специальное судно обеспечения. Часть оборудования систем позиционирования обычно устанавливается заранее.
А.1.6.4 Инспектирование и техническое обслуживание
Мобильную систему позиционирования часто можно инспектировать визуально в ходе развертывания или демонтажа. Демонтаж стационарной системы позиционирования с целью инспектирования может обойтись очень дорого, поэтому для инспектирования систем позиционирования используются водолазы или НПА. Замена неисправных элементов мобильной системы позиционирования осуществляется намного проще.
А.1.7 Компоненты якорных линий
А.1.7.1 Общие сведения
Якорные линии для плавучих сооружений, как правило, изготавливают из стальных канатов, цепей, волоконных синтетических канатов или представляют комбинацию вышеуказанного. Различные сочетания типов, размеров и размещения якорных линий, а также тип, размещение и размер стабилизирующих грузов или амортизирующих буев могут применяться для достижения необходимых параметров позиционирования.
А.1.7.2 Стальные канаты
Стальной канат имеет меньшую массу, чем якорная цепь, и обеспечивает более высокую силу упругости для указанного предварительного натяжения. Важность этого аспекта увеличивается по мере того, как увеличивается глубина. Тем не менее для предотвращения подрыва якоря в системе позиционирования с якорными линиями из стальных канатов требуется значительно большая длина линий. Недостатком системы позиционирования, в которой используют стальные канаты, является износ канатов из-за долговременного истирания при контакте с поверхностью морского дна. По этой причине системы позиционирования со стальными канатами редко используют в качестве стационарных систем позиционирования.
А.1.7.3 Цепи
Цепи доказали свою долговечность в морских операциях. Они более стойкие к донному истиранию и добавляют удерживающую способность якорю. Однако на глубоководных участках на системы позиционирования с цепными якорными линиями накладываются большие ограничения по полезной нагрузке плавучего сооружения ввиду значительной собственной массы цепей и требований к их предварительному натяжению.
А.1.7.4 Волоконные синтетические канаты
Волоконные синтетические канаты из полиэстера или высокомолекулярного полиэтилена, или арамида все чаще используют в системах позиционирования на глубоководных участках из-за их значительно меньшего веса при погружении и большей эластичности по сравнению со стальными канатами. Волоконные синтетические канаты обладают очень высокой усталостной прочностью по сравнению со стальными канатами (см. А.14).
А.1.7.5 Комбинированные линии из цепей и канатов
Данное техническое решение предусматривает подсоединение к якорю участка якорной цепи, которая обеспечивает хорошую устойчивость к истиранию о поверхность морского дна и масса которой увеличивает удерживающую способность якорной линии. Выбор типа оконцевания якорных линий, а также того, будет ли конечный участок якорной линии выполнен в виде цепи или стального каната, зависит от требований к регулировке натяжения в якорных линиях во время эксплуатации системы позиционирования. При правильном выборе длины стального каната и цепи их комбинация позволяет получить преимущество в уменьшенном предварительном натяжении с более высокой силой упругости, улучшенной удерживающей способности якоря и хорошей стойкости к истиранию о поверхность морского дна. Эти преимущества делают комбинированные якорные линии из цепей и канатов привлекательными для позиционирования на глубоководных площадках установки.
А.1.7.6 Стабилизирующие грузы
Стабилизирующие грузы иногда включают в состав якорных линий для оптимизации их рабочих характеристик. Если стабилизирующие грузы закреплены к якорной линии в точке, близко расположенной к морскому дну, то возможно их использование для замены участков цепей и увеличения силы упругости якорных линий. Использование стабилизирующих грузов для стабилизации линий предусматривает учет потенциально отрицательных эффектов, таких как увеличенное использование соединительных элементов, сложность монтажа, нежелательная реакция динамической системы на возмущения и увеличенный риск заглубления в морское дно.
А.1.7.7 Амортизирующие буи
Амортизирующие буи соединяются с якорной линией и бывают надводными и подводными. Амортизирующие буи имеют следующие преимущества:
- снижение веса якорных линий за счет их поддержки - наиболее эффективно для мобильных МНГС, размещаемых на глубоководных площадках установки;
- снижение эффекта динамики якорных линий на глубоководных площадках установки;
- уменьшение перемещений плавучих сооружений.
Недостатками амортизирующих буев являются:
- большое количество соединительных элементов и сложность монтажа;
- увеличение внешних воздействий окружающей среды на якорные линии в результате динамической реакции системы на возмущения при сильном волнении.
А.2 Нормативные ссылки
Дополнительная информация и рекомендации отсутствуют.
А.3 Термины и определения
Дополнительная информация и рекомендации отсутствуют.
А.4 Обозначения
Дополнительная информация и рекомендации отсутствуют.
А.5 Общие положения
А.5.1 Функциональные требования
А.5.1.1 Требования к райзерам
Райзеры предназначены для транспортирования флюидов с морского дна к ПНК или мобильному МНГС и представляют собой одно из основных конструктивных ограничений для системы позиционирования. Система райзеров часто накладывает ограничения на допустимое перемещение. При чрезмерном перемещении сооружения во избежание повреждения системы райзеров необходимо производить регулировку натяжения якорных линий, например ослабление линий, находящихся с подветренной стороны. Не менее важным вопросом, требующим рассмотрения, является взаимодействие между якорными линиями и райзерами при эксплуатационных и при экстремальных внешних воздействиях окружающей среды. Система позиционирования и райзерная система должны конструироваться так, чтобы быть приспособленными друг к другу, и необходимо координировать эти две данные системы.
А.5.1.2 Требования к подводному оборудованию
Подводное оборудование, такое как донные опорные плиты, основания райзеров, сателлитные скважины и выкидные линии, должны располагаться на расстоянии и не цепляться за какие-нибудь якорные линии. Любой контакт между якорными линиями и подводным оборудованием в ходе монтажа, эксплуатации или техобслуживания несет в себе высокую опасность повреждения оборудования и якорных линий. Если происходит зацепление или возникает потенциальная возможность зацепления, которую невозможно избежать, то иногда можно изменить компоновку и конструкцию системы позиционирования за счет использования асимметричной компоновки якорных линий или использования стабилизирующих грузов или амортизирующих буев. Координация конструкции системы позиционирования с компоновкой подводного оборудования является необходимой.
А.5.2 Требования безопасности
В этом подразделе указан ряд опасностей, относящихся к потенциальным отказам систем позиционирования. Важность этих опасностей должна осознаваться проектантом системы позиционирования, заказчиком и эксплуатирующей организацией, которые должны свести к минимуму вероятность их возникновения и уменьшить последствия:
а) неисправности системы быстрого отсоединения якорных линий
В случаях, когда предусматриваются системы быстрого разъединения якорных линий, возникает опасность несрабатывания системы тогда, когда требуется, или ее срабатывания тогда, когда этого не требуется. Должны быть внедрены жесткие процедуры, обеспечивающие надлежащее срабатывание. Необходимо проводить плановое техобслуживание и испытание таких систем при условии, что в этом случае не подвергается опасности целостность системы позиционирования;
b) повреждения вспомогательных конструкций якорных линий, направляющих блоков и лебедок
Опасности для сооружения могут быть обусловлены неудачной конструкцией и плохим качеством строительства, а также эксплуатационными потребностями, которые приводят к отказу оборудования в результате внешнего воздействия, вибрации, коррозии и износа. В исключительных случаях может быть нарушена водонепроницаемость. Таким образом, неукоснительный график планового техобслуживания как части системы управления конструктивной целостностью должен включать регулярное освидетельствование всех фундаментов компонентов якорных линий и внутренних опорных конструкций. Техобслуживание также должно включать надлежащую эксплуатацию всех движущихся частей и защиту от коррозии;
c) дефекты, возникающие при изготовлении и обработке
Стальные канаты и цепи, волоконные синтетические канаты, общие звенья, соединительные звенья, прокатное оборудование, шкентели и т.п. подвержены дефектам изготовления. Такое оборудование должно приниматься на основе процедур контроля качества, испытаний и утверждения и соответствовать промышленным стандартам при строительстве;
d) отказы механического, электрического и гидравлического оборудования системы позиционирования
Опасности от указанных вспомогательных систем могут привести к отказу управления, контрольных точек или датчиков, реакций на воздействия и потере ручной коррекции. Механические отказы могут возникнуть в тормозе брашпиля, муфтах и соединительных муфтах, стопорах, передаточных механизмах, шлицевых соединениях, треснутых дисках или барабанах, при охлаждении, в ударниках, устройствах намотки и натяжения канатов и т.п. Гидравлические отказы могут возникать в трубопроводной обвязке, уплотнениях, стыках, насосах, тормозных кранах, системах смазки, загрязнении масла, утечках и уровне жидкостей или клапанах системы аварийного выпуска. Электрические отказы, как правило, влияют на управление и мониторинг положения, натяжения и сети питания. Процедуры регулярного осмотра и планового техобслуживания должны быть разработаны для сведения к минимуму вероятности отказа этих систем;
e) перегрузка, усталость и недостаточная удерживающая способность якоря системы позиционирования
Перегрузка определяется, как любое натяжение, превышающее заранее определенное предельное значение или предельную нагрузку на якорь. Любое из указанных событий может привести к потере положения. Опасности включают неадекватное использование поступательного движения, исключительные природные условия, ненадлежащее проникновение якоря в грунт, чрезмерное натяжение, отказ оборудования и неправильные операции монтажа/демонтажа. Чрезмерный износ может возникнуть в цепи в точке касания, когда цепь часто переходит из состояния свободного провисания в натянутое положение в такой степени, что звенья цепи падают одно на другое. Письменные процедуры по эксплуатации для управления натяжением якорных линий должны быть четко определены и доступны для эксплуатационного персонала. Это включает в себя использование средств активного управления, если они имеются, и перераспределение натяжения линий, чтобы не допустить превышения конструктивных ограничений какого-либо компонента.
Потеря удерживающей способности якоря иногда возникает в результате перегрузки грунта морского дна, применения несоответствующего оборудования или неправильного расчета якоря на выдерживание условий заякорения (например, при выборе несоответствующего угла наклона лап якоря), а также из-за отказа оборудования (включая скобы якоря) или при выборе несоответствующих длин якорных линий для предельных условий. Вероятным последствием этого может стать сползание якоря.
В некоторых районах мира при получении неблагоприятных прогнозов погоды ослабляют натяжение всех якорных линий и эвакуируют персонал. В других районах персонал остается на борту и принимает меры по защите установки. Для выбранного сценария должны быть разработаны четкие эксплуатационные процедуры.
Адекватность системы позиционирования в восприятии циклического воздействия (усталость), как правило, исследуется и подтверждается путем проведения анализа системы позиционирования. Практические меры могут использоваться для изменения положения участков якорных линий, подверженных концентрированному усталостному возбуждению, например на направляющих блоках или в точках касания.
Все элементы должны поддерживаться на удовлетворительном уровне, который достигается за счет использования системы управления конструктивной целостностью с четкими критериями по отбраковке и замене основных компонентов;
f) снижение работоспособности элементов системы позиционирования в процессе эксплуатации
Целостность якорных линий, как правило, ухудшается из-за коррозии, износа и повреждений. Коррозия представляет собой основную проблему, особенно в зоне периодического смачивания, для цепных и канатных якорных линий. Если существует вероятность сильной коррозии между элементами системы позиционирования, то уровень водорода может быть достаточным, чтобы вызвать хрупкое разрушение в любых имеющихся материалах с высокой прочностью.
Абразивное истирание или износ стальных канатов, как правило, возникает на лебедке, в направляющем блоке и точках касания. При нормальной эксплуатации необходимо предусматривать перемещение области контакта каната. Истирание цепи будет сосредоточено в зонах контакта звеньев, а также в точках непредвиденных контактов с плавучим сооружением.
Повреждение в ходе развертывания и демонтажа возможно, если только не соблюдается осторожность. Например, стальные канаты особенно подвержены смятию на участках лебедок из-за наматывания с сильным натяжением. Спиральная структура стального каната может вызвать нарастание крутящего момента, если его волочить по дну моря и это приведет к образованию калышки или завитка, если только натяжение ослабнет. Кроме того, неправильное использование направляющих устройств во время выбора стального каната может вызвать повреждение каната и соединительных элементов.
Необходимо иметь программу регулярных осмотров для мониторинга целостности якорных линий;
g) неадекватные эксплуатационные процедуры, а также процедуры техобслуживания и обращения
Эксплуатационные процедуры разрабатывают с целью минимизации риска отказа системы позиционирования. Эксплуатационные процедуры должны адекватно описывать процедуры обращения в ходе развертывания и демонтажа, а также критерии освидетельствования/списания или требования к техобслуживанию. Стационарные якорные линии скорей всего будут подвержены повреждению в результате погрузочно-разгрузочных операций, поскольку они остаются на месте более длительное время. Погрузочно/разгрузочные работы должны предусматривать обычные операции, направленные на минимизацию эксплуатационного износа, задиров, истирания, повреждения резьбы при спуске/подъеме, наматывании канатов на барабаны или укладывании цепи в ящик для цепей.
Состояние всех якорных линий будет ухудшаться по мере эксплуатации, и адекватное освидетельствование и техобслуживание будут необходимы для обеспечения их постоянной целостности;
h) ошибка оператора
Опасности, возникающие как следствие ошибок операторов, включают неспособность реализовать все пункты этого подраздела и все положения эксплуатационных процедур. Ошибки операторов могут быть сведены к минимуму в случае надлежащего обучения ответственного персонала. Это включает в себя посещение соответствующих курсов обучения, предоставление четких процедурных указаний и руководств по эксплуатации, установление цепочки команд, а также тренировки и инструктаж перед работой.
А.5.3 Требования к планированию
Дополнительная информация и рекомендации отсутствуют.
А.5.4 Требования к инспектированию и техническому обслуживанию
Дополнительная информация и рекомендации отсутствуют.
А.5.5 Инструменты анализа
Дополнительная информация и рекомендации отсутствуют.
А.6 Общие требования к проектированию
А.6.1 Классы сооружений по требованиям стойкости к внешним воздействиям
Концепция классов сооружения по требованиям стойкости к внешним воздействиям была первоначально предложена для стационарных стальных сооружений в [8]. Классы сооружений по требованиям стойкости к внешним воздействиям применительно к плавучим сооружениям полностью определены в [3].
А.6.2 Предельные состояния
А.6.2.1 Общие сведения
Дополнительная информация и рекомендации отсутствуют.
А.6.2.2 Предельные состояния для систем позиционирования
А.6.2.2.1 Предельные состояния по критериям несущей способности
Эти предельные состояния соответствуют противодействию систем позиционирования наиболее вероятным максимальным воздействиям, таким, как те, которые возникают на основе расчетных внешних воздействий окружающей среды.
А.6.2.2.2 Предельные состояния по критериям пригодности к нормальной эксплуатации
Эти предельные состояния относятся к критериям, определяющим нормальное функциональное применение плавучего сооружения. Система позиционирования должна отвечать требованиям эксплуатационной надежности плавучего сооружения, райзеров, бурового оборудования, добычных объектов и т.д., как это определено заказчиком.
В качестве примера предельное состояние SLS по критерию эксплуатационной пригодности достигается, когда эффекты воздействия на плавучее сооружение таковы, что предполагаемые операции на плавучем сооружении (такие, как бурение, добыча, поддержание соединения по мостикам и т.д.) не могут более проводиться.
Альтернативным образом если заказчик не указывает требований к эксплуатационной надежности, то конструктор должен установить ограничительные условия эксплуатации. Это должно стать частью руководства по эксплуатации и должно быть доведено до сведения людей, ответственных за бурение, работы в скважинах или добычу, чтобы можно было своевременно приостановить операции.
А.6.2.2.3 Предельные состояния по критериям усталостной прочности
Предельные состояния усталости для систем позиционирования относят к суммарным повреждениям в компонентах системы из-за природных циклических воздействий.
А.6.2.2.4 Предельные состояния по критериям аномальных воздействий и аварийных ситуаций
Дополнительная информация и рекомендации не представлены.
А.6.3 Определение расчетных ситуаций
Дополнительная информация и рекомендации отсутствуют.
А.6.4 Расчетные ситуации
А.6.4.1 Общие сведения
Дополнительная информация и рекомендации отсутствуют.
А.6.4.2 Расчетные ситуации для предельного состояния по критериям несущей способности ULS
А.6.4.2.1 Общие сведения
Когда выполняется анализ рисков, то он должен включать исторический опыт, расчетный срок службы и предусмотренное применение системы позиционирования, оценку безопасности эксплуатационного персонала, предотвращение ущерба окружающей среде, вероятность повреждения или утраты системы позиционирования при воздействии окружающей среды, которые определены с помощью параметров с различной повторяемостью, а также финансовые потери из-за отказа системы позиционирования.
Калибровка коэффициентов безопасности ULS обсуждается в [9] и [10].
А.6.4.2.2 Стационарные системы позиционирования
Стационарные системы позиционирования необходимо рассчитывать на воздействие комбинаций ветра, волнения и течения, которые теоретически способны привести к возникновению предельных величин воздействия.
На практике это часто аппроксимируется путем использования множественного выбора расчетных ситуаций. Например, в случае повторяемости с периодом в 100 лет часто исследуют три типа расчетных ситуаций:
- волны с периодом повторяемости в 100 лет с сопутствующим ветром и течением;
- ветер с периодом повторяемости в 100 лет с сопутствующими волнами и течением;
- течение с периодом повторяемости в 100 лет с сопутствующими волнами и ветром.
При проектировании стационарных систем позиционирования в соответствии с условиями внешних воздействий окружающей среды, действующими в районе эксплуатации, следует использовать направленную комбинацию воздействия ветра, волнения и течения, приводящую к наиболее тяжелым последствиям.
Выбор расчетных ситуаций требует тщательного анализа. Например, на крупногабаритные сооружения с судовыми формами корпуса наибольшее влияние оказывает низкочастотная качка. Поскольку низкочастотные перемещения, как правило, увеличиваются с уменьшением периодов волн, то волны с периодом повторяемости в 100 лет не обязательно оказывают наиболее сильные эффекты воздействия на якорные линии. Меньшие волны с большей частотой, с более короткими периодами повторяемости могут вызвать более сильные низкочастотные колебания и, таким образом, оказать более сильное воздействие на систему позиционирования.
Эксплуатирующая организация должна определить, допускается ли аварийное отсоединение вследствие незначительных повреждений системы позиционирования плавучего сооружения и относящихся к нему систем. Однако аварийное отсоединение не должно приводить к значительному повышению риска для персонала, окружающей среды или других сооружений, находящихся вблизи рассматриваемого плавучего сооружения или его системы позиционирования. Тем не менее аварийное отсоединение не должно сильно увеличивать риск для персонала, окружающей среды или других сооружений поблизости от плавучего сооружения или его системы позиционирования.
А.6.4.2.3 Мобильные системы позиционирования
А.6.4.2.3.1 Мобильные системы позиционирования, удаленные от других сооружений
Минимальный период повторяемости в обоснованных ситуациях может составлять 50 лет.
А.6.4.2.3.2 Мобильные системы позиционирования в непосредственной близости от других сооружений
Примером операций, выполняемых в непосредственной близости от других сооружений, является установка эксплуатирующихся на плаву мобильных МНГС с якорными линиями, развернутыми через трубопровод. Повреждение трубопровода может возникнуть при протаскивании якоря. Другие примеры включают буровые суда, а также суда для опробования скважин, мелководные баржи и суда обеспечения, пришвартованные рядом с сооружением.
А.6.4.2.3.3 Состояние резервного функционирования мобильных систем позиционирования
Дополнительная информация и рекомендации отсутствуют.
А.6.4.3 Расчетные ситуации для предельного состояния по критериям пригодности к нормальной эксплуатации SLS
Как правило, расчетные ситуации для SLS менее суровые, чем ситуации для ULS. Тем не менее в некоторых операциях ПНК, где система позиционирования должна позволять плавучему сооружению продолжать добычу в сильный шторм, расчетные ситуации для SLS могут быть аналогичны ситуациям для ULS.
А.6.4.4 Расчетные ситуации для предельного состояния по критериям усталостной прочности FLS
Калибровка коэффициентов безопасности FLS обсуждается в [9] и [11].
А.6.4.5 Расчетные ситуации для предельного состояния ALS
Калибровка факторов безопасности ALS обсуждается в [9] и [12].
А.7 Воздействия
А.7.1 Общие сведения
Дополнительная информация и рекомендации отсутствуют.
А.7.2 Требования к гидрометеорологическим и геологическим данным площадок установки
А.7.2.1 Сбор и анализ данных
Дополнительные указания по сбору и анализу данных см. в ГОСТ Р 57148, соответствующих правилах ПКО, например в [13].
Например, операции в зонах тропических циклонов, таких как Мексиканский залив и Южно-Китайское море, характеризуются в целом мягкими природными условиями с однозначно суровыми штормами в течение сезона циклонов (ураганы в Мексиканском заливе, тайфуны в Южно-Китайском море). В этих географических зонах для операций, проводимых не в сезон циклонов, определение природных условий расчетной ситуации может быть сделано на основе анализа имеющихся климатических данных, исключив тропические циклоны.
А.7.2.2 Глубина моря
Дополнительная информация и рекомендации отсутствуют.
А.7.2.3 Грунтовые условия и профиль морского дна
А.7.2.3.1 Общие сведения
Общие геотехнические требования к морским сооружениям приведены в [14].
А.7.2.3.2 Стационарные системы позиционирования
А.7.2.3.2.1 Общие сведения
Площади размещения якорей и якорных линий плавучих сооружений с пространственными системами позиционирования значительно превышают площади, занимаемые фундаментами стационарных сооружений, эксплуатирующихся на морском дне. Требования к исследованиям площадки должны прежде всего быть обусловлены типом МНГС, которое будет устанавливаться, наличием и качеством данных, полученных в ходе предыдущих изысканий, а также последствиями частичного или полного отказа фундамента.
Рекомендуется провести высококачественное геофизическое исследование высокого разрешения по всей площади распределения фундамента. Результаты изысканий необходимо реалистично интерпретировать с геологической точки зрения, а полученные результаты интегрировать в существующие геотехнические данные (если имеются) для оценки ограничений, налагаемых на конструкцию геологическими особенностями. Такое комплексное исследование может впоследствии служить руководством при разработке объема работ в вертикальном и горизонтальном направлениях заключительного геотехнического исследования (т.е. количество, глубина и местоположение шахт пробоотбора грунта и (или) испытаний по месту, таких как метод статического зондирования грунта с измерением порового давления) и помочь интерпретировать полученные геотехнические данные. Предыдущие исследования площадки, а также имеющийся опыт могут снизить объем текущих исследований площадки. Некоторые примеры таких комплексных геологических и геофизических исследований приведены в [15] и [16].
А.7.2.3.2.2 Отбор проб грунта и лабораторные испытания
Если конструктор сочтет нужным положиться на пробоотбор грунта и лабораторные испытания вместо испытаний по месту, то конструктор должен знать, что измеренные свойства образцов грунта, извлеченных из глубоководных участков, могут отличаться от значений по месту. Без специальных мер предосторожности контур гидростатического порового давления и результирующее воздействие на какие-либо растворенные газы может существенно изменить свойства грунта по сравнению с теми, которые будут проявляться в условиях по месту. Из-за этих эффектов предпочтительными являются испытания по месту либо специальные лабораторные испытания по определению свойств грунта. Некоторые существующие геотехнические инструменты при использовании методик роторного бурения в глубоководных исследованиях приведены в [16]. Отбор керна с помощью "буровой каретки" или длинномерных устройств для отбора керна также показаны для обеспечения прочности на срез, эквивалентных тем, которые получены в результате роторного бурения и имеют перспективы в качестве альтернативы методу отбора керна (см. [17] и [18]).
А.7.2.3.2.3 Испытания по месту
Испытания по месту могут обеспечить более надежную оценку параметров грунта и сгладить вопросы, касающиеся нарушений образцов. При этом используют следующие стандартные инструменты: устройство для измерения прочности грунта на сдвиг с применением дистанционного управления (донные либо внутрискважинные устройства), пьезозонд (для получения оценок порового давления и проницаемости по месту), а также оборудование статического зондирования грунта с измерением порового давления. Преимущества метода статического зондирования грунта с измерением порового давления включают получение непрерывного профиля сопротивления грунта, который позволяет выполнить подробную стратиграфическую оценку. Результаты статического зондирования грунта необходимо откалибровать по результатам других испытаний по месту (например, устройство измерения прочности грунта на сдвиг) и лабораторные испытания по наличию, чтобы количественно определить сопротивление грунта. Комплексное обсуждение интерпретации данных статического зондирования грунта с измерением порового давления можно найти в [19]. Другие перспективные инструменты включают Т-образный пенетрометр [20].
А.7.2.3.2.4 Рекомендуемый порядок сбора данных по площадкам установки
Инженерные изыскания должны выполняться для каждой площадки, где располагается плавучее сооружение. Программа инженерных изысканий должна (как минимум), и желательно в указанной последовательности, состоять из следующих частей:
а) фоновые геофизические изыскания
Региональные геологические данные сначала должны быть получены, чтобы обеспечить информацию регионального характера, которая может повлиять на анализ, конструкцию и размещение фундамента. Такие данные следует использовать при планировании изысканий высокого разрешения и геотехнических изысканий площадки, а также обеспечить согласование выводов подземных изысканий с известными геологическими условиями. Специфичные для площадки фоновые данные должны включать повторную экспертизу трехмерных, многоканальных данных, полученных для геологической разведки, а также анализ факторов геологического риска, используемого для размещения разведочных скважин. Трехмерные данные могут быть обработаны повторно для усиления их высокочастотного контента. Предлагаемые источники с более подробной информацией по теме приведены в [21];
b) изыскания на морском дне и обследование грунта морского дна
Специфичная для конкретной площадки геофизическая информация высокого разрешения должна быть получена в отношении условий, существующих на и вблизи поверхности морского дна. Изыскания должны включать картирование и описание всех черт морского дна, которые могут отрицательно повлиять на фундамент. Такие параметры включают в себя: контуры морского дна, крутизну склона на морском дне, стратиграфию мелководья, положение рельефа дна, которые могут влиять на подмыв, валунный грунт, подводные препятствия и небольшие кратеры, выделение флюида, воронки выхода флюида, небольшие разломы, оползневые блоки, буровой шлам, предыдущее использование морского дна и газогидраты.
Для изысканий необходимо использовать геофизическое оборудование и методики, которые соответствуют интересующей глубине моря, а также обеспечивают получение изображений морского дна с высоким разрешением, а также подробную стратиграфическую информацию на приемлемую глубину исследования ниже зоны влияния сооружения. Стратиграфические данные, полученные таким образом, должны быть интегрированы с геотехническими данными, собранными впоследствии (см. следующий пункт), чтобы произвести интерполяцию и (или) экстраполяцию данных о грунте в случае перемещения якоря после проведения геофизических и геотехнических исследований;
c) геотехнические изыскания
Интервалы пробоотбора и испытаний по месту должны обеспечивать, чтобы каждый важный стратиграфический слой надлежащим образом был охарактеризован. Расчетные параметры грунта для различных слоев должны быть определены на основе программы натурных измерений, которая испытывает грунт в настолько неповрежденном состоянии, насколько это возможно. Поскольку можно ожидать, что качество образцов грунта будет ухудшаться с увеличением глубины, то использование методов натурных испытаний рекомендуется для глубоководных площадок. Кроме того, образцы грунта могут потребоваться для исследования перспективных инженерных свойств грунта.
Содержание и объем глубоководных исследований грунта должны быть всегда привязаны к специфичным условиям проекта. При планировании исследования грунта необходимо учитывать следующие общие рекомендации:
- если отсутствует предшествующий опыт по площадке, то минимальный объем должен состоять из одной буровой скважины с чередующимся пробоотбором и внутрискважинным статическим зондированием грунта с измерением порового давления в местах укладки двух якорей;
- если эти буровые скважины показывают значительную вертикальную и (или) боковую изменчивость в пределах схемы позиционирования, то нужно увеличить количество буровых скважин;
- лабораторные исследования должны представлять стандартные классификационные испытания и определение недренированного статического напряжения на сдвиг образцов глины. В отношении свайных якорей, якорей, заглубляемых протаскиванием, и плитовидных якорей рекомендуется проводить испытания методом консолидированного простого сдвига и (или) методом неконсолидированного недренированного трехосного сжатия. Для вакуумных якорей рекомендуется проводить консолидированные испытания методом недренированного компрессионного трехосного сжатия и растяжения;
- несколько тиксотропных испытаний для формирования базиса для оценки расстановки в зависимости от времени после установки якоря;
- корреляция значения удельного сопротивления грунта под конусом зонда при статическом зондировании грунта с измерением порового давления со значениями, определенными методами простого сдвига и (или) неконсолидированного недренированного трехосного сжатия, а также использование выведенного коэффициента несущей способности для разработки непрерывных недренированных профилей статического напряжения сдвига в интервалах глубин, охваченных статическим зондированием грунта с измерением порового давления;
- несколько тиксотропных испытаний по определению степени переуплотнения слоев глины, как правило, улучшают основу для выведения характерного недренированного профиля статического напряжения сдвига для местоположения;
- если выявлены глубокие отложения глины, то рекомендуется проводить дистанционные испытания с помощью устройства измерения прочности грунта на сдвиг в массиве в сочетании с указанным выше объемом, при этом прочность грунта на сдвиг следует корректировать на эффект скорости деформации прежде, чем использовать в [22].
Тем не менее если высококачественные геотехнические данные уже имеются для района расстановки якорей и небольшое изменение свойств грунта подразумевается в пределах площади фундамента либо если обширный опыт применительно к выбранной концепции фундамента на участке может быть использован, то вышеуказанные рекомендации можно изменить соответствующим образом (см. [20] и [21]).
Минимальное вертикальное простирание исследования площадки должно относиться к расчетной зоне влияния поведения основания фундамента и превышать прогнозируемое расчетное проникновение, по крайней мере, на диаметр вакуумного якоря или ширину лапы якоря, В (см. рисунок А.26). Если учитывается прижимающее усилие, создаваемое внешним давлением вследствие откачки воздуха из верхней камеры вакуумного якоря (сваи), в анализе вертикальной способности, то характеристика грунта до трех диаметров для вакуумных якорей или трехкратной ширины для плитовидных якорей ниже расчетной глубины проникновения будет более уместной. Важно обеспечить, чтобы отсутствовали высокопроницаемые слои в зоне, на которую влияет приведение в действие прижимающего усилия, создаваемого внешним давлением вследствие откачки воздуха из верхней камеры вакуумного якоря, особенно если якорь будет противостоять продолжительно действующим силам, таким, которые формируются кольцевыми течениями.
Если исследование грунта в основном выполняется с помощью статического зондирования грунта с измерением порового давления, то рекомендуется, чтобы, по крайней мере одна шахта и (или) длинный керн были отобраны для калибровки результатов статического зондирования грунта с измерением порового давления. Этот ствол/керн должен быть отобран на одном из мест проведения статического зондирования грунта с измерением порового давления.
При изысканиях на площадке также стоит учитывать, что в ходе рабочего проектирования сооружения и системы позиционирования место укладки якорей на дне может измениться из-за изменившейся длины якорных линий и (или) курса постановки сооружения, характеристик сооружения и якорных линий.
Некоторые примеры объема работ в рамках изысканий приведены в [20] и [23], а примеры интерпретации данных - в [24] и [25];
d) программа испытаний грунта
Основная цель реализации программы лабораторных испытаний заключается в надлежащей оценке всех входных параметров, которые необходимы для геотехнического и структурного проектирования, для всех важных слоев. Когда это применимо, то испытания следует выполнять в соответствии с признанными стандартами.
Дополнительные испытания выполняют для определения естественного сползания и циклического поведения грунта с целью получения возможности прогнозирования взаимодействия структуры грунта из-за долговременного и цикличного нагружения. Необходимо учитывать параметры проницаемости, тиксотропии и испытания на уплотнение грунта, чтобы понять эффекты размещения для приводимых в движение свайных конструкций и учета объема для вакуумных якорей и вакуумных якорей кессонной конструкции.
В чисто глиняных грунтах программа натурных исследований, а также программа лабораторных испытаний должны обеспечивать получение следующей информации, которая необходима для определения надежной конструкции свайных и плитовидных якорей, в зависимости от типа и размера якоря, а также нагрузки якоря:
- общая классификация грунта, классификация и испытания индексным методом;
- изменение напряжений в грунте по времени и степени переуплотнения грунта, сжимаемость грунта (т.е. модуль разгрузки и перегрузки), как это измерено в ходе испытаний с постоянной степенью напряжения или испытаний с постоянной нагрузкой;
- проницаемость грунта;
- статическое напряжение сдвига перемятого грунта и чувствительность почвы;
- монотонное и циклическое статическое напряжение сдвига в условиях соответствующего среднего и циклического напряжения для трехосевого сжатия, набухания, а также траектории напряжений DSS; образцы предпочтительней иметь анизотропически уплотненными, и желательно, чтобы были выполнены циклические испытания в ожидаемый период воздействия в дополнение к периоду нормального цикла в 10 секунд;
- данные при ползучести, чтобы определить возможную потерю статического напряжения сдвига в условиях продолжительного воздействия (в случаях, когда имеется сильное продолжительное воздействие, например кольцевые течения, т.к. это важно). Циклические напряжения должны накладываться на продолжительное воздействие, если это имеет отношение к реальным расчетным ситуациям;
- характеристики уплотненного перемятого грунта (сжимаемость и проницаемость);
- прочностные характеристики переуплотненного перемятого грунта;
- тиксотропность грунта;
- параметры, необходимые для формирования кривых р-у (т.е. 50 %-ный коэффициент деформации, ε50);
e) дополнительные изыскания.
При необходимости должны быть выполнены дополнительные изыскания или испытания для оценки следующих аспектов:
- водной эрозии;
- реакции грунта на землетрясение;
- нестабильности морского дна;
- усадки грунта морского дна.
А.7.2.3.3 Мобильные системы позиционирования
Якоря для мобильных МНГС часто проектируют при отсутствии данных о грунтах на конкретных площадках установки. Такой подход зачастую может быть оправданным, хотя обычно предпочтительным является проведение соответствующих исследований грунта конкретной площадки установки, если характеристики ее морского дна отличаются от обычных или если необходима более детальная аналитическая оценка условий заякорения (см. рекомендации по планированию сбора данных для исследования морского дна, приведенные в А.7.2.3.2.4).
А.7.2.4 Статистические данные по волнам
Из-за изменчивого характера подъема уровня моря постоянно регистрируемые данные подъема водной поверхности (состояний моря) обычно описываются в терминах статистических параметров, таких как значимая высота волн, спектральный пиковый период или средний период видимых волн, форма спектра и направленность. Другие интересующие параметры можно вывести на основе этих параметров.
Периоды волнений могут серьезно отрицательно влиять на силу волнового дрейфа и перемещения плавучего сооружения, поэтому необходимо исследовать диапазон периодов волнения. Например, когда выполняется анализ позиционирования с повторяемостью волн в 100 лет, то рекомендуется проверять набор комбинаций со значительной высотой волн и спектральным пиковым периодом, выбранным из периода в 100 лет со значительной высотой волны - контурной линией спектрального пикового периода для этой зоны.
А.7.2.5 Статистические данные по ветру
Дополнительная информация и рекомендации по ветровым нагрузкам приведены в [26].
А.7.2.6 Профили течений
Наиболее распространенными категориями течений являются:
- приливные течения (связанные с астрономическими приливами);
- круговые течения (связанные с океанскими круговыми схемами, например кольцевые и вихревые течения);
- течения, вызываемые штормом;
- течения, вызываемые единичной волной (солитоном).
Для указанного состояния моря общая скорость течения представляет собой вектор суммы скоростей течения, применимого к площадке. В определенных географических зонах воздействие течения может определять конструкцию. Поэтому выбор соответствующих профилей скоростей течения требует тщательного анализа. Для получения дополнительной информации по воздействию течения см. [27] и [26].
А.7.2.7 Снег и обледенение
Дополнительная информация и рекомендации отсутствуют.
А.7.2.8 Морской лед
Дополнительная информация и рекомендации отсутствуют.
А.7.2.9 Обрастание морскими организмами
Дополнительная информация и рекомендации отсутствуют.
А.7.3 Внешние воздействия окружающей среды на якорные линии
А.7.3.1 Общие сведения
Дополнительная информация и рекомендации отсутствуют.
А.7.3.2 Воздействия течений
Дополнительная информация и рекомендации отсутствуют.
А.7.3.3 Воздействия льда
Дополнительная информация и рекомендации отсутствуют.
А.7.3.4 Вибрации якорных линий, вызываемые вихреобразованием
Поток жидкости, протекающий через узкий элемент, может вызывать нестабильную структуру потока из-за образования завихрения. При определенных критических скоростях потока частота образования завихрения может совпадать с кратной частотой или субгармоникой собственной частоты вибрации элемента конструкции и вызывать гармонические или субгармонические возбуждения, перпендикулярные к продольной оси элемента конструкции, или параллельные потоку, или перпендикулярные к потоку. Для якорных линий поперечные вибрации/возбуждения могут представлять проблему, поскольку они имеют тенденцию увеличивать воздействия, вызываемые протаскиванием.
Для оценки эффекта перемещений, вызываемых вихреобразованием, на цилиндрические элементы конструкции с большим удлинением, как правило, используют четыре метода:
- упрощенная оценка перемещений, вызываемых вихреобразованием, и усталости;
- модальный анализ спектра реакций на основе эмпирических моделей (и испытаний);
- метод вычислений динамики жидкости, решающий уравнение Навье-Стокса;
- лабораторные испытания.
Метод нужно выбирать в соответствии с конкретным исследуемым случаем. Рекомендуется использовать признанные полуэмпирические методы, если характеристики проблемы находятся в рамках диапазона применимости на основе предыдущего имеющего отношение опыта.
А.7.4 Косвенные воздействия
А.7.4.1 Общие сведения
Дополнительная информация и рекомендации отсутствуют.
А.7.4.2 Частотные диапазоны
Дополнительная информация и рекомендации отсутствуют.
А.7.4.3 Воздействия волн
Колебания сооружения с частотой волн являются важной составляющей воздействия на систему позиционирования, особенно в условиях мелководья.
Взаимодействие между океанскими волнами и плавучим сооружением вызывает перемещения сооружения, которые для удобства можно подразделить на три категории:
- перемещения первого порядка, называемые высокочастотными или колебаниями с частотой волн;
- перемещения второго порядка, называемые низкочастотными колебаниями;
- установившиеся перемещения, называемые средним волновым дрейфом.
Колебания на частоте волны могут быть получены на основе данных испытаний с использованием модели регулярных волн, модели случайных волн или компьютерного анализа с использованием подходов во временной или частотной областях согласно [3].
Колебания с частотой волны имеют шесть степеней свободы: продольно-горизонтальная качка, поперечно-горизонтальная качка, вертикальная качка, бортовая качка, килевая качка и рыскание. В нормальных условиях они считаются независимыми от жесткости системы позиционирования, за исключением плавучих систем с периодами собственных колебаний менее 30 с.
Однако в некоторых случаях жесткость системы позиционирования и (или) райзеров и т.д. может существенно влиять на колебания с частотой волны. Одним из примеров может служить глубоководный буй типа CALM, где на колебания буя с частотой волны влияют жесткость, инерция и сопротивление якорных линий, а также соответствующие свойства среднеглубинных линий отгрузки нефти. В таких случаях точные колебания буя CALM могут быть получены только на основе анализа всей связанной системы буй/система позиционирования/система отгрузки. Кроме того, усталостный анализ якорных линий и линий отгрузки должен учитывать это связанное поведение.
Низкочастотные колебания вызываются низкочастотным компонентом воздействия волн второго порядка, которые в целом довольно незначительные по сравнению с воздействием первого порядка. Из-за этого низкочастотное воздействие не играет существенной роли в перемещениях в вертикальной плоскости (т.е. бортовой качке, дифференте и вертикальной качке), когда присутствует сильное гидростатическое восстанавливающее воздействие. Однако в горизонтальной плоскости (т.е. продольный снос, боковой снос и рысканье), где присутствует только восстанавливающее воздействие, они обусловлены воздействием системы позиционирования и системы динамического позиционирования, а также добычных райзеров. Перемещения, обусловленные низкочастотным воздействием, могут быть существенными. Это особенно верно при частотах, близких к собственной частоте колебаний пришвартованного сооружения. Поэтому в целом только низкочастотный продольный снос, боковой снос и рыскание включены в анализ системы позиционирования.
Низкочастотные колебания пришвартованного сооружения происходят в узкой полосе по частоте, так как над ними доминирует резонансная реакция на собственной частоте колебаний пришвартованного сооружения. Амплитуда колебаний сильно зависит от жесткости системы позиционирования. Амплитуда колебаний так же сильно зависит от демпфирования системы, поэтому надлежащая оценка демпфирования является критичной при вычислении низкочастотных колебаний. Имеется существенная неопределенность в оценке, особенно демпфирования.
Дополнительная информация о перемещениях плавучих сооружений, вызываемых воздействиями волн, представлена в [9].
А.7.4.4 Воздействия ветра
Скорость ветра увеличивается с увеличением высоты над водой. Если скорость ветра указывается на эталонной высоте иной, чем 10 м, то она должна быть скорректирована до 10 м, используя профиль, приведенный в ГОСТ Р 57148.
Воздействие ветра может восприниматься как постоянное или как комбинация постоянного компонента и меняющегося во времени компонента. Меняющийся во времени компонент также известен в качестве низкочастотного воздействия ветра. Аналогично низкочастотному воздействию волн второго порядка низкочастотное воздействие ветра также вызывает резонансный продольный снос, боковой снос и рыскание. Низкочастотное воздействие ветра в нормальных условиях вычисляется на основе эмпирического спектра энергии ветра, представленного в ГОСТ Р 57148. Низкочастотное воздействие ветра и волн в нормальных условиях комбинируется для получения низкочастотных колебаний вследствие обоих эффектов.
Дополнительная информация по воздействию ветра представлена в [3].
А.7.4.5 Воздействия течений
Описание перемещений плавучих сооружений, вызываемых воздействием течений, представлено в [28].
Информация о воздействиях течений на плавучие сооружения, подверженные перемещениям, вызываемым вихреобразованием, представлена в А.7.4.7.
А.7.4.6 Распределение по направлениям
В оценке эффектов воздействий на системы позиционирования учитывают характеристики направленности различных природных явлений. Если природное явление появляется с того же направления и пришвартованное сооружение подстраивается под это направление, то результирующие эффекты воздействия на систему позиционирования обычно минимизируются. Тем не менее когда волны действуют под большими углами к ветрам или течениям и пришвартованное сооружение не выставлено по преобладающим природным воздействиям, то результирующие эффекты воздействия, как правило, выше.
А.7.4.7 Перемещения плавучих сооружений, вызываемые вихреобразованием
А.7.4.7.1 Основы перемещений, вызываемых вихреобразованием
Цилиндрические сооружения, испытывающие воздействие течения, создают чередующиеся завихрения на регулярной основе. На рисунке А.7 показано, как эти завихрения появляются ниже по потоку в кильватерной струе цилиндра.

1 - поток
Рисунок А.7 - Завихрения ниже по потоку в кильватерной струе после цилиндра
Частота образования завихрений fs относится к безразмерному числу Струхаля S посредством:
,
(А.1)
где Vc - скорость течения, м/с;
d - диаметр цилиндра, м.
Завихрения создают знакопеременную подъемную силу и силу сопротивления на цилиндр. Когда одна из собственных частот цилиндра падает близко к частоте образования завихрений, то могут возникнуть колебания цилиндра. Эта вибрация, вызываемая вихреобразованием, наиболее часто возникает в райзерах и жестких натяжных связях систем позиционирования плавучих сооружений.
Вибрации, вызываемые вихреобразованием, тем не менее не ограничены длинными цилиндрами. Плавучие сооружения, выполненные из цилиндрических элементов, такие как плавучие сооружения на натяжных связях с цилиндрическим корпусом типа "spar" и полупогружные платформы, испытывают колебания, вызванные вихреобразованием, когда частоты их продольно-горизонтальной и поперечно-горизонтальной качки или бортовой и килевой качки близки к частоте вихреобразования. На рисунке А.8 показан пример области перемещений плавучего сооружения на натяжных связях с корпусом цилиндрической формы типа "spar" в условиях вихреобразования вследствие воздействия течения со скоростью более 1,0 м/с. Период перемещений в поперечном направлении в этом случае составляет примерно 180 с, и это близко к периоду собственных колебаний "spar" при поперечно-горизонтальной качке. Также имеют место незначительные перемещения в продольном направлении, которые характеризуются периодом, составляющим примерно половину периода поперечного направления.

X - продольное направление; Y - поперечное направление
Рисунок А.8 - Область перемещений плавучего сооружения на натяжных связях с цилиндрическим корпусом типа "spar" в условиях вихреобразования
Возникновение синхронизации связано с безразмерной приведенной скоростью:
,
(А.2)
где Т - период собственных колебаний, с;
Vc - скорость течения, м/с.
Определение Vr может варьироваться (см. А.7.4.7.2.1). Если Т является периодом собственных колебаний в спокойной воде (течение отсутствует), то синхронизация может, как правило, возникать для значений 4 < Vr < 10 для поперечного перемещения, вызываемого вихреобразованием. Точный диапазон синхронизации зависит от параметров, таких как конструкция сооружения, устройства, снижающие вихреобразование, вспомогательные элементы, профиль течения, отношение масс и демпфирование.
Для ППБУ наличие кратных волн от морского дна приводит к более сложному полю скоростей течения, которое, как правило, также вызывает возбуждение рыскания в дополнение к поперечному и линейной реакции, наблюдаемой для плавучего сооружения с одной колонной, такого как плавучее сооружение на натяжных связях с цилиндрическим корпусом типа "spar". Кроме того, периоды собственных колебаний продольно-горизонтальной и поперечно-горизонтальной качки плавучего сооружения на натяжных связях с цилиндрическим корпусом типа "spar", а также ППБУ являются сопоставимыми, и, как правило, диаметр колонн ППБУ составляет примерно половину от диаметра цилиндрического корпуса "spar". Этот фактор имеет два основных последствия:
a) полная синхронизация возникает при более низких скоростях течения для ППБУ по сравнению с сооружениями с цилиндрическим корпусом типа "spar", и это приводит к тому, что перемещения, вызываемые вихреобразованием, становятся проблемой для системы позиционирования и усталости райзера вместо прочности системы позиционирования для полупогружных платформ по сравнению со "spar";
b) при более высоких скоростях течения полупогружные платформы, как правило, находятся в режиме после синхронизации, т.е. Vr > 10. Это вызывает негармоническую реакцию со случайными амплитудами и более широкими диапазонами частот, в то время как направленные вдоль линий, а также поперечные реакции имеют сопоставимые значения.
А.7.4.7.2 Параметры проектирования с учетом перемещений, вызываемых вихреобразованием
А.7.4.7.2.1 Приведенная скорость
Для перемещений с шестью степенями свободы (продольно-горизонтальная качка, поперечно-горизонтальная качка, вертикальная качка, бортовая качка, килевая качка и рыскание) многокомпонентных корпусов (ППБУ) определение приведенной скорости Vr является сложным. В целом определение Vr включает периоды собственных перемещений системы в условиях средней нагрузки (которая зависит от жесткости системы позиционирования и присоединенной массы), характерные размеры корпуса (который может варьироваться в условиях рассматриваемого характерного вектора), а также характерную скорость набегающего потока.
Дополнительная информация, представленная ниже, распространяется на перемещения плавучих сооружений на натяжных связях с цилиндрическим корпусом типа "spar", вызываемые вихреобразованием, которые распространяются поперечно к направлению течения. В этом случае поперечное перемещение, вызываемое вихреобразованием, возникает, когда период вихреобразования близок к естественному периоду плавучего сооружения, когда оно расположено поперечно по отношению к направлению течения. Для плавучих сооружений на натяжных связях с цилиндрическим корпусом типа "spar" отношение между реакцией на перемещения, вызываемые вихреобразованием, и естественным или наблюдаемым периодом поперечного перемещения часто выражается в значениях приведенных скоростей Vr,n или Vr,obs:
,
,
(А.3)
где Vc - характерная скорость течения, как правило, наивысшая скорость профиля течения;
Tn - естественный период спокойной воды плавучего сооружения в поперечном направлении по отношению к течению в условиях средней нагрузки;
Tobs - наблюдаемый период перемещений, вызываемых вихреобразованием;
d - диаметр цилиндрического корпуса типа "spar".
Необходимо принимать во внимание, что Vr,obs определяется только в диапазоне скоростей течения, которые формируют перемещения, вызываемые вихреобразованием, притом что Vr,n определяется для всех скоростей течения. Данные модельных испытаний показывают, что перемещения, вызываемые вихреобразованием, являются функцией Vr,n или Vr,obs, и перемещения, вызываемые вихреобразованием, являются незначительными, когда Vr,n ниже порогового значения. Диапазон Vr,n или Vr,obs, в котором могут быть вызваны значительные перемещения, вызываемые вихреобразованием, часто называется диапазоном синхронизации.
Vr,n является функцией Tn, которая является функцией жесткости системы позиционирования и массы сооружения. Жесткость системы позиционирования при различных перемещениях может существенно отличаться, особенно для сгруппированных схем позиционирования. Масса сооружения включает присоединенную массу, которая, как правило, определяется аналитическими инструментами или модельными испытаниями. Если имеются данные натурных измерений, то они должны использоваться для калибровки присоединенной массы. Поперечная жесткость, используемая для вычислений Vr,n, как правило, оценивается при среднем перемещении в условиях течения и сопутствующего ветра и волн. Поскольку среднее перемещение зависит от силы сопротивления, которая зависит от амплитуды колебаний при перемещениях, вызываемых вихреобразованием, то процесс выбора соответствующего перемещения для расчета перемещений, вызываемых вихреобразованием, является итеративным. Необходимо принимать во внимание, что наблюдаемый период модельных испытаний или натурных измерений Tobs может отличаться от вычисленного естественного периода для спокойной воды, Tn, который используется в большинстве анализов, поскольку он более доступный. Калибровка вычисленных значений, по имеющимся данным модельных испытаний или натурных измерений, является желательной при наличии данных.
Поскольку Vr,n является функцией скорости течения и периода собственных колебаний плавучего сооружения, перемещения, вызываемые вихреобразованием, могут существовать в условиях сравнительно умеренных течений (например, 0,5-1,0 м/с); если естественный период судна продолжительный, то это может быть характерно для глубоководных плавучих сооружений, имеющих малую жесткость системы позиционирования относительно их общей массы.
А.7.4.7.2.2 Поперечные перемещения, вызываемые вихреобразованием (поперечный поток)
Поперечные перемещения, вызываемые вихреобразованием, формируются, когда период вихреобразования близок к поперечному собственному периоду плавучего сооружения, которое в этом случае стандартным образом колеблется в направлении, перпендикулярном к течению в периодической схеме. Поперечное перемещение в нормальных условиях выражается как отношение поперечного перемещения, вызываемого вихреобразованием, с одиночной амплитудой к диаметру колонны (a/d). Тем не менее поперечные перемещения, вызываемые вихреобразованием, иногда имеют асимметричную форму. В этом случае поперечный a/d должен указываться для двух противоположных направлений. Поперечные перемещения, вызываемые вихреобразованием, являются функцией большого числа параметров, таких как приведенная скорость, тип плавучего сооружения ("spar", ППБУ), конфигурации пояса наружной обшивки (форма, высота и покрытие), характеристики течения (профиль, скорость и направление) и принадлежности к корпусу (анод, цепь, направляющий блок и труба), и т.п.
А.7.4.7.2.3 Продольные перемещения, вызываемые вихреобразованием
Продольные перемещения, вызываемые вихреобразованием, совпадающие с направлением течения, могут влиять на поперечные перемещения, вызываемые вихреобразованием. Амплитуда колебаний в продольном направлении также является функцией параметров, которые обсуждались выше в отношении поперечных перемещений, вызываемых вихреобразованием. В диапазоне синхронизации амплитуда колебаний в продольном направлении, как правило, намного меньше, чем амплитуда колебаний в поперечном направлении. Данные натурных измерений для плавучих сооружений с цилиндрическим корпусом типа "spar", с пространственной системой позиционирования на натяжных связях, показывают, что амплитуда колебаний в продольном направлении составляет от 10 % до 15 % от поперечных колебаний [29] в условиях синхронизации. Тем не менее перемещения в продольном направлении могут быть выше, если собственный период колебаний в продольном направлении соответствует примерно половине собственного периода колебаний в поперечном направлении (линейный резонанс). Кроме того, несимметричная жесткость системы позиционирования может привести к траектории перемещений, вызываемых вихреобразованием, для которой основная ось перемещений, вызываемых вихреобразованием, не является поперечной по отношению к направлению течения.
Вследствие меньшего диаметра колонн по сравнению с плавучими сооружениями на натяжных связях с цилиндрическим корпусом типа "spar" многоколонные плавучие сооружения также могут иметь реакции на участке после синхронизации (Vr > 10). В этом случае поперечные реакции и реакции в направлении якорных линий являются негармоническими со случайно выбранными амплитудами и частотами в более широком диапазоне, а кроме того, поперечные реакции и реакции в направлении якорных линий имеют аналогичные значения.
А.7.4.7.2.4 Коэффициент сопротивления
Модельные испытания, как правило, используют для определения коэффициента сопротивления Cd для применения в конструкции. Базовый коэффициент сопротивления Cd0 принимается для случая, когда a/d = 0.0 (отсутствуют перемещения, вызываемые вихреобразованием), а коэффициенты динамичности применяются для учета эффектов перемещений, вызываемых вихреобразованием. Увеличение сопротивления является функцией a/d и Vr и может быть выражено в виде [30], [31], [32]:
Cd=Cd0[1+k(a/d,V)r],
(А.4)
где k - неопределенная функция a/d и Vr.
Среднюю силу сопротивления, действующую на цилиндр, рассчитывают по формуле
,
(А.5)
где Cd - средний коэффициент сопротивления (абсолютная скорость течения) в присутствии VIM;
ρ - плотность жидкости;
Vc - скорость течения свободного потока;
Ap - развернутая поверхность.
В диапазоне синхронизации коэффициент сопротивления увеличивается почти линейно с a/d. Для плавучих сооружений на натяжных связях с цилиндрическим корпусом типа "spar", где диаметр цилиндра точно определен, коэффициент сопротивления в условиях синхронизации может быть выражен следующей формулой:
Cd=Cd0+f(a/d),
(А.6)
где Cd - коэффициент сопротивления плавучего сооружения на натяжных связях с цилиндрическим корпусом типа "spar" с перемещениями, вызываемыми вихреобразованием;
Cd0 - коэффициент сопротивления плавучего сооружения на натяжных связях с цилиндрическим корпусом типа "spar" без перемещений, вызываемых вихреобразованием;
f - специфичный коэффициент для корпуса.
Коэффициент f является специфичным для корпуса, и в нормальных условиях определяется модельными испытаниями. Он также зависит от определения a/d и Cd (экстремальное или среднее a/d и абсолютная или относительная скорость Cd). Некоторые публикации, на которые дается ссылка, демонстрируют изменчивость сопротивления, которая наблюдается в модельных испытаниях. Такая изменчивость может гарантировать проверки чувствительности по прогнозам сопротивления как часть конструкции системы позиционирования.
А.7.4.7.3 Влияние глубины моря и турбулентности течения
В то время как значение перемещения, вызываемое вихреобразованием, как правило, не является прямой функцией глубины моря, однако на перемещения, вызываемые вихреобразованием, и натяжение якорных линий действуют изменения жесткости на различных глубинах. Жесткость системы позиционирования обычно увеличивается при уменьшении глубины. Увеличенная жесткость системы позиционирования на меньшей глубине может уменьшить или даже подавить перемещения, вызываемые вихреобразованием при определенных условиях, из-за того, что результирующее значение Vr меньше порога возникновения. Тем не менее если более высокая жесткость не уменьшает и не подавляет перемещения, вызываемые вихреобразованием, то якорная линия может испытывать значительное увеличение натяжения в направлении линий. Опыт эксплуатации плавучих сооружений показал, что перемещения, вызываемые вихреобразованием, могут спровоцировать значительное увеличение натяжения якорных линий для стандартных стальных натянутых якорных линий в диапазоне глубин 600-1000 м, где амплитуды колебаний при перемещениях, вызываемых вихреобразованием, составляют значительную долю общего перемещения. Влияние перемещений, вызываемых вихреобразованием, на натяжение якорных линий намного меньше на глубинах, превышающих 1500 м, поскольку жесткость якорных линий, как правило, уменьшается, в то время как амплитуда колебаний при перемещениях, вызываемых вихреобразованием, остается сходной по величине независимо от глубины. Несмотря на то, что перемещения, вызываемые вихреобразованием аналогичной величины, скорее всего, будут менее разрушительными для глубоководных систем позиционирования, эффекты перемещений, вызываемых вихреобразованием, должны по-прежнему учитываться. Большой уклон морского дна приводит к сильно отличающимся глубинам установки якорей для разных линий, вызывая направленные изменения жесткости систем позиционирования. Это может вызвать направленную реакцию на перемещения, вызываемые вихреобразованием.
В то время как корреляция между имеющимися ограниченными данными натурных измерений перемещений плавучих сооружений на натяжных связях с цилиндрическим корпусом типа "spar", вызываемых вихреобразованием, и результатами модельных испытаний не указывает на то, что турбулентность океанских течений влияет на реакцию "spar" на перемещения, вызываемые вихреобразованием, однако имеются доказательства на основе модельных испытаний, что высокие уровни турбулентности в модельном бассейне могут влиять на перемещения, вызываемые вихреобразованием. Структура и интенсивность турбулентности в океанских течениях и потенциальное воздействие турбулентности течений на перемещения, вызываемые вихреобразованием, не вполне понятны, и их нужно далее наблюдать и исследовать.
А.7.4.7.4 Внешние воздействия окружающей среды
А.7.4.7.4.1 Течение
Наиболее распространенными категориями течений являются:
- приливные течения (связанные с астрономическими приливами);
- круговые течения;
- течения, вызываемые штормами;
- солитоны (течения), вызываемые внутренними волнами.
Перемещения, вызываемые вихреобразованием, формируемые плавучими сооружениями на натяжных связях с цилиндрическим корпусом типа "spar", были обнаружены в Мексиканском заливе в присутствии завихрений и инерционных течений, создаваемых ураганами. Другие типы течений также могут формировать перемещения, вызываемые вихреобразованием.
А.7.4.7.4.2 Внешние воздействия окружающей среды для расчета прочности
Анализ прочности системы позиционирования в условиях перемещений, вызываемых вихреобразованием, в нормальных условиях проводится для экстремального течения с сопутствующим ветром и волнами. Тем не менее течение, формирующее перемещения, вызываемые вихреобразованием, по наихудшему сценарию не обязательно возникает с повторяемостью в 100 лет, но может относиться к течениям, имеющим меньшую повторяемость, совпадающую с возникновением перемещений, вызываемых вихреобразованием. Гидрометеорологические критерии должны показывать скорость течения, профиль и направление, а также интенсивность и направление (лежащее на одной прямой или не лежащее на одной прямой) ветра и волн, которые сопутствуют экстремальным течениям. Тем не менее недавние опыты свидетельствуют, что нужно учитывать экстремальный ветер и волны, сопутствующие течению.
А.7.4.7.4.3 Внешние воздействия окружающей среды для усталостного анализа
Для усталостного анализа долговременных событий характеристики течения могут быть представлены в виде ряда частот дискретизации, в котором каждая частота дискретизации будет соответствовать опорным значениям направления, скорости и профиля течения, а также сопутствующим ветровым и волновым условиям и вероятности их возникновения. Исследования также показывают, что в некоторых системах позиционирования значительное усталостное повреждение может быть вызвано единичным событием возникновения экстремальных перемещений, вызываемых вихреобразованием, которые также должны быть рассмотрены. Течение, вызывающее возникновение перемещений, вызываемых вихреобразованием, по наихудшему сценарию усталости не обязательно возникает с повторяемостью в 100 лет, но может относиться к течению, имеющему меньшую повторяемость. Для усталостного анализа единичных событий возникновения перемещений, вызываемых вихреобразованием, критерии течений должны содержать информацию по скорости, профилям и направлениям течений, а также по продолжительности (нарастание и убывание) событий, связанных с течениями, которые охватывают период повторяемости.
А.8 Анализ систем позиционирования
А.8.1 Общие требования
Дополнительная информация и рекомендации отсутствуют.
А.8.2 Перемещения плавучих сооружений
При определении средних перемещений плавучих сооружений в дополнение к сочетанию воздействий ветра, волн и течений может потребоваться учет перемещений плавучих сооружений, вызываемых вихреобразованием. В настоящее время отсутствуют методики определения сочетания воздействий средних значений ветра, волн, течений и перемещений, вызываемых вихреобразованием, и определение данного сочетания целесообразно выполнить на основе модельных испытаний.
А.8.3 Реакции плавучих сооружений
А.8.3.1 Методы выполнения анализа
А.8.3.1.1 Общие сведения
Дополнительная информация и рекомендации отсутствуют.
А.8.3.1.2 Подход в частотной области
Дополнительная информация и рекомендации отсутствуют.
А.8.3.1.3 Подход во временной области
Значение конкретного параметра реакции (перемещения сооружений, натяжения якорных линий, усилий позиционирования, длины участка линии, заглубленной в грунт морского дна, и т.п.), используемого в моделировании одиночной временной области, будет варьироваться на уровне ожидаемого значения. Поэтому необходимо использовать методики подгонки статистических данных и повторение моделирования, чтобы установить приемлемую достоверность в прогнозируемой экстремальной реакции. Количество повторений моделирования, которое потребуется, будет зависеть от характеристик экстремальных значений параметров реакции системы и сложности статистических методов, используемых для прогнозирования максимального значения. В частности, можно предположить, что разброс (стандартное отклонение) реализаций экстремальных значений на основе отдельных моделирований шторма может увеличиваться по мере того, как количество низкочастотных циклов в продолжительности шторма будет уменьшаться (по мере увеличения низкочастотных естественных циклов).
Для сооружений, пришвартованных за турель, естественный период вращения по рысканию сооружения, как правило будет значительно дольше, чем естественные периоды продольного и бокового сноса. Когда естественные периоды рыскания длительные, то прогнозируется большой разброс (стандартное отклонение) реализаций экстремальных значений на основе отдельных моделирований шторма. Поэтому большое количество повторений моделирования шторма обычно требуется, чтобы установить приемлемую достоверность в прогнозируемой максимальной реакции.
А.8.3.1.4 Комбинированный подход в частотной и временной области
В этом подходе средние и низкочастотные реакции моделируются во временной области, которая допускает нелинейные реакции по жесткости якорных линий и райзеров, а также действий сооружения из-за квадратичных терминов и изменений угла рыскания. Постоянные или переменные действия средств активного управления также можно моделировать. Перемещения в переходном состоянии, которые возникают в результате обрыва якорной линии или поломки средств активного управления, можно оценить, указав время поломки в анализе во временной области. В отличие от анализа с использованием полной временной области оценка низкочастотного демпфирования из-за якорных линий и райзеров не может быть включена в это моделирование из-за отсутствия компонентов частоты волн. Демпфирование надо оценивать отдельно и использовать как входной параметр.
Колебания сооружения на частоте волн вычисляют отдельно в частотной области на основе операторов амплитудной характеристики перемещений сооружения, а также спектра волн. Эти колебания можно объединить с низкочастотными колебаниями двумя методами. Первый метод предусматривает решение в частотной области колебаний сооружения на частоте волны, которые трансформируются в изменение во времени и добавляются к среднему и низкочастотному колебанию сооружения, чтобы появиться в объединенном перемещении. В этом случае изменение во времени частоты волны должно вычисляться для той же самой серии волн (случайные значения), используемых для создания временного графика низких частот с учетом текущего положения и курса плавучего сооружения (как это получено на основе низкочастотного временного графика), чтобы получить согласованные результаты.
Второй метод предусматривает, чтобы временной график средней реакции и низкочастотной реакции был проанализирован статистически для определения экстремальных значений, которые затем объединяются с экстремальными значениями реакции частоты волны для появления в максимальном перемещении сооружения.
А.8.3.2 Статистические данные по экстремальным значениям
Следует отметить, что распределение Рэлея не всегда обеспечивает консервативные прогнозы экстремальных перемещений. Особую проблему вызывают пришвартованные сооружения с пассивной турелью, которые не поддерживают постоянного курса из-за низкочастотных колебаний при рыскании. На экстремальную реакцию может оказывать существенное воздействие варьирование курса плавучего сооружения, и при использовании распределения Рэлея можно сильно недооценить экстремальное значение.
А.8.3.3 Подавление низкочастотных колебаний
Методология, использованная при оценке низкочастотного вязкого демпфирования для плавучего сооружения, в целом хорошо отработана, и вязкое демпфирование обычно включается в вычисления низкочастотных колебаний.
Демпфирование волнового дрейфа и системы позиционирования, однако, является более сложным и часто не учитывается из-за недостаточного понимания этих компонентов демпфирования. Исследование свидетельствует о том, что демпфирование волнового дрейфа и системы позиционирования может быть важным. Оно может даже превышать вязкое демпфирование при определенных условиях, и пренебрежение ими может привести к значительной переоценке низкочастотных колебаний. В тех случаях, когда низкочастотные колебания являются важным фактором конструкции, как, например, в случае судовых сооружений, может потребоваться оценить демпфирование на основе всех указанных источников посредством анализа или модельных испытаний.
Демпфирование зависит от глубины моря и количества якорных линий и райзеров помимо фактического состояния моря и профиля течения. Для стационарных систем позиционирования используемое демпфирование должно быть верифицировано за счет модельных испытаний. Консервативный уровень демпфирования используется при отсутствии более точной информации.
А.8.3.4 Анализ райзеров
Дополнительная информация и рекомендации отсутствуют.
А.8.3.5 Анализ систем позиционирования в условиях перемещений плавучих сооружений, вызываемых вихреобразованием
А.8.3.5.1 Общие сведения
А.8.3.5.1.1 Реакция плавучего сооружения
А.8.3.5.1.1.1 Режимы реакций плавучего сооружения на перемещения, вызываемые вихреобразованием
Воздействие, вызываемое вихреобразованием, на корпусах плохообтекаемых сооружений может вызывать реакцию в любой из шести степеней свободы. Основным опасением в отношении большинства плавучих сооружений является реакция в виде поперечно-горизонтальной качки, а также реакция в виде продольно-горизонтальной качки - реакции, которые, как правило, включаются в анализ системы позиционирования. Тем не менее возможные эффекты воздействий от образования завихрений на другие режимы реакций также должны быть проверены. Например, для некоторых плавучих сооружений сильные реакции дифферента при килевой качке, бортовой качке или рыскании, или сильные средние поперечные перемещения могут влиять на систему позиционирования.
Для многоколонных плавучих сооружений в дополнение к реакциям рыскания в модельных испытаниях часто наблюдаются сложные негармонические реакции и (или) ненулевые средние поперечные реакции. Это может происходить из-за асимметричных и нестационарной/негармонической природы потока жидкости, который имеет тенденцию к усложнению в присутствии нескольких колонн и понтонов.
А.8.3.5.1.1.2 Прогнозирование реакции перемещений, вызываемых вихреобразованием
Модельные испытания в настоящее время являются основным инструментом для прогнозирования перемещений, вызываемых вихреобразованием, из-за трудностей своевременного получения полномасштабных данных и отсутствия проверенного численного или аналитического подхода. Тем не менее отраслевые исследования показывают, что модельные испытания способны точно моделировать только некоторые эффекты, в то же время искажая другие. Поэтому достоверность результатов модельных испытаний и критериев проектирования с учетом перемещений, вызываемых вихреобразованием, должна быть установлена посредством сравнения с данными измерений натурных испытаний. Опора на модельные испытания, ограничения по модельным испытаниям и ограниченная проверка по полномасштабным данным должны быть признаны в качестве потенциальных источников неопределенности в процессе проектирования. Более подробная дискуссия по модельным испытаниям изложена в А.8.3.5.1.2.
А.8.3.5.1.1.3 Статистика пиковых значений
Конструкция систем позиционирования с точки зрения сил перемещений, вызываемых вихреобразованием, и усталости, как правило, базируется на специальных критериях, разработанных для экстремальных перемещений, вызываемых вихреобразованием. Это является отступлением от более традиционных подходов, базирующихся на стандартном отклонении и пиковых значениях, которые являются функцией продолжительности экстремального природного события. Традиционный подход не используется в отношении перемещений, вызываемых вихреобразованием, поскольку статистические данные по пиковому значению не были точно установлены для поперечных и направленных по линиям перемещений, вызываемых вихреобразованием, и продолжительность экстремального природного события, например течение с повторяемостью в 100 лет, трудно оценить по нескольким местам.
Предварительное исследование некоторых полномасштабных данных, а также данных модельных испытаний в отношении перемещений плавучих сооружений на натяжных связях с цилиндрическим корпусом типа "spar", вызываемых вихреобразованием, в диапазоне синхронизации (где перемещения хорошо изучены и подтверждены) указывает максимум отношения стандартного отклонения для перемещений, вызываемых вихреобразованием, в продольном направлении на уровне примерно 85 % - 90 % того, которое было определено распределением Рэлея. Для поперечных перемещений, вызываемых вихреобразованием, в диапазоне синхронизации отношение максимального к стандартному отклонению амплитуды колебаний при перемещениях, вызываемых вихреобразованием, может варьироваться от 1,6 до 2,0, а в отношении продолжительности - от нескольких часов до нескольких суток соответственно. Эти значения приведены только для иллюстрации и не должны использоваться для конкретных случаев без дальнейших исследований.
А.8.3.5.1.2 Модельные испытания
А.8.3.5.1.2.1 Основные факторы
Модельные испытания обычно проводят с целью исследования перемещений, вызываемых вихреобразованием, и методов снижения перемещений, вызываемых вихреобразованием. Используемые методы модельных исследований перемещений, вызываемых вихреобразованием, должны надлежащим образом рассматривать следующие аспекты:
- геометрическое масштабирование;
- динамическое масштабирование;
- гидродинамическое масштабирование;
- моделирование выступающих частей;
- характеристики жесткости системы позиционирования;
- степени свободы;
- направление и профиль течения;
- направленное разрешение;
- демпфирование стенда;
- влияние загромождения (стены);
- продолжительность регистрации реакции.
В ходе последних модельных испытаний были получены прогнозы перемещений, вызываемых вихреобразованием, для плавучих сооружений на натяжных связях с цилиндрическим корпусом типа "spar", которые достоверно сравниваются с натурными измерениями [33]. Тем не менее все модельные испытания, проведенные вплоть до настоящего времени, могут лишь достоверно моделировать конкретные параметры, а другие при этом лишь аппроксимировать. Различные методологии и практики модельных испытаний могут приводить к различным результатам испытаний. Достоверность результатов модельных испытаний, и критериев проектирования перемещений, вызываемых вихреобразованием, должна постоянно увеличиваться посредством строгого соблюдения надежных инженерных принципов и сравнений с натурными измерениями, если таковые имеются. Опору на модельные испытания, ограничения по модельным испытаниям и ограниченную валидацию с помощью полномасштабных данных следует рассматривать как потенциальные источники неопределенности.
А.8.3.5.1.2.2 Параметры модельных испытаний
А.8.3.5.1.2.2.1 Подобное преобразование потока
Гидродинамическое подобное преобразование между масштабом прототипа и масштабом модели потока жидкости в модельных испытаниях морских сооружений [31] определяется числом Рейнольдса и числом Фруда.
Безразмерное число Рейнольдса Re определяется следующим образом:
,
(А.7)
где Vc - характеристическая скорость (например, скорость потока), м/с;
d - характеристическая длина (например, диаметр корпуса), м;
v - кинематическая вязкость жидкости, м2/с.
Безразмерное число Фруда Fn определяется следующим образом:
,
(А.8)
где g - гравитационное ускорение в м/с2.
Приравнивание числа Рейнольдса и числа Фруда одновременно для потоков модели и прототипа (полномасштабная структура) практически невозможно. Для модельного размера d, который существенно меньше прототипа, либо гравитационное g нужно существенно увеличить, или вязкость v испытательной жидкости нужно значительно уменьшить. Ни одно из этих изменений невозможно осуществить в испытательном бассейне.
Для раздельных режимов потока, которые вызовут VIM, масштабирование числа Рейнольдса является ключевым аспектом. Масштабирование числа Рейнольдса очень трудно выполнить для морского плавучего сооружения. Для плавучих сооружений на натяжных связях с цилиндрическим корпусом типа "spar" диаметром 20-50 м и скоростей течения 1,0-2,5 м/с число Рейнольдса для прототипа находится в диапазоне 20 000 000-100 000 000. Приравнивание таких чисел Рейнольдса в модельном бассейне потребует, чтобы модель испытывала гидродинамическое воздействие такого же значения, как у прототипа, а это практически невозможно. Поэтому используются два базовых подхода к испытаниям: закритическое и докритическое числа Рейнольдса.
а) Модельные испытания с закритическим числом Рейнольдса. Испытания с закритическими числами Рейнольдса проводят, чтобы получить режим потока, аналогичный потоку, который получается в полном масштабе [29], [32], [34]. Закритические модельные испытания, проводимые с числами Рейнольдса между 600 000 и 2 000 000 для плавучих сооружений на натяжных связях с цилиндрическим корпусом типа "spar", показали хорошее согласование с полномасштабными (15 000 000 < Re < 40 000 000) реакциями, измеренными в натурных условиях. Тем не менее модельные испытания с закритическими числами Рейнольдса предусматривают потребность в модельном бассейне большой емкости, и вплоть до настоящего времени в закритических модельных испытаниях использовались только модели с одной степенью свободы с одинаковым профилем течения.
b) Модельные испытания с докритическими числами Рейнольдса. Для цилиндров со спиральными поясами обшивки разделение потока в ближнем поле контролируется острыми краями пояса обшивки, а не эффектами граничного слоя [35]. Кроме того, можно рассмотреть реакцию сооружения в шести степенях свободы и включить меняющийся профиль течения в модельное испытание. Докритические модельные испытания проводились с числами Рейнольдса между 50 000-400 000 для плавучих сооружений на натяжных связях с цилиндрическим корпусом типа "spar", и удалось получить консервативные результаты после сравнения с полномасштабными (30 000 000 < Re < 40 000 000) измерениями [33], [36].
А.8.3.5.1.2.2.2 Динамическое подобное преобразование
Динамическое подобное преобразование в целом анализирует режимы вибрации твердого тела сооружения. Для исследований VIM подобное преобразование может быть ограничено моделированием лишь режимов твердого тела, которые будут испытывать синхронизацию. Например, плавучее сооружение на натяжных связях с цилиндрическим корпусом типа "spar" может испытывать синхронизацию при боковом сносе на более низких скоростях и при бортовой качке при более высоких скоростях [37]. В некоторых случаях две степени свободы могут фактически демонстрировать сцепление (одновременную синхронизацию). В таких обстоятельствах важно, чтобы режимы и периоды бокового сноса и бортовой качки были надлежащим образом масштабированы. С другой стороны, если поперечный боковой снос является преобладающей реакцией перемещений, вызываемых вихреобразованием, то испытания с твердым телом с одной степенью свободы показали приемлемое согласование между модельными испытаниями и полномасштабными данными [35].
Приведенная скорость Vr, которая была введена в 9.3.5.2, является важным безразмерным параметром для перемещений, вызываемых вихреобразованием:
.
(А.9)
В этом выражении определение характеристического периода Т может варьироваться. Если Т определено как естественный период плавучего сооружения в стоячей воде, то формирование перемещений, вызываемых вихреобразованием, для плавучих сооружений на натяжных связях с цилиндрическим корпусом типа "spar", как правило, возникает при значениях 4 ≤ Vr ≤ 10.
Чтобы достичь надлежащего сходства перемещений, вызываемых вихреобразованием, со структурой жидкости, приведенная скорость моделируемого потока должна совпадать с приведенной скоростью потока прототипа. Иначе говоря, в дополнение к подбору надлежащего масштаба для Vc и d масштабирование для периода Т также должно быть соответствующим.
Отношение масс оказывает большой эффект на диапазон синхронизации и, возможно, на амплитуду [38], [39], [40]. Отношение масс для свободноплавающего тела по определению равно 1,0 (осадка = масса). Это отношение масс также должно поддерживаться и для модельных испытаний.
А.8.3.5.1.2.2.3 Геометрическое подобное преобразование
А.8.3.5.1.2.2.3.1 Общие положения
Чтобы достигнуть геометрического подобного преобразования, геометрическая форма корпуса и поясов обшивки (если уместно) для прототипа и модели должна быть точно масштабирована. Геометрическое подобное преобразование должно распространяться на любые строительные проемы в поясах обшивки, опорах (которые могут изменить поток вдоль поясов обшивки), цепях, анодах, внешних трубах и других вспомогательных приспособлениях, которые могут повлиять на поток вокруг корпуса. Некоторые элементы, например элементы ферменной конструкции плавучих сооружений на натяжных связях с цилиндрическим корпусом типа "spar", могут привнести число Рейнольдса, зависящее от эффектов вязкостного демпфирования. Необходимо с осторожностью моделировать эти конструкции.
А.8.3.5.1.2.2.3.2 Модельный масштаб
Чтобы модель была геометрически сходна с прототипом, форма модели должна быть аналогичной форме прототипа, с меньшей характеристической длиной. Для факторов, относящихся к гидродинамическому воздействию, принято использовать модели меньшего масштаба (отношение 1/100) для модельных испытаний с высокими, закритическими числами Рейнольдса и сравнительно более крупные масштабы моделей (отношение 1/50) для модельных испытаний с низкими, докритическими числами Рейнольдса.
А.8.3.5.1.2.2.3.3 Вспомогательные элементы
Все детали корпуса нужно моделировать точно. Для плавучих сооружений на натяжных связях с цилиндрическим корпусом типа "spar" это включает все вспомогательные элементы, такие как направляющие блоки, трубы, цепи, аноды, райзеры и выкидные линии. Детали поясов обшивки, включая выемки или отверстия в поясах обшивки, также должны моделироваться правильно. Точное моделирование вспомогательных элементов очень важно при разработке направленной чувствительности перемещений, вызываемых вихреобразованием, и эффективности проведения испытаний устройств подавления перемещений, вызываемых вихреобразованием, таких как пояса обшивки.
Для плавучих сооружений с прямоугольными колоннами разделение потока менее чувствительно к наличию вспомогательных элементов.
А.8.3.5.1.2.2.3.4 Степени свободы модели
Были использованы модели с одиночными и множественными степенями свободы. Для моделей с одиночной степенью свободы, которые в основном использовались в испытаниях с высокими (закритическими) числами Рейнольдса, допускаются лишь поперечные перемещения, вызываемые вихреобразованием. Для моделей со множественными степенями свободы, которые в основном использовались в испытаниях с малыми (докритическими) числами Рейнольдса, сооружение может реагировать во всех шести степенях свободы. Относительная важность множественных степеней свободы моделей определяется уровнем связи между перемещениями с различными степенями свободы.
А.8.3.5.1.2.2.3.5 Характеристики жесткости системы позиционирования
Как правило, используют два подхода для моделирования распределения жесткости прототипа системы позиционирования. Один из подходов заключается в использовании приведенной скорости (Vr) в качестве независимого параметра. При модельных испытаниях реакция плавучего сооружения на натяжных связях с цилиндрическим корпусом типа "spar" измеряется при различных приведенных скоростях. На этапе проектирования поперечный период плавучих сооружений на натяжных связях с цилиндрическим корпусом типа "spar" (поэтому Vr) вычисляется при различных значениях перемещения. При каждом перемещении амплитуда реакции, используемая в проектировании, основана на Vr в этом месте. В этом подходе линейная симметричная система позиционирования может использоваться для наладки модельного испытания.
В альтернативном подходе моделируется фактическая пространственная система позиционирования. В этом случае скорость течения является независимым параметром. Плавучее сооружение на натяжных связях с цилиндрическим корпусом типа "spar", как правило, имеет три или четыре группы натяжных связей (якорных линий). Каждая якорная линия или группа якорных линий прототипа моделируется с помощью эквивалентной якорной линии модели. Горизонтальная характеристика перемещения усилий каждой якорной линии или группы моделируется с помощью двух- или трехлинейной системы пружин, чтобы имитировать нелинейное перемещение сил каждой линии или группы. Это позволяет моделировать полную нелинейность и асимметрию жесткости. Для некоторых систем позиционирования, таких как сгруппированные системы позиционирования, асимметрия может повлиять на в высшей степени направленную реакцию перемещений, вызываемых вихреобразованием.
А.8.3.5.1.2.2.3.6 Направление и профиль течения
Реакции перемещений, вызываемых вихреобразованием, для плавучих сооружений на натяжных связях с цилиндрическим корпусом типа "spar" могут быть чувствительны к небольшим изменениям в направлении течения. Высокая разрешающая способность курса (например, при приращениях 10° - 15°) может потребоваться для синхронизации максимальной реакции перемещений "spar", вызываемых вихреобразованием. Для многоколонных плавучих сооружений с прямоугольными или квадратными колоннами имеется четкая направленная зависимость реакции. Как правило, не наблюдается реакции перемещений, вызываемых вихреобразованием, когда угол падения течения меньше чем 15° по отношению к нормали лицевой части колонны.
Буксировочные испытания моделируют плоское течение, которое одинаково независимо от глубины. В действительности расчетные течения имеют профиль и скорости, которые, как правило, уменьшаются с глубиной. Были предприняты попытки смоделировать профили срезывающего течения в буксировочных, шлюзных и бассейновых испытаниях [41]. Попытки создать профили срезывающегося течения в масштабе модели, как правило, приводят к чрезмерной турбулентности. Должен быть проведен тщательный анализ интерпретации реакций перемещений, вызываемых вихреобразованием, в присутствии турбулентного потока. Турбулентность срезывающего потока в лабораторных условиях может быть уменьшена за счет использования меняющейся плотности/вязкости жидкости в различных слоях в модельных испытаниях.
А.8.3.5.1.2.2.3.7 Эффект свободной поверхности
Эффекты свободной поверхности могут быть важны, когда число Фруда больше 0,15. Для буксировочных испытаний плавучего сооружения на натяжных связях с цилиндрическим корпусом типа "spar", находящегося в полупогруженном состоянии, скорость буксировки ограничивается волновым сопротивлением (число Фруда). Буксировка на высокой скорости может привести к формированию чисел Фруда, которые значительно превышают число Фруда полного масштаба и преувеличивают эффекты свободной поверхности. Одним из способов избежать чрезмерного волнового сопротивления при модельных испытаниях с высоким числом Рейнольдса является буксировка сооружения в полностью погруженном положении.
А.8.3.5.1.2.2.3.8 Демпфирование
Демпфирование может влиять на реакцию перемещений, вызываемых вихреобразованием, поэтому демпфирование (гидродинамическое или механическое), созданное в модельном бассейне, должно согласовываться с демпфированием, которое ожидается в полном масштабе. Так как механическое демпфирование можно вызвать с помощью испытательного оборудования и оно отсутствует в натурных условиях, то необходимо внимательно подходить к этому вопросу, чтобы понять эффект демпфирования на реакцию перемещений, вызываемых вихреобразованием, и уменьшить такие эффекты [36]. Гидродинамическое демпфирование вследствие эффектов якорных линий и волн в модельных испытаниях должно тщательно анализироваться при оценке амплитуды полномасштабных перемещений, вызываемых вихреобразованием.
А.8.3.5.1.2.2.4 Продолжительность регистрации реакции
Временные диаграммы модельных реакций должны быть достаточно продолжительными, чтобы получить значимые статистические данные, такие как стандартное отклонение, существенные и максимальные значения. Максимальная длина зависит от периодичности реакции перемещений, вызываемых вихреобразованием [35]. Когда перемещения, вызываемые вихреобразованием, хорошо проработаны и подтверждаются (например, полностью синхронизированы), то всего нескольких циклов достаточно, чтобы установить максимальную амплитуду колебаний при перемещениях, вызываемых вихреобразованием. Если реакция перемещений, вызываемых вихреобразованием, модулируется (например, в переходных участках синхронизации и рассинхронизации), то следует использовать более длинные записи для получения значимых статистических значений. В то время, когда эти части записей не генерируют сильную реакцию перемещений, вызываемых вихреобразованием, они могут быть важны для определения усталости якорной линии. Поэтому должны быть получены записи достаточной продолжительности. Переходные реакции при пуске должны быть исключены из статистического анализа.
А.8.3.5.1.2.3 Современный опыт эксплуатации плавучих сооружений
А.8.3.5.1.2.3.1 Общие сведения
Как было указано в А.8.3.5.1.2.2.3.4, в отношении модельных испытаний перемещений, вызываемых вихреобразованием, плавучих сооружений на натяжных связях с цилиндрическим корпусом типа "spar" в настоящее время используют два подхода к испытаниям с числами Рейнольдса. Предыдущие испытания были выполнены с использованием горизонтального погруженного цилиндра в емкость, где осуществлялась буксировка с высокой скоростью [35], [36], [42], в то время как последние выполняются с использованием плавучего, пересекающего свободную поверхность воды вертикального цилиндра с внешними пружинными линиями, моделирующими систему позиционирования [41], [43], [44], [45], [46], [47], [48]. Предыдущий подход ограничивается классическими плавучими сооружениями на натяжных связях с цилиндрическим корпусом типа "spar".
Модельные испытания не проводят для всех плавучих сооружений на натяжных связях с цилиндрическим корпусом типа "spar". Реакции перемещений, вызываемых вихреобразованием, являются самоограничивающимися, и для тех случаев, где граничный анализ показал, что система позиционирования не контролируется сильным течением или реакциями перемещений, вызываемых вихреобразованием, испытания перемещений, вызываемых вихреобразованием, не проводят [47].
А.8.3.5.1.2.3.2 Модельное испытание с закритическим числом Рейнольдса
В этом подходе модельные испытания проводят для модельных чисел Рейнольдса в закритическом диапазоне (т.е. Re > 600 000). Основа для испытаний модели корпуса в закритическом Re режиме заключается в допущении того, что за пределами переходного диапазона подобное преобразование прототипа и модели потока сохраняется. Модельные испытания при закритических числах Рейнольдса для перемещений, плавучих сооружений на натяжных связях с цилиндрическим корпусом типа "spar", вызываемых вихреобразованием, демонстрируют сравнительно хорошее согласование с натурными измерениями [32], [34].
Модельное испытание с большими числами Рейнольдса предъявляет высокие требования к ресурсам модельного бассейна и может быть проведено только на нескольких испытательных стендах по всему миру. Примеры больших закритических модельных испытаний плавучих сооружений на натяжных связях с цилиндрическим корпусом типа "spar" можно найти в [32], [34]. Описанное эксплуатирующееся на плаву МНГС применялось для буксировки модели цилиндрического корпуса типа "spar" при Re вплоть до 2 000 000.
А.8.3.5.1.2.3.3 Модельные испытания с малым числом Рейнольдса
В этом подходе модель представляет собой либо буксируемую с малой скоростью модель или модель, испытываемую локально в шлюзовом или волновом бассейне с возможностью создания течения. Масштабирование числа Фруда не требуется столь явно. Тем не менее число Фруда, как правило, выбирается, поскольку оно меньше, чем у прототипа. В модельных испытаниях с числом Рейнольдса обычно используют закритический диапазон. Модельные испытания с малыми числами Рейнольдса для плавучих сооружений на натяжных связях с цилиндрическим корпусом типа "spar" продемонстрировали консервативные результаты по сравнению с натурными измерениями [33]. Консерватизм получается, вероятно, из-за разницы между профилями течения в модельном испытании (однородном) и в натурном (неоднородном).
Преимуществом этого подхода является то, что перемещения во всех шести степенях свободы можно моделировать. Это позволяет определить реакции в таких степенях, как бортовая качка и дифферент при килевой качке, и учесть их в конструкции. Это также позволяет учитывать эффекты гидродинамических связей между различными степенями свободы. Способность использовать более крупные модели также позволяет осуществлять более тщательное моделирование частей и вспомогательных элементов корпуса. Вертикальная пришвартованная компоновка также дает возможность моделировать пространственные вариации (нелинейность и асимметрию) прототипа системы позиционирования. Еще одним преимуществом является то, что такой подход может осуществляться в модельных бассейнах без способности высокоскоростной буксировки. Примеры модельных испытаний с малыми докритическими числами Рейнольдса для плавучих сооружений на натяжных связях с цилиндрическим корпусом типа "spar" можно найти в [33], [36], [37], [39], [46].
А.8.3.5.1.2.4 Данные натурных измерений по сравнению с данными модельных испытаний
Натурные измерения реакции перемещений, вызываемых вихреобразованием, были записаны для трех плавучих сооружений на натяжных связях с цилиндрическим корпусом типа "spar" [32], [33], [34]. В натурных условиях профили течения варьируются по скорости и курсу по мере увеличения глубины в противоположность плоскому течению, принятому в буксировочных испытаниях, описанных ранее. Поэтому значения модельных испытаний следует корректировать и учитывать эти вариации.
Особый интерес представляют плавучие сооружения на натяжных связях с цилиндрическим корпусом типа "spar", для которых имеются натурные измерения при закритических и докритических числах Рейнольдса.
А.8.3.5.1.3 Методы совершенствования конструкций систем позиционирования, эксплуатирующихся в условиях перемещений плавучих сооружений, вызываемых вихреобразованием
А.8.3.5.1.3.1 Канаты из полиэстера для средних участков якорных линий
Стальные канаты одинарной свивки, как правило, устанавливаются на средних участках натяжных связей (якорных линий) систем позиционирования плавучих сооружений на натяжных связях с цилиндрическим корпусом типа "spar". Использование канатов из полиэстера на этих участках может иногда снизить натяжение якорных линий из-за перемещений, вызываемых вихреобразованием, поскольку меньшая жесткость каната делает линии из полиэстера более эластичными применительно к перемещениям крупных плавучих сооружений. Применение канатов из полиэстера уменьшает Vr, которое может предотвратить синхронизацию. Вариации натяжения в результате динамического воздействия на плавучее сооружение могут быть меньше в варианте системы позиционирования из полиэстера. Это приводит к уменьшению усталостного повреждения всех компонентов системы позиционирования, включая цепи, которые имеют наименьшую усталостную прочность. Исследование чувствительности, в ходе которого изучается эффект использования канатов из полиэстера вместо стальных канатов одинарной свивки, приведено в [46].
А.8.3.5.1.3.2 Стальные канаты одинарной свивки для верхних и нижних участков якорных линий
Цепи, как правило, устанавливаются на верхних (подсоединение к сооружению) и нижних (подсоединение к якорю) участках плавучих сооружений на натяжных связях с цилиндрическим корпусом типа "spar". Применение стальных канатов одинарной свивки на этих участках может существенно снизить усталостное повреждение вследствие перемещений, вызываемых вихреобразованием, поскольку стальные канаты одинарной свивки имеют значительно более высокую усталостную прочность, чем цепь. Такой вариант требует серьезных модернизаций оборудования, которое включает в себя замену цепных подъемников и направляющих блоков для цепей линейными лебедками и отводными блоками. В морской нефтегазодобыче имеется достаточный опыт по системам позиционирования с использованием стальных канатов одинарной свивки, линейных лебедок и отводных блоков.
А.8.3.5.1.3.3 Усовершенствованные направляющие блоки для якорных линий из цепей
Участок цепи якорной линии, контактирующий с направляющим блоком, более подвержен усталостному повреждению, поскольку имеются изгибающие силы помимо натяжения. Направляющие блоки для цепей с семью впадинами, как правило, используются для систем позиционирования плавучих сооружений на натяжных связях с цилиндрическим корпусом типа "spar". Применение направляющих блоков для цепей с девятью впадинами может уменьшить изгиб цепей, таким образом уменьшая усталостное повреждение на этом участке. Кроме того, конструкция направляющего блока для цепей предусматривает тугую посадку между цепью и углублением направляющего блока, и это обеспечивает значительно меньшую концентрацию напряжения и большую усталостную прочность. Альтернативным образом может быть использован отводной блок для уменьшения концентрации напряжения в цепи.
А.8.3.5.1.3.4 Конструкция пояса обшивки
Перемещения, вызываемые вихреобразованием, можно уменьшить за счет усовершенствованной конструкции пояса обшивки. Варианты включают в себя усовершенствование формы пояса, увеличение высоты пояса, а также устранение прерываний и отверстий в поясах. Чтобы оценить эффективность этих опций, должна быть реализована четкая программа модельных испытаний.
А.8.3.5.1.3.5 Вспомогательные элементы корпуса
Вспомогательные элементы корпуса включают в себя аноды, цепь, направляющие блоки и трубы и могут влиять на реакцию перемещений плавучих сооружений на натяжных связях с цилиндрическим корпусом типа "spar", вызываемых вихреобразованием. Меры по устранению или уменьшению отрицательного воздействия этих вспомогательных элементов могут уменьшить перемещения, вызываемые вихреобразованием. Для оценки эффективности данных мер нужно реализовать четкую программу модельных испытаний.
А.8.3.5.1.3.6 Натянутые якорные линии
Перемещения, вызываемые вихреобразованием, не наблюдаются в модельном бассейне, пока Vr ниже порогового значения. В некоторых случаях это условие может быть достигнуто в натурных условиях путем затягивания якорных линий, например за счет применения более сильного начального натяжения, или путем натягивания системы позиционирования в преддверии событий, связанных с сильным течением, таким образом уменьшая период собственных колебаний удерживаемого сооружения и устраняя перемещения, вызываемые вихреобразованием, для скоростей течения ниже максимального расчетного значения. Принятие подобных мер должно основываться на точных модельных испытаниях и анализе, а также на анализе чувствительности для более сильного течения и более низкого порога Vr. Эксплуатационная процедура по обеспечению натянутой системы позиционирования в ходе событий с сильным течением также должна быть разработана [49] и включена в морское руководство по эксплуатации.
А.8.3.5.2 Расчетные критерии для анализа прочности систем позиционирования в условиях перемещений плавучих сооружений, вызываемых вихреобразованием
Пример построения расчетной кривой Vr в зависимости от a/d представлен на рисунке А.9 и демонстрирует участок переходного периода синхронизации, участок синхронизации и рассинхронизированный участок. Этот тип кривой, как правило, используется для определения амплитуды реакции перемещений, вызываемых вихреобразованием. Для большинства плавучих сооружений на натяжных связях с цилиндрическим корпусом типа "spar" и других пришвартованных плавучих сооружений, испытывающих воздействие перемещений, вызываемых вихреобразованием, амплитуда реакции варьируется с направлением течения с той же приведенной скоростью. Особое внимание нужно уделить определению реакции перемещений, вызываемых вихреобразованием, в зависимости от курса течения при установлении критериев проектирования.

X - приведенная скорость (Vr); Y - амплитуда колебаний при перемещениях, вызываемых вихреобразованием (a/d); 1 - переходный период синхронизации; 2 - синхронизация; 3 - возможная рассинхронизация
Рисунок А.9 - Пример амплитуды колебаний при перемещениях, вызываемых вихреобразованием, в зависимости от приведенной скорости
А.8.3.5.3 Метод анализа прочности систем позиционирования в условиях перемещений плавучих сооружений, вызываемых вихреобразованием
Анализ прочности системы позиционирования в условиях перемещений плавучих сооружений, вызываемых вихреобразованием, может выполняться на специализированных программных комплексах, способных моделировать вихреобразование в частотной и временной областях. Если совместным воздействием волн и ветра можно пренебречь, анализ возможно осуществить на основе изложенной ниже методики:
1) выбрать направление течения;
2) определить среднее перемещение сооружения в условиях расчетного течения с сопутствующим ветром и волнами на основе расчетного Cd. Чтобы получить реалистичные результаты, необходимо учитывать посадку на грунт плавучих сооружений на натяжных связях с цилиндрическим корпусом типа "spar";
3) вычислить в направлении линий поперечное перемещение, вызываемое вихреобразованием, и Cd на основе критериев проектирования, установленных в соответствии с А.7.4.7.2.4. Если это значение Cd сильно отличается от расчетного Cd, то в шаге 2 могут потребоваться итерации;
4) определить область возможных максимальных перемещений сооружения, включая влияние течения/ветра/волн на перемещение сооружения (шаг 2), и перемещений, вызываемых вихреобразованием в линейном и поперечном в направлениях (шаг 3);
5) определить натяжение линий и нагрузки на якорь, которые соответствуют конверту максимальных возможных перемещений сооружения, вычисленных в шаге 4 посредством статического анализа системы позиционирования;
6) оценить дополнительное натяжение линий и анкерных усилий вследствие динамики линий, которые накладываются на квазистатические значения, полученные в шаге 5;
7) повторить шаги 1-6 для получения натяжения линий и удерживающих сил якорей для других направлений течения;
8) выявить наихудшее направление для контроля проекта.
Аналитическая процедура должна включать эффекты перемещений, вызываемых волнами и ветром в сочетании с перемещением, вызываемым течением, а также перемещениями, вызываемыми вихреобразованием.
А.8.3.5.4 Основные факторы усталостного анализа систем позиционирования в условиях перемещений плавучих сооружений, вызываемых вихреобразованием
Дополнительная информация и рекомендации отсутствуют.
А.8.3.5.5 Усталостный анализ систем позиционирования в условиях перемещений, вызываемых вихреобразованием, для долговременных и единичных событий
Рекомендуется выполнять усталостный анализ событий возникновения перемещений, вызываемых вихреобразованием, с повторяемостью один раз в 100 лет, поскольку в долговременном усталостном анализе единичное экстремальное событие возникновения перемещений, вызываемых вихреобразованием, распространяется по всем направлениям течения, и поэтому усталостное повреждение распространяется на различные якорные линии. Тем не менее событие, связанное с возникновением кольцевого течения, повторяемостью один раз в 100 лет, не отображается в долговременном усталостном анализе в виде частоты дискретизации с периодом 40 сут, с практически постоянным направлением течения и медленно меняющейся скоростью течения. Хотя единичное событие перемещений, вызываемых вихреобразованием, с повторяемостью один раз в 100 лет имеет низкую вероятность возникновения, важно для конструктора и оператора знать вероятность отказа вследствие усталости в единичном событии, связанном с течением, чье направление практически постоянное.
Рекомендуется выполнять следующую процедуру для оценки долговременного усталостного повреждения. Пример усталостного анализа приведен в [46].
1) Долговременные события, связанные с течением, могут быть представлены рядом частот дискретизации. Каждая частота дискретизации течения соответствует опорным значениям направления и скорости течения, а также с сопутствующими ветровыми и волновыми условиями. Частоты дискретизации течения для долговременных событий должны быть установлены. Количество опорных значений направлений зависит от направления течения на площадке установки сооружения, а указанные направления должны включать те, для которых прогнозируются значительные перемещения, вызываемые вихреобразованием. Минимальное количество опорных значений скоростей течений в нормальных условиях находится в диапазоне 10-50. Прогнозирование усталостного повреждения может быть очень чувствительно к этому количеству применительно к конкретным системам позиционирования, и поэтому лучше всего его определять посредством исследования чувствительности.
2) Выбрать частоту дискретизации течения и определить продолжительность ti для частоты дискретизации течения в год для заданной вероятности возникновения комбинаций скорости, течения и направления.
3) Определить естественный период Tn позиционируемого плавучего сооружения на натяжных связях с цилиндрическим корпусом типа "spar" для частоты дискретизации течения без перемещений, вызываемых вихреобразованием, на основе расчетного Cd.
4) Указать экстремальные значения a/d в продольном и поперечном направлениях с использованием имеющихся данных натурных измерений или в ходе модельных испытаний. Среднее значение a/d для усталостного анализа можно оценить, умножив экстремальное a/d на коэффициент g, который необходимо определить в ходе имеющихся модельных испытаний или на основе данных натурных измерений.
5) Определить продольный и поперечный коэффициенты Cv амплитуды колебаний при перемещениях, вызываемых вихреобразованием, которые являются функцией приведенной скорости и равны 1,0 при максимальном перемещении, вызываемом вихреобразованием, в условиях синхронизации.
6) Определить приведенную скорость для частоты дискретизации течения и дополнительно модифицировать средние значения a/d в продольном и поперечном направлениях (шаг 4) относительно коэффициента амплитуды Cv.
7) Определить коэффициент сопротивления Cd для частоты дискретизации течения на основе модифицированного среднего значения a/d в поперечном направлении (шаг 6). Если это значение Cd существенно отличается от расчетного Cd в шаге 3, то может потребоваться итерация.
8) Выполнить анализ системы позиционирования в условиях перемещений, вызываемых вихреобразованием, на основе модифицированных средних значений a/d (шаг 6) в продольном и поперечном направлениях, а также Cd (шаг 7), используя процедуру для расчета на прочность. Определить средние диапазоны натяжения Ri и соответствующий период реакции Ti на основе трассы времени натяжения линий для нескольких циклов перемещений, вызываемых вихреобразованием. Средний период реакции Ti может варьироваться из-за относительной ориентации якорной линии и течения.
9) Определить количество циклов до отказа Ni, которое соответствует Ri в отношении интересующего компонента системы позиционирования, используя соответствующее уравнение T-N. Цепь, как правило, имеет самую слабую усталостную прочность, и усталостная прочность цепи на направляющих блоках уменьшается еще больше из-за дополнительной концентрации напряжения из-за изгиба. Коэффициент концентрации напряжения, учитывающий изгиб на направляющих блоках, должен быть определен в ходе испытаний и в результате анализа методом конечных элементов. Коэффициент fc, который определяется как отношение концентрации напряжения цепи на направляющем блоке к напряжению в направлении от блока, может быть использован для вычисления усталостной прочности звеньев цепи на направляющем блоке. Коэффициент fc может сильно варьироваться в зависимости от количества углублений в направляющем блоке и посадке между блоком и цепью. Этот коэффициент может составлять 1,2 направляющего блока с семью углублениями и напряженной посадкой, но он может быть больше с направляющим блоком с ослабленной посадкой. Значение Ni уменьшается коэффициентом fcm на направляющем блоке, где m является обратным наклоном уравнения T-N.
10) Вычислить годовое усталостное повреждение для частоты дискретизации течения i:
.
(А.10)
11) Повторить шаги 2-10 для других частот дискретизации течения.
12) Определить совокупное усталостное повреждение для всех частот дискретизации течения, которое комбинируется с усталостным повреждением от ветра и волн, чтобы получить общее усталостное повреждение (см. 9.3.3.3 в отношении методов объединения усталостного повреждения). Прогнозируемая усталостная прочность составляет 1/Di (год), которая должна быть больше срока службы, умноженного на коэффициент безопасности.
А.8.4 Реакции якорных линий
А.8.4.1 Общие сведения
Стационарные системы позиционирования следует проектировать с учетом двух основных факторов: экстремальных значений натяжения якорных линий и усталости. Поэтому должен быть выполнен анализ экстремальной реакции и усталостного повреждения. Для мобильных систем позиционирования необходимо выполнить лишь анализ экстремальной реакции.
Процедура анализа, описанная в этом подпункте, может прямо применяться в отношении систем позиционирования с якорными линиями, а также в системах позиционирования с внутренними и наружными турелями. Для систем, в которых удержание осуществляется при помощи буя (система CALM) или с помощью райзера (система "турель-райзер"), может использоваться аналогичная процедура. Тем не менее оценка воздействия волн на буй или райзер и трансформация перемещений сооружения на цепной стол через буй или райзер требуют специального анализа. Часто требуются модельные испытания или анализ с использованием специальных инструментов. Такие виды анализа не рассматриваются в настоящем стандарте.
Для CALM со швартовыми канатами указания даны в [50] и могут использоваться для модельных испытаний, проектирования и анализа швартовых канатов. Основу процедуры анализа системы позиционирования см. в [51] и [52].
Как правило, экстремальные реакции определяют конструкцию системы позиционирования ПНК. Они включают перемещение плавучего сооружения, натяжение якорных линий, удерживающие силы якорей и длину провисающей части якорной линии. Условия окружающей среды, характерные для возникновения экстремальных реакций, представлены в 7.4.
А.8.4.2 Квазистатический анализ
Квазистатический метод не рекомендован для окончательного проектирования стационарной системы позиционирования. Тем не менее из-за своей простоты этот метод может использоваться для мобильных систем позиционирования и предварительных исследований стационарных систем с более высокими коэффициентами безопасности.
А.8.4.3 Динамический анализ
Существует несколько методов динамического анализа. Отличительной чертой указанных методик является степень, до которой исследуются нелинейности. Существует четыре основных нелинейных эффекта, которые могут существенно влиять на поведение якорных линий:
a) нелинейное растяжение якорных линий
Напряжение, или тангенциальное вытягивание линии, является функцией значения натяжения. Нелинейное поведение этого типа, как правило, возникает только в якорных линиях из волоконных канатов. Цепи и стальные канаты можно считать линейными системами. Во многих случаях нелинейность можно не учитывать, и линеаризованное поведение допускается с использованием типового тангенциального или секущего модуля;
b) изменения геометрии
Геометрическая нелинейность связана с крупными изменениями формы якорной линии;
c) влияние водной среды
Уравнение Морисона наиболее часто используется для представления эффектов нагрузки жидкости на якорные линии. Нагрузка от лобового сопротивления на линии пропорциональна квадратному корню относительной скорости (между жидкостью и якорной линией), поэтому она нелинейная;
d) влияние дна
В большинстве конструкций систем позиционирования значительный участок якорной линии контактирует с морским дном. Взаимодействие между якорной линией и морским дном обычно рассматривается в качестве фрикционного процесса и поэтому является нелинейным. Кроме того, длина заглубленной в грунт якорной линии постоянно меняется, вызывая взаимодействие между этой нелинейностью и геометрической нелинейностью.
Два метода, а именно анализ в частотной области и анализ во временной области, обычно используются для прогнозирования динамических сил позиционирования.
При использовании метода во временной области все нелинейные эффекты можно смоделировать.
Упругое удлинение моделируется математически, используется полное уравнение Морисона, положение якорных линий корректируется в каждом временном интервале, а взаимодействие с грунтом рассчитывается с учетом трения. Общий анализ предполагает повторное вычисление каждого массового члена, члена демпфирования, термина жесткости, а также воздействия в каждый временной шаг. Поэтому вычисление может стать сложным и долгим.
Метод с использованием частотной области, с другой стороны, является всегда линейным, базирующимся на принципе линейного наложения. Поэтому все нелинейности должны быть исключены прямой или итеративной линеаризацией.
а) Удлинение якорных линий
Взаимозависимость удлинения якорных линий должна быть линеаризована, и конкретное значение модуля должно приниматься в каждой точке. Модуль не может быть функцией натяжения линий, но может варьироваться вдоль линии. Это обычно приемлемое допущение, даже в случае линий из синтетических волокон, и в большинстве случаев может быть получена приемлемая линеаризация.
b) Изменение геометрии
При использовании метода использования частотной области допускается, что динамические перемещения представляют собой небольшие отклонения от статичного положения. Статическая форма неподвижная, и все геометрические количества вычисляются на основе этого положения. Масса, присоединенная масса, жесткость и т.п. вычисляются лишь однажды. Изменения формы цепных линий из-за динамических перемещений, как правило, не сильные. Поэтому линеаризация по среднему положению, как правило, приемлемая.
c) Влияние водной среды
Нелинейный элемент в уравнении Морисона должен быть линеаризован путем замены квадратичной зависимости относительной скорости на эквивалентную линейную зависимость. Линеаризация должна учитывать частотный спектр перемещений якорной линии.
d) Влияние морского дна
Процесс трения между заглубленной в грунт якорной линией и морским дном не может быть воспроизведен точно в частотном диапазоне. Только усредненное или эквивалентное поведение якорной линии может быть постулировано и включено. Это упрощение должно быть скорректировано по задачам проектирования, т.е., как правило, требуются различные модели для оценки усталости и экстремального натяжения.
Относительное влияние различных нелинейностей является функцией многих параметров, а именно глубины моря, состава линии и значения перемещений. Методы аппроксимации нелинейностей в частотной области должны отражать важность различных параметров.
А.8.5 Натяжение якорных линий
Дополнительная информация и рекомендации отсутствуют.
А.8.6 Ограничения по длине геометрии якорных линий
Дополнительная информация и рекомендации отсутствуют.
А.8.7 Усилия на якорях
Дополнительная информация и рекомендации отсутствуют.
А.8.8 Анализ систем позиционирования стандартной конфигурации
А.8.8.1 Анализ частотных характеристик пространственных систем позиционирования
Рекомендуется выполнить следующую процедуру:
a) определить условия окружающей среды, такие как скорость ветра и течения, существенную высоту волн и типовые волновые периоды, их относительные направления, продолжительность шторма и спектр ветра и волн интересующего предельного состояния;
b) определить схему позиционирования, характеристики сегментов якорной линии, которая будет развернута, а также начальное предварительное натяжение;
c) определить коэффициенты воздействия ветра и течения на сооружение и разработать гидродинамическую модель системы, включая плавучее сооружение, райзер и систему позиционирования;
d) определить среднее воздействие окружающей среды на корпус;
e) определить среднее перемещение сооружения как результат среднего воздействия факторов окружающей среды, используя статический анализ позиционирования, включая упругое удлинение якорных линий и трение;
f) определить низкочастотные колебания сооружения. Поскольку вычисление низкочастотных колебаний предусматривает знание параметров жесткости системы позиционирования, то следует использовать жесткость системы при среднем перемещении, которое определено в е);
g) определить значительные и максимальные колебания сооружения на частоте волны, используя соответствующий инструмент для анализа колебаний;
h) определить экстремальные значения перемещений Sextreme сооружения и соответствующую длину провисающей линии, квазистатическое натяжение и нагрузку на якорь, используя статический анализ позиционирования;
i) если необходимо только квазистатическое решение, то пропустить этот шаг; а в других случаях определить наиболее вероятное максимальное натяжение якорной линии и максимально возможную удерживающую силу якоря, используя частотную область или инструмент динамического анализа якорной линии во временной области, см. 9.3.5, 9.5.2 и 9.8;
j) сравнить экстремальные значения перемещения сооружения и провисающей части якорной линии из шага h), а также экстремальные значения натяжения якорной линии и удерживающую силу якоря из шага h) или шага i) с расчетными критериями из раздела 11. Если критерии не соблюдаются, то необходимо изменить конструкцию системы позиционирования и повторить анализ.
А.8.8.2 Анализ частотных характеристик систем позиционирования одноточечных плавучих причалов
Рекомендуется выполнить следующую процедуру:
а) определить условия окружающей среды, такие как скорость ветра и течения, существенную высоту волн, а также типовые волновые периоды, их относительные направления, продолжительность шторма и спектр ветра и волн интересующего предельного состояния;
b) определить схему позиционирования, характеристики сегментов якорной линии, которая будет развернута, а также начальное предварительное натяжение;
c) определить коэффициенты воздействия ветра и течения на сооружение и разработать гидродинамическую модель системы, включая сооружение, райзер и систему позиционирования;
d) вычислить суммарный средний момент рыскания относительно точки позиционирования, вызванный волной, ветром и течением, как функцию курса сооружения. Эти моменты рыскания можно оценить по результатам модельных испытаний или по результатам вычисления воздействия ветра, течения и волнового дрейфа;
e) на основании среднего момента рыскания из-за воздействия окружающей среды определить равновесные курсы и их устойчивость. Устойчивые равновесные курсы возникают тогда, когда суммарный момент рыскания, возникающий вследствие воздействия окружающей среды, равен нулю, а нарушение курса сооружения приводит к возникновению момента рыскания, направленного противоположно возмущению;
f) определить вращательную жесткость по рысканию при равновесном положении курса. Для произвольной точки позиционирования (неблокированная турель) вращательную жесткость по рысканию представляет собой скорость изменений среднего момента рыскания из-за воздействий окружающей среды по отношению к изменению курса;
g) определить стандартное отклонение низкочастотной реакции по рысканию сооружения вокруг устойчивых равновесных курсов, используя инструмент анализа перемещений. Это требует знания низкочастотного спектра момента рыскания, момента инерции по рысканию сооружения и добавленного момента инерции относительно точки позиционирования, вращательной жесткости по рысканию, а также демпфирования по рысканию сооружения и системы позиционирования. Все вышеперечисленное должно быть определено для устойчивого среднего курса рассматриваемого сооружения;
h) при отсутствии более точной информации линеаризованный коэффициент демпфирования рыскания вокруг точки позиционирования может быть определен на основе демпфирования поперечно-горизонтальной качки следующим образом:
,
(А.11)
где CRz - линейный коэффициент демпфирования рыскания, Н·м/(рад/с);
Cy - линейное демпфирование поперечно-горизонтальной качки, Н/(м/с);
l1 - длина сооружения в направлении носа относительно точки позиционирования, м;
l2 - длина сооружения в направлении кормы относительно точки позиционирования, м;
i) вычислить три расчетных курса с учетом среднего равновесного курса и перемещений при рыскании, см. ниже;
j) для каждого из трех расчетных курсов выполнить процедуру по анализу систем позиционирования с якорными линиями, описанную в А.8.8.1 для вычисления реакции системы позиционирования.
Расчетные курсы, для которых определяются реакции системы позиционирования, могут быть взяты в качестве устойчивых равновесных курсов сооружения в условиях среднего воздействия окружающей среды и среднего плюс-минус одного стандартного отклонения низкочастотного колебания при рыскании.
А.8.8.3 Анализ во временной области
Рекомендуется выполнить следующую процедуру:
a) определить условия окружающей среды, такие как скорость ветра и течения, существенную высоту волн и типовые волновые периоды, их относительные направления, продолжительность шторма и спектр ветра и волн интересующего предельного состояния;
b) определить схему позиционирования, характеристики сегментов якорной линии, которая будет развернута, а также начальное предварительное натяжение;
c) определить коэффициенты воздействия ветра и течения на сооружение и разработать гидродинамическую модель системы, включая сооружение, райзер и систему позиционирования;
d) выполнить моделирование во временной области для продолжительности шторма с использованием инструмента анализа позиционирования во временной области. Повторить много раз моделирование с использованием различных временных графиков по волнам и ветру, вычисленных на основе входного спектра, см. 9.3.1.3;
e) использовать методики статистического анализа, чтобы определить максимальные значения перемещения сооружения, натяжения якорных линий, удерживающей силы якорей и параметров геометрии линий;
f) сравнить результаты из шага е) с расчетным критериями, представленными в разделе 11, и с ограничениями по геометрии, описанными в 9.6.
Эта процедура относится только к полностью связанному анализу сооружения и его системы позиционирования. Частично связанные анализы могут обеспечить приемлемые аппроксимации, но требуют особого внимания в ходе их внедрения для получения реалистичных результатов.
А.8.9 Анализ комбинированных систем позиционирования
А.8.9.1 Общие сведения
Комбинированные системы позиционирования (с якорными линиями и средствами активного управления) следует проектировать таким образом, чтобы по мере возможности не было общих единичных отказов. Должна планироваться серия морских испытаний, чтобы верифицировать FMEA системы средств активного управления и по мере возможности продемонстрировать эффекты различных режимов отказа, а также гарантировать, что имеется оборудование и внедрены процедуры, позволяющие безопасно бороться с отказами. Типичные режимы отказа для систем со средствами активного управления следующие:
- полный аварийный перерыв энергоснабжения (полное обесточивание) - даже на наиболее передовых установках имеется риск, хотя и небольшой, полной потери электропитания;
- частичный аварийный перерыв энергоснабжения (частичное обесточивание) - утрата одного центрального щита управления или машинного отделения;
- одно средство активного управления работает на полную мощность в нежелательном направлении в течение 30-40 секунд до остановки;
- отказ одного средства активного управления;
- один гирокомпас выдает неправильный курс, который со временем становится все более неправильным, пока оператор не предпринимает никаких действий;
- один из приборов системы дает все более ошибочные данные, которые первоначально принимаются оператором или системой управления;
- один измеритель натяжения, счетчик длины или аналогичное устройство выходит из строя или выдает неправильные показания (завышенные или заниженные);
- полный отказ одной объединенной движительной установки;
- полный отказ одной автоматической системы управления.
Критичность отказов должна оцениваться:
a) когда все оборудование доступно и функционирует, как ожидается;
b) в различных неблагоприятных условиях.
Основным результатом анализа видов и последствий отказов (FMEA) и анализа доступности для средств активного управления является определение наихудшего единичного отказа. Когда среднее время восстановления является длительным и надежность подсистемы или компонента низка, то при определении наихудшего единичного отказа следует учитывать доступность системы. Это особенно важно для сооружений, которые должны оставаться на месте постоянно, поскольку для определенных операций по техническому обслуживанию и ремонту обычно требуется окно со спокойной погодой. Например, если ремонт или замена сломанного движителя требуют спокойной погоды, следует учитывать вероятность повторного отказа до того, как сломанный движитель будет отремонтирован или заменен. Анализ готовности механических и электрических систем, для которых среднее время восстановления зависит от погодных условий, характерных для конкретной площадки, может использоваться для оценки готовности тяги в течение расчетного срока службы сооружения.
Средства активного управления могут использоваться для помощи системе позиционирования, уменьшая средние воздействия окружающей среды, контролируя направление перемещения сооружения, демпфируя низкочастотные колебания или сочетая эти функции. Полупогружные платформы обычно имеют азимутальные средства активного управления, тогда как сооружения с судовой формой корпуса обычно имеют туннельные или такие же средства активного управления; и те, и другие могут иметь гребные винты. Как правило, полупогружные платформы обладают большей симметрией при воздействии окружающей среды и эффективной тягой, чем сооружения с судовой формой корпуса. ПНК, которые, как правило, не ставятся в сухой док на регулярной основе, могут обладать меньшей готовностью средств активного управления, особенно в зимний период, из-за трудностей демонтажа и ремонта движителей.
Чтобы обеспечить практическое руководство, необходимо количественно определить допустимую тягу, используемую при выполнении анализа позиционирования для неповрежденного состояния, состояния резервного функционирования и переходного состояния. При определении допустимой тяги следует учитывать следующие аспекты:
- эффективность средств активного управления и потери вследствие перемещений сооружения, течения, эффектов перекрестного взаимодействия движитель/корпус и движитель/движитель, а также любых ограничений, связанных с направленностью;
- вероятность частичной или полной утраты тяги. Анализ FMEA и анализ готовности системы должны выполняться для выявления наихудшего отказа системы, который считается равноценным расчетной ситуации;
- эффективность системы управления движителями и операторов в достижении оптимального использования. Это будет зависеть от типа системы управления движителем и ее режима работы.
Рекомендуется, чтобы допустимая тяга, используемая в анализе позиционирования, была верифицирована в ходе морских испытаний системы со средствами активного управления.
А.8.9.2 Анализируемые состояния
Динамический анализ системы в нормальных условиях выполняют, используя три оси (продольно-горизонтальная качка, поперечно-горизонтальная качка и рыскание) модели во временной области. Эта имитационная модель генерирует среднее перемещение и низкочастотные колебания плавучего сооружения, а также реакции средств активного управления, которые соответствуют временным отметкам конкретных воздействий окружающей среды. В этот анализ обычно включены постоянный ветер, течение, равномерные воздействия волнового дрейфа, а также низкочастотное воздействие ветра и волнового дрейфа. Волновое воздействие на частоте волн, которым не противодействует система средств активного управления, может быть исключено из моделирования. Колебания на частоте волн вычисляют отдельно, используя программу перемещений плавучего сооружения, и добавляют к выходным данным модели во временной области. Для получения надлежащих экстремальных значений из временной области модели обычно нужно сгенерировать ряд воздействий и реакций на время продолжительности шторма и вычислить экстремальные значения на основе статистического метода.
А.8.9.3 Определение допустимой тяги средств активного управления
А.8.9.3.1 Общие сведения
В последующих подпунктах даются указания по определению тяги, создаваемой различными пропульсивными устройствами. Также обсуждаются аспекты, каким образом влияют монтаж и компоновка пропульсивных устройств, которые часто приводят к снижению имеющейся эффективной тяги (равнодействующая сила, действующая на сооружение).
Указания распространяются на стандартные пропульсивные устройства, а также варианты установки систем динамического позиционирования или комбинированных систем позиционирования для управления плавучими сооружениями, которые обеспечивают морские операции. Они включают в себя следующие установки:
- открытые гребные винты и гребные винты в насадке, установленные в корме сооружения с судовой формой корпуса (стандартная компоновка с основным движителем);
- азимутальные или фиксированные направленные винторулевые колонки, гребные винты в насадке, установленные под днищем корпуса;
- туннельные движители, установленные в поперечном туннеле в корпусе.
Предусмотрены два метода оценки тяги:
a) таблицы и рисунки для быстрой и приблизительной оценки, которая может использоваться для проектирования комбинированных систем позиционирования и создания предварительной конструкции системы динамического позиционирования;
b) ссылки для более строгого определения имеющейся эффективной тяги, которые могут использоваться для создания окончательной конструкции системы динамического позиционирования или комбинированных систем позиционирования.
Расчетная имеющаяся эффективная тяга, как это определено в настоящем стандарте, должна быть далее уменьшена при определенных условиях, как это указано в 9.9.3. Основной объем материала по разрешенной тяге взят из [53], подробная справочная информация о конструкции гребного винта и допустимой тяге приведена в [54].
А.8.9.3.2 Оценка рабочих параметров
Рабочие характеристики обычного гребного винта, предназначенного обеспечить плавучему сооружению определенную скорость, обычно выражаются эффективностью гребного винта. Однако в процессе позиционирования гребной винт работает при нулевой скорости попутного потока (или с очень низкой скоростью), поэтому применять выражение "эффективность" не представляется возможным. В связи с этим под производительностью гребного винта при позиционировании принято понимать удельную тягу гребного винта на лошадиную силу.
Каждый гребной винт, предназначенный для удержания, создает максимальную тягу при нулевой скорости попутного потока. Даже в случае работы с постоянной мощностью (что возможно, например, с винтами с регулируемым шагом или винтами с фиксированным шагом, приводимыми в движение отдельными первичными движителями), тяга винта уменьшается с увеличением скорости притока жидкости. Скорость притока обусловлена скоростью течения, перемещениями сооружения или струей другого пропульсивного устройства. Для анализа гребного винта системы позиционирования максимальной тягой при нулевом притоке (или тяговое усилие на швартовых) будет считаться работа в ходе эталонных испытаний.
Чтобы определить имеющуюся эффективную тягу (или результирующее действие на сооружение), сначала должна быть вычислена тяга гребного винта при нулевой скорости притока. Тягу нужно скорректировать, используя коэффициент засасывания. Эти коэффициенты обусловлены следующим:
- геометрией или местом расположения гребного винта;
- скоростью притока жидкости к гребному винту;
- направлением вращения гребного винта (вперед или назад).
А.8.9.3.3 Тяга гребного винта при нулевой скорости попутного потока
А.8.9.3.3.1 Открытые гребные винты
Рисунок А.10 можно использовать для быстрого определения тяги гребного винта при нулевой скорости для открытого винта. Необходимыми входными данными являются диаметр винта и приложенная мощность. На диаграмме ясно видно, что для указанной мощности тяга увеличивается с увеличением диаметра винта. На ней также видно, что для указанного винта удельная тяга повышается с уменьшением мощности на единицу площади винта. Подробная информация, а также данные по конструкции и вычислению параметров открытых винтов даны в [26], [55], [56] и [57].
А.8.9.3.3.2 Гребные винты в насадке
Рисунок А.11 позволяет быстро определить тягу винта при нулевой скорости для винта в насадке. Действуют те же факторы, что и для открытых винтов. Сравнение рисунков А.10 и А.11 также указывает на значительное повышение тяги винта в насадке по сравнению с открытым винтом того же диаметра и мощности. Подробная информация и данные по конструкции и вычислению рабочих параметров винтов в насадке приведены в [58] и [59].

X - мощность/площадь гребного винта, кВт/м2; Y - удельная тяга, Н/кВт; а - оптимальное значение; b - низкое значение
Примечание - Мощность, передаваемая на гребной винт на единицу площади винта.
Рисунок А.10 - Тяга гребного винта - открытые гребные винты

X - мощность/площадь гребного винта, кВт/м2; Y - удельная тяга, Н/кВт; а - оптимальное значение; b - низкое значение
Примечание - Мощность, передаваемая на гребной винт на единицу площади винта.
Рисунок А.11 - Тяга гребного винта - гребные винты в насадке
А.8.9.3.4 Вычисление уменьшения тяги
А.8.9.3.4.1 Гребные винты, установленные на корме плавучего сооружения судового типа
Всасывание гребным винтом создает поле низкого давления вверх по восходящему потоку от винта и приводит к уменьшению имеющейся тяги винта. При нулевой скорости попутного потока в ходе вращения вперед это уменьшение составляет примерно 5 % от тяги винта. При работе в кормовой части уменьшение составляет 15 % - 20 %. Подробные данные по взаимодействию гребного винта/корпуса для стандартных судов приведены в [28], [60] и [61].
А.8.9.3.4.2 Гребные винты движителей с ортогональной зубчатой передачей
Наличие кожуха передачи и поддерживающей стойки в потоке к винту вызывает уменьшение тяги. Для движителя с усредненной конструкцией это уменьшение тяги составляет примерно 10 %. Если отношение зубчатой передачи к винту превышает 0,45, уменьшение тяги может составить 15 %.
А.8.9.3.4.3 Уменьшение тяги из-за скорости попутного потока
Для гребного винта, используемого для позиционирования, работа винта при определенных скоростях притока обусловлена течениями, а также кильватерной струей, создаваемой движителями, работающими в непосредственной близости. В таблице А.1 указаны примерные потери тяги как функции скорости попутного потока. Точный прогноз рабочих параметров туннельных или открытых гребных винтов при определенных скоростях попутного потока возможен при детальном анализе, см. [28], [50], [61], [63], [64] и [62]. Информация по потерям тяги из-за перекрестного взаимодействия движителей приведена в [51] и [52].
|
Тип гребного винта |
Скорость попутного потока, м/с | |||
|
0,500 |
1,000 |
1,50 |
2,000 | |
|
Открытый винт |
0,951 |
0,903 |
0,854 |
0,806 |
|
Винт в насадке |
0,942 |
0,883 |
0,825 |
0,767 |
А.8.9.3.4.4 Потеря тяги из-за эффектов поперечных связей неортогонального попутного потока
Работа гребного винта в попутном потоке, который входит иначе, чем параллельно оси гребного винта, меняет рабочие характеристики. Потери тяги из-за скорости попутного потока можно уменьшить. Однако формирование поперечных воздействий может вызвать потерю от общего баланса воздействий. Направление этих воздействий является ортогональным по отношению к оси винта. Эти эффекты, по крайней мере, могут быть изучены при исследовании движущих сил для динамического позиционирования. Информация и качественные данные приведены в [52], [65], [66], [67].
А.8.9.3.4.5 Тяга при реверсе
Некоторым из устройств, создающих тягу, применяемую для динамического позиционирования, требуется реверс винта для создания тяги в обратном направлении. Азимутальные средства активного управления, как правило, создают тягу лишь в одном направлении. Они управляют направлением тяги за счет управления азимутальным углом.
Некоторые средства активного управления, такие как туннельные движители или движители с фиксированным направлением, сконструированы как двунаправленные устройства и способны создавать примерно равную тягу в обоих направлениях. Винты оптимизированы для работы в одном направлении (большинство морских гребных винтов) и подвержены большим потерям тяги при работе в обратном (реверсивном) режиме. В таблице А.2 приведены значения для потерь тяги винтов в насадках из [54].
|
Тип насадки |
Потеря, % |
|
Симметричная насадка |
5-10 |
|
Несимметричная насадка, эллиптические лопасти |
10-25 |
|
Несимметричная насадка, лопасть с вогнутым основанием |
25-50 |
А.8.9.3.4.6 Потеря тяги из-за взаимодействия гребного винта/корпуса
а) эффект Коанды
Попутная струя с высокой скоростью от средства активного управления, смонтированного под днищем сооружения, может создавать зоны низкого давления на корпусе, которые приводят к значительным потерям имеющейся тяги. Величина указанных потерь зависит от места установки винта по отношению к геометрической оси корпуса, расстояния от винта до корпуса, радиуса днища и осадки сооружения. Поправочный коэффициент от 5 % до 15 % используется для учета указанного взаимодействия корпуса. Информация и данные по потерям тяги из-за взаимодействия гребного винта/корпуса приведены в [13] и [68];
b) взаимодействие двойного корпуса
Этот эффект возникает с двухкорпусными полупогружными платформами, имеющими вращающиеся движительные устройства, установленные под корпусом. При определенных значениях азимутального угла струя от винта направлена на соседний корпус, вызывая сопротивление в направлении, противоположном направлению тяги. Этот эффект может усиливаться вышеуказанным эффектом Коанды. Имеются некоторые данные по этим эффектам. Величина потерь тяги зависит от геометрии установки движителя и конфигурации полупогружных корпусов. Меры противодействия (которые также действуют на эффект Коанды) включают в себя горизонтальный наклон оси винта вниз или установку направляющих лопаток на выходе из насадки. Оба метода отклоняют корпуса. Было отмечено 10 % - 15 % падения тяги из-за вышеуказанного явления, с максимальной потерей более 50 % в некоторых положениях и в крайне неблагоприятных условиях [69].
А.8.9.3.5 Рабочие характеристики туннельных движителей
А.8.9.3.5.1 Общие положения
Несмотря на некоторое сходство, туннельные движители во многом отличаются от других пропульсивных устройств. С аналитической точки зрения их рассматривают в качестве осевых насосов. Как и в ситуации с морскими гребными винтами, тяга увеличивается с уменьшением мощности на единицу площади винта. Большой диаметр винта создает большую тягу при указанной мощности. Туннельный движитель подвержен потере тяги за счет факторов, типичных для осевых насосов. Основными причинами уменьшения результирующего выхода являются ограничения потока по направлению к/из рабочего колеса, а также потери на входе и выходе из туннеля.
А.8.9.3.5.2 Поперечные силы туннельных движителей
Рисунок А.12 может использоваться для быстрого определения поперечного воздействия туннельного движителя, и предполагается оптимальная геометрия монтажа. Длина туннеля почти в два раза больше диаметра винта. Корпус расположен перпендикулярно к выходам туннеля. Выходы имеют коническую форму. Никакие защитные полосы не ограничивают концов туннеля. Потери при взаимодействии рабочего колеса/корпуса учтены.
А.8.9.3.5.3 Потери тяги туннельных движителей
В дополнение к потерям тяги из-за геометрии монтажа, которые, как правило, отождествляются с туннельными движителями, могут возникнуть дополнительные потери при определенных условиях эксплуатации. Прогнозирование рабочих параметров туннельного движителя основано на номинальной расчетной погруженности туннеля. Если это подводное положение повышается из-за уменьшения осадки или из-за движений сооружения, то рабочее колесо движителя будет подавать воздух и (или) кавитировать. Оба события приведут к уменьшению тяги рабочего колеса.
Аналитическое определение потерь из-за перемещений сооружения является сложным. Сначала должен быть выполнен относительный анализ перемещений для условий окружающей среды, в которых предполагается эксплуатировать сооружение. На основе этих данных, а именно периодических изменений подводного положения на участке туннеля, потери тяги при работе рабочего колеса при уменьшенной погруженности могут быть вычислены в [56] и [70].

X - мощность/площадь гребного винта, кВт/м2; Y - удельная тяга, Н/кВт; а - оптимальное значение; b - низкое значение
Примечание - Мощность, передаваемая на гребной винт на единицу площади винта.
Рисунок А.12 - Поперечная сила - туннельные движители
А.8.9.4 Распределение нагрузки
Дополнительная информация и рекомендации отсутствуют.
А.8.10 Анализ перемещений плавучих сооружений в переходных состояниях
Анализ перемещений плавучих сооружений в переходных состояниях способен определять, когда средние воздействия и перемещения преобладают над реакцией плавучего сооружения.
А.9 Усталостный анализ систем позиционирования
А.9.1 Общие сведения
Настоящий альтернативный "S-N подход" для определения усталостной прочности стальных канатов, цепей, соединительных звеньев и волоконных синтетических канатов представлен в [71] и обобщен в последующих подпунктах. За исключением мест, где об этом четко заявлено, положения раздела 10 в равной мере относятся и к "подходу S-N".
Диапазоны номинального напряжения S вычисляют путем деления соответствующего диапазона напряжения на номинальную площадь поперечного сечения компонента, в квадратных метрах, т.е.
- для цепи,
(А.12)
- для стального каната,
(А.13)
где d - диаметр каната или калибр цепи якорной линии, м.
Соотношение между диапазоном напряжения (двойной амплитудой) S и количеством допустимых циклов N диапазона напряжения S соответствует формату идентичного соотношения T-N, приведенному в формуле (12), т.е. формула для типовой кривой усталости S-N будет иметь аналогичный вид:
N·Sm=K,
(А.14)
где N, m и K - параметры, аналогичные параметрам, приведенным в формуле (12) в 10.2.2;
N - общее количество допустимых циклов отношения напряжений в диапазоне напряжения S;
m - обратный уклон кривой усталости;
K - постоянная усталости.
Значения m и K для типовых кривых усталости S-N приведены в таблице А.3 для звеньев цепей, соединительных звеньев и компонентов стальных канатов в морской воде.
|
Элемент |
m |
K |
|
Общее звено с распоркой |
3,0 |
1,2·1011 |
|
Общее звено без распорки |
3,0 |
6,0·1010 |
|
Стальной канат шестипрядный/многопрядный (с защитным антикоррозионным покрытием) |
4,0 |
3,4·1014 |
|
Стальной канат одинарной свивки (с защитным антикоррозионным покрытием) |
4,8 |
1,7·1017 |
Допускается использовать данные испытаний для конкретного типа компонента якорной линии при проектировании. Затем используется линейный регрессионный анализ для построения кривой усталости S-N с расчетной кривой, расположенной, по крайней мере, на два стандартных отклонения ниже средней линии. В случае испытаний цепи в воздухе эффект морской воды должен учитываться за счет снижения усталостной прочности на 2,0 для цепи с распоркой и с коэффициентом 5,0 для цепи без распорки.
Рекомендованный коэффициент уменьшения для цепи с распоркой применим лишь тогда, когда распорка отлично подогнана в звене цепи. Усталостная прочность звена цепи с распоркой очень чувствительна к вариациям в зависимости от затяжки распорки. Когда распорка ослабевает, то сценарий распределения напряжения полностью меняется, и это может привести к значительному снижению усталостной долговечности. Этих проблем можно избежать, если использовать цепь без распорки.
Коэффициент безопасности усталостной прочности γF для "S-N подхода" в соответствии с 11.5 составляет:
γF=5,0, когда DF ≤ 0,8,
(А.15)
γF=5,0+3,0(DF-0,8)/0,2, когда DF > 0,8,
(А.16)
где DF - коэффициент смежных усталостных повреждений, который представляет собой отношение типичного усталостного повреждения D в двух соседних якорных линиях, взятого как меньшее повреждение, деленное на большее повреждение (DF ≤ 1,0).
Коэффициенты безопасности, определение которых приведено выше, предназначены, чтобы разрешить использование сгруппированных линий, при этом обеспечивая приемлемый уровень безопасности. Более подробная информация дана в [72].
Для стационарных систем позиционирования коэффициенты концентрации напряжений из-за изгиба звеньев цепи на направляющих блоках, отводных блоках, направляющих трубах и подкладках должны все учитываться в усталостном анализе.
А.9.2 Усталостная прочность
А.9.2.1 Стальные канаты, цепи и соединительные звенья
Дополнительная информация и рекомендации отсутствуют.
А.9.2.2 Кривые усталости T-N
Рекомендуемые кривые T-N основаны на положениях API RP 2SK [73] и [74].
Если требуются соединительные скобы, то для долговременного заякорения скобы, рассчитанные с учетом соответствующих коэффициентов концентрации напряжения, являются предпочтительными по сравнению с соединительными звеньями Кентера, грушеобразными звеньями, С-образными звеньями и D-образными скобами, использование которых следует исключить.
Последние исследования свидетельствуют о том, что среднее натяжение оказывает значительное влияние на срок наступления усталости канатов и поэтому должен быть включен в уравнения расчетных кривых. Среднее натяжение, равное 0,3 минимального разрывного усилия каната, считается типичным для обычных систем позиционирования.
Для усталостного анализа натяжения стальных канатов могут рассматриваться следующие методы, учитывающие эффект среднего натяжения:
a) для каждого состояния моря определить среднее натяжение и соответствующую расчетную кривую, которая затем используется для вычисления усталостного повреждения для этого состояния моря. При этом подразумевается, что различные расчетные кривые используются для различных состояний моря;
b) определить среднее натяжение для состояний моря, вызывающее сильное усталостное повреждение, и использовать расчетную кривую для среднего натяжения для всех состояний моря;
c) использовать расчетную кривую для среднего натяжения, равного 0,3 минимального разрывного усилия каната для обычных систем позиционирования.
Среди трех указанных методов а) является наиболее точным, но требует больше вычислений. Если используются b) или с), то должно быть проведено исследование чувствительности для обеспечения того, что эти упрощенные подходы дают консервативные прогнозы.
Кривые T-N для стальных канатов основаны на данных испытаний из [13].
На рисунке А.13 представлены усталостные расчетные кривые T-N для цепи, соединительных звеньев, шестипрядных/многопрядных стальных канатов и канатов одинарной свивки. Две кривые для стальных канатов предназначены для среднего натяжения, равного 0,3 минимального разрывного усилия каната.

X - log 10 (число циклов); Y - log 10 (диапазон натяжения/эталонное разрывное усилие); а - цепь из общих звеньев с распорками; b - цепь из общих звеньев без распорок; с - соединительное звено Кентера; d - шестипрядный/многопрядный канат, средняя нагрузка, равная 0,3 минимального разрывного усилия каната; е - канат одинарной свивки, средняя нагрузка, равная 0,3 минимального разрывного усилия каната
Рисунок А.13 - Усталостные расчетные кривые для цепи, соединительного звена и стального каната
А.9.2.3 Усталость типа "натяжение-натяжение" (Т-Т)
Дополнительная информация и рекомендации отсутствуют.
А.9.2.4 Усталость типа "изгиб-натяжение" (В-Т) и усталость при свободном изгибе
Данные усталости цепи и каната "изгиб-натяжение" недостаточны для построения расчетных кривых. При отсутствии расчетных данных по усталости необходимо принять профилактические меры, чтобы избежать отказа системы позиционирования из-за усталости при изгибающем натяжении. Например, отношение диаметра изгиба к диаметру каната должно быть достаточно большим, чтобы избежать чрезмерного изгиба, см. таблицу А.4.
|
Тип стального каната |
Отношение диаметра изгиба к диаметру каната |
Усталостная долговечность при изгибающем натяжении (типа В-Т)/Усталостная долговечность при натяжении (типа Т-Т), % |
|
Шестипрядный |
20 |
3 |
|
70 |
8 | |
|
Многопрядный |
20 |
5 |
|
70 |
15 | |
|
Одинарной свивки |
20 |
0,5 |
|
70 |
1,5 |
Участок якорной линии, которая находится в непосредственном контакте с направляющим блоком, следует регулярно осматривать. Этот участок следует периодически сдвигать, чтобы избежать постоянного изгибания в одном месте. Данные на основе исследования по сопоставлению сроков наступления усталости якорных линий в вариантах "изгиб-натяжение" и "натяжение-натяжение" на полупогружных платформах в типичных условиях Северного моря приведены в таблице А.4. Эта информация содержит справочные значения для применения в правилах эксплуатации, чтобы избежать чрезмерной усталости стальных канатов при изгибающем натяжении. Из-за сложностей усталостного состояния В-Т относиться к информации, приведенной в таблице А.4, следует с осторожностью, для чего коэффициент безопасности усталостной прочности, приведенный в 11.5, следует соответственно увеличивать.
При изгибающем натяжении в цепи участок якорной линии, находящийся в непосредственном контакте с направляющим блоком, также следует регулярно осматривать и передвигать, избегая постоянного изгиба на одном и том же участке. В общем случае наихудшим вариантом нагружения является нагружение изгибающим натяжением горизонтально расположенного звена цепи над неглубокой канавкой направляющего блока или цепной звездочки. Поэтому направляющие блоки должны иметь такие форму и размеры, которые позволят избежать нежелательного изгиба звеньев цепи. Ограниченное количество проведенных испытаний цепей на усталостную долговечность (типа T-N) на направляющих блоках и цепных звездочках с пятью карманами (нишами) в них показало, что усталостная долговечность при изгибающем натяжении (типа В-Т) составляет от 5 % до 20 % усталостной долговечности при натяжении (типа Т-Т). Конструкция направляющих блоков и цепных звездочек с семью карманами (нишами) в них, как правило, обеспечивает значительно большую усталостную долговечность при изгибающем натяжении (типа В-Т).
А.9.3 Процедура усталостного анализа
А.9.3.1 Общие сведения
Дополнительная информация и рекомендации отсутствуют.
А.9.3.2 Накопленное усталостное повреждение
Дополнительная информация и рекомендации отсутствуют.
А.9.3.3 Оценка усталостного повреждения
А.9.3.3.1 Общие сведения
Если n подчиняется распределению Релея и кривая усталости T-N определяется формулой (12), приведенной в 10.2.2, годовое усталостное повреждение Di, накопленное в отдельном расчетном состоянии системы позиционирования (MDS), может быть вычислено следующим образом:
,
(А.17)
где ni - количество циклов, связанное с MDSi, год-1;
E(..)- ожидаемое значение;
T, m и K - как это определено в 10.2.2.
А.9.3.3.2 Определение диапазона натяжения
Дополнительная информация и рекомендации отсутствуют.
А.9.3.3.3 Комбинация натяжений с частотой волны и низкочастотных натяжений
Дополнительная информация о поправочном коэффициенте, учитывающем данные двух полос частот, которые присутствуют в процессе натяжения (см. 10.3.3.3.4), представлена в [75].
Подсчет циклов для усталостного анализа, включая "метод дождя", описан в [76].
На рисунке А.14 представлено усталостное повреждение D при спокойном состоянии моря, рассчитанное с использованием алгоритмов оценки циклов:
a) простое суммирование;
b) комбинированный спектр;
c) комбинированный спектр с поправочным коэффициентом, учитывающим данные двух полос частот, которые присутствуют в процессе натяжения, в зависимости от повреждения Drfc, рассчитанного по "методу дождя".
Вычисленное отношение усталостного повреждения D/Drfc приведено на рисунке А.14 как функция λLi и как это определено в формуле (21).
Эти результаты были получены с помощью усталостной кривой T-N, где m = 3,0, а также коэффициента, равного 10 между средним периодом перехода через ноль вариаций натяжения в расчетном состоянии позиционирования MDS, вследствие низкочастотного возбуждения и возбуждения на частоте волны соответственно.

X – λLi, см. формулу (21); Y - отношение усталостного повреждения D/Drfc; а - комбинированный спектр; b - простое суммирование; с - комбинированный спектр с поправочным коэффициентом, учитывающим данные двух полос частот, которые присутствуют в процессе натяжения
Рисунок А.14 - Отношение усталостного повреждения с различными алгоритмами подсчета циклов
А.9.3.3.4 Учет средних значений натяжения стального каната
См. А.9.2.2 (Приложение А).
А.10 Расчетные критерии
А.10.1 Перемещения плавучих сооружений
А.10.1.1 Бурение
Среднее перемещение должно контролироваться в условиях проведения буровых операций, поскольку они важны для среднего угла наклона гибкой муфты/шарового шарнира бурового райзера. Допустимое среднее перемещение должно определяться путем анализа бурового райзера. Среднее перемещение зависит от многих факторов, таких как глубина моря, внешние нагрузки и система райзеров.
Максимальное перемещение в ходе операций бурения должно быть ограничено предотвращением повреждения механического стопора гибкой муфты/шарового шарнира ниже бурового райзера. Допустимое максимальное перемещение следует определять в результате анализа бурового райзера.
Дополнительную информацию см. в [77].
А.10.1.2 Добыча
Существует четыре типа добычных райзеров:
a) жесткий райзер;
b) гибкий райзер;
c) гибридный райзер;
d) райзер, встроенный систему позиционирования одноточечного плавучего причала.
Жесткие райзеры натягиваются с помощью плавучего сооружения и могут быть встраиваемые или невстраиваемые. Встраиваемый райзер с натягиваемой верхней частью является многоствольным райзером, в котором все соединительные элементы для жидкостей выполняются с одиночными замковыми соединениями. Невстраиваемые райзеры с натягиваемой верхней частью состоят из отдельных труб с отдельными соединителями для каждой линии тока флюидов. Гибкий райзер состоит из гибких труб, которые закреплены на цепях к ПНК и спускаются до морского дна. Жесткие и гибкие райзеры могут комбинироваться в гибридные эксплуатационные райзеры. Гибридный райзер состоит из держащегося на поверхности жесткого райзера, который оканчивается в точке ниже водной поверхности. Гибкие райзеры перекрывают зазор между верхней частью жесткого райзера и плавучим сооружением. Четвертый тип эксплуатационного райзера включает устройства, которые объединяют эксплуатационные райзеры одноточечных плавучих причалов, таких как CALM или система SALM.
Ограничения по перемещению плавучих сооружений для таких расчетных ситуаций, как ULS и SLS, следует определять в результате анализа эксплуатационного райзера вместе с анализом позиционирования. Максимально допустимые перемещения для жестких райзеров обычно находятся в диапазоне 8 % - 12 % от глубины моря. Это ограничение перемещений часто требует, чтобы жесткие эксплуатационные райзеры отсоединялись во время сильных штормов.
Максимально допустимые перемещения для глубоководных гибких райзеров обычно находятся в пределах 10 % - 15 % от глубины моря в зависимости от конфигурации райзера. Максимально допустимые перемещения для мелководных гибких райзеров обычно находятся в пределах 15 % - 30 % глубины моря. Гибкие райзеры, как правило, рассчитаны на то, чтобы выдержать максимальное проектное перемещение, оставаясь при этом подсоединенными к плавучему сооружению.
А.10.1.3 Эксплуатация
Перемещения плавучих сооружений, расположенных в непосредственной близости от других сооружений, ограничены требованиями к величине зазоров безопасности. Перемещения при неповрежденном состоянии, состоянии резервного функционирования и переходном состоянии должны быть ограничены, чтобы не допустить контакт сооружения или его системы позиционирования с расположенными в непосредственной близости другими сооружениями.
А.10.2 Допустимые натяжения якорных линий
Критерии, указанные в таблице 5, относятся к ULS и к SLS. Это отход от прежней практики, когда меньшее ограничение натяжения предлагалось для предельного состояния SLS. Такой отход можно объяснить следующим образом:
- для операций, таких как бурение и внутрискважинные работы, где максимальные условия эксплуатации значительно ниже, чем расчетная ситуация ULS, величину натяжения следует проверять только для расчетной ситуации ULS. Если выполнены критерии ULS; натяжение не является проблемой при более мягких максимальных условиях эксплуатации;
- для таких операций, как некоторые плавучие добычные операции, в которых добыча продолжается в расчетной ситуации ULS, расчетные ситуации ULS и SLS одинаковы, и следует использовать одинаковые критерии натяжения.
А.10.3 Длина участков якорных линий, укладываемых на морское дно
Следует отметить, что недостаточная длина укладываемой на морское дно якорной линии может спровоцировать воздействия на якоря в вертикальном направлении.
А.10.4 Системы позиционирования с якорными линиями
А.10.4.1 Общие сведения
Конструкция якорных устройств должна обеспечивать, чтобы допустимые ограничения по натяжению, перемещению и усталости в якорных линиях, а также циклическое нагружение окружающего грунта не были превышены в ходе и после установки якорных устройств. Якорные устройства выше дна моря должны включать средства осмотра и техобслуживания. Объем инспектирования, сроки инспектирования и техобслуживания должны быть адекватны критериям избыточности по отношению к общей промышленной безопасности и рабочим параметрам.
Ряд аспектов конструкции и монтажа для свайных якорей, вакуумных якорей и плитовидных якорей, которые способны противостоять вертикальным силам, изложен в А.10.4.3 и А.10.4.4. Эти аспекты включают оценку способности якоря, проектирование конструкций, изготовление, погрузку/разгрузку и транспортирование, монтаж, а также испытание на разрыв.
Некоторые технологические аспекты конструкции вакуумных якорей и плитовидных якорей все еще находятся в стадии разработки. Специальные и подробные рекомендации приведены в настоящем приложении в том объеме, который имеется на настоящий момент. Общие положения также используют для того, чтобы обратить внимание на некоторые специальные аспекты, а для получения дополнительной информации даны ссылки. Рекомендации по конструкции и установке плитовидных якорей в глину приведены в [78].
А.10.4.2 Якоря, заглубляемые протаскиванием
А.10.4.2.1 Общие сведения
Якоря, заглубляемые протаскиванием, в основном используются для мобильных систем позиционирования, и в таких случаях расчетный коэффициент безопасности для якорей значительно ниже, чем для натяжения якорных линий. Это объясняется тем, что якорю дается возможность перемещаться вместо разрыва якорной линии в случае перегрузки. Перемещения якорей в наиболее нагруженных якорных линиях в нормальных условиях вызывает благоприятное перераспределение натяжения якорных линий. Ожидается, что это поможет системе позиционирования выдержать воздействия окружающей среды, которые превышают воздействия в расчетной ситуации ULS.
Оценка удерживающей способности якоря обсуждается в данном подпункте и в [79].
Технология якорей, заглубляемых протаскиванием, значительно усовершенствовалась за последние годы. Проектирование и испытания свидетельствуют о том, что новое поколение якорей с неповоротными лапами, врезающимися в грунт, обладает высокой удерживающей способностью даже в мягких грунтах. Высокоэффективный якорь, заглубляемый протаскиванием, считается привлекательным вариантом для позиционирования, поскольку легко устанавливается и имеет хорошие эксплуатационные параметры. Участок якорной линии с якорем может быть предварительно смонтирован и испытан еще до установки плавучего сооружения.
Удерживающая способность якоря, заглубляемого протаскиванием, в условиях конкретного грунта представляет максимальное горизонтальное усилие, которому якорь может противостоять под действием нагрузки. Оно включает в себя сопротивление в грунте якорной цепи или стального каната, подсоединенных к якорю, но исключает силу трения цепи или каната, лежащих на морском дне.
Удерживающая способность якоря, заглубляемого протаскиванием, является функцией нескольких факторов, включая следующее:
- тип якоря: площадь лап, угол расположения лап, форма лап, вес якоря, приливы для разворота лап якоря, стабилизаторы и т.д. На рисунке А.15 показаны якоря, заглубляемые протаскиванием, которые обычно используются при выполнении морских операций по строительству объектов обустройства морских нефтегазовых месторождений;
- поведение якоря при развертывании: открытие лап, проникновение лап, глубина заглубления якоря, устойчивость якоря при протаскивании, поведение грунта на лапах и т.д.
Более того, может потребоваться большое расстояние протаскивания якоря прежде, чем он полностью проникнет в грунт и наберет полную удерживающую способность. Это может быть приемлемо для позиционирования плавучей буровой установки в местах со свободной акваторией, но, скорее всего, не подойдет для площадки, где будет организована добыча и на морском дне имеются подводные сооружения.
Из-за большого разнообразия таких факторов прогнозирование удерживающей способности якорей затруднено. Точно определить удерживающую способность можно после установки якоря и прикладывания к нему испытательной нагрузки.
Если возможно, то должны быть получены данные по рабочим параметрам якоря для конкретного типа и грунтовых условий. При отсутствии достоверных данных по параметрам якоря допускается использовать данные, приведенные на рисунках А.17 и А.18, для оценки удерживающей способности якорей, обычно используемых для заякорения морских судов. Кривые удерживающей способности на рисунках А.17 и А.18 не включают в себя расчетный коэффициент безопасности.
Рисунки А.17 и А.18 воспроизводятся из [80], за исключением того, что кривые удерживающей способности для якорей Moorfast (или Offdrill II), а также Stevpris были улучшены. Улучшение этих двух кривых было сделано на основе данных моделирования и морских испытаний, а также морской практики, полученной за последние годы. Расчетные кривые, изображенные на этих двух рисунках, представляют нижние границы данных по испытаниям. Испытания, использованные для построения кривых, были проведены на ограниченном количестве площадок. В результате кривые могут использоваться применительно к типичным грунтам, таким как мягкая глина (т.е. в нормальных условиях плотная глина с недренированным сдвигающим напряжением, однообразно повышающимся с глубиной) и песок.

Примечание - Якоря, приведенные на рисунке, представляют собой образцы существующих изделий, применяемых в морской индустрии.
Рисунок А.15 - Якоря, заглубляемые протаскиванием
Недавние исследования свидетельствуют, что некоторые параметры, такие как профиль прочности грунта, тип якорной линии (стальной канат или цепь), циклические действия, а также погружение якоря могут значительно повлиять на рабочие параметры якоря в мягкой глине. Некоторые высокоэффективные якоря также показали существенное сопротивление вертикальным действиям в мягкой глине. Более того, имеются новые модели высокоэффективных якорей, которые не изображены на рисунках А.17 и А.18, подробная информация о которых приведена в последующих пунктах.
Поскольку на рисунках А.17 и А.18 лишь демонстрируются оценки удерживающей способности, то более подробный анализ необходим в случае, если неконтролируемое протаскивание якоря недопустимо в загроможденных местах под водой, где это может вызвать повреждение имеющихся подводных установок. Если при установке сооружения нецелесообразно применить силу натяжения, которая требуется для протаскивания якоря, то может потребоваться продемонстрировать, что процедура, которая требуется для протаскивания якоря, не приведет к столкновению с расположенными на этом участке подводными установками.
А.10.4.2.2 Эффект градиента сдвигающего напряжения в глине
Данные центрифугирования, а также результаты аналитических исследований с использованием калиброванного инструмента прогнозирования врезания в грунт якоря показывают существование более или менее линейной зависимости между удерживающей способностью якоря и градиентом сдвигающего напряжения глины [81]. Тем не менее существенные отклонения от этой линейной зависимости наблюдаются в случаях, когда сдвигающее напряжение улавливается морским дном и (или) варьирует чувствительность глины помимо градиента сдвигающего напряжения. В целом влияние различных параметров на удерживающую способность якоря в глине обостряется с возрастающей степенью мобилизации способности якоря. Конечно, эта зависимость также варьируется в зависимости от типа и размера якоря.
Из-за сложности проблемы надежный калиброванный инструмент прогнозирования, который может учесть все влияющие параметры, должен использоваться для определения основ проектирования якорей, врезающихся в грунт (см. [82]).
А.10.4.2.3 Эффект типа ходового конца в глине
Натурные испытания и аналитические исследования показывают, что в мягкой глине, когда ходовой конец представляет собой стальной канат, якорь может вонзаться глубже и обеспечивать более высокую удерживающую способность, чем при использовании в качестве ходового конца цепи. Применительно к ограниченному числу исследованных случаев якорь, соединенный со стальным канатом, обеспечивал удерживающую способность на 15 % - 40 % выше, чем тот же якорь, подсоединенный к цепи. Это хорошо согласуется с результатами полномасштабной программы испытаний. Исследования были ограничены высокоэффективными якорями в мягкой глине с постоянным градиентом сдвигающего напряжения. Побочным эффектом является то, что необходимое натяжение якоря при монтаже достигалось с меньшим протаскиванием, если стальной канат использовался в качестве ходового конца вместо цепи.
А.10.4.2.4 Эффект циклического нагружения в глине
Циклическое нагружение действует на статическое недренированное сдвигающее напряжение (su) двумя способами:
- при шторме время нарастания от средней до пиковой нагрузки может составлять 3-5 с (1/4 от цикла натяжения на частоте волны) по сравнению с 0,5-2 ч в статически уплотненном недренированном трехосевом испытании, и эта более высокая скорость нагружения приводит к увеличению недренированного сдвигающего напряжения как следствие удерживающей способности якоря;
- в результате повторяющегося циклического нагружения при шторме недренированное сдвигающее напряжение уменьшается; увеличивается эффект понижения поверхности с увеличением степени переуплотнения глины.
Циклическое сдвигающее напряжение учитывает оба этих эффекта.
Дополнительная информация по прогнозированию эффектов циклического нагружения приведена в [79], [83], а также в [84]. Дальнейшее развитие этих эффектов дано в [85].
А.10.4.2.5 Эффект погружения якоря в глину
Временное уменьшение сопротивления грунта сдвигу из-за тиксотропии может привести к существенному увеличению удерживающей способности якоря через несколько часов или дней после установки, см. например, результаты временной остановки работ в ходе проведения натурных инструментальных испытаний, описанных в [86]. В течение последующих недель сопротивление грунта сдвигу из-за тиксотропии в сочетании с уплотнением почвы (рассеивание избыточного давления воды в порах) временно уменьшилось по нарастающей.
В целом якоря, заглубляемые протаскиванием, следует устанавливать без остановки. Временная остановка перед достижением предусмотренного натяжения при монтаже может предотвратить дальнейшее погружение якоря, если повысившееся натяжение, которое было нужно для возобновления работ по установке якоря, выше тянущего усилия, которое можно обеспечить монтажным оборудованием. Последствия таковы, что долговременная способность якоря уже не будет превышать ту, которая была обеспечена натяжением монтажа начального шага плюс увеличение из-за эффектов после монтажа (тиксотропия/уплотнение и циклические эффекты нагружения). С другой стороны, как только начинается протаскивание якоря после периода уменьшения сопротивления грунта сдвигу, этот эффект полностью исчезает.
В расчетной ситуации, в которой натяжение при установке якоря предназначено обеспечить позиционирование плавучего сооружения без протаскивания якоря, следует использовать коэффициент безопасности в отношении прогнозируемых эффектов после установки (уменьшение сопротивления грунта сдвигу и циклическое нагружение) и следует учитывать адекватную общую границу безопасности, чтобы определить натяжение при установке, которое соответствует данному требованию при проектировании. В этом случае эффект уменьшения сопротивления грунта сдвигу может представлять существенный вклад в общую удерживающую способность, которая может быть уменьшена для глубин проникновения якоря, которые меньше 2,5-кратной ширины лап, и установлена на ноль, если величина заглубления в грунт слишком незначительная (см. дальнейшее обсуждение в [79]).
А.10.4.2.6 Способность в глине под нагрузкой от наклоненной линии
Для глубже погружаемых в грунт якорей (более 2-2,5 ширины лапы) допустимый угол подъема на морском дне для неповрежденного состояния в условиях предельного состояния ULS, или контроля по избыточности, может быть установлен для значений вплоть до 20°, если проведен надлежащий анализ установки якоря, который показал, что угол подъема на морском дне существенно меньше, чем угол подъема на проушине якоря.
Не рекомендуется использовать большой угол подъема на морском дне при начальном неглубоком проникновении якоря; иначе не будет достигнута полная глубина проникновения якоря. После достижения глубины проникновения более 2-2,5 ширины лап якоря угол подъема линии на дне можно постепенно увеличивать. Более подробно этот аспект обсуждается в [87].
Имеются достаточные свидетельства в пользу применения ненулевого угла подъема на морском дне для якорей, врезающихся в грунт, которые проникают на достаточную глубину в мягкую глину. В этой связи ниже приведены дополнительные указания:
a) углы подъема на морском дне не должны приниматься для конкретных операций с мобильными системами позиционирования, где почвенные условия не были тщательно исследованы, либо натяжение при установке якоря было недостаточным, чтобы обеспечить глубокое проникновение якоря;
b) максимальный угол подъема на морском дне должен быть определен в соответствии с принципами, указанными выше, в расчетных ситуациях для предельного состояния ULS в неповрежденном состоянии и состоянии резервного функционирования;
c) нулевой угол подъема должен сохраняться, пока не будет достигнута рекомендуемая минимальная глубина проникновения якоря;
d) удерживающая способность якоря должна быть уменьшена на коэффициент R, который является функцией угла подъема на морском дне, и учитывать уменьшенное трение из-за укороченной длины заглубленного участка линии. Значения R в таблице А.5 применимы для якорей Bruce FFTS Mark IV и Stevpris Mark V.
|
Угол морского дна, ° |
0 |
5 |
10 |
15 |
20 |
|
R |
1,0 |
0,98 |
0,95 |
0,89 |
0,81 |
Когда используются системы натянутых линий, то якорные линии находятся под начальным углом к морскому дну и сообщают вертикальные и горизонтальные усилия на якоря постоянно. Поэтому якоря, заглубляемые протаскиванием, не должны использоваться. Стандартным решением является использование якорных свай или плитовидных якорей, для которых указания по проектированию приведены в А.10.4.3 и А.10.4.4.
А.10.4.2.7 Расстояние протаскивания и глубина проникновения в мягкопластичных глинистых грунтах
Многие факторы влияют на глубину проникновения за счет протаскивания, включая специфичные для площадки установки сооружения характеристики грунтов (стратиграфия почв, напряжение сдвига морского дна, средний градиент напряжения сдвига, чувствительность почв и т.п.), а также размер и тип якоря. Для скрининг-анализа оценка расстояния протаскивания и глубина проникновения на основе данных из [88] представлены на рисунке А.16 и в таблице А.6 соответственно. Эта информация действительна для цепных ходовых концов и градиентов напряжения сдвига значением 1,4-2,0 кПа/м. Отклонение от данного диапазона может повлиять на эти значения, особенно на значения глубины проникновения.
Если конструкция якоря обусловлена дальнейшим проникновением в грунт для достижения удерживающей способности, то дополнительное протаскивание не должно перегружать соседние якорные линии.

X - отношение расстояния протаскивания якоря к длине лапы якоря; Y - процент от максимальной удерживающей способности якоря; 1 - якорь Stockless (бесштоковый якорь); 2 - якорь Hook; 3 - якоря типа Bruce, F FTS MK III/Bruce TS/Danforth/GS (тип 2) */LWT */Moorfast/Navmoor/Offdrill II */Stato/Stevmud/Stevpris MK III; 4 - якоря типа Flipper DeIta */Stevdig */Stevfix/Stevin *
──────────────────────────────
* Предполагается на основании геометрического сходства якорей.
──────────────────────────────
Рисунок А.16 - Удерживающая способность якоря в зависимости от расстояния его протаскивания в мягкопластичных глинистых грунтах
|
Тип якоря |
Нормированное проникновение носков лап якоря (длина лап якоря) | |
|
Пески/плотные глины |
Вязкая почва (например, мягкий ил и глины) | |
|
Stockless |
1 |
3 * |
|
Moorfast Offdrill II |
1 |
4 |
|
Boss Danforth Flipper delta GS (Тип 2) LWT Stato Steyfix |
1 |
4,5 |
|
Sevpris MK III Bruce FFTS MK III Bruce TS Hook Stevmud |
1 |
5 |
|
* Бесштоковый с неповоротными лапами. | ||
А.10.4.2.8 Новая конструкция якоря
Новые конструкции якорей и усовершенствования существующих продолжаются. Однако строго контролируемые инструментальные испытания и натурные данные по рабочим параметрам недостаточны для прогнозирования рабочих параметров многих из этих инновационных высокоэффективных якорей, хотя результаты таких испытаний могут использоваться для калибровки инструментов прогнозирования якорей (см. А.10.4.2.9). Способность прогнозировать зависимости "протаскивание-проникновение-натяжение" задействованных нагрузок, которые значительно меньше, чем конечная удерживающая способность, так же важна, как и конечная удерживающая способность. При отсутствии более качественных данных значения удерживающей способности этих новых якорей могут быть консервативно оценены с помощью следующих уравнений:
Hn=Hs(An/As)n,
(А.18)
где Hn - удерживающая способность новой конструкции;
Hs - удерживающая способность эталонной конструкции (например, Bruce FFTS Mark III или Stevpris Mark III на рисунках A.17 и A.18) аналогичной массы;
An - площадь лап якоря новой конструкции;
As - площадь лапы эталонной конструкции аналогичного веса;
n - 1,4 для распространенных высокоэффективных якорей.
Отношение площади лапы An/As может быть получено у производителей якорей.

X - вес якоря (kips); Y - удерживающая способность якоря (kips); а - Bruce FFTS Mk. III, Stevpris Mk. III; b - Navmoor, Stato, Boss; c - Bruce TS, Hook, Stevfix; d - Flipper Delta, Stevin, Stevdig; e - Moorfast, Offdrill II; h - Bruce, литой; f - Danforth, GS, LWT; g - Stockless, неповоротные лапы; h - Bruce, литой; i - Stockless, поворотные лапы
Углы лап установлены для вязкого морского дна в соответствии со спецификацией производителя.
Примечания
1 1 kip = 4,448 кН.
2 Этот рисунок воспроизводится из данных, приведенных в [88], за исключением того, что кривые удерживающей способности якорей Moorfast (или Offdrill II) и Stevpris были улучшены. Улучшение указанных двух кривых было основано на данных моделирования и натурных испытаний, а также в морской практике, полученной за последние годы. Расчетные кривые на рисунке представляют в целом низшие границы данных по испытаниям. Они отражают данные которые действительны для конструкций якорей 1987 г. С тех пор были разработаны новые конструкции якорей. Тем не менее рабочие параметры этих новых конструкций были недостаточны, и поэтому их расчетные кривые не были включены. Расчетные кривые не включают расчетный коэффициент безопасности.
3 Якоря, приведенные на рисунке, представляют собой образцы существующих изделий, применяемых в морской индустрии.
Рисунок А.17 - Удерживающая способность якоря в мягкопластичных глинистых грунтах

X - вес якоря (kips); Y - удерживающая способность якоря (kips); а - Navmoor, Boss; b - Stevin; с - Stevfix, Stevdig; d - Stevpris, прямое веретено, Bruce TS; e - Bruce, литой; f - Stato, угол поворота лап 30°; g - Danforth GS, LWT; h - Moorfast, Offdrill II, угол поворота лап 20°, Hook; i - Stockless, угол поворота лап 35°; j - Stockless, угол поворота лап 48°
Углы лап установлены для песчаного морского дна в соответствии со спецификацией производителя.
Примечания
1 1 kip = 4,448 кН.
2 Этот рисунок воспроизводится из данных, приведенных в [88]. Расчетные кривые на рисунке представляют в целом низшие границы данных по испытаниям. Они отражают данные, которые действительны для конструкций якорей 1987 г. С тех пор были разработаны новые конструкции якорей. Тем не менее рабочие параметры этих новых конструкций были недостаточны, и поэтому их расчетные кривые не были включены. Расчетные кривые не включают расчетный коэффициент безопасности.
3 Якоря, приведенные на рисунке, представляют собой образцы существующих изделий, применяемых в морской индустрии.
Рисунок А.18 - Удерживающая способность якорной системы в песчаных грунтах
А.10.4.2.9 Аналитические методы для оценки рабочих параметров якоря
Имеются аналитические методы для вычисления заглубления и удерживающей способности якоря в мягкой глине, в основе которых заложены принципы предельного равновесия. Эти инструменты позволяют моделировать различные конструкции якоря и формировать подробную информацию о рабочих параметрах якоря, таких как траектория перемещений якоря, вращение якоря, профиль якорной линии ниже морского дна, конечная способность якоря и т.п. Тем не менее имеются определенные требования к этим инструментам для получения достоверных прогнозов.
a) Аналитические методы должны калиброваться по результатам высококачественных инструментальных испытаний в натурных условиях или в центрифуге, выполненных с использованием интересующего типа якоря.
b) Свойства грунта должны быть хорошо известны, но это не всегда так при проектировании и монтаже якорей, врезающихся в грунт. Когда свойства грунта не определены, должны быть определены параметры грунта в верхней и нижней границе, и конструкция якоря должна базироваться на более консервативных прогнозах.
c) Пользователи должны знать об ограничениях возможностей инструментов и быть в курсе швартовых операций. Например, некоторые инструменты обычно демонстрируют, что проникновение якоря непрерывно повышается и удерживающая способность якоря все растет и растет. В таких случаях пользователь должен учитывать ограничение расстояния протаскивания для вычисления удерживающей способности якоря на расстоянии, которое не приводит к неприемлемому отклонению сооружения.
d) Эмпирические формулы или практический опыт, если имеется, должны быть использованы для поддержки аналитических прогнозов.
e) Аналитические инструменты должны быть способны работать с профилями слоистой глины. Некоторые инструменты способны работать с профилями слоистой глины с прослоями песка ограниченной мощности, а другие инструменты не могут моделировать слоистые профили.
А.10.4.2.10 Удерживающая способность якоря в песчаном грунте
До настоящего времени не проводилось серьезных исследований по поведению якорей, врезающихся в песчаный грунт, с момента исследований [88]. Якоря не достигают глубокого проникновения в песок, и нельзя ожидать сопротивления подъему от слабозаглубленных якорей в любом грунте, т.е. угол подъема линии на морском дне должен быть нулевым.
В отличие от якорей в мягкой глине якоря в песке не приобретают никакой дополнительной способности от эффектов после установки вследствие тиксотропии или объединения циклических эффектов нагружения. Это означает, что в данном случае натяжение при установке якоря должно быть достаточно высоким, чтобы обеспечить необходимый коэффициент безопасности для якорей и системы позиционирования. Натяжение при установке должно быть достаточно высоким, чтобы обеспечить коэффициент безопасности, который учитывает неопределенности при вычислении нагрузок. Общие принципы проектирования и установки якорей, врезающихся в песчаный грунт, даны в предыдущих разделах и [79].
В плотном песке якоря, устанавливаемые мобильным МНГС, могут в некоторых случаях быть видимыми на морском дне после установки из-за ограниченной способности лебедок мобильных МНГС. В таких случаях при использовании якорей с неглубоким проникновением не рекомендуется делать допущение о том, что якоря продолжают заглубляться после перегрузки.
А.10.4.2.11 Удерживающая способность в других грунтах, кроме мягкой глины и песка
Прогнозирование удерживающей способности якоря в твердой глине, известковом песке, коралловом или скалистом дне, а также в слоистых профилях грунта является сложным и зависит от подробных данных по почве/скальным породам для каждого места установки куста якорей. В этих грунтах/скальных породах проникновение якоря очень незначительное, и это означает, что меры предосторожности, рекомендованные для якорей в песке (А.10.4.2.10), необходимо выполнять и в этом случае.
А.10.4.2.12 Удерживающая способность, создаваемая трением
Удерживающую способность, создаваемую трением цепи и стального каната на морском дне, рассчитывают по формуле
Pcw=f·Lcw·Wcw,
(А.20)
где Pcw - удерживающая способность цепи или стального каната, Н;
f - коэффициент трения цепи или стального каната о поверхность морского дна;
Lcw - длина цепи или стального каната, контактирующих с поверхностью морского дна, м;
Wcw - вес единицы погруженной цепи или стального каната, Н/м.
Коэффициент трения зависит от характера морского дна и типа якорной линии. Статические (начальные) коэффициенты трения в нормальных условиях используют для вычисления удерживающей способности линии, а коэффициент скольжения в нормальных условиях используют для вычисления сил трения на линии при развертывании системы позиционирования.
Если данные более специального характера отсутствуют для цепей и канатов, то могут быть использованы обобщенные коэффициенты из таблицы А.7 для различных условий морского дна, такого как мягкая вязкая почва, песок и глина. Указания по вычислению трения на морском дне также приведены в [87]. Однако опыт эксплуатации плавучих сооружений показывает, что коэффициенты трения могут существенно варьироваться для различных грунтов и были отмечены значительно более высокие значения для скользящих коэффициентов трения.
|
Якорная линия |
Коэффициент трения f | |
|
Статический (начальный) |
Скольжения | |
|
Цепь |
1,00 |
0,70 |
|
Стальной канат |
0,60 |
0,25 |
А.10.4.3 Свайные якоря
А.10.4.3.1 Забивные свайные якоря
А.10.4.3.1.1 Основные факторы
Забивные свайные якоря могут проектироваться для обеспечения соответствующей удерживающей способности систем позиционирования с натянутыми якорными линиями. Конструкция забивных свайных якорей обусловлена обширным опытом эксплуатации плавучих сооружений в части оценки геотехнических свойств, а также прогнозированием осевой и боковой способности для свайных якорей. Вычисление удерживающей способности свайных якорей, как они были разработаны для стационарных плавучих сооружений, подробно изложено в [8]. Рекомендуемые в [8] критерии следует применять для проектирования забивных свайных якорей, но с некоторыми изменениями, чтобы отражать отличия между свайными якорями для систем позиционирования и сваями для стационарных МНГС, эксплуатирующихся на морском дне. Некоторые указания даны в А.10.4.3.2.3 по конструкционной прочности вакуумных якорей и также могут использоваться для свайных якорей. Конструкция забивных свайных якорей должна учитывать четыре вида потенциальных отказов:
a) выдергивание из-за осевых сил;
b) перенапряжение сваи и проушины якорной линии из-за бокового изгиба;
c) боковое вращение и (или) сдвиг;
d) усталость вследствие воздействий окружающей среды и монтажа.
Коэффициенты безопасности для удерживающей способности приведены в таблице 7 в 10.4.3. Информация о взаимосвязи между вертикальной и горизонтальной способностью приведена в А.10.4.3.2.2.4. Осевые коэффициенты безопасности предполагают, что сваи первоначально нагружены в натянутом состоянии и поэтому их удерживающая способность выше, чем у свай, нагруженных при сжатии. Как и с другими свайными фундаментами, вычисленное конечное сопротивление грунта должно быть уменьшено, если уменьшение сопротивления сдвигу, которое является функцией времени после забивки свай, не закончилось до того, как к свае были приложены значительные усилия.
Поскольку режим бокового отказа для свай считается менее катастрофичным, чем вертикальный режим, то в таблице 7 рекомендованы более низкие значения коэффициента безопасности в отношении боковой удерживающей способности свай. Использование отдельных коэффициентов безопасности для вертикальной и боковой удерживающей способности свай пригодно для простого анализа "балки-стойки", например мобильных систем позиционирования (А.10.4.3.2.2.2.3.4), но более сложные методики не делают различия между вертикальным и боковым сопротивлением свай. Коэффициент безопасности должен соответствовать указаниям, приведенным в А.10.4.3.2.2.5.
А.10.4.3.1.2 Конструктивные геотехнические решения и решения по конструктивной прочности
В большинстве конструкций забивных свайных якорей якорная линия крепится к проушине, которая располагается на свае ниже уровня морского дна, чтобы усилить боковую удерживающую способность. В результате конструкция должна учитывать угол (под которым якорная линия соединяется с проушиной), формирующийся взаимообратным несущим канатом через верхние слои грунта. При вычислении сопротивления грунта выше места установки проушины следует учитывать эффект формуемости из-за прорезания якорной линией борозд при прохождении верхних слоев грунта.
Забивные свайные якоря в мягкой глине, как правило, имеют соотношение параметров (проникновение/диаметр) 25-30. Сваи, имеющие такое соотношение параметров, ведут себя, как будто они горизонтально закреплены по месту на уровне наконечника сваи, и поэтому отклоняются вбок и разрушаются при изгибе, перед тем как переместиться вбок, как твердое тело. Напряжения свай должны быть ограничены положениями [8] при неповрежденном состоянии в условиях предельного состояния ULS.
Как утверждается в [90], "статические" кривые р-у могут учитываться для вычисления бокового сопротивления грунта. "Циклические" кривые р-у могут больше подходить для вычисления усталости. Изменения в кривые р-у в [8] были предложены в [85], чтобы обеспечить, что боковые отклонения не завышены. Необходимо учесть падение кривых р-у для отклонений, превышающих 10 % от диаметра сваи. Кроме того, когда боковые отклонения, связанные с циклическими нагрузками на дне или вблизи уровня дна, сравнительно большие (например, превышающие ус, как это определено в [8] для мягкой глины), необходимо учесть уменьшение или игнорирование сцепления грунта-сваи (трение на поверхности) в этой зоне.
Конструкция забивных свайных якорей должна учитывать стандартные установочные допуски, которые могут влиять на вычисленное сопротивление грунта и структуру свай. Вертикальное положение свай влияет на угол якорной линии в месте установки проушины, которое меняет компоненты горизонтальных и вертикальных усилий якорных линий, которым должна противостоять свая. Недостаточное забивание свай влияет на осевую способность сваи и может привести к повышенным изгибающим напряжениям в свае. Ориентация проушины (азимут) может влиять на локальные напряжения в проушине и соединительной смычке. Горизонтальное позиционирование может влиять на возможности позиционирования и (или) угол в направляющем блоке плавучего сооружения, и его следует учитывать при балансировке предварительного натяжения якорных линий.
А.10.4.3.1.3 Расчет усталостной прочности
А.10.4.3.1.3.1 Основные факторы
Свайные якоря следует проверять на наличие усталости, вызываемой усилиями якорной линии по месту. Усталостное повреждение вследствие напряжений при забивке свай также следует вычислять и объединять с усталостным повреждением по месту. Для типичных систем позиционирования усталостное повреждение вследствие забивки свай намного значительнее повреждения, вызываемого силами натяжения якорных линий.
А.10.4.3.1.3.2 Местное нагружение
Глобальный анализ реакции свай, учитывающий взаимодействие "свая-грунт", необходимо проводить в отношении реакций якорных линий из-за усталостных состояний моря, действующих на систему. Локальные напряжения, которые создают усталостное повреждение в свае, должны быть получены вычислением SCF (коэффициент концентрации напряжений) по отношению к номинальным напряжениям, формируемым в результате проведения глобального анализа в местах, критичных для формирования усталости. Эти места обычно располагаются на проушине, на кольцевых швах между проушиной и сваей, а также между последующими тупыми наконечниками свай.
Оценка коэффициента концентрации напряжений для кольцевых швов должна учитывать локальные несовпадения толщины шва. Уравнения для определения коэффициента концентрации напряжений даны в [91] и [92]. Вычисленное значение коэффициента концентрации напряжений должно быть скорректировано за счет отношения номинальной толщины, используемой в анализе реакции сваи, к наименьшей толщине стенки сваи, присоединяющей сваи на стыке. Коэффициент концентрации напряжений следует использовать в номинальном диапазоне напряжений в месте шва вследствие воздействий по месту, на основе которых вычисляется повреждение.
А.10.4.3.1.3.3 Нагружение при установке
Динамическое воздействие вследствие воздействия молота в ходе забивки свай вызывает усталостное повреждение проушины и кольцевых сварных швов сваи. Оценка циклических воздействий включает динамическую реакцию системы "свая-грунт" из-за воздействия молота. Это требует использование анализа уравнения по частоте волн на удар для указанного типа и производительности молота, проникновение сваи и сопротивление грунта. Различные анализы такого типа проводят с целью типовых внедрений свай. Для каждого анализа разрабатывают диаграмму напряжений в критических местах вдоль сваи, а также количество ударов, связанное с предполагаемым погружением.
Для любого из сварных швов сваи (кольцевого или проушины) вычисление усталостного повреждения следует проводить в различных местах расположения сварного шва с использованием диапазона локальных напряжений, полученного на основе анализа волнового уравнения в выбранных местах проникновения свай. Местоположение кольцевого сварного шва должно быть определено на основе графика монтажа свай. Локальная реакция должна включать соответствующий эффект коэффициента концентрации напряжений. Количество циклов истории нагружения на удар получается с использованием метода определения меняющейся амплитуды, такого как метод резервуара [93] или "метод дождя".
А.10.4.3.1.3.4 Усталостная прочность
Применимые кривые усталости S-N (см. раздел 10) зависят от процесса изготовления и критериев приемки дефектов. Как правило, секции свай свариваются двусторонней дуговой сваркой под флюсом, и их оставляют в состоянии после сварки без последующей обработки. Для этого случая может быть использована D-кривая, как это определено в [94]. Использование более высокой кривой усталости S-N для этого варианта без дополнительной обработки сварного шва должно быть продемонстрировано имеющими отношение данными. Использование методов обработки сварных швов, таких как шлифование, может обеспечить повышение кривой усталости S-N при условии, что:
a) процесс шлифовки внедрен надлежащим образом;
b) внедрены методы освидетельствования сварных швов и критерии приемки дефектов;
c) выработаны соответствующие усталостные данные для качественного определения сварного шва до уровня рабочих параметров более высокого, чем уровень, обусловленный D-кривой.
А.10.4.3.1.3.5 Полное усталостное повреждение и коэффициент безопасности
Как только определены усталостное нагружение и сопротивление, то можно оценить усталостное повреждение из-за воздействия по месту и монтажа, используя процедуры, аналогичные тем, которые были описаны в разделе 10 и А.10.4.3.2.3.7. Годовое усталостное повреждение D должно удовлетворять следующей формуле для критических конструктивных элементов:
D=FD1+FD2<1
(А.21)
где F - коэффициент безопасности, равный 3,0;
D1 - вычисленное усталостное повреждение для фазы 1, т.е. фазы монтажа (забивка свай) и фазы транспортирования, если это важно;
D2 - вычисленное усталостное повреждение для фазы 2, т.е. эксплуатационной фазы, в течение срока службы (например, 20 лет).
Дальнейшее обсуждение по конструкции усталостного повреждения для забивных свай приведено в [94] и [95].
А.10.4.3.1.4 Испытательное нагружение забивных свайных якорей
В документах, подтверждающих установку забивных свайных якорей, должно быть указано, что собственная масса сваи, проникновение, ориентация сваи, записи по забивке и конечное погружение находятся в диапазонах, установленных в ходе проектирования свай и анализа установки свай. В этом случае не требуется испытательная нагрузка на якорь, соответствующая полной нагрузке в неповрежденной якорной линии. Однако конструкция системы позиционирования и якорей должна определить минимально приемлемый уровень испытательной нагрузки. Эта испытательная нагрузка должна обеспечить необходимый провес якорной линии, чтобы не допустить ее ослабления в штормовых условиях из-за дополнительного обратного смещения плавучего сооружения. Другой функцией испытательного нагружения является обнаружение сильных повреждений компонентов системы позиционирования в ходе монтажа.
А.10.4.3.2 Вакуумные якоря
А.10.4.3.2.1 Общие сведения
Вакуумные якоря могут иметь различное конструктивное исполнение, от гравитационного юбочного основания до вакуумной сваи без утяжеляющего балласта, удерживающая способность которых обеспечивается за счет трения корпуса о грунт, бокового сопротивления и прижимающего усилия, создаваемого внешним давлением, вследствие откачки воздуха из верхней камеры сваи.
Вакуумные якоря обеспечивают эффективную работу в прочных грунтах и грунтах средней прочности. В малопрочных грунтах происходит глубокая пенетрация вакуумных якорей до достижения ими прочных грунтов, обеспечивающих высокую удерживающую способность, но вследствие этого усложняется выполнение операций по обработке якорей. В очень прочных грунтах не происходит достаточной пенетрации вакуумных якорей в морское дно и не обеспечивается требуемая удерживающая способность.
При спуске на морское дно в ходе начальной установки вакуумный якорь проникает на определенную глубину под действием собственной массы и создает уплотнение, чтобы обеспечить начало засасывания. Вода выкачивается из внутренней полости вакуумного якоря с помощью погружного или наземного вакуумного насоса через шлангокабель, подсоединенный к верхней части вакуумного якоря. Это вызывает засасывание вакуумного якоря в морское дно на расчетную глубину внедрения. Затем может быть помещен дополнительный балласт в камеру вакуумного якоря по завершении внедрения.
Некоторая полезная информация по конструкции вакуумных якорей дана в [15], [85], [97], [98] и [96].
А.10.4.3.2.2 Геотехническое конструктивное решение
А.10.4.3.2.2.1 Основные факторы
Конструкция вакуумных якорей для плавучих сооружений включает следующие аспекты: проникновение и извлечение, удерживающую способность и анализ реакции грунта или анализ взаимодействия структуры для расчета прочности. В зонах, таких как Мексиканский залив, где эффекты воздействия тропических штормовых циклонов могут превышать удерживающую способность мобильных систем позиционирования, конструкция вакуумных якорей должна учитывать режим отказа якоря, который уменьшает вероятность выдергивания якоря. Для условий площадки, где наличие слоев твердого грунта может ограничить внедрение вакуумного якоря, нужно вместо этого рассмотреть возможность использования якорей других типов.
Вычисление геотехнической удерживающей способности якоря должно основываться на наилучшей оценке свойств грунта. Адекватность якоря по отношению к установке должна быть проверена по верхней границе прочностных свойств грунта. Если очевидно, что рассеивание почвенных данных более чем обычно, то конструктор должен учитывать повышение коэффициентов безопасности, приведенных в таблице 7.
Воздействие геометрии якорных линий в грунте на удерживающую силу якоря следует учитывать, поскольку геометрия действует на зависимость между горизонтальной и вертикальной силой удержания якоря. Взаимообратная кривая провеса якорной линии в почве может сделать угол якорной линии более крутым в месте проушины якоря, чем на уровне дна. Этот более крутой угол может проявиться в уменьшенной горизонтальной силе, но в увеличенной вертикальной в месте проушины якоря. Верхние и нижние граничные кривые провеса должны быть проверены на предмет того, определено ли наихудшее нагружение якоря.
А.10.4.3.2.2.2 Аналитические методы
А.10.4.3.2.2.2.1 Анализ проникновения
А.10.4.3.2.2.2.1.1 Общие положения
Стандартный анализ проникновения включает вычисление трех количественных параметров для всех глубин проникновения. Параметры включают:
- сопротивление проникновению, прикладываемое к якорю грунтом;
- необходимое снижение давления, чтобы обеспечить врезание якоря;
- критическое давление, которое может вызвать отказ грунтовой пробки.
Первостепенное значение имеет правильная оценка пониженного давления, которое необходимо, чтобы свая достигла расчетного проникновения. Минимальное пониженное давление является критическими входными параметрами для расчета прочности якоря. Более того, насосы, используемые при монтаже, должны быть в состоянии обеспечить адекватное пониженное давление.
А.10.4.3.2.2.2.1.2 Сопротивление заглублению
Сопротивление заглублению можно вычислить в виде суммы бокового сдвига и конечной опоры на боковую стенку, а также любые другие выступающие части. Выступающие части включают в себя швартовку и подъемные проушины, продольные или кольцевые элементы жесткости, изменение толщины стенок, якорные цепи, спусковые брусья и другие детали.
Для якоря в глине без выступающих деталей и с плоской рабочей частью сопротивление монтажу на указанной глубине проникновения наконечника z может быть вычислено с помощью формулы
Qtot=Qside+Qtip,
Qside=Awall(αinssu, DSS)AVE,
(A.22)
,
где Qtot - общее сопротивление проникновению;
Qside - сопротивление вдоль боковых стенок сваи;
Qtip - сопротивление наконечника сваи;
Awall - сумма внутренней и наружной площади стенок, погруженных в грунт;
Atip - площадь сечения наконечника сваи (исключая содержащийся грунт);
αins - коэффициент сцепления в ходе монтажа [см. перечисление а)];
su, DSS - непосредственная простая статическая прочность на сдвиг;
αinssu, DSS - боковое трение;
(αinssu, DSS)AVE - среднее боковое трение от уровня дна моря до глубины z;
Nc - коэффициент несущей способности [см. перечисление b)];
- среднее значение сдвиговой прочности грунта в недренированном состоянии на уровне конца сваи по результатам испытаний образца методом трехосного сжатия, трехосного растяжения и DSS;
γ' - эффективный вес единицы грунта;
z - глубина проникновения наконечника.
a) Коэффициент сцепления при монтаже αins
Коэффициент сцепления при монтаже αins обычно определяют как отношение измененной сдвиговой прочности к сдвиговой прочности в ненарушенном состоянии, т.е. как величина, обратная чувствительности грунта к воздействию на него, может быть определен различными методами, однако балансирный конус, неконсолидированно-недренированный метод при трехосном сжатии и метод миниатюрных лопаток являются наиболее распространенными. Стандартный диапазон αins для глин глубоководной части Мексиканского залива составляет 0,2-0,5.
Может присутствовать неопределенность в чувствительности, так как на нее влияет качество неизменного сопротивления материала, к которому она относится. Альтернативным образом боковое трение αinssu, DSS может быть уравнено с прямыми измерениями преобразованного статического напряжения сдвига посредством балансирного конуса, неконсолидированно-недренированным методом при трехосном сжатии. Преобразованное напряжение, используемое в конструкции, должно отражать и прямо измеренное значение, и значение, полученное на основе неизменного напряжения, деленного на чувствительность.
Некоторые записи по монтажу тем не менее продемонстрировали, что статическое напряжение сдвига границы раздела, мобилизованное при монтаже, может на указанной глубине быть меньше αinssu, DSS. Если полное статическое напряжение сдвига границы раздела αinssu, DSS не может быть мобилизовано вдоль стенок якоря, как, например, в случаях, когда якорь покрашен или подвергается необычной поверхностной обработке, следует применять поправочный коэффициент к αins, чтобы надлежащим образом прогнозировать сопротивление проникновению [99] и [101]. Испытание грунта на сдвиг в кольцевой обойме с реальной поверхностью стенок, смоделированной в испытаниях, может быть использовано для измерения фактического статического напряжения сдвига границы раздела.
b) Коэффициент несущей способности Nc
Значение коэффициента несущей способности Nc, используемого для вычисления сопротивления наконечника или выпуклости якоря проникновению, зависит от формы выпуклости и отношения ширины выпуклости к глубине вдавливания выпуклости. Значения Nc варьируются в диапазоне 5,1-9,0 для круглых и узких оснований, как рекомендовано в [101].
Поскольку толщина стенок якоря, как правило, небольшая по сравнению с диаметром вакуумного или свайного якоря и глубиной вдавливания, то наконечник якоря рассматривается в виде более глубоко вдавленного узкого основания с Nc, равным 7.5.
Значения Nc, которые используются в формуле (А.22), обобщены в таблице А.8.
|
Предназначение |
Форма площади |
Nc |
|
Вычисление сопротивления проникновению наконечника сваи |
Полоса |
7,5 |
|
Вычисление критического пониженного давления, вызывающего пробой грунтовой пробки (см. А.10.4.3.2.2.2.1.3) |
Кольцевая |
6,2-9,0 в зависимости от отношения проникновения [102] |
|
Вычисление сопротивления проникновению выступающих частей (см. ниже) |
Варьируется |
5,0-13,5 [103] |
Пример подробных вычислений Nc приведен в [101]. Значения Nc, которые отличаются от значений таблицы А.8, являются приемлемыми при условии, что они могут быть документально оформлены на основе результатов соответствующего моделирования и испытаний.
с) Изменение сопротивления внедрению выступающих частей
Формула (А.22) должна быть преобразована, если имеются выступающие части. Изменение сопротивления проникновению из-за наличия компонентов системы позиционирования и подъемных проушин, продольных или кольцевых элементов жесткости, якорных цепей, пусковых брусьев, наконечников свай (не плоских, а, например, скошенных) либо любых других внутренних или внешних выступающих частей должно быть тщательно исследовано с целью оценки изменений в трении и сопротивлении концевых опор, обусловленном выступающими частями. Большинство выступающих частей увеличивают сопротивление проникновению, за исключением внутренних кольцевых элементов жесткости, которые могут вызывать уменьшение внутреннего бокового трения, если они располагаются близко друг от друга [104] и [105].
А.10.4.3.2.2.2.1.3 Необходимое пониженное давление
Необходимое пониженное давление ΔUreq для врезания якоря можно вычислить следующим образом:
,
(А.23)
где Qtot - общее сопротивление проникновению;
W' - погруженный при монтаже вес;
Ain - вид сверху внутри области, где прикладывается пониженное давление.
А.10.4.3.2.2.2.1.4 Критическое и допустимое пониженное давление
Критическое пониженное давление на указанной глубине ΔUcrit, которое определено как пониженное давление, вызывающее общее обратное разрушение опоры в виде смятия в наконечнике якоря и крупном поднятии почвы у якоря, может быть вычислено на указанной глубине следующим образом:
,
(А.24)
где Ainside - внутренняя боковая площадь якорной стенки.
На мелководье критическое пониженное давление не должно превышать давление кавитации воды.
Рекомендуемое допустимое пониженное давление ΔUallow определено в качестве максимального пониженного давления, которое должно быть приложено к якорю, и должно вычисляться в качестве критического пониженного давления, деленного на соответствующий коэффициент безопасности. Минимальное значение коэффициента безопасности, как правило, равно 1,5. Допускаются более низкие значения при условии, что в ходе монтажа за поведением грунтовой пробки осуществляется мониторинг и подтверждается, что разрушения пробки не произошло.
А.10.4.3.2.2.2.1.5 Поднятие грунтовой пробки внутри якоря
Поднятие грунта внутри якоря в ходе монтажа можно оценить, допустив, что часть (в процентах) объема глины переместилась площадью поперечного сечения якоря внутрь якоря. Эта часть в процентах зависит от геометрии якоря, режима проникновения (т.е. проникновение под действием собственной массы по сравнению с проникновением за счет пониженного давления) [106]. Обычно принимается, что 50 % грунта, перемещенного площадью поперечного сечения наконечника якоря, уходит внутрь якоря в ходе проникновения за счет собственной массы, если наконечник якоря плоский.
Окончательный подъем внутренней поверхности пробки зависит от вариации толщины стенок, внутренней устойчивости грунтовой пробки, а также расстояния и типа внутренних элементов жесткости [107].
Поднятие грунта следует учитывать при вычислении необходимого поднятия сваи и ее общей длины.
А.10.4.3.2.2.2.1.6 Аспекты, требующие особого внимания
Слоям песка, если они имеются, необходимо уделить особое внимание. Сопротивление проникновению в слоистых профилях, состоящих из переслаивающихся песков и глин, может быть существенно выше, чем в случае с одной глиной, в зависимости от плотности, степени цементации, распределения зерен по размеру, а также толщины, расстояния между слоями и глубины песчаных слоев.
Скорость проникновения через песчаные слои должна быть достаточно высокой, чтобы избежать чрезмерного потока воды через песчаные слои перед наконечником якоря, поскольку это может вызвать поднятие большой пробки.
А.10.4.3.2.2.2.2 Анализ извлечения
В геотехнических анализах также следует учитывать извлечение якоря в следующих случаях:
a) мобильные системы позиционирования, где извлечение якоря необходимо для повторного использования якоря или очистки морского дна. Процедуры извлечения всасывающих труб и анализ должны учитывать расчетное максимальное время развертывания;
b) стационарные системы позиционирования, когда местные законы предусматривают извлечение якорей после того, как закончился срок службы плавучего сооружения. Процедуры извлечения вакуумных якорей и анализ должны быть основаны на полной несущей способности грунта;
c) мобильные или стационарные системы позиционирования, когда монтажные допуски превышены, якорная линия повреждена в ходе монтажа, или применительно к другим нештатным ситуациям.
Избыточное давление (ΔUreq)retr, необходимое для извлечения якоря, рассчитывают по формуле
,
(А.25)
где Qtot(t=tr) - общее сопротивление грунта на момент извлечения, tr. Время t = 0 определяется как время в конце извлечения;
W' - вес погруженной части элемента системы позиционирования при извлечении;
Ain - вид сверху внутренней части, где прикладывается избыточное давление.
При вычислении общего сопротивления грунта при извлечении Qtot (t = tr) формула (А.22) может быть использована с некоторыми изменениями. Следует отметить, что статическое напряжение сдвига на границе раздела может быть выше, чем его значение при монтаже, из-за консолидации грунта. В А.10.4.3.2.2.3 даны указания по оценке увеличения коэффициента сцепления со временем.
Конструктор не должен забывать о возможных различиях между сопротивлением концевой опоры и натяжением и сжатием выступающих частей. Кроме того, максимальное давление извлечения должна быть выше давления, вызывающего разрушение грунтовой пробки.
Судно, извлекающее якорь, часто способно приложить подъемную силу к якорю с помощью спасательного каната. Такая помощь может существенно снизить необходимое давление извлечения и должно включаться в анализ извлечения. Поэтому если нагрузка перекладывается на подъемный канат при извлечении, то такую нагрузку можно вычесть из числителя формулы (А.25).
Эффект от максимального давления извлечения на стальную конструкцию вакуумного якоря должен быть учтен (см. А.10.4.3.2.3.4.5).
А.10.4.3.2.2.2.3 Удерживающая способность
А.10.4.3.2.2.2.3.1 Общие положения
Инструменты анализа и проектирования для определения удерживающей способности вакуумных якорей могут классифицироваться одним из трех общих методов [104]. Они перечислены в порядке упрощения:
- метод конечных элементов или другой прогрессивный численный анализ;
- метод предельного равновесия или метод предела пластичности (модели включают механизмы провала грунта);
- полуэмпирические методы (в высшей степени упрощенные модели сопротивления грунта, включая модели сжатоизогнутых элементов).
Для анализа и конструирования вакуумных якорей для удержания глубоководных плавучих буровых установок основное внимание уделяется конечной удерживающей способности вакуумных якорей, а не их поведению в условиях зависимости прогиба от нагрузки.
Рекомендуется, чтобы при проектировании вакуумного якоря для стационарных систем позиционирования был использован метод конечных элементов, метод предельного равновесия или исследование в граничных условиях (см. А.10.4.3.2.2.2.3.2 и А.10.4.3.2.2.2.3.3). Для мобильных систем позиционирования с преобладающими горизонтальными нагрузками также считаются адекватными (с соответствующей модификацией) для использования полуэмпирические методы, такие как анализ сжатоизогнутых элементов (см. А.10.4.3.2.2.2.3.4) с использованием кривых перераспределения нагрузки (т.е. р-у, t-z, Q-z), описанных в [8]. Метод модификации кривых р-у для учета более крупных диаметров вакуумных якорей и для обеспечения того, чтобы боковое отклонение не было завышено, см. в [110]. Преимущества и недостатки каждого метода обсуждаются ниже.
А.10.4.3.2.2.2.3.2 Метод конечных элементов
Как это обсуждается в [104], метод конечных элементов является наиболее точным из широко распространенных аналитических методов для сложных конструкций (включая сплошные массы грунта и взаимодействие структуры грунта). Метод конечных элементов позволяет выявить механизм критического отказа без предшествующих допущений со стороны пользователя при условии использования соответствующей структурной модели. Метод конечных элементов также имеет много преимуществ, включая способность учитывать сложную геометрию, пространственно-варьируемые свойства грунта и нелинейное структурное поведение с критериями отказа. Основными недостатками метода являются обязательное овладение экспертом усовершенствованными методами численного анализа и большие затраты времени для настройки модели.
В вязких пластичных системах (фундаменты в мягких глинах обычно подпадают под эту категорию) конечная способность системы не зависит от свойств частичного отказа (например, модуль Юнга, коэффициент Пуассона) [108]. Было продемонстрировано, что тщательно сформулированный и выполненный анализ обеспечивает несущую способность системы, которая хорошо сопоставима с несколькими имеющимися точными аналитическими решениями [109].
Программное обеспечение метода конечных элементов широко распространено, и его успешно используют для оценки специальных конфигураций вакуумных якорей, сопоставляя несколько имеющихся экспериментальных результатов и обеспечивая калибровку более простых моделей. Как указано выше, для выполнения таких анализов нужны специальная подготовка и значительные затраты времени, и поэтому метод еще не вполне подходит для параметрических исследований или стандартных проектных итераций (таких, как те, которые требуются для поиска оптимальной точки крепления якорной линии).
Анализ метода конечных элементов может тем не менее справляться со сложными нагрузками и (или) почвенными условиями, когда имеется недостаточный опыт, либо обеспечивать понимание специальных поведенческих аспектов фундамента (т.е. оценку изменений порового давления и эффективную траекторию в пространстве напряжений в любой точке массы грунта).
А.10.4.3.2.2.2.3.3 Метод предельного равновесия и аналитический метод предела пластичности
Как это обсуждалось в [103], эти модели более аппроксимирующие, чем модели метода конечных элементов, но в целом намного проще в использовании, чем общие программы метода конечных элементов. Методы включают в себя оценку конечной удерживающей способности пластичных систем с использованием принятых механизмов отказа. Эти механизмы, как правило, основываются на сочетании экспериментальных наблюдений, более точных численных или аналитических исследований и технических оценок. Эти методы могут также включать способность содержать сложную геометрию и вариативность прочности грунта, а кроме того, им не нужна характеристика поведения при частичном отказе.
Недостатками этих методов являются аппроксимирующий характер анализа и сложность обобщения результатов, т.е. необходимость калибровки моделей для экспериментирования или проведения более сложного анализа для специальных структурных конфигураций и профилей грунта. Например, изменения в профиле напряжения грунта, геометрии якоря, наклоне нагрузки, точке приложения нагрузки или типе нагрузки (т.е. длительность, частота, отношение циклического к среднему компоненту нагрузки и т.п.) могут потребовать изменений в базовой геометрии принятого механизма отказа.
В общем, имеется два подхода, которые можно использовать на основе принятых механизмов: метод предельного равновесия и метод предела пластичности. В методе предела пластичности принимается механизм отказа, который обычно описывается в терминах одного или нескольких геометрических параметров [110], [111]. Оцениваются распределение гидродинамической силы, граничные условия напряжения и распределение напряжения или силы на поверхности скольжения (разрушения), а также проводится изучение по поиску геометрии, которая ближе всего к равновесному состоянию. Анализ предела пластичности также использует принятый механизм разрушения с добавленным требованием о том, что механизм удовлетворяет кинематическим ограничениям (т.е. несжимаемости для чисто вяжущего материала, неразрывности перемещений и т.п.) [112], [113].
Возможный механизм отказа показан на рисунке А.19. Другие предлагаемые механизмы можно найти в [112], [114] и [115]. В зависимости от механизма отказа якорь должен сопротивляться нагрузкам вертикального подъема за счет собственной массы, поверхностного трения, прижимающего усилия, создаваемого внешним давлением, вследствие откачки воздуха из верхней камеры вакуумного якоря, и (или) сдвига, и (или) отказа от вращения на наконечнике сваи, пассивного и активного давления земли и вращения грунта вокруг сваи.

1 - центр вращения; 2 - зона активного клиновидного отказа; 3 - граница показанного объема грунта; 4 - приложенная нагрузка; 5 - зона пассивного клиновидного отказа; 6 - поток вокруг зоны; 7 - сопротивление наконечника вращению
Рисунок А.19 - Трехмерная проекция механизма возможного отказа
В некоторых методах предельного равновесия площадь круга трансформируется в прямоугольник той же площади с шириной, равной диаметру, и эффекты 3D учитываются за счет коэффициентов бокового сдвига [110].
В целом и метод предельного равновесия, и расчет по предельному состоянию дают верхнюю границу конечной способности и таким образом минимизируют конечную способность по отношению к геометрическим параметрам, давая "наилучший" ответ на конкретный механизм. Однако "наилучший" ответ не всегда близок к "истинному" ответу в зависимости от принятого механизма. В методе предельного равновесия результат не является истинной верхней границей, если механизм не удовлетворяет кинематическим ограничениям. Обсуждение этих методов дано в [108].
В ряде существующих компьютерных программ внедрены эти методы, однако не существует одной общей принятой в морской нефтегазовой отрасли программы или процедуры.
Выборочные модели были показаны для положительного сравнения с более точными результатами метода конечных элементов для профилей мягкой глины и якорей с различной геометрией и точками крепления [116].
Автоматизированные решения на основе этих подходов, как правило, требуют намного меньшего описания входных данных, и ими намного проще пользоваться, чем общими программами метода конечных элементов. В результате они пригодны для проведения параметрических исследований и расчетных итераций. Однако, как уже было сказано выше, эти решения не обязательно сходятся с целью коррекции оценки удерживающей способности, даже проведенной с большой осторожностью и с хорошими аналитическими навыками, и результаты вычисления с помощью различных формул могут существенно отличаться. Таким образом, получение точных результатов в значительной степени зависит от инженерной оценки эксперта-аналитика.
А.10.4.3.2.2.2.3.4 Полуэмпирические методы: анализ сжатоизогнутых элементов
Как это обсуждалось в [104], эти модели являются наиболее аппроксимирующими, но в целом они самые простые для использования, если нет в наличии компьютерных программ с методом конечных элементов, методом предельного равновесия или методом предела пластичности. Они называются полуэмпирическими, чтобы проинформировать, что они включают базовый механизм вакуумного якоря с разрушающей нагрузкой, но зависят от ряда эмпирических правил для представления сопротивления грунта. Эти правила обычно имеют менее обобщающий характер, чем методы, которые приведены в А.10.4.3.2.2.2.3.2 и А.10.4.3.2.2.2.3.3. Например, эти правила явным образом не включают механизмы отказа грунта, но вместо этого представляют сопротивление грунта в качестве распределения нагрузки, которая варьируется вдоль границы раздела "свая-грунт". Если трудно обобщить такое распределение нагрузки для широкого диапазона типов профилей грунта, то конкретное решение может применяться, например, только по отношению к нормально консолидированной прочностной характеристике. Правила для построения этих распределений обычно основываются на сочетании экспериментальных и аналитических результатов. В так называемой модели сжатоизогнутых элементов грунт представлен несвязанными, нелинейными грунтовыми пружинами вдоль границы сваи. Метод сжатоизогнутых элементов может обеспечить оценку диаграммы перемещения нагрузки, включая полную способность системы "грунт-свая".
В модели сжатоизогнутых элементов сопротивление грунта представлено несвязанными, нелинейными пружинами грунта (кривые р-у), которые описывают поведение частичного отказа локального сопротивления грунта, а также максимальную удерживающую способность [117] и [118]. В [8] формулы р-у для свай и кривые демонстрируют смягчающееся поведение (уменьшенное сопротивление с продолжающимся перемещением) для учета эффектов циклического нагружения [90]. Продолжается этот спор в [119], однако эти оценки конечной способности применительно к сваям и, очевидно, по отношению к вакуумным якорям должны основываться на несмягчающихся (статических) кривых р-у. В этой модели определяющие уравнения для балки на (нелинейном) упругом основании решаются итерационно, пока не будет найдено равновесное решение для указанного значения приложенной силы. Пользователь может постепенно увеличивать силу в последующих шагах, пока решение перестанет сходиться в точке, которая будет интерпретироваться как разрушения.
Модель сжатоизогнутых элементов используется геотехническими инженерами уже почти 50 лет для анализа свай, нагруженных сбоку. Поэтому у модели есть решающее преимущество, которое заключается в хорошей осведомленности о ней специалистов. Существует множество программ со сжатоизогнутой моделью, включая программы общего назначения, в которых силы, а также нелинейные пружины могут быть предусмотрены в любой виртуальной точке сваи, а также специальные версии, где нелинейная пружинная конструкция автоматизирована на основе минимальных входных данных по свойствам грунта. Таким образом, может существовать понятная для инженеров тенденция выбора этих программ для анализа вакуумных якорей. Тем не менее пользователь должен знать, что эти программы имеют существенные ограничения. Как это подробно изложено в [100], среди ограничений присутствуют стандартные сжатоизогнутые модели:
a) Игнорируется факт о том, что элементы сопротивления зависят от режима деформации, и игнорируется связь между элементами сопротивления. Это может привести к значительным ошибкам, особенно в отношении довольно коротких свай.
b) Не включает независимых компонентов сопротивления боковому сдвигу на активной и пассивной стороне различных перемещений относительного сдвига модели между грунтом и сваей с двух сторон.
c) Не включают связь между горизонтальными и вертикальными компонентами сопротивления грунта вдоль сторон сваи и, таким образом, не демонстрируют эффекта наклоненных сил удерживания якорем. Возможно в принципе связать эти элементы (кривые р-у и t-z), но это выполнялось лишь в специальных случаях [120].
d) Требуют ввод данных, которые не являются основными для оценки удерживающей способности, такие как жесткость при изгибе свай, и реакцию грунта при частичном отказе, а также выдают данные, которые не представляют существенного интереса для анализа, такие как момент и профиль сдвига и реакция деформации нагрузки, которые, скорей всего, не очень точные. Поскольку большинство свай представляют собой усиленные конструкции, то уравнения для сжатоизогнутых элементов имеют сомнительную достоверность, и в большой степени бесполезны применительно к напряжениям в свае. Более удачной моделью сваи в этих обстоятельствах является твердое тело, которое можно аппроксимировать за счет задания свае жесткости на изгиб (EI) в виде произвольного большого значения (см. А.10.4.3.2.3.5 в отношении рекомендации по структурному проектированию).
e) Требуется вмешательство пользователя для определения удерживающей способности сваи. В большинстве программ сжатоизогнутых элементов конечная удерживающая способность определяется методом проб и ошибок, за счет постепенного увеличения или уменьшения прикладываемых сил, пока не будет определена минимальная сила, которая создает неустойчивость численного решения (интерпретируемую как предел отказа).
f) Требует наличия специальных элементов для вращательного, вертикального и горизонтального сопротивления наконечника.
g) Явно не включает эффекты, такие как шероховатость границы раздела "грунт-свая" и потеря контакта с грунтом на обратной стороне сваи.
Можно сформулировать и внедрить программу сжатоизогнутых элементов, которая преодолевает большинство из указанных выше ограничений. Тем не менее создается впечатление, что недостаточно стимулов это делать, но поскольку есть методы, которые проще внедрить, то анализ вакуумных якорей может специально разрабатываться.
А.10.4.3.2.2.3 Увеличение бокового трения со временем
Согласно А.10.4.3.2.2.2.1.2 боковое трение на указанной глубине может быть вычислено как αinssu, DSS. По прошествии времени после установки боковое трение увеличивается за счет тиксотропических эффектов грунта и перераспределения порового давления на границе раздела "вакуумный якорь (свая) - грунт", т.е. консолидации грунта. Эффекты консолидации часто решаются за счет оценки изменений коэффициента сцепления αins; со временем консолидация в основном влияет на вертикальную удерживающую способность и в меньшей степени на горизонтальную способность вакуумных якорей [121].
Процесс консолидации может различаться в части якоря, проникающего за счет собственной массы, и части, проникающей за счет пониженного давления. Для вакуумных якорей, находящихся в высокопластичных глинах, время консолидации может быть длительным, и может наблюдаться постоянная потеря напряжения сдвига; тем самым конечное боковое трение после полной консолидации будет меньше, чем исходное ненарушенное напряжение сдвига (т.е. коэффициент сцепления αins меньше, чем 1,0 после полной консолидации), и в части якоря, проникающей за счет собственной массы, и в части, проникающей за счет пониженного давления.
Некоторые исследователи [122] заявили, что часть якоря, проникшая за счет пониженного давления, как правило, быстрее консолидируется и меньшее конечное боковое трение наблюдается после полной консолидации по сравнению с частью, проникновение которой произошло за счет собственной массы. На рисунке А.20 показан стандартный график прогнозирования консолидации грунта применительно к вакуумному якорю большого диаметра в типичном грунте и проиллюстрирована неопределенность течения при определении консолидации грунта. Методы, приведенные в [121] и [123], даны с различных частей вдоль боковой части якоря. Консолидация грунта вдоль части якоря, проникающей за счет пониженного давления, может возникнуть намного быстрее, однако постоянное уменьшение может быть сильнее. Метод, приведенный в [123], был разработан для забивных свай с отношением диаметра к толщине стенок менее 40. Метод, указанный в [121], был предложен для проникновения за счет пониженного давления. Оба метода следует применять с осторожностью вне диапазона данных, использованных при их разработке. Другие методы, разработанные для забивных свай, включают метод, описанный в [124]. Не существует единого для морской нефтегазовой отрасли метода построения кривых консолидации.
Как и в случае с другими системами свайных фундаментов, вычисленная конечная удерживающая способность якоря должна быть уменьшена, если консолидация грунта не будет закончена до того, как на свайные якоря будут приложены значительные силы.

X - время после установки (дней); Y - альфа = (боковое трение в момент t/(ненарушенное напряжение сдвига); а - Bogard [123] - диаметр = 6 футов; толщина стенок = 1,8 дюйма; средняя кривая; b - Andersen and Jostad [121] - альфа в момент установки = 0,3; альфа при консолидации 90 % = 0,65
Рисунок А.20 - Пример увеличения коэффициента сцепления со временем
Эффект консолидации может быть решен различными путями в ходе проектирования. Конструктор может обеспечить адекватную удерживающую способность якоря, если:
- вакуумный якорь спроектирован с частичной консолидацией грунта;
- вакуумный якорь установлен задолго до подсоединения плавучего сооружения, чтобы обеспечить требуемую консолидацию грунта, когда система позиционирования испытывает расчетные нагрузки;
- для ограниченного периода времени между установкой системы позиционирования и началом добычи сниженные критерии экстремальных воздействий могут быть приняты на основе анализа приемлемых рисков.
А.10.4.3.2.2.4 Взаимосвязь между горизонтальной и вертикальной удерживающей способностью
Когда вакуумный якорь противостоит расчетным воздействиям, то вертикальные и горизонтальные компоненты удерживающей способности якоря не мобилизуются независимо. Связи между вертикальными и горизонтальными компонентами удерживающей способности могут быть важными в определенных ситуациях. Исследования показали, что для углов якорных линий в месте проушины на уровне 15° - 45° (при измерении от горизонтали) игнорирование этой связи [110], [125] может быть некорректным.
Представленное ниже обсуждение можно применить только к монтажу, и поэтому его нельзя использовать для проектирования. Пример диаграммы взаимодействия отказов, показанный на рисунке А.21, является типичным для вакуумных якорей с отношением длины к диаметру на уровне 5, с грунтом с линейным повышающимся напряжением сдвига и низким напряжением сдвига на морском дне. Швартовая проушина расположена на обойме сваи, примерно на 2/3 ниже верхней части сваи. В этом примере диаграмма показывает, что если сила первоначально вертикальная, а швартовая проушина находится под углом 40° или 45° и вплоть до 90°, то режим разрушения контролируется вертикальным выдергиванием и имеется 100 % вертикальной способности. Аналогичным способом, если сила в основном горизонтальная, а угол швартовой проушины составляет от 0° до 15°, то режим разрушения контролируется горизонтальным выдергиванием и имеется 100 % горизонтальной способности сваи. В этом случае максимальная горизонтальная способность составляет 1,8 раза от вертикальной способности. Если тем не менее угол швартовой проушины составляет 15° - 40°, то имеются способности меньше максимальных вертикальных и горизонтальных. В показанном примере имеется только 90 % вертикальной способности; и имеющаяся горизонтальная способность уменьшена до 150 % от вертикальной способности, с первоначальных 180 %.

X - H/Vmax; Y - V/Vmax; V - вертикальный компонент нагрузки; Н - горизонтальный компонент нагрузки; Vmax - вертикальная конечная способность якоря для чисто вертикальных нагрузок
Примечания
1 Эта диаграмма взаимодействия дана только для иллюстрации и не предназначена для применения в проектировании.
2 Углы швартовой проушины измеряют от горизонтали.
Рисунок А.21 - Пример диаграммы взаимодействия отказов
А.10.4.3.2.2.5 Коэффициенты безопасности
Коэффициенты безопасности удерживающей способности определяются как отношение несущей способности к максимальной силе удержания якоря на основе динамического анализа, и они представлены в таблице 7 (см. 11.4.3) для осевых и боковых сил. Информация о взаимосвязи между горизонтальной и вертикальной удерживающей способностью представлена в А.10.4.3.2.2.4. Осевой коэффициент безопасности учитывает, что свая сначала нагружается при натяжении и поэтому их удерживающая способность выше, чем у свай, нагруженных при сжатии.
Горизонтальный характер повреждений свай считается менее разрушительным, чем вертикальный. Более низкое значение коэффициентов безопасности было рекомендовано в таблице 7 для боковой несущей способности свай. Использование коэффициентов безопасности отдельно для вертикальной и горизонтальной способности свай может быть прямо направлено на простой анализ сжатоизогнутых элементов, например мобильных систем позиционирования (см. А.10.4.3.2.2.2.3.4), однако более сложные методики не различают между вертикальным и горизонтальным сопротивлением свай.
Коэффициент безопасности, используемый при проектировании, должен быть основан на механизме отказа, контролирующем удерживающую способность якоря, а не только на угле швартовного обуха. Несмотря на то, что угол швартовного обуха и механизм отказа связаны, другие параметры, такие как профиль грунта, геометрия якоря, а также точки приложения нагрузки, также важны для определения механизмов отказа. Если осевое выдергивание контролируется, минимальное значение коэффициента безопасности должно соответствовать таблице 7, вне зависимости от угла швартовного обуха. Если контролирует ситуацию боковое выдергивание, минимальное значение FOS должно соответствовать таблице 7, вне зависимости от угла швартовой проушины. В формуле (А.26) предлагается обеспечить объединенный коэффициент безопасности для ситуаций, когда ни осевая, ни боковая способность не контролирует конструктивные решения. Для указанной геометрии, точки крепления проушины и профиля грунта объединенный коэффициент безопасности может быть вычислен следующим образом:
Если θ ≤ θlateral, FOScombined = FOSlateral
Если θ ≥ θaxial, FOScombined = FOSaxial
Если θlateral ≤ θ ≤ θaxial
,
(A.26)
где FOScombined - объединенный FOS;
FOSlateral - боковой FOS из таблицы 7;
FOSaxial - осевой FOS из таблицы 7;
θ - угол якорной линии от горизонтали в точке крепления сваи;
θlateral - Угол якорной линии, измеренный от горизонтали, ниже которого конечная способность контролируется боковой способностью;
Примечание - Боковая способность определяется как способность в условиях только горизонтальных нагрузок.
θaxial - угол якорной линии, измеренный от горизонтали, выше которого конечная способность контролируется осевой способностью.
Примечание - Осевая способность определяется как способность в условиях чисто вертикальных нагрузок.
Рисунок А.22 иллюстрирует диапазон применения различных элементов формулы (А.26).

Х1 - H/Vmax; Х2 - угол нагрузки (от горизонтали); Y1 - V/Vmax; Y2 - коэффициент безопасности, FOScombined; 1 - FOScombined = FOSaxial; 2 - FOScombined в соответствии с формулой (Е.5); 3 - FOScombined = FOSlateral; 4 – θaxial; 5 – θlateral; 6 - FOSlateral; 7 - FOSaxial
Рисунок А.22 - Вычисление необходимого коэффициента безопасности как функции режима разрушения
А.10.4.3.2.2.6 Дополнительные требования
а) Закрытая и открытая верхние части вакуумных якорей
Верхняя часть вакуумных якорей должна оставаться герметичной на протяжении всего срока эксплуатации месторождения, если принцип ее действия основан на прижимающем усилии, создаваемом внешним давлением, вследствие откачки воздуха из верхней камеры сваи. Необходимо принимать во внимание, что с ростом консолидации грунта и увеличением бокового трения о грунт снижается необходимость в прижимающем усилии, создаваемом внешним давлением, и снижается требование к поддержанию в герметичном состоянии верхней камеры сваи. Для вакуумных якорей, испытывающих главным образом горизонтальные нагрузки, поддержание герметичности в верхней камере не является определяющим для удерживающей способности.
b) Анизотропия предела прочности
Вычисления удерживающей способности следует выполнять, используя анизотропическое статическое напряжение сдвига, включая эффекты объединенной статической и циклической истории нагружения.
c) Внутренние кольцевые ребра жесткости
В отношении больших долговременных нагрузок, а также в отношении вакуумных якорей, которые негерметичны в верхней части, поверхностное трение вдоль внутренней обшивки юбки является важной составляющей удерживающей способности. Трение о внутренние поверхности стенок вакуумных якорей может быть значительно ниже прочности на сдвиг вследствие воздействий, возникающих в период монтажных работ, в особенности в случае, если якорь имеет внутренние ребра жесткости. При погружении вакуумных якорей с кольцевыми ребрами жесткости глина из верхней части геологического разреза и вода могут задерживаться между ребрами жесткости, тем самым снижая удерживающую способность якоря на больших глубинах. В таких случаях полости между кольцевыми ребрами жесткости могут выступать в качестве дренажных каналов.
d) Неплотное соприкосновение
Может образоваться зазор снаружи на активной стороне (т.е. обратной стороне) якоря. Имеются неопределенности по поводу того, как прогнозировать образование зазора; если только глина не мягкая и по существу не имеет нулевую частоту пересечения, в этом случае зазор не образуется. Поэтому необходимо делать консервативные допущения по отношению к тому, будет ли сформирован зазор или нет. Необходимо консервативно учитывать размещение точки приложения нагрузки достаточно далеко, ниже оптимальной глубины приложения нагрузки к верхней части вакуумного якоря, чтобы сместить его вниз (т.е. от направления якорной линии) при нагружении, чтобы не допустить создание зазора.
e) Допуски на установку
Приемлемые допуски на установку (например, наклон и ориентация) должны быть включены в вычисления удерживающей способности, поскольку наклон и внеплоскостное нагружение могут уменьшить удерживающую способность сваи.
f) Изменение наружного диаметра
Изменения наружного диаметра с глубиной могут снизить прочность на границе раздела "свая-грунт". Проектные решения должны исключать применение вакуумных якорей, в конструкции которых используются обечайки с переменными наружными диаметрами.
g) Песчаные слои
Песчаные слои, если имеются, могут оказывать существенное влияние на удерживающую способность. Необходимо обеспечить, чтобы песчаные слои не вызывали избыточного дренирования и перераспределения давления, которое может отрицательно повлиять на прижимающее усилие, создаваемое внешним давлением, вследствие откачки воздуха из верхней камеры вакуумного якоря, особенно если якорю придется противостоять долговременным нагрузкам.
h) Расстояние между местами установки
Если нужно извлечь якорь и установить повторно, то определение минимального расстояния между первым местоположением и последующим местом должно обеспечить, чтобы грунт, нарушенный при первой установке, не был мобилизован, когда якорь противостоит расчетным нагрузкам в последующем местоположении.
j) Пролонгированное воздействие
Должна быть учтена продолжительность долговременного воздействия (например, оползание в условиях кольцевого течения), период циклического нагружения, и должна быть скорректирована способность якоря с учетом всех указанных эффектов. Примеры уменьшения способности как функции времени удержания воздействия в отношении вертикально нагруженных якорей в глине Мексиканского залива представлены в [126].
Комбинация указанных аспектов может использоваться при проектировании приемлемой конструкции вакуумных якорей. Из-за сложности анализа возможностей крупных стационарных вакуумных якорей необходимо проконсультироваться с геотехническим специалистом.
А.10.4.3.2.3 Расчет прочности
А.10.4.3.2.3.1 Основные факторы
Этот подпункт предназначен, чтобы дать указания и предоставить критерии для расчета прочности вакуумных якорей. Некоторые из указаний и критериев также применимы в отношении забивных свай. Расчет прочности плитовидных якорей не рассматривается, поскольку, как правило, выполняется изготовителями якорей.
А.10.4.3.2.3.2 Аспекты изготовления
Критерии расчета прочности даны в следующих разделах и допускают, что вакуумные якоря (сваи) были изготовлены с определенными размерами и допусками. Как минимум, следующие размеры и допуски должны быть указаны в спецификации по изготовлению вакуумного якоря помимо диаметра сваи и перечня толщин стенок:
а) длина свай
Полная длина сваи должна быть указана с приемлемыми допусками. Минимальная длина, указанная таким образом, должна быть приемлемой по отношению к геотехническим решениям;
b) отклонение от крутости
Отклонение от крутости представляет собой разность между наружным диаметром и внутренним диаметром в любой точке вдоль длины сваи и не должно превышать 1 % от номинального наружного (или внутреннего) диаметра [14], [127]. Округлость величиной 1 % является максимальным отклонением от крутости, которое принято в формулах выпучивания, приведенных в [8], [82] и в [128].
Для каждого сечения минимально должно быть два набора по две пары диаметров, каждый из которых должен быть отобран (т.е. восемь точек по окружности сваи). На рисунке А.23 эти восемь точек будут А-Е и G-С для первого комплекта и F-В и D-Н для второго комплекта. На рисунке А.23 также приведена процедура измерения отклонений от крутости на обечайках с их продольными осями в горизонтальном положении. Эта методика устраняет эффект, действующий на вычисления отклонений от крутости по овальности обечайки из-за силы тяжести. Альтернативным образом измерения отклонений от крутости можно выполнить, когда ось гильзы расположена вертикально.

Рисунок А.23 - Процедура измерения отклонений от крутости сваи
с) отклонение от цилиндричности
Отклонение от цилиндричности представляет собой меру для локальных отклонений стенок сваи от их теоретической формы, а в этом случае от дуги аналогичного со сваей радиуса. Округлость измеряется с помощью лекального шаблона, который имеет одну кромку, скошенную в сторону теоретического внутреннего или наружного радиуса (в зависимости от ситуации). Рекомендуемая длина дуги лекального шаблона составляет 1/10 от окружности сваи. Измерение округлости обеспечивает, что вмятины, пятна контакта или другие геометрические изъяны не будут отрицательно воздействовать на сопротивление выпучиванию стенок цилиндрической сваи при засасывающем проникновении.
По мере того как протяжной шаблон перемещается вокруг окружности сваи в плоскости, перпендикулярной к оси сваи, зазор между лекальным шаблоном и сваей измеряют. Приемлемый допуск может быть определен на основе нелинейного анализа устойчивости стенки сваи. Количество окружностей, проверенных вдоль длины сваи, должно быть достаточным для улавливания всех потенциальных вмятин или пятен контакта на свае. Поверочную линейку, удерживаемую параллельно продольной оси сваи, следует использовать для исследования протяженности любых вмятин, которые обнаружены с помощью лекального шаблона, см. [82] и [130] в отношении указаний по таким измерениям.
Рекомендуется, чтобы программа контроля размеров включала проверку отклонений от крутости и цилиндричности как части процесса формирования гильзы. Отдельные гильзы не должны включаться в компоновку свай, пока не будут удовлетворять требованиям допусков по отклонениям от крутости и цилиндричности. Комплектная свая также подлежит окончательным проверкам отклонений от крутости и цилиндричности помимо исследования прямолинейности и проверки длины;
d) прямолинейность
В целом общая прямолинейность должна быть согласована с требованиями [8]. По причине довольно большого отношения диаметра к длине вакуумных якорей такие сваи обычно не подвергаются режиму отказа при потере устойчивости колонны, который будет лишь усиливаться недостатком прямолинейности. Тем не менее локальная потеря устойчивости возможна, поэтому рекомендуется выполнить измерения поверочной линейкой в перечислении с).
А.10.4.3.2.3.3 Погрузочно-разгрузочные работы и транспортирование
Чтобы контролировать затраты и вес изделия, у вакуумных якорей большие секции иногда изготавливают из тонкостенной стали. Такие тонкие стенки свай очень чувствительны к повреждениям за счет использования несоответствующих временных опор в ходе погрузочно-разгрузочных работ на заводском дворе. Рекомендуется изготавливать временные подпорки перед погрузкой/разгрузкой и инструктировать такелажников по надлежащим процедурам с вакуумными якорями.
Повреждение сваи может произойти и в ходе выгрузки, и в ходе транспортирования. Необходимо соблюдать осторожность при погрузке и разгрузке вакуумных якорей и их секций с целью минимизации бокового или вертикального воздействия. Конструкция секции и подгонка сваи в секциях не должна аннулировать допущения по транспортированию. Например, если необходим почти полный контакт с секцией для хранения свай, то напряжения, создаваемые в ходе транспортирования, должны быть меньше допустимых расчетных значений, и фактическая подгонка сваи должна соответствовать допущениям, либо конструкция секции должна быть подогнана соответствующим образом.
А.10.4.3.2.3.4 Расчетные ситуации
А.10.4.3.2.3.4.1 Общие сведения
Конструкция вакуумных якорей должна быть способна противостоять максимальному воздействию, приложенному якорными линиями, максимальному отрицательному давлению, которое необходимо для врезания якоря в грунт, максимальному внутреннему давлению, необходимому для извлечения якоря, а также максимальному воздействию на якорь в ходе подъема, погрузки/разгрузки, скольжения, спуска и извлечения. Усталостная стойкость критических компонентов и зон наивысшего напряжения якоря должна быть определена и проверена на предмет необходимой минимальной усталостной прочности.
А.10.4.3.2.3.4.2 Воздействия позиционирования на якоря
Расчетная ситуация, которая обеспечивает максимальные горизонтальные и вертикальные воздействия в месте установки швартовой проушины, должна использоваться для глобального расчета прочности якоря. Реакции грунта, которые были определены в результате геотехнического анализа, должны использоваться в этих расчетах. Проверки чувствительности должны выполняться для обеспечения того, что расчетная ситуация, которая вызывает воздействие силой, меньше максимальной, но, прикладываемая под более неблагоприятным углом, определяет конструктивное решение.
А.10.4.3.2.3.4.3 Воздействия позиционирования на узлы подсоединения вакуумных якорей
Обухи подсоединения якорной линии или соединительная планка являются важными конструктивными элементами. Чтобы соответствовать критериям усталостного сопротивления, проушина часто является составным литым наконечником и базовой конструкцией. Это позволяет избежать использования тяжелых сварных деталей, которое может в результате сократить усталостную стойкость. Проушина должна конструироваться, чтобы удовлетворить требованиям к прочности и усталости. Проушина должна конструироваться для контроля расчетных воздействий с соответствующими коэффициентами безопасности. Конструирование проушины для максимального воздействия, равное коэффициенту безопасности, умноженному на прочность на минимальное разрывное усилие якорной линии, может привести к значительному завышению запаса прочности проушины, которую будет трудно скомпоновать с оболочкой якоря и дублирующими конструкциями.
Обух якорной линии должен обеспечивать контроль расчетной ситуации, а проверка реакции узлов подсоединения якорей должна выполняться для обеспечения того, что расчетная ситуация, которая вызывает воздействие силы меньшей, чем максимальная, но используется под более неблагоприятным углом в обухе, не контролирует конструкцию. Ориентация приложенной к обуху нагрузки подвергается воздействию взаимообратного провисания якорной линии, вертикального несовпадения осей из-за наклона якоря и вращательного несогласования из-за отклонения от целевой ориентации. Эти факторы необходимо надлежащим образом учитывать.
А.10.4.3.2.3.4.4 Воздействия при заглублении вакуумных якорей в грунт
Для врезания якоря в грунт расчетная верхняя граница давления всасывания, которое нужно для врезания якоря в грунт для расчетного внедрения, должно использоваться для проектирования стенок якоря и конструкции наконечника якоря. Тем не менее максимальное давление всасывания должно быть выше, чем всасывание, при котором возникает подъем внутренней пробки.
А.10.4.3.2.3.4.5 Воздействия при извлечении вакуумных якорей из грунта
В отношении извлечения вакуумных якорей из грунта имеются два условия, которые необходимо оценить:
a) временное условие - извлечение вакуумных якорей может потребоваться для стационарных систем позиционирования. Например, после того, как все вакуумные якоря были предварительно установлены вместе с якорными линиями, одна из якорных линий случайно упала в море на дно и была повреждена при соединении с судном. В это время может быть принято решение извлечь вакуумные якоря и швартовую опору. Как правило, подобные ситуации могут возникать через 30-60 дней после того, как был установлен первый вакуумный якорь.
Для мобильных систем позиционирования вакуумные якоря часто извлекают в конце текущих операций бурения или испытаний и повторно используют в других местах;
b) конечные условия - вакуумные якоря для стационарных систем позиционирования могут извлекаться в конце срока их службы.
Расчетное максимальное внутреннее давление, необходимое для извлечения якоря для этих двух ситуаций, должно использоваться для проектирования якорных стенок и заглушки якоря.
А.10.4.3.2.3.4.6 Транспортирование и обработка вакуумных якорей
Вакуумные якоря и приспособления для их монтажа должны проектироваться для максимальных воздействий, вызываемых погрузкой/разгрузкой, транспортированием, подъемом, установкой в вертикальное положение, спуском и извлечением свай. Проектант вакуумных якорей должен взаимодействовать с подрядчиком на проведение операций установки якорей на этапах определения соответствующих расчетных ситуаций. Проектирование вспомогательных устройств для этих расчетных ситуаций должно отвечать минимальным требованиям [8].
А.10.4.3.2.3.5 Конструктивный анализ
А.10.4.3.2.3.5.1 Общие положения
Конструктивный анализ свай в соответствии с требованиями [8] подходит для свай с отношением диаметра к толщине (D/t) менее чем приблизительно 100 к 120. Для свай цилиндрической формы с отношением D/t, превышающим 100 к 120, рекомендуется разрабатывать подробную структурную модель методом конечных элементов для глобального структурного анализа якоря, чтобы обеспечить, что якорная стенка и принадлежности имеют адекватную прочность в самых нагруженных местах.
А.10.4.3.2.3.5.2 Модель пространственной конструкции
Модель пространственной конструкции, как правило, состоит из балочных элементов плюс другие элементы, которые нужны для моделирования специальных прочностных характеристик. Это вполне подходит для свай с отношением D/t менее чем приблизительно 100-120 и предварительного конструирования верхней заглушки или дублирующих конструкций проушины на сваях большого диаметра (т.е. D/t > 120).
А.10.4.3.2.3.5.3 Модель конечных элементов
Метод конечных элементов рекомендуется для глобальной гильзовой структуры, пластины с верхней заглушкой и опорных элементов, а также дублирующей конструкции проушины для свай, у которых отношение D/t больше, чем приблизительно 100-120. Сложные формы, такие как литые проушины или сварные, также необходимо анализировать с помощью метода конечных элементов.
А.10.4.3.2.3.5.4 Ручные вычисления
Ручные вычисления с использованием эмпирических формул и базовых инженерных принципов могут выполняться там, где не нужен конечно-элементный анализ.
А.10.4.3.2.3.5.5 Факторы концентрации напряжения
Факторы концентрации напряжений можно определять с помощью подробного конечно-элементного анализа, физических моделей и других мыслительных методов или опубликованных формул.
А.10.4.3.2.3.5.6 Анализ устойчивости
Формулы для вычисления устойчивости структурных элементов при продольном изгибе представлены в [14], [82], [132] и [128]. В качестве альтернативного варианта анализ устойчивости при продольном изгибе и анализ устойчивости после продольного изгиба либо модельные испытания специальной оболочки или плиты могут быть выполнены для определения устойчивости при продольном изгибе и конечной прочности.
А.10.4.3.2.3.5.7 Динамическая реакция
Значительная динамическая реакция не ожидается для якоря, когда он находится по месту, поэтому якорные конструкции анализируются статически. Анализ транспортирования тем не менее, как правило, включает динамическое воздействие, создаваемое за счет перемещений транспортного судна.
А.10.4.3.2.3.6 Критерии расчета прочности
А.10.4.3.2.3.6.1 Нормы проектирования
В целом цилиндрические элементы оболочки следует проектировать в соответствии с [8] для отношения D/t менее 120, или [128], либо [133] (также можно использовать [82]), когда отношение D/t превышает 120, элементы плоской плиты проектируются в соответствии с [132] или [82], а все другие структурные элементы конструируются в соответствии с [8], насколько это применимо. Если конфигурации конструкций или условия нагружения специально не относятся к этим кодам, могут быть использованы другие принятые нормы и правила. В этом случае конструктор должен обеспечить ситуацию, когда уровни безопасности и принципы проектирования, подразумеваемые в настоящем стандарте, адекватно выполняются.
А.10.4.3.2.3.6.2 Категории безопасности
Для расчета по допустимым напряжениям могут быть выделены две категории безопасности: категория безопасности А относится к нормальным расчетным ситуациям, а категория безопасности В относится к редко возникающим расчетным ситуациям, как показано в таблице А.9.
|
Расчетная ситуация |
Критерии безопасности |
|
Максимально неповрежденное состояние |
А |
|
Максимум повреждена одна якорная линия |
В |
|
Заглубление якоря в грунт |
А |
|
Подрыв якоря (временная) |
А |
|
Подрыв якоря (конечная) |
В |
|
Обработка/подъем/спуск/извлечение |
А |
|
Транспортирование |
В |
А.10.4.3.2.3.6.3 Допустимые напряжения
Для структурных элементов, спроектированных в соответствии со стандартами проектирования WSD (например, [134]), допустимые значения напряжения, рекомендованные в этих документах, следует применять для нормальных условий проектирования, связанных с критерием безопасности А. Для экстремальных критериев проектирования, связанных с критерием безопасности В, допустимые напряжения могут быть увеличены на одну треть.
Для конструкций с оболочками, спроектированными в соответствии с [128], коэффициент безопасности, равный 1,67 Ψ, рекомендуется для режима потери устойчивости для критерия безопасности А. Для критерия безопасности В соответствующий фактор безопасности равен 1,25 Ψ. Параметр Ψ варьируется с критическим напряжением при продольном изгибе и определен в [128]. Он равен 1,2 для упругих напряжений при продольном изгибе при пропорциональном пределе и понижается линейно для неэластичного продольного изгиба до 1,0, когда напряжение при продольном изгибе равно пределу пластической деформации.
Для конструкций с плоской плитой, спроектированных в соответствии с [132], допустимое напряжение получается путем деления предельного состояния по прочности на соответствующий коэффициент безопасности, который равен 2,0 для критерия безопасности А, и 1,5 для критерия безопасности В.
Для цилиндрических элементов с отношением D/t, превышающих примерно 100-120, рекомендуется проанализировать глобальную прочность с использованием метода конечных элементов. Формулы локального продольного изгиба для осевого сжатия, изгибания и гидростатического давления, указанного в [8] (для r D/t < 120) и [128], [135] (для D/t ≥ 120), считаются действительными, если надлежащий анализ выполнен в отношении варьируемой толщины стенок и длины продольного изгиба (которая может простираться ниже уровня морского дна при выполнении анализа врезания в грунт за счет засасывания).
Номинальное напряжение по Генки-Мизесу (эквивалентное) крайнего волокна компонента не должно превышать максимально допустимого напряжения, как указано в формуле (А.27):
σA≤ηiσy,
(А.27)
где σA - номинальное напряжение по Генки-Мизесу;
ηi - расчетный коэффициент для определенной расчетной ситуации;
σy - указанный минимальный предел текучести для материала якоря.
Значения расчетных коэффициентов для различных расчетных ситуаций, которые определены на основе метода конечных элементов, приведены в таблице А.10.
|
Расчетная ситуация |
Расчетный коэффициент ηi |
|
Максимально неповрежденное состояние |
0,67 |
|
Максимум поврежденное состояние |
0,90 |
|
Заглубление якоря в грунт |
0,67 |
|
Подрыв якоря (временная) |
0,67 |
|
Подрыв якоря (конечная) |
0,90 |
|
Обработка/подъем/спуск/извлечение |
0,67 |
|
Транспортирование |
0,90 |
Расчетные коэффициенты, представленные в таблице А.10, накладывают ограничения на первичные напряжения конструкций, которые возникают в результате воздействий. Необходимо принимать во внимание, что первичные напряжения не являются самоограничивающимися; т.е. первичные напряжения, которые превышают предел текучести рассматриваемого материала, могут привести к его разрушению.
Вторичные напряжения, с другой стороны, могут формироваться локальными структурными линиями разрыва или ограничениями соседних частей. Такие напряжения являются самоограничивающимися. В некоторых случаях допускается превышение предела текучести на сдвиг материала для вторичных напряжений при расчете по допустимым напряжениям. Когда локальная текучесть превышается, то материал должен иметь достаточную деформируемость, чтобы обеспечить адекватное перераспределение на соседние участки конструкции.
А.10.4.3.2.3.7 Расчет усталостной прочности
А.10.4.3.2.3.7.1 Усталостный анализ
Усталость конструкции якоря по месту вызывается циклическим нагружением типа "натяжение-натяжение" якорной линии, прикрепленной к якорю. Усталостный анализ для вакуумных якорей типа аналогичен анализу системы позиционирования, представленному в разделе 10. Основное различие заключается в следующем:
a) "S-N подход" (диапазон напряжений в зависимости от количества циклов до отказа) рекомендуется для усталостного анализа вакуумных якорей вместо подхода T-N (стандартный диапазон натяжения в зависимости от количества циклов до отказа), используемого для системы позиционирования. Должны быть использованы соответствующие формулы для кривой усталости S-N, которые включают эффект толщины детали;
b) стандартные диапазоны натяжения из усталостного анализа системы позиционирования преобразуются в диапазоны напряжения для вакуумных якорей на основе уточненного метода конечных элементов.
Усталость необходимо проверять не только на стыках, но также в любых деталях с высоким коэффициентом концентрации напряжений, например литая проушина у основания соединительной планки и в рыме.
А.10.4.3.2.3.7.2 Требование по усталостной стойкости
Коэффициент безопасности усталостной прочности для свайных якорей должен соответствовать требованиям 10.5.
А.10.4.3.2.4 Установка
Чтобы верифицировать успешную установку вакуумных якорей и ее согласованность с проектными допущениями для стационарных и мобильных систем позиционирования, должны проводиться мониторинг и регистрация следующих данных в ходе установки вакуумного якоря:
- расстояние от заданного места на морском дне;
- пониженное давление;
- глубина проникновения;
- скорость проникновения;
- вертикальность;
- ориентация.
Для стационарных систем позиционирования другие параметры, как правило, отслеживаются и включают устойчивость глухой пробки на всех глубинах, а также подъем пробки в точке конечного проникновения.
А.10.4.4 Другие типы якорей
А.10.4.4.1 Гравитационные якоря
Дополнительная информация и рекомендации отсутствуют.
А.10.4.4.2 Плитовидные якоря
А.10.4.4.2.1 Геотехнические конструктивные решения
А.10.4.4.2.1.1 Основные факторы
Для плитовидных якорей конечная удерживающая способность часто определяется как предельная несущая способность при выдергивании, которая представляет собой силу в якорной линии, в которой обрушивается грунт вокруг якоря. При наступлении предельной несущей способности при выдергивании плитовидный якорь начинает двигаться через грунт в общем направлении якорной линии, и сопротивление больше не возрастает, или постепенно оно даже уменьшается. Тем не менее для некоторых конструкций плитовидный якорь начинает погружаться глубже при перегрузке (т.е. сила якорной линии на якоре больше, чем предельная несущая способность при выдергивании, пока якорь не достигает более прочного слоя грунта, где перегрузке можно противостоять).
Предельная несущая способность сваи при выдергивании является функцией:
- недренированного напряжения сдвига грунта на лапе якоря,
- расчетной площади лапы,
- формы лапы,
- коэффициента несущей способности,
- глубины проникновения.
При определении предельной несущей способности при выдергивании необходимо учитывать нарушение грунта из-за обрушения. Это нарушение в целом учитывается в форме эмпирического коэффициента уменьшения. Этот коэффициент основывается на надежных испытательных данных и данных соответствующих исследований [83]. Обычно, чтобы сгенерировать режим глубокого обрушения, глубина проникновения плитовидного якоря в глину должна быть примерно в 4,5 раза больше ширины лапы. Если окончательная глубина не создает режим глубокого обрушения, то коэффициент несущей способности должен быть уменьшен соответственно (см., например, [83]).
Плитовидные якоря получают свою высокую удерживающую способность за счет проникновения в более прочный грунт. Поэтому важно, чтобы глубина проникновения якоря была определена в ходе установки.
Метод проектирования, который может применяться ко всем типам плитовидных якорей в глине, описан в [78]. Различные типы якорей различаются по методу установки, но в конечном итоге все они оказываются в том же месте, что и плитовидные якоря после вращения/закрепления/торможения.
Важно верифицировать путем измерений глубину установки всех типов плитовидных якорей, т.е. что эта глубина соответствует проектной глубине установки якоря. В ходе последующего вращения/закрепления, как правило, наблюдается потеря глубины погружения, которую необходимо учитывать при определении проектной глубины погружения.
Плитовидные якоря достигают своей предельной несущей способности при выдергивании за счет ориентации своей лапы почти перпендикулярно направлению приложенной нагрузки. Чтобы обеспечить вращение лапы для достижения максимальной запроектированной несущей поверхности (процесс называется закрепление/торможение), конструкция плитовидного якоря и процедура установки должны:
a) как часть процедуры установки гарантировать вращение лапы до положения, которое обеспечивает, что, когда якорь подвергается более высокому натяжению в ходе проектного события, то лапа продолжает вращаться в положении, перпендикулярном направлению приложенного натяжения;
b) обеспечить отсутствие существенных потерь проникновения при вращении якоря, который может переместить лапу в менее прочный грунт. Способность выдергивания плитовидного якоря, который частично проник в более плотный/твердый подстилающий слой, расположенный ниже мягкого, должна учитывать влияние более мягкого перекрывающего слоя на долговременную способность. Особое внимание надо обращать на потерю проникновения в процессе вращения/закрепления/торможения в таких ситуациях;
c) иметь структурную целостность для длительного восприятия вращения лапы вокруг горизонтальной и вертикальной оси в зависимости от типа плитовидного якоря и его ориентации при установке.
Коэффициенты запаса прочности применительно к удерживающей способности даны в таблице 8, 11.4.4.
А.10.4.4.2.1.2 Метод прогнозирования для плитовидного якоря, заглубляемого протаскиванием
А.10.4.4.2.1.2.1 Общие сведения
Должны быть определены следующие аспекты заглубления якорной плиты протаскиванием:
- работа якорной линии;
- параметры установки;
- параметры удерживающей способности.
Все три аспекта тесно связаны и влияют друг на друга, как описывается в последующих разделах.
А.10.4.4.2.1.2.2 Работа якорной линии
Как обсуждалось в [83], [136] и [137], механика якорной линии сильно влияет на конечную ориентацию заглубляемого протаскиванием плитовидного якоря, глубина заглубления которого в грунт морского дна определяет держащую силу системы позиционирования. На рисунке А.24 дана схема конфигурации якорной линии, показывающая взаимообратное провисание линии по мере ее прохождения через грунт. По мере увеличения натяжения линии якорь продолжает проникать в грунт, и взаимообратное провисание врезавшейся в грунт линии увеличивает линейный угол в точке крепления якоря. С увеличением глубины погружения якоря в грунт морского дна увеличивается угол в точке подсоединения якоря к якорной линии, что в дальнейшем приводит к протаскиванию якоря без заглубления и натяжения якорной линии.

1 - поверхность морского дна; 2 - горизонтальная сила протаскивания якоря, действующая на уровне морского дна
Рисунок А.24 - Схема конфигурации якорной линии при заглублении в грунт
Решение данного вопроса необходимо выполнять в соответствии с методом, аналогичным прогнозированию перемещения закрепленной с обоих концов цепной якорной линии, изменяющей свою форму под собственной массой, вертикальным давлением грунта, а также под действием сдвиговых усилий, приложенных по касательной к якорной линии. Определяющие дифференциальные уравнения для этой системы сил являются нелинейными, и требуется итеративное численное решение.
А.10.4.4.2.1.2.3 Параметры установки
Как это обсуждалось в [83], [136] и [137], способность заглубляемой протаскиванием плиты сильно зависит от ее конечной ориентации и глубины ниже морского дна, поэтому прогнозирование траектории якоря в ходе установки является очень важным аспектом. На рисунке А.25 дана диаграмма, показывающая типичную траекторию якоря, а также последовательность и ориентацию якоря по мере протаскивания якорной линии вдоль морского дна.

X - расстояние протаскивания; Y - глубина якоря
Рисунок А.25 - Траектория якоря и ориентация лапы в ходе установки
Методы прогнозирования этой траектории подпадают под одну из следующих четырех групп:
a) эмпирические методы: эти методы в основном базируются на корреляциях с наблюдаемыми рабочими параметрами якоря и зависят от характеристик якоря (вес) и соответствующей меры сопротивления грунта. Тем не менее многие из этих натурных измерений отсутствуют в открытых источниках;
b) методы на основе предельного равновесия: эти методы учитывают более подробное описание грунта и геометрию/массу якоря. Методы основаны на расчетном распределении реакции грунта на якорь при отказе. Информация по грунту, специфичному для конкретной площадки, а также подробная информация по якорю могут быть включены в расчеты. Этот подход наиболее часто используется, а также имеется коммерческое программное обеспечение на основе этого подхода (см. [33]);
c) анализ на основе предела пластичности: этот метод сходен с методами на основе предельного равновесия. Виртуальные принципы работы используют для минимизации рассчитанных способностей отказа по отношению к геометрическим параметрам, определяющим механизм отказа при любой глубине заложения якоря, его ориентации и положении якорной линии;
d) передовые численные методы, включая метод конечных элементов. Эти методы обладают потенциалом для получения четкого решения по всем аспектам поведения якоря. На практике, однако, они имеют существенные ограничения. Полное решение будет предусматривать определение на основе метода конечных элементов нелинейного поведения материала, нелинейных граничных условий, теории сильного напряжения и пластической деформации. Поэтому даже простой прогноз траектории якоря требует существенных усилий для формулирования, построения и решения. Тем не менее метод конечных элементов может использоваться для проверки вычислений или улучшения других методов прогнозирования.
А.10.4.4.2.1.2.4 Параметры удерживающей способности
Как обсуждалось в [83], [136] и [137], удерживающая способность якоря является лишь специальным случаем последовательности установки, и поэтому методы, лежащие в основе прогнозирования монтажа, описанного выше, можно прямо использовать. При условии, что глубина проникновения якорной плиты известна, а глина однородная (не переслаивающаяся), конечная удерживающая способность может быть выражена на основе стандартной теории несущей способности вместе с решением якорной линии:
Fmax=NcAeffηsu,ave,
(А.28)
где Fmax - конечная удерживающая способность;
Aeff - эффективная площадь якоря, учитывающая форму и проектируемую площадь;
Nc - определенный коэффициент несущей способности, например на основе метода характеристик или метода конечных элементов;
η - эмпирический коэффициент уменьшения, учитывающий прогрессивное обрушение (деформационное размягчение) при нагружении в направлении обрушения; см. обсуждение этого коэффициента в [83];
su,ave - мера локальной усредненной недренированного напряжения сдвига в зоне обрушения на расчетной глубине проникновения, скорректированная на эффект циклического нагружения, см. [83].
Для переслаивающейся глины конечная удерживающая способность будет зависеть от положения якоря по отношению к границе слоя, см. [83].
В целом нужны серьезный анализ и опыт для оценки входных параметров любого метода прогнозирования.
Пример анализа якоря см. в [29] и [138].
А.10.4.4.2.1.3 Метод прогнозирования для прямозаглубляемых плитовидных якорей
Определение удерживающей способности якоря для якорных плит, прямо врезающихся в грунт, аналогично тому, что было показано для якорей, врезающихся в грунт, за исключением следующего:
- конечная глубина проникновения точно известна;
- номинальная потеря проникновения в ходе закрепления должна быть включена (обычно берется как 0,25, умноженная на 1,0 вертикального размера лапы, или В на рисунке А.26, в зависимости от конфигурации веретена и манжеты шпонки);
- в вычислении эффективной площади лапы должен использоваться соответствующий фактор формы и проектируемой площади лапы с манжетой шпонки в рабочем положении.

В - ширина; L - длина
Рисунок А.26 - Определение размеров лапы якоря
А.10.4.4.2.1.4 Коэффициенты безопасности для плитовидных якорей, заглубляемых протаскиванием
Коэффициенты безопасности для плитовидных якорей, заглубляемых протаскиванием, выше, чем у обычных якорей, также заглубляемых протаскиванием, поскольку перегрузка плитовидных якорей в итоге приводит к их выдергиванию, в то время как обычные якоря глубоко проникают в мягкие и твердые глинистые грунты, врезаясь горизонтально или зарываясь еще глубже, создавая этим постоянные или повышенную удерживающую способность (см. таблицу 8). Для плитовидных якорей, которые наряду с обычными якорями, заглубляемыми протаскиванием, демонстрируют схожее поведение при перегрузке, необходимо учитывать коэффициенты безопасности якорей, заглубляемых протаскиванием, допуская, что режим их работы может быть верифицирован на основе модельных испытаний и на основе имеющегося практического опыта.
А.10.4.4.2.2 Установка
А.10.4.4.2.2.1 Прямозаглубляемые плитовидные якоря
Прямое врезание якорных плит может быть достигнуто засасыванием, ударным или вибрационным молотом, взрывчатым веществом, гидравлическим домкратом или гравитацией (см. А.11.1.6.5.2).
Процедуры установки должны разрабатываться, и должны проводиться анализы по установке для прямозаглубляемых якорных плит с целью верификации, что якоря могут врезаться на расчетную глубину. В анализе установки также должны учитываться аспекты извлечения якорных плит, если это применимо.
В отношении анализа врезания в грунт необходимо учитывать риск подъема грунтовой пробки внутри засасывающего инструмента. Допустимое пониженное давление, чтобы не допустить подъем, должно превышать необходимое давление врезания в грунт на коэффициент 1,5 (см. А.10.4.3.2.2.2.1.4).
Допуски установки якорной плиты должны быть определены и учитываться в геотехнических, прочностных и монтажных проектных решениях. Стандартные допуски должны быть следующими:
- допустимое отклонение от проектного курса крепления якорной линии с целью ограничения боковых нагрузок и вращательных моментов на проушине якоря;
- минимальное проникновение, которое требуется перед закреплением или нагружением испытательной нагрузкой для достижения необходимой удерживающей способности;
- допустимая потеря проникновения якоря в процессе закрепления или нагружения испытательной нагрузкой.
Чтобы верифицировать, что установка плиты прошла успешно и согласуется с проектными допущениями, параметры, перечисленные в А.10.4.3.2.4, также должны быть записаны.
А.10.4.4.2.2.2 Заглубляемые протаскиванием плитовидные якоря
Для врезающихся в грунт плитовидных якорей, используемых в стационарных системах позиционирования, конструкция якорей должна предусматривать адекватную информацию по установке, чтобы обеспечить, что якорь достигает проектной глубины погружения, таким образом выполняя требования безопасности, предъявляемые к системе позиционирования для реальных грунтов и расчетных ситуаций. Типичная информация, которую необходимо верифицировать и отслеживать, включает следующее:
a) натяжение линий при установке якоря, заглубляемого протаскиванием в зависимости от времени;
b) форма кривой провеса установочного каната на основе натяжения линии и длины линии для верификации того, что подъем на морском дне в процессе погружения в грунт находится в допустимых пределах, а также верифицировать положение якоря;
c) направление погружения якоря;
d) конечная глубина проникновения якоря (не обуславливается поломкой предохранительной чеки).
В отношении дополнительных указаний см. [83].
А.10.4.5 Удерживающая способность цепей и стальных канатов
Коэффициенты трения о морское дно зависят от параметров морского дна в месте установки якоря, а также типа якорной линии. Обобщенные коэффициенты трения якорных линий из цепей и стальных канатов представлены в таблице А.7 (см. 10.4.2.12). Коэффициенты начального трения в нормальных условиях используются для вычисления удерживающей способности якорной линии и сил на линии при развертывании. При отсутствии данных лучшего качества коэффициенты из таблицы А.7 могут использоваться для различных донных условий, таких как илистые, песчаные и глинистые грунты.
А.10.4.6 Обтяжка якорных линий
А.10.4.6.1 Общие сведения
А.10.4.6.1.1 Якоря, заглубляемые протаскиванием
В [79] приведены альтернативные рекомендации по определению нагрузки для обтяжки якорных линий.
А.10.4.6.1.2 Вакуумные и плитовидные якоря
Применительно к вакуумным и плитовидным якорям документирование установки должно демонстрировать, что погружение якоря находится в диапазоне прогнозируемой верхней и нижней границ заглубления, определенных в ходе геотехнического проектирования якоря. Кроме того, записи по монтажу должны подтвердить поведение при монтаже, т.е. проникновение под действием собственной массы, величины давления проникновения, силы проникновения в грунт, а также то, что ориентация якоря согласуется с конструкцией якоря. В этих условиях нагрузка для обтяжки якорной линии в соответствии с 11.4.6.1 не требуется. Тем не менее конструкция системы позиционирования и конструкция якоря должны определять минимально приемлемый уровень испытательной нагрузки. Эта испытательная нагрузка должна обеспечить, чтобы взаимообратная кривая провисания линии сформировалась достаточно, чтобы не допустить неприемлемого ослабления якорной линии из-за дополнительных изменений формы погруженной части линии и (или) взаимообратной кривой провисания в штормовых условиях.
Плитовидные якоря должны подвергаться соответствующим нагрузкам при их установке, чтобы обеспечить наличие вращения лап якорей, а также то, что сопутствующая потеря глубины проникновения находится в пределах, которые прогнозировались и учитывались в технических условиях по проектной глубине проникновения. Необходимое установочное натяжение, а также величина расчетного вращения лапы должны основываться на достоверном геотехническом анализе и должны быть верифицированы с помощью прототипа или испытаний масштабной модели. Анализ сцепления, используемый для определения натяжения зацепления, должен также включать в себя анализ вращения якоря, когда он подвергается натяжению в расчетных ситуациях для предельного состояния ULS в неповрежденном состоянии и состоянии резервного функционирования. Если вычисленное вращение якоря в ходе зацепления отличается от вращения якоря в ходе контроля по избыточности, то конструкция якоря должна быть приспособлена для любого несоответствующего результирующего нагружения, чтобы обеспечить, что конструктивная целостность якоря не нарушена.
Если в записях по монтажу регистрируется существенное отклонение от прогнозных значений и эти отклонения показывают, что удерживающая способность якоря нарушается, может потребоваться испытательное нагружение якоря в соответствии с 11.4.6.1. Это может быть приемлемым вариантом для подтверждения удерживающей способности для мобильных систем позиционирования. Тем не менее испытание якорей на натяжение, используемое в проверке на предельное состояние ULS в неповрежденном состоянии, не обязательно подтверждает то, что необходимые факторы надежности для удержания якоря соблюдены, и это представляет особую проблему для стационарных систем позиционирования. Поэтому, если записи по монтажу показывают, что удерживающая способность якоря значительно меньше, чем вычисленная, и коэффициент безопасности не соответствует, то нужно принять следующие меры для обеспечения адекватных значений коэффициентов безопасности:
- дополнительные исследования грунта в месте установки якоря для установления и (или) подтверждения свойств грунта в месте установки якоря;
- извлечение и повторную установку якоря в новом ненарушенном месте;
- извлечение якоря и изменение конструкции якоря, чтобы он соответствовал проектным требованиям, а также повторную установку якоря в ненарушенном месте;
- отложить присоединение судна/плавучего сооружения, чтобы обеспечить дополнительное уплотнение грунта.
Заглубляемые протаскиванием плитовидные якоря должны быть проверены испытательным нагружением в соответствии с А.10.4.6.1, если только не выполнено хотя бы одно из следующих условий:
a) натяжение при установке якоря (натяжение врезки в грунт) равно или больше испытательного натяжения для якоря (см. 11.4.6) и якорь не захвачен в противоположном направлении;
b) свойства грунта в месте установки якоря были определены в соответствии с А.7.2.3 и глубина заглубления якоря после его установки известна с приемлемой точностью и равна или больше минимальной глубины, использованной при проектировании якоря.
Дополнительные указания относительно эффектов монтажа на глубину проникновения плитовидных якорей, захватывания якоря и вращения, а также методов верификации глубины проникновения на момент монтажа представлены в [38].
А.10.4.6.2 Стационарные системы позиционирования
Основной функцией якоря в стационарной системе позиционирования является удержание якорного конца якорной линии на месте во всех расчетных ситуациях. Если сползание якоря является недопустимым, а экстремальные значения натяжения якорной линии являются причиной сползания якоря, считается, что якорь не обеспечивает выполнение своей функции. Однако ограниченное сползание якоря не обязательно приводит к полному отказу системы позиционирования, хотя для стационарных систем позиционирования рабочие характеристики якоря при перегрузке следует оценивать.
Параметры натяжения якорей в период их установки наиболее важны, когда не предусматривается значительное заглубление якорей в грунт морского дна. В данных случаях не следует учитывать послеустановочные эффекты, такие как консолидация грунта со временем, приводящая к увеличению натяжения якорных линий. Для стационарных систем позиционирования целесообразно рассмотреть применение предварительно устанавливаемых якорей (например, свайных якорей), если проектное натяжение при монтаже нельзя обеспечить при помощи якорных лебедок плавучего сооружения.
Нагрузку для обтяжки якорных линий следует измерять при помощи надежной калиброванной системы и документально оформлять. Дополнительная информация в отношении указаний по планированию и выполнению монтажа якорей, заглубляемых протаскиванием, представлена в [79].
А.10.4.6.3 Мобильные системы позиционирования
Дополнительная информация и рекомендации отсутствуют.
А.10.5 Коэффициент безопасности усталостной прочности
Минимальный коэффициент запаса усталостной прочности учитывает неопределенности в прогнозировании долговечности натяжения, разброс данных по кривой T-N, аппроксимации теории линейных повреждений и эффект многочисленных компонентов системы позиционирования, которые подсоединены последовательно. Этот коэффициент согласуется с применением типовых кривых T-N, представленных в разделе 10.
Для динамики развития усталости, которая представляет собой срок службы, вычисленная усталостная стойкость (инверсия годовых повреждений, которая определена в соответствии с разделом 10) любого компонента системы должна превышать расчетный срок службы, умноженный на коэффициент запаса усталостной прочности.
Формула для определения коэффициента безопасности усталостной прочности для использования методом кривых усталости S-N, описанным в А.9.1, представлена в виде уравнений (А.15) и (А.16) [71]. Дополнительная информация по коэффициентам безопасности усталостной прочности и надежности для ряда систем позиционирования представлена в [9], [11] и [139].
Исследование надежности показывает, что кривые T-N, объединенные с расчетным коэффициентом безопасности 3 и с использованием метода простого суммирования (10.3.3.3.2), позволят получить расчет усталостной прочности с приемлемой вероятностью отказа (подробности см. в [74]). Поскольку уклон кривой T-N для цепей с/без распорок лежит вне 95 % доверительного интервала на основе регрессионного анализа на основе имеющихся испытательных данных, то кривые T-N на основе регрессионного анализа испытательных данных, представленные в [62] и [140], также могут учитываться, см. [147].
А.10.6 Коррозия и износ
Дополнительная информация по допускам на коррозию для цепей, стальных канатов и других компонентов якорных линий представлена в [157]. Протекторная защита якорных цепей анодами была разработана, но не получила широкого распространения из-за сравнительно небольшого срока службы (около пяти лет), сложности и высокой стоимости.
Коррозия стального каната в местах заделки в патроны (муфты) может усиливаться за счет действия гальванизированной проволоки в качестве анода на соседние компоненты якорной линии. Для стационарных систем позиционирования рекомендуется электрически изолировать проволоку каната от патрона (муфты) или изолировать патрон от соседних компонентов якорных линий. Дополнительную защиту от коррозии можно обеспечить, установив протекторные аноды на этом участке (см. в качестве примера [141] и [142]).
А.10.7 Зазоры безопасности
Дополнительная информация и рекомендации отсутствуют.
А.10.8 Вспомогательные конструкции
Дополнительная информация и рекомендации отсутствуют.
А.11 Оборудование систем позиционирования
А.11.1 Компоненты якорных линий
А.11.1.1 Общие сведения
Дополнительная информация и рекомендации отсутствуют.
А.11.1.2 Стальные канаты
Участки якорных линий, изготовленные из стальных канатов, могут быть различных конструкций, как показано на рисунке А.27. Конструкция стального каната включает ряд прядей, свитых в одном и том же круговом направлении вокруг центрального сердечника для формирования каната. В отличие от шестипрядных канатов спиральные (некрутящиеся) и многопрядные (малокрутящиеся) конструкции являются привлекательными для использования в стационарных системах позиционирования, поскольку они не создают значительного крутящего момента при изменениях натяжения. В обеих этих конструкциях используются слои проволок (или пучков проволок), намотанных в противоположных направлениях, для получения характеристик сопротивления скручиванию. Количество прядей и проволоки в каждой пряди обусловлено несколькими физическими аспектами, включая диаметр пряди, размер проволоки и т.д., а также результирующий эффект на прочность, жесткость и усталостную прочность каната. Эта конструкция создает крутящий момент по мере увеличения натяжения.
Для защиты от коррозии в стационарных системах позиционирования, как правило, используются материалы для оболочки из полиэтилена или полиуретана на канате из спиральных прядей, который должен иметь высокую плотность. Вся проволока должна быть гальванизированной. Иногда в стальные канаты включают цинковые наполнители для обеспечения дополнительной защиты от коррозии. Материал наполнителя используется для заполнения внутренних пространств между проволоками, чтобы свести к минимуму распространение коррозии при проникновении соленой воды. Не является распространенной практикой увеличение диаметра каната якорных линий для снижения коррозии и износа. Тем не менее в нескольких стационарных системах позиционирования с якорными линиями с канатами без оболочки диаметр проволоки, как правило, увеличен на 0,1-0,2 мм за год эксплуатации с целью защиты от коррозии и износа.
Концы каждого участка якорной линии должны быть заделаны в патроны (муфты). Патроны (муфты) должны быть залиты полимерными материалами. Для стационарных систем позиционирования патроны (муфты) должны быть оснащены гибкими разгрузочными колодками (устройствами, ограничивающими изгиб каната), соединение которых с патроном (муфтой) исключает попадание воды и ограничивает подвижность каната, приводящую к усталостным явлениям при изгибе. Тщательный контроль качества и испытания следует проводить перед и в ходе изготовления каната, чтобы обеспечить выполнение требований проектных спецификаций и соответствие минимальному разрывному усилию конечного продукта.
Дополнительная информация приведена в [143] и [144].

Рисунок А.27 - Различные конструкции стальных канатов
А.11.1.3 Цепи
При проектировании необходимо уделять особое внимание вопросам выбора материалов и изготовления цепей крупного калибра для систем позиционирования плавучих сооружений. Якорные цепи для систем позиционирования следует изготавливать непрерывной длины. Таким образом, устраняется необходимость в соединительных звеньях для цепи и решается проблема с усталостью материала цепи. В противном случае следует использовать соединительные звенья с необходимой усталостной прочностью.
Дополнительные рекомендации представлены в правилах ПКО [10], [87], [131], [147], [148], [149], [150], [151].
А.11.1.4 Соединительные звенья
В отношении литых и штампованных компонентов якорных линий см. [49] и [152].
Соединительные звенья, такие как скобы, вертлюги, стыковые накладки и соединительные звенья, используют для соединения основных компонентов якорных линий. Соединительные звенья, как звенья Кентера и Болдта, часто применяют в мобильных системах позиционирования. Они могут проходить через цепные направляющие блоки и лебедки, и их можно периодически осматривать и менять.
А.11.1.5 Амортизирующие буи
Признанные стандарты для разработки амортизирующих стальных буев, предназначенных для наружного давления, см. [153], [154].
Расчетный коэффициент надежности на уровне 1,5-2,0 рекомендован для буев сильно нагруженных стационарных систем позиционирования с высокими эксплуатационными характеристиками; а коэффициент на уровне 1,2-1,5 рекомендуется для буев общего назначения в умеренных эксплуатационных условиях (например, для временной системы позиционирования в умеренных условиях окружающей среды).
Амортизирующие буи, применяемые в стационарных системах позиционирования, могут быть изготовлены из стали или синтетических материалов, окружающих стальную конструкцию. Вспененный поливинилхлорид (стеклянные сферы в корпусе пенного материала высокой плотности) был успешно применен с целью обеспечения плавучести для глубоководных буровых и эксплуатационных райзеров и поплавков для гибких райзеров. Было признано, что стальные буи являются оптимальными по соотношению "цена-качество". Буи могут изготавливаться сферической формы (обычно), не обладающими высокой жесткостью или в виде цилиндрической оболочки, с кольцевыми ребрами жесткости со сферическими наконечниками. Буи могут быть встроены в якорную линию (с использованием несущего элемента, проходящего сквозь буй) или закреплены на якорной линии с помощью треугольной планки, как представлено на рисунке А.28. Когда используется вариант буя, встроенного в якорную линию, то необходимо соблюдать осторожность и допускать вращение на концевых соединителях. Дополнительные рекомендации по проектированию буев см. в [155].
Буи должны быть спроектированы так, чтобы иметь достаточную прочность для максимальной глубины эксплуатации. При изготовлении буев все сварочные операции следует испытывать с использованием соответствующих мер неразрушающего контроля. Также должна быть обеспечена необходимая защита от коррозии.

а) Буй, закрепленный на якорной линии

b) Буй, встроенный в якорную линию
Рисунок А.28 - Конфигурации амортизирующих буев
А.11.1.6 Якоря
А.11.1.6.1 Якоря, заглубляемые протаскиванием
Классические якоря, заглубляемые протаскиванием (рисунок А.29), первоначально применялись для мобильных систем позиционирования. Технология установки якорей, заглубляемых протаскиванием, существенно продвинулась вперед за последние годы. Проектирование и испытания показывают, что новое поколение якорей с неподвижной лапой создает высокую удерживающую силу даже в условиях мягкого грунта. Высокоэффективные, заглубляемые протаскиванием якоря считаются привлекательным вариантом для якорных операций, поскольку эти якоря легко устанавливать и они подтвердили свою эффективность. Во многих существующих стационарных и мобильных системах позиционирования используют якоря, заглубляемые протаскиванием. Нижняя секция якорной линии может быть установлена предварительно и испытана нагрузкой перед постановкой плавучего сооружения.

1 - переходник; 2 - прилив для разворота лап; 3 - обух пятки; 4 - пятка; 5 - шток; 6 - веретено; 7 - якорная скоба; 8 - лапа
Рисунок А.29 - Классический якорь, заглубляемый протаскиванием
А.11.1.6.2 Забивные свайные якоря
Сопротивление забивных свайных якорей подъему и боковому нагружению в основном обусловлено размерами свай, характером установки и нагружения свай, а также типом, жесткостью и прочностью грунта, расположенного рядом со сваей. Горизонтальная удерживающая способность свайного якоря может быть существенно увеличена за счет добавления специальных элементов, таких как юбки и крылья, на верхнюю часть сваи. Забивные свайные якоря могут быть предназначены для усиления бокового и вертикального сопротивления и со временем становятся очень устойчивыми. Забивные свайные якоря устанавливают с помощью молотов для забивания морских свай.
Гидромониторную прокладку, бурение и цементацию используют для других типов забивных свайных якорей. Установка свай гидромониторной прокладкой, бурением или цементацией может выполняться стандартной буровой установкой без серьезных модификаций. Тем не менее нарушение грунта в ходе гидромониторных и буровых операций следует четко оценивать.
А.11.1.6.3 Вакуумные якоря
Вакуумные якоря можно использовать для крупных глубоководных систем позиционирования и конструировать для очень высокого натяжения якорных линий. Как правило, они представляют высокие стальные цилиндрические конструкции с/без внутренних элементов жесткости. Цилиндрический узел открыт в нижней части и закрыт в верхней (см. рисунок А.30). Вакуумный якорь устанавливается сначала путем спуска в грунт на глубину самостоятельного погружения (т.е. проникновение за счет собственной массы погруженной сваи). Оставшаяся часть необходимого внедрения достигается путем откачки захваченной воды из внутренней части вакуумного якоря. Перепад давления таким образом создает дополнительную движущую силу на верхнюю часть якоря, которая двигает сваю в грунт. По мере увеличения проникновения необходимая движущая сила обычно увеличивается, и требуется постепенно увеличивать перепад давления.

1 - обух
Рисунок А.30 - Вакуумный якорь (свая)
После достижения расчетной глубины проникновения выпускное отверстие для воды закрывается и позволяет вакуумному якорю получить достаточную способность противостоять вертикальным, направленным вниз силам, горизонтальным силам, вертикальным подъемным силам, моменту и сочетаниям указанных факторов.
Для вакуумных якорей, внедренных в глину и с закрытым выпускным отверстием, способность противостоять натяжению якорных линий обусловлена недренированным напряжением сдвига грунта вокруг и ниже якоря. Способность зависит от глубины проникновения, диаметра якоря, напряжения сдвига глины, напряжения сдвига на границе раздела "якорь-глина", наклона якорной линии и местоположения точки соединения. Если верхняя часть остается открытой или извлекается, либо применительно к подъемным компонентам длительного действия выдергивание якоря также может быть возможным механизмом отказа.
Удерживающая способность обычно выше, когда удается избежать наклона якоря. Чтобы избежать наклона, точка крепления линии может быть понижена с верхней части якоря до точки на стенке якоря на оптимальной глубине ниже морского дна. Местоположение оптимальной точки крепления линии зависит от профиля напряжения сдвига, напряжения сдвига на границе раздела "якорь-глина", наклонения линии, веса погруженной части якоря, а также отношения глубины к диаметру якоря. Оптимальное местоположение, как правило, располагается в точке, соответствующей двум третям длины якоря по направлению вниз от верхней части якоря.
Поскольку вакуумные якоря используются на мелководье по аналогии с забивными свайными якорями, то глубокие инженерно-геологические скважины не нужны, однако на мелководье, по сравнению с глубоководными участками, где забиваются сваи, требуются более подробные данные по грунту. Вакуумные якоря в основном применяются в связных грунтах глинистого типа. Внедрение путем засасывания через тонкий песок или гранулированные слои вполне осуществимо при условии, что конструкция вакуумного якоря учитывает эти аспекты. Внедрение в невязкие грунты гранулированного типа требует специального анализа, который не рассматривается в настоящем стандарте.
Отношение длины вакуумного якоря к диаметру может варьироваться от 2:1 для твердой глины до 7:1 для очень мягких глинистых грунтов. Вакуумные якоря, как правило, проектируют с большими отношениями глубины к диаметру в мягких глинах, поскольку верхняя часть отложений мягкой глины имеет ограниченную несущую способность и поверхностное трение. Вакуумный якорь может состоять из двух секций, верхней забивной секции и нижней якорной секции, которые соединяются в ходе монтажа. После достижения проектного заглубления якоря верхняя секция разъединяется и извлекается, оставляя нижнюю секцию в грунте. Верхняя секция затем используется повторно для погружения других вакуумных якорей.
Вакуумный якорь кессонной конструкции представляет собой многоячеистый бетонный кессон малой высоты с большой площадью основания, заглубляемый на небольшую глубину (см. рисунок А.31). Масса заглубленной части вакуумного якоря кессонной конструкции создает значительную часть вертикальной удерживающей способности якоря. Вертикальная удерживающая способность формируется в основном за счет собственной массы якоря и поверхностного трения и внутреннего прижимающего усилия. Горизонтальная удерживающая способность создается за счет проникновения юбки и трения между слоями грунта из-за сдвига.

1 - морское дно; 2 - железная руда; 3 - место крепления натяжных связей; 4 - натяжная связь; 5 - парапетная стенка; 6 - ребра жесткости (балки); 7 - юбка якоря; 8 - буксировочная проушина
Рисунок А.31 - Вакуумный якорь кессонной конструкции
А.11.1.6.4 Гравитационные якоря
Гравитационные якоря представляют собой якоря, удерживающиеся за счет собственного веса, которые обычно состоят из бетонных или стальных блоков, металлолома или других материалов с высокой плотностью. Проникновение якоря в грунт обеспечивается за счет собственного веса, а удерживающая сила якоря определяется весом погруженной части якоря. Горизонтальная удерживающая способность является функцией трения между якорем и грунтом, а также прочностью на сдвиг грунта под якорем. Гравитационные якоря обычно не используются для больших глубоководных систем позиционирования, их используют для небольших систем позиционирования.
А.11.1.6.5 Плитовидные якоря
А.11.1.6.5.1 Общие сведения
Плитовидные якоря устанавливаются с глубоким проникновением в морское дно, где, как правило, более высокая прочность грунта позволяет использовать сравнительно небольшие якорные плиты для восприятия больших нагрузок. Плитовидные якоря обычно обладают значительной вертикальной удерживающей способностью. Это позволяет использовать системы позиционирования с натянутыми якорными линиями, где якорные линии могут пересекать морское дно под большим уклоном. Плитовидные якоря подразделяются на заглубляемые протаскиванием и прямозаглубляемые.
А.11.1.6.5.2 Плитовидные якоря, заглубляемые протаскиванием
Плитовидные якоря, заглубляемые протаскиванием, врезаются с глубоким проникновением в грунт аналогично обычным якорям, заглубляемым протаскиванием. В ходе установки якорь сначала помещается на морское дно и по мере протаскивания по морскому дну он внедряется в грунт. Сначала якорь погружается более или менее параллельно лапе, затем, поворачиваясь, достигает в результате необходимого проникновения в грунт. После погружения якорь считается "установленным" или "закрепленным", т.е. лапа якоря ориентирована таким образом, что она становится почти перпендикулярно к якорной линии, обеспечивая высокую горизонтальную и (или) вертикальную удерживающую способность в зависимости от ориентации линии. Эти якоря, заглубляемые протаскиванием, часто называют вертикально нагружаемыми якорями. Два типа вертикально нагружаемых якорей обычно используют в морских операциях: Stevmanta и Dennla. Якорь Stevmanta использует систему бриделей для преобразования из конфигурации для установки в эксплуатационную ориентацию якорной плиты, поскольку в якоре Dennla используется шарнирное веретено (рисунок А.32).

1 - режим нормального нагружения; 2 - режим установки
Рисунок А.32 - Плитовидные якоря, заглубляемые протаскиванием
А.11.1.6.5.3 Прямозаглубляемые плитовидные якоря
Прямозаглубляемые плитовидные якоря могут заглубляться при помощи вакуумных толкателей, с использованием ударных или вибрационных молотов, взрывчатых веществ или гидравлических домкратов. В большинстве морских операций по установке прямозаглубляемых плитовидных якорей используется технология вакуумного заглубления. Например, для заглубления плитовидных якорей SEPLA используется вакуумный толкатель, представляющий собой вакуумный якорь, оголовок которого имеет отверстие для вставки плитовидного якоря. Плитовидный якорь SEPLA, заглубляемый вакуумным толкателем, представлен на рисунке А.33. Извлечение вакуумного толкателя обеспечивается за счет реверсирования работы вакуумного насоса после завершения заглубления плитовидного якоря до расчетного положения. После этого вакуумный толкатель может использоваться для установки других прямозаглубляемых плитовидных якорей. Поворот лапы плитовидного якоря в требуемое положение обеспечивается натяжением якорной линии.

а) Вакуумный толкатель и плитовидный якорь

b) Монтаж
1 - якорная линия; 2 - пробная нагрузка, приложенная к мобильному МНГС, ПНК или судну обслуживания якорей; 3 - извлекаемый подвесной канат SEPLA; 4 - извлекаемый подвесной буй; 5 - толкатель извлечен; 6 - уровень морского дна; 7 - двухкомпонентный стопор SEPLA; 8 - SEPLA после извлечения засасывающегося толкателя; 9 - SEPLA в положении, перпендикулярном к якорной линии, нагруженной после пробной нагрузки; 10 - якорная линия
Рисунок А.33 - Плитовидный якорь SEPLA, заглубляемый вакуумным толкателем
А.11.2 Лебедки
А.11.2.1 Общие сведения
Рекомендуется обратить внимание на критерии, приведенные в [129] и [156].
Тип и конструкция лебедок, которые необходимы в конкретной системе позиционирования, зависят от типа якорной линии, с которой будет работать лебедка, а также будет ли производиться предварительное натяжение якорных линий и испытательное нагружение якорей с плавучего сооружения. Плавучие сооружения с пространственными системами позиционирования, как правило, имеют устройства натяжения якорных линий, предварительного натяжения после протаскивания якоря, а также отсоединения отдельных якорных линий. Если плавучее сооружение применяется и для бурения, и для добычи, то может потребоваться способность устанавливать плавучее сооружения на места отдельных скважин. Такое позиционирование может быть достигнуто за счет ослабления и выбирания якорных канатов.
А.11.2.2 Брашпили
Подъем, отдача и натяжение цепных якорных линий осуществляются при помощи брашпилей. Рабочим элементом брашпиля является цепная звездочка, которая приводится в действие через зубчатый редуктор. По мере вращения цепной звездочки звенья цепи захватываются и перемещаются по звездочке, а затем опускаются в цепной ящик. Как только цепь втягивается и натягивается, стопорное устройство цепи входит в зацепление и удерживает цепь. Брашпиль является надежным и быстродействующим устройством для подъема, отдачи и натяжения цепных якорных линий.
А.11.2.3 Цепные подъемники
Цепной подъемник представляет собой устройство, которое при помощи работы одного или нескольких гидравлических цилиндров совершает возвратно-поступательные движения для протягивания и натяжения цепных якорных линий. Принцип действия устройства основан на захвате и протягивании участка якорной цепи с последующим закрытием стопорного устройства для выполнения перестановки цепного захвата и повторения процесса протягивания нового участка цепи. Цепной подъемник является мощным устройством подъема, отдачи и натяжения цепных якорных линий, характеризующимся медленной работой, что предполагает его применение в условиях нерегулярных операций с якорными линиями.
А.11.2.4 Барабанные лебедки
Подъем, отдача и натяжение канатных якорных линий осуществляются при помощи барабанных лебедок. Барабанная лебедка состоит из большого барабана, на котором намотан стальной канат. Основа барабана часто снабжена специальными канавками под размер используемого стального каната. Канавки контролируют положение нижнего слоя стального каната на барабане. Для последующих слоев каната используется внешний направляющий механизм, такой как канатоукладчик, чтобы контролировать положение стального каната на барабане. Работа лебедки барабанного типа быстрая и плавная.
Применение барабанных лебедок на глубоководных системах позиционирования является непрактичным вследствие значительных массогабаритных размеров лебедки, связанных с диаметром и длиной якорных канатов. Кроме того, внешние витки стального каната, находящегося под натяжением, деформируют предыдущие слои намотки, вызывая их овализацию и повреждения.
А.11.2.5 Линейные лебедки
Линейные лебедки похожи на цепной подъемник. Два стопора - стационарный и перемещающийся поступательно - используются для втягивания и натяжения стального каната. Имеются линейные лебедки простого действия, когда стальной канат двигается прерывисто по мере того, как стопор выдвигается для начала нового такта, а также в непрерывном двухтактном варианте, и в этом случае два поступательно перемещающихся стопора используются попеременно для непрерывного плавного движения стального каната. Линейные лебедки наиболее распространены в стационарных системах позиционирования, когда нужно сильное натяжение и имеется большой диаметр каната. В этом случае необходим намоточный барабан, чтобы свертывать в бухту канат после прохождения линейной лебедки.
А.11.2.6 Тяговые лебедки
Тяговые лебедки разработаны для применения в системах позиционирования с сильным натяжением, а также для использования в комбинированных системах позиционирования. Они состоят из двух шкивов, оснащенных приводом, на которые выполняется намотка нескольких витков стального каната (как правило, семи) с последующей перемоткой уже натянутого каната на приемный барабан. Плотная намотка каната на шкивы обеспечивает трение и необходимый уровень натяжения каната (обычно от 3 % до 5 % от рабочего натяжения). Данный вид лебедок имеет преимущество вследствие своих компактных габаритных размеров, способности обеспечивать постоянный крутящий момент и возможности работать с канатами большой протяженности без снижения тягового усилия.
А.11.2.7 Направляющие блоки и стопорные устройства
При эксплуатации систем позиционирования для снятия с лебедок прямых нагрузок, возникающих при удержании плавучих сооружений, необходимо выполнять крепление цепных и канатных якорных линий. Конструкции стопорных устройств для цепей и стальных канатов, применяемых в стационарных системах позиционирования, должны обеспечивать сохранение натяжения якорных линий и предохранение их от износа.
Направляющие блоки должны обеспечивать достаточное отношение диаметра стального каната к продольному изгибу для минимизации усталостного повреждения в результате "изгиба-натяжения". Как правило, для цепей используются цепные барабаны - цепные звездочки с семью карманами (нишами). Направляющие блоки для стальных канатов должны предусматриваться с отношением продольного изгиба к диаметру каната (16-25 для мобильных систем позиционирования и 40-60 для стационарных систем позиционирования).
Другим устройством является подводный поворотный отводной блок, который включает блок с отношением изгиба к диаметру каната, превышающему 70, а также специальный нейлоновый несущий материал с высокой плотностью, закрепленный на несущей поверхности отводного блока. Замена материала возможна путем ослабления якорной линии и вынимания несущего материала, который прикручен болтами к несущей поверхности секциями.
А.11.3 Оборудование мониторинга систем позиционирования
В части эксплуатирующихся на плаву мобильных МНГС см. [10], [157], [158] и [159].
А.12 Мониторинг технического состояния, инспектирование и техническое обслуживание
А.12.1 Общие сведения
Дополнительная информация и рекомендации отсутствуют.
А.12.2 Мобильные системы позиционирования
Инспектирование компонентов якорных линий в процессе эксплуатации в целом обсуждается в [61], [87], [146], [148], [149], [150], [160] и [161], а конкретное планирование технического контроля представлено в [57].
Процедуры технического контроля и критерии отбраковки для цепей, стальных канатов, а также оборудование для содержания якорей представлены в [162].
А.12.3 Стационарные системы позиционирования
А.12.3.1 Общие сведения
А.12.3.1.1 Введение
При проектировании стационарных систем позиционирования необходимо принимать меры по сокращению требований к инспектированию путем выполнения:
a) соответствующих мероприятий по предотвращению или минимизации коррозии:
1) катодная защита основных компонентов (например, цепей, стальных канатов, соединительного оборудования, амортизирующих буев и якорей),
2) нанесение защитных покрытий на стальные канаты, обычно это полиэтилен высокой плотности или полиуретановые оболочки,
3) гальванизация элементов (стальных канатов) или гибкая водонепроницаемая защита flex-boot и (или) герметичные наконечники между концами канатов и замковым оборудованием.
Примечание - Применение катодной защиты или оболочек на определенных элементах системы позиционирования (таких, как цепи) не всегда является целесообразным. Наиболее целесообразным является увеличение размеров элементов в целях защиты от коррозии и абразивного истирания. Кроме того, целесообразно и экономично заменять элементы после указанного периода службы, а некоторые из указанных выше мер можно исключить или смягчить. В этом случае может потребоваться провести детальную экспертизу элементов на поверхности;
b) соответствующих мероприятий по снижению изгибающих напряжений в якорных линиях:
1) подбор отводных блоков;
2) подбор направляющих блоков.
А.12.3.1.2 Надводные участки якорных линий
Все элементы системы позиционирования, располагающиеся над водой, должны подвергаться визуальному инспектированию. Особое внимание необходимо уделять инспектированию стальных канатов на предмет наличия разорванной проволоки или распушенных прядей в районе направляющих блоков и барабанов лебедок. Для цепных участков якорных линий внимание должно уделяться износу звеньев, ослаблению распорок звеньев, возможному усталостному растрескиванию вокруг гнезд для звеньев в направляющих блоках и цепных звездочках. Подробные указания по осмотру цепей, стальных канатов и соединительного оборудования приведены в [162] (хотя разработаны для систем позиционирования эксплуатирующихся на плаву мобильных МНГС, но некоторые из указаний и критерии отбраковки могут использоваться в отношении надводной инспекции элементов систем позиционирования).
Если используются стопоры линейных лебедок, то стальные канаты или пряди в районе стопорных устройств должны быть переставлены в другое место на несколько сантиметров от прежнего места на регулярной основе. Эти меры должны быть учтены в конструкции.
А.12.3.1.3 Подводные направляющие блоки
При применении отводных блоков для стальных канатов большого диаметра необходимо ежегодно проводить инспектирование подкладочного материала на предмет его износа. В случае выявления чрезмерного износа подкладочного материала отводных блоков необходимо выполнить замену отдельных изношенных участков материала. Если частичная замена невозможна, необходимо полностью заменить подкладочный материал.
При применении роликовых направляющих блоков необходимо ежегодно проводить инспектирование работы центрального подшипника. Он, как правило, смазывается маслом или консистентной смазкой (как это поддерживается с помощью удаленной системы смазки), или он может иметь самосмазывающиеся подшипники, или они могут смазываться водой. В зависимости от конкретного варианта рекомендуется, чтобы якорная линия выбиралась или разматывалась, чтобы можно было определить, что система смазки находится в рабочем состоянии и подшипник исправен. При наличии отводного блока или роликового направляющего блока, которые предназначены для вращения вокруг вертикальной оси, используются те же самые меры.
При применении роликовых стопорных устройств для крепления цепных якорных линий необходимо ежегодно проводить инспектирование роликов на предмет их свободного вращения вокруг своих осей. При примерзании их надо освобождать ото льда. Износ звеньев цепи вблизи стопорных устройств следует измерять, а показания - фиксировать.
А.12.3.1.4 Подводный участок якорной линии
Участок якорной линии, который располагается под водой, в пределах допустимой глубины водолазного спуска, необходимо инспектировать при помощи водолазов или НПА с применением подводной видеокамеры. Обследование должно записываться на цифровые носители для анализа в последующем. Особое внимание необходимо уделять инспектированию якорных линий из стальных канатов на предмет наличия разорванной проволоки или распушенных прядей. Там, где эти участки представлены цепью, должны проводиться аналогичные осмотры, и звенья цепи должны исследоваться на предмет износа, коррозии, а также отсутствующих или перемещенных распорок.
Участки якорной линии, располагающиеся ниже допустимой глубины водолазного спуска, должны обследоваться с помощью НПА с видеокамерой. Если установлены якорные линии с оболочками, то не представляется возможным определить состояние материала под оболочкой. Цель этого осмотра тогда будет заключаться в верификации целостности оболочки, чтобы убедиться, что отсутствуют трещины, порванные участки или сильное истирание.
Если установлена система позиционирования с цепью, то аналогичный осмотр должен быть проведен на всю длину, где это возможно. Цель - осмотреть звенья цепи на предмет абразивного износа, питтинговой коррозии или отсутствующих распорок.
Особое внимание при проведении инспектирования необходимо уделять провисающему участку якорной цепи, расположенному горизонтально к морскому дну (зона биений о поверхность морского дна). Этот участок может быть подвержен значительному износу или истиранию вследствие контакта с морским дном. Необходимо учитывать такую вероятность и увеличить калибр этого участка цепи. Необходимо провести обследование с помощью НПА и снять на видеокамеру состояние износа цепи, положения распорок цепи или их полное отсутствие.
Чтобы позволить "погруженному" участку полностью оторваться от морского дна для проведения инспекции, может понадобиться усилить натяжение якорных линий по сравнению с нормальным натяжением в период эксплуатации. Осмотры следует проводить в спокойный день с минимальными перемещениями плавучего сооружения.
А.12.3.1.5 Заделка концов якорных линий и соединительные элементы
Концы стальных якорных канатов должны быть заделаны в открытые или закрытые патроны (муфты). Особое внимание при проведении инспектирования необходимо уделять состоянию прядей каната на входе в патрон (муфту) на предмет наличия коррозии и разорванной проволоки. Инспектирование патронов (муфт) необходимо выполнять на предмет коррозии, деформации, износа отверстия в патроне, накладных усиливающих колец и штифта. Осмотр необходимо выполнять при помощи НПА с подводной видеокамерой.
Проверку гальванического потенциала следует планировать на тех патронах (муфтах), которые оснащены анодами. Осмотры могут проводиться НПА с помощью портативных эталонных электродов.
Соединительные элементы состоят из соединительных планок, треугольных планок или соединительных звеньев. Эти соединительные элементы необходимо обследовать при помощи НПА на наличие признаков коррозии, износа или деформации шпонок, звеньев или фиксаторов. Необходимо также проводить дополнительные инспекции с использованием оборудования магнитно-порошкового контроля или ультразвукового контроля. Оба вида оборудования можно упаковать таким образом, что ими можно управлять с помощью НПА, который имеет манипулятор для удерживания зонда. Чтобы проводить подобные осмотры, НПА должен очищать участки соответствующих элементов, которые будут осматриваться.
А.12.3.1.6 Амортизирующие буи
При применении амортизирующих буев в системе позиционирования ПНК необходимо ежегодно инспектировать каждый буй при помощи НПА с видеокамерой. Особое внимание при проведении инспектирования амортизирующих буев необходимо уделять сварным швам, элементам буя, швартовным обухам, а также состоянию противокоррозионных анодов, если они установлены. Кроме того, используя НПА, необходимо проводить проверку гальванических потенциалов с помощью портативных эталонных электродов для замера системы катодной защиты.
А.12.3.2 Основные принципы системы управления конструктивной целостностью
Дополнительная информация и рекомендации отсутствуют.
А.13 Системы динамического позиционирования
А.13.1 Введение
А.13.1.1 Общие сведения
Динамическое позиционирование имеет много сфер применения с момента разработки технологии в начале 1960-х. Самыми первыми сооружениями, которые оснащались системами динамического позиционирования как средством удержания, были буровые суда, однако сейчас много сфер применения, начиная от бурения и ремонтных работ в скважинах при помощи мобильных МНГС до плавучих гостиниц, водолазных судов, судов-трубоукладчиков, большегрузных барж и заканчивая добычными сооружениями.
А.13.1.2 Оборудование динамического позиционирования
При определении надежности системы необходимо учитывать три подсистемы по отдельности и вместе. Наиболее распространенным методом является FMEA, как описано в 14.2.1. Указания по проектированию и эксплуатации судов с системой динамического позиционирования даны в [10].
А.13.2 Проектирование и анализ
А.13.2.1 Анализ видов и последствий отказов
Дополнительная информация и рекомендации отсутствуют.
А.13.2.2 Классы систем динамического позиционирования
Руководство по оборудованию класса динамического позиционирования было составлено ИМО, чтобы облегчить интерпретацию и добавить результаты FMEA. Несколько признанных классификационных обществ дают условные обозначения по классам динамического позиционирования очень сходные с классами оборудования ИМО. ИМО разработало циркуляр Комитета по безопасности на море [163] с целью представления концепции выбора системы динамического позиционирования (с ее раздельным резервированием) для плавучего сооружения с сопоставимыми рисками для конкретных плавучих сооружений с системами динамического позиционирования. Эти указания включены в [156], но они в равной степени применимы к FMEA плавучих сооружений с системами динамического позиционирования и для других типов плавучих сооружений.
В частности, в циркуляре заявлено, что класс оборудования судна, который необходим для конкретной операции, должен быть согласован между организацией, эксплуатирующей судно, и заказчиком на основе анализа рисков последствий утраты положения.
Анализ рисков, требуемый в соответствии с [163], из которого анализ FMEA, описанный в 14.2.1, заимствует часть, учитывает риски по специальным операциям, таким как бурение и внутрискважинные работы, водолазные работы, услуги плавучих гостиниц, подъем крупных грузов, укладка труб, добыча плавучими средствами, загрузка челночных танкеров и т.п.
Анализ рисков может носить общий характер и охватывать различные рабочие ситуации и типы работ. Тем не менее обобщенные допущения и принципы следует учитывать для каждого проекта, местоположения и процедур, чтобы обеспечить достоверность анализа и (или) внесенных изменений для валидации и применимости.
В конкретном анализе рисков скорей всего будут учтены некоторые аспекты, приведенные ниже:
a) время для достижения безопасной ситуации (или избавиться от грозящей опасности)
Для водолазных работ это может касаться времени, необходимого для обеспечения относительной безопасности водолазов с помощью спасательного колокола; для большегрузных судовых кранов это может быть отрезком времени для спуска тяжелого груза, а для буровой установки - временем, необходимым для отсоединения от компоновки морского райзера;
b) скорость потери положения (снос, увод или большое отклонение)
Потенциальная скорость, с какой положение утрачивается, зависит от режима отказа, которым может быть снос, если прекращена подача питания на средства активного управления, положение увода, если средства активного управления не реагируют на подаваемые сигналы, или просто отклонение большого плавучего сооружения от нужного положения, которое создаст опасность для конкретной операции;
c) ограничение по условиям окружающей среды
Воздействия окружающей среды и их направления непосредственно перед отказом системы влияют на скорость, с которой потеряно положение. Плавучее сооружение, использующее оборудование класса 2 или 3, должно работать только до его максимальной способности удержания после единичного отказа по наихудшему сценарию. В этом случае, даже после возникновения ситуации по наихудшему сценарию, как правило, при утрате одного машинного отсека или распределительного щита, плавучее сооружение может удерживать положение с помощью оставшихся машинных отсеков, работающих на полную мощность;
d) операционные процедуры
Операционные процедуры и готовность операторов плавучего сооружения предпринять корректирующие действия также влияют на анализ рисков;
e) человеческие факторы
База данных по нештатным ситуациям с системами динамического позиционирования показывает, что человеческая ошибка является основной причиной потери положения плавучим сооружением, а невыполнение корректирующих действий может привести к усилению сравнительно незначительной нештатной ситуации.
А.13.3 Проектирование, испытания и техническое обслуживание
Рекомендуется выполнять ежегодно исследование с целью подтверждения, что система динамического позиционирования поддерживается в исправном рабочем состоянии в соответствии с требованиями [163].
А.13.4 Эксплуатационный персонал
Обучение эксплуатационного персонала должно учитывать рекомендации, представленные в [157] и [164].
А.13.5 Определение удерживающей способности
А.13.5.1 Общие сведения
Анализ удерживающей способности системы динамического позиционирования должен выполняться в целях определения параметров окружающей среды, при которых система сможет обеспечить непрерывное удержание плавучего сооружения относительно заданной точки. Этот анализ должен выполняться как часть проектирования новых конструкций, а также для отдельных операций. Два метода могут использоваться для анализа удерживающей способности системы ДП. Динамический анализ системы во временной области, как правило, выполняется для новых конструкций системы критических операций, особенно на мелководье. Для стандартных операций на глубоководных участках может использоваться упрощенный метод, рассматривающий только средние воздействия окружающей среды с допуском на отклонения от положения.
А.13.5.2 Внешние воздействия окружающей среды и перемещения плавучего сооружения
Плавучее сооружение подвержено следующим воздействиям и перемещениям:
- установившиеся воздействия ветра, волн и течения;
- колебания на частоте волн;
- низкочастотные колебания.
Система динамического позиционирования учитывает установившиеся воздействия и гасит низкочастотные колебания. Колебания на частоте волн не влияют на систему динамического позиционирования, поэтому их можно исключить из анализа удерживающей способности. Тем не менее они должны быть включены в определение экстремальных значений перемещения.
А.13.5.3 Упрощенный метод
В этом подходе удерживающая способность динамической системы динамического позиционирования считается удовлетворительной, если ее способность выше среднего воздействия окружающей среды для рассматриваемой расчетной ситуации. Процедура представляет собой следующие действия:
- определить эксплуатационные параметры окружающей среды и соответствующий им курс постановки плавучего сооружения;
- определить среднее продольное и поперечное воздействия, а также момент рыскания из-за ветра, волн и течений;
- определить необходимые выходные параметры каждого отдельного средства активного управления на основе алгоритма системы динамического позиционирования для размещения средств активного управления;
- определить имеющуюся тягу для каждого средства активного управления, см. А.8.9.3;
- вычислить способность системы динамического позиционирования в соответствии с [155];
- повторить предыдущие шаги для различных курсов, рабочих условий и вариантов отказа средств активного управления.
А.14 Системы позиционирования с якорными линиями из волоконных синтетических канатов
А.14.1 Общие сведения
Основные требования к проектированию якорных линий из волоконных синтетических канатов представлены в разделе 15. Подробная информация по проектированию систем позиционирования на основе канатов из синтетических волокон, испытания/изготовление и сертификация канатов приведены в [6], [27], [62], [148], [166] и [147].
В настоящее время в глубоководных стационарных и мобильных системах позиционирования находят применение волоконные канаты, выполненные из искусственных полиэфирных и полиамидных волокон, высокомолекулярных полиэтиленов и жидкокристаллических полимеров.
Настоящий подраздел разработан на основе испытательных данных и имеющихся знаний по канатам из полиэстера (в первую очередь), а также канатов из высокомолекулярных полиэтиленов. Когда рассматривается использование других материалов для изготовления канатов, то необходимо проконсультироваться с изготовителями канатов, а рекомендации, изложенные здесь, должны быть оценены повторно с учетом свойств и характеристик рассматриваемых продуктов.
Аспекты проектирования, которые присущи только системам позиционирования из волоконных синтетических канатов, представлены в 15.2-15.5. Эти проблемы включают в себя:
- свойства натяжения-удлинения;
- положения о зазоре от направляющих блоков и водной поверхности моря;
- положения о минимальном натяжении и зазоре по отношению к морскому дну в подветренных якорных линиях,
- усталость, с учетом того, что расчетные кривые усталости Т-Т отличаются от таковых для стальных компонентов системы позиционирования,
- нарушение осевого сжатия (для некоторых канатов),
- разрыв при ползучести (для некоторых волоконных канатов).
Указания по осторожному обращению с канатами, оценке состояния и ремонту канатов см. в [6].
Установка защиты от проникновения частиц в волоконные канаты позволяет не допустить или ограничить проникновение пыли или частиц грунта или других частиц в сердечник каната. Это потенциально может влиять на требования, относящиеся к контакту с морским дном (см. А.14.2.2).
Когда волоконные канаты используются последовательно соединенными с несбалансированными по крутящему моменту стальными канатами (например, со стальными шестипрядными канатами), то стальной канат может повредиться из-за циклического кручения крутящим моментом, вызванным циклическими изменениями натяжения, и из-за вертлюжного эффекта поворота крутящим моментом, присущего волоконным канатам, нейтральным к кручению (и податливых кручению). Согласованные по моменту канаты из волокон, т.е. канаты, совместимые с указанным моментом, предназначены для использования последовательно со стальными канатами.
А.14.2 Анализ позиционирования с якорными линиями из волоконных синтетических канатов
А.14.2.1 Анализ свойств натяжения-удлинения волоконных синтетических канатов
Свойства натяжения-удлинения волоконных синтетических канатов различные и более сложные, чем те, которые состоят из эквивалентных стальных компонентов. В настоящее время не существует модели, которая может предоставить достоверный временной график характеристик натяжения-удлинения волоконных канатов. Тем не менее некоторые практические аппроксимации могут быть сделаны в контексте анализа позиционирования.
Моделирование с использованием верхней границы и нижней границы линейной жесткости было предложено в [62] как простая аппроксимация. Жесткость в штормовых условиях является типичной в отношении верхней границы жесткости при проведении цикла от прогнозируемого среднего натяжения в ходе расчетной ситуации до максимального натяжения, спрогнозированного в расчетной ситуации. Жесткость после установки является типичной в интересующем диапазоне натяжения или напряжения для квазистатического воздействия сразу после установки. Жесткость увеличивается, если применяется более строгий режим натяжения после минимального натяжения при установке или после периодов циклического воздействия.
Имеются другие аппроксимирующие модели, которые учитывают вариации динамической жесткости со средним натяжением, см. например, [28].
А.14.2.2 Длина якорных линий из волоконных синтетических канатов
А.14.2.2.1 Общие сведения
На раннем этапе эксплуатации новый волоконный канат, как правило, подвержен воздействию процесса, называемого приработкой, который приводит к накоплению постоянного (не восстанавливающегося) удлинения.
Большая часть приработки и результирующее удлинение происходят в ходе начального развертывания и натяжения линии и сразу после этого. Оценка длины каната "как он установлен" (в отличие от длины после изготовления) может быть получена, например, за счет испытаний линейной плотности [6]. Отсроченная далее приработка (постоянное удлинение) и вязкоупругое (восстанавливаемое) удлинение возникают, если канат находится в постоянно натянутом состоянии или когда натяжение в канате превышает максимальное натяжение, которое было достигнуто до этого. У канатов, изготовленных из высокомолекулярных полиэтиленов, ползучесть приводит к дальнейшему увеличению длины каната со временем. Таким образом, повторное натяжение за счет регулирования длины линии обычно требует затрат некоторого времени после начальной установки или по мере необходимости, например после сильного шторма.
Длина линий, используемая в анализе позиционирования, должна согласовываться с предлагаемыми процедурами управления длиной. Может потребоваться учесть более одного набора длин линий для указанных условий окружающей среды.
А.14.2.2.2 Медленные изменения среднего натяжения
При медленных изменениях среднего натяжения, возникающего при изменении погоды в течение нескольких часов или дней, канат показывает вязкоупругую реакцию, которая вызывает большее перемещение плавучего сооружения, чем динамическая жесткость, описание которой представлено в А.14.2.2.3.
Была разработана процедура вычисления значений квазистатической жесткости на основе соответствующей последовательности испытаний с учетом зависимой реакции от силы и времени (см. [6] и [148]).
А.14.2.2.3 Динамическая жесткость
Динамическая жесткость характеризует реакцию на циклическое нагружение/перемещения во временные отрезки в масштабе от секунд (например, перемещения, вызываемые волнами) до десятков минут (например, медленный дрейф или перемещения, вызываемые вихреобразованием, на частоте собственных колебаний системы).
Дополнительную информацию по натяжению-удлинению канатов из волокна и значения по квазистатической и динамической жесткости см. в [6], [148] и [165].
А.14.2.2.4 Длина волоконного синтетического каната
Дополнительная информация и рекомендации отсутствуют
А.14.3 Анализ усталостной прочности волоконных синтетических канатов
А.14.3.1 Усталостная прочность "натяжение-натяжение"
Большинство имеющихся данных усталостных испытаний относятся к канатам, выполненным из искусственных полиэфирных и полиамидных волокон. Сравнение данных испытаний канатов из полиэфирных и полиамидных волокон, высокомолекулярных полиэтиленов, а также стальных канатов показывает, что канаты из полиэфирных и полиамидных волокон и высокомолекулярных полиэтиленов имеют значительно более высокую усталостную прочность, чем стальные канаты. Однако усталостная прочность канатов из нейлоновых волокон ниже, чем у стальных канатов, особенно в условиях влажности.
Для полиэстера и высокомолекулярного полиэтилена кривая T-N в 14.3, полученная на основе результатов [48], дает консервативную оценку износостойкости каната.
Для канатов, изготовленных из других волокон, в открытом доступе не имеется достаточно данных усталостных испытаний, чтобы построить усталостные расчетные кривые. При отсутствии более качественных данных может использоваться кривая спиральных прядей (см. таблицу 3). Свойства каната подлежат верификации.
Усталостные кривые, использованные при проектировании, должны быть подтверждены на основе данных испытаний.
А.14.3.2 Усталость при осевом сжатии
См. А.14.5.2.
А.14.4 Анализ ползучести волоконных синтетических канатов
Анализ ползучести можно применить в отношении канатов, изготовленных из высокомолекулярного полиэтилена и аналогичных материалов. Эти канаты подвержены ползучести, при этом удлинение увеличивается линейно со временем под действием приложенного натяжения, что приводит к снижению прочности каната через определенное время и в конечном итоге к разрушению.
Канаты из полиэстера и арамида не подвержены ползучести, если только канаты не подвержены необычному воздействию.
В отличие от усталостного повреждения, которое в основном вызывается циклическим воздействием волн, на ползучесть могут существенно влиять все параметры окружающей среды, включая ветер, волны и течение. Особое внимание нужно обратить на события, связанные с сильным течением, таким как кольцевое течение, которые могут вызывать установившиеся воздействия большой продолжительности на плавучие сооружения. Этот тип событий должен включаться в расчетные ситуации для анализа ползучести.
Поскольку температура сильно влияет на скорость ползучести, то площадь каната, которая испытывает воздействие наивысшей окружающей температуры, в целом демонстрирует более высокую ползучесть, и допустимая оценка удлинения при ползучести должна выполняться для этого участка.
Аналогичный анализ может быть выполнен для всей линии, чтобы получить оценку полного удлинения при ползучести линии, если нужно.
Годовое совокупное удлинение при ползучести ε1 можно вычислить по следующей формуле:
,
(А.29)
где ε1 - годовое совокупное удлинение при ползучести, % в год;
ti - продолжительность в течение года натяжения Fi в интервале i, дней в год;
C(Fi,θ) - скорость ползучести, в процентах в сутки, где Fi является натяжением при температуре окружающей среды θ, как определено испытаниями ползучести.
Скорость ползучести для каната как функция натяжения и температуры может быть получена на основе данных по волокну после калибровки с данными на основе испытаний канатов.
Процедура анализа повреждения при ползучести описана ниже:
a) длительные окружающие условия представлены рядом дискретных расчетных состояний позиционирования (MDS). Каждое состояние MDS характеризуется значительной высотой волны, пикового спектрального периода (или эквивалентом), формой спектра, профилем скорости течения, скоростью ветра (с соответствующими направлениями), а также вероятностью возникновения;
b) для каждого MDS определить натяжение всех якорных линий;
c) вычислить годовое удлинение при ползучести по каждой якорной линии для одного состояния MDS на основе формулы (А.29), учитывая температуру и натяжение линии. Для этого необходимо определить различные интервалы натяжения для MDS, определить сопутствующую продолжительность для каждого интервала и получить удлинение при ползучести путем суммирования всех удлинений по каждому интервалу натяжения. Альтернативным образом может использоваться эквивалентное среднее натяжение линий, вычисленное на основе произвольного протекания процесса натяжения;
d) повторить шаги от а) до с) для всех MDS и вычислить совокупное годовое удлинение при ползучести ε1 в качестве суммирования удлинения при ползучести на основе всех MDS;
e) прогнозируемое удлинение при ползучести для площади каната, на протяжении расчетного срока службы L (в годах), будет равно:
εL=ε1·L.
(А.30)
Прогнозируемый жизненный цикл tc (в годах) для достижения допустимого удлинения при ползучести εA (в процентах) будет равен:
tc=εA/ε1.
(А.31)
А.14.5 Расчетные критерии
А.14.5.1 Максимальное натяжение якорных линий
Расчетные коэффициенты безопасности, указанные в таблице 5, являются минимально допустимыми значениями. Несколько более высокие расчетные коэффициенты безопасности были использованы в ряде случаев применения якорных линий из полиэстера.
А.14.5.2 Минимальное натяжение якорных линий
Дополнительная информация и рекомендации отсутствуют.
А.14.5.3 Усталость
Дополнительная информация и рекомендации отсутствуют.
А.14.5.4 Удлинение якорных линий при ползучести канатов
Достижение канатом якорной линии удлинения, значение которого равно его максимально допустимому показателю, является одним из критериев необходимости замены каната. Изменение длины канатов якорной линии (удлинение при ползучести) необходимо регулярно отслеживать при эксплуатации. Данную процедуру необходимо выполнять при помощи нанесения маркеров на оболочке каната, при условии, что она надлежащим образом закреплена. Для стационарных систем позиционирования указанные процедуры должны быть включены в руководство по эксплуатации плавучего сооружения, а также в систему управления конструктивной целостностью в соответствии с разделом 13.
А.14.6 Модельные испытания якорных линий из волоконных канатов
Дополнительная информация и рекомендации отсутствуют.
Приложение ДА
(справочное)
Таблица ДА.1
|
Обозначение ссылочного национального стандарта |
Степень соответствия |
Обозначение и наименование ссылочного международного стандарта |
|
ГОСТ Р 54483-2011 (ИСО 19900:2002) |
MOD |
ISO 19900:2002 "Нефтяная и газовая промышленность. Общие требования к морским сооружениям" |
|
ГОСТ Р 57148-2016 (ИСО 19901-1:2015) |
MOD |
ISO 19901-1:2015 "Нефтяная и газовая промышленность. Специальные требования к морским сооружениям. Часть 1. Проектирование и эксплуатация с учетом гидрометеорологических условий" |
|
ГОСТ Р 57555-2017 (ИСО 19901-3:2014) |
MOD |
ISO 19901-3:2014 "Нефтяная и газовая промышленность. Специальные требования к морским сооружениям. Часть 3. Верхние строения платформ" |
|
Примечание - В настоящей таблице использовано следующее условное обозначение степени соответствия стандартов: - MOD - модифицированные стандарты. | ||
Приложение ДБ
(справочное)
Таблица ДБ.1
|
Структура настоящего стандарта |
Структура международного стандарта ISO 19901-7:2013 |
|
1 Область применения |
1 Область применения |
|
2 Нормативные ссылки |
2 Нормативные ссылки |
|
3 Термины и определения |
3 Термины и определения |
|
4 Обозначения (4.1) 5 Сокращения (4.2) |
4 Обозначения и аббревиатуры 4.1 Обозначения 4.2 Сокращения |
|
6 Общие положения (раздел 5) 6.1 Функциональные требования (5.1) 6.2 Требования к безопасности (5.2) 6.3 Требования к инжинирингу (5.3) 6.4 Требования к инспектированию и техническому обслуживанию (5.4) 6.5 Инструменты анализа (5.5) |
5 Общие факторы 5.1 Функциональные требования 5.2 Требования к безопасности 5.3 Требования к планированию 5.4 Требования к инспектированию и техобслуживанию 5.5 Аналитический инструментарий |
|
7 Общие требования к проектированию (раздел 6) 7.1 Классы сооружений по требованиям стойкости к внешним воздействиям (6.1) 7.2 Предельные состояния (6.2) 7.3 Определение расчетных ситуаций (6.3) 7.4 Расчетные ситуации (6.4) |
6 Требования к проектированию 6.1 Уровни воздействия 6.2 Предельные состояния 6.3 Определение расчетных ситуаций 6.4 Расчетные ситуации |
|
8 Воздействия (раздел 7) 8.1 Общие сведения (7.1) 8.2 Требования к гидрометеорологическим и геологическим данным площадок установки (7.2) 8.3 Внешние воздействия окружающей среды на якорные линии (7.3) 8.4 Косвенные воздействия (7.4) |
7 Воздействия 7.1 Основные факторы 7.2 Требования к данным по конкретным площадкам 7.3 Воздействие природных факторов на якорные оттяжки 7.4 Косвенные воздействия |
|
9 Анализ систем позиционирования (раздел 8) 9.1 Общие сведения (8.1) 9.2 Перемещения плавучих сооружений (8.2) 9.3 Реакции плавучих сооружений (8.3) 9.4 Реакции якорных линий (8.4) 9.5 Натяжение якорных линий (8.5) 9.6 Ограничения по длине и геометрии якорных линий (8.6) 9.7 Усилия на якорях (8.7) 9.8 Анализ систем позиционирования стандартной конфигурации (8.8) 9.9 Анализ комбинированных систем позиционирования (8.9) 9.10 Анализ перемещений плавучих сооружений в переходных состояниях (8.10) |
8 Анализ швартовки 8.1 Основные факторы 8.2 Смещение плавучего сооружения 8.3 Отклик плавучего сооружения 8.4 Отклик якорной оттяжки 8.5 Натяжение оттяжки 8.6 Ограничение по длине и геометрии оттяжки 8.7 Усилия заякоривания 8.8 Анализ и оценка стандартной конфигурации системы швартовки 8.9 Системы швартовки с подруливающими устройствами 8.10 Анализ переходных процессов движений плавучего сооружения |
|
10 Усталостный анализ систем позиционирования (раздел 9) 10.1 Общие сведения (9.1) 10.2 Усталостная прочность (9.2) 10.3 Процедура усталостного анализа (9.3) |
9 Усталостный анализ 9.1 Основные факторы 9.2 Усталостная прочность 9.3 Процедура усталостного анализа |
|
11 Расчетные критерии (раздел 10) 11.1 Перемещения плавучих сооружений (10.1) 11.2 Допустимые натяжения якорных линий (10.2) 11.3 Длина участков якорных линий, укладываемых на морское дно (10.3) 11.4 Системы позиционирования с якорными линиями (10.4) 11.5 Коэффициент безопасности усталостной прочности (10.5) 11.6 Коррозия и износ (10.6) 11.7 Зазоры безопасности (10.7) 11.8 Вспомогательные конструкции (10.8) |
10 Расчетные критерии 10.1 Смещение плавучего сооружения 10.2 Ограничение натяжения оттяжки 10.3 Длина оттяжки, находящейся на дне 10.4 Система заякоривания 10.5 Коэффициент запаса усталостной прочности 10.6 Коррозия и износ 10.7 Зазоры 10.8 Поддерживающие конструкции |
|
12 Оборудование систем позиционирования (раздел 11) 12.1 Компоненты якорных линий (11.1) 12.2 Лебедки (11.2) 12.3 Оборудование мониторинга систем позиционирования (11.3) |
11 Оборудование системы швартовки 11.1 Компоненты якорных оттяжек 11.2 Лебедки 11.3 Оборудование мониторинга |
|
13 Мониторинг технического состояния, инспектирование и техническое обслуживание (раздел 12) 13.1 Общие сведения (12.1) 13.2 Мобильные системы позиционирования (12.2) 13.3 Стационарные системы позиционирования (12.3) |
12 Технический контроль в процессе эксплуатации, мониторинг и техобслуживание 12.1 Основные факторы 12.2 Передвижные системы швартовки 12.3 Стационарные системы швартовки |
|
14 Системы динамического позиционирования (раздел 13) 14.1 Введение (13.1) 14.2 Проектирование и анализ (13.2) 14.3 Проектирование, испытания и техническое обслуживание (13.3) 14.4 Эксплуатационный персонал (13.4) 14.5 Определение удерживающей способности (13.5) |
13 Система динамического позиционирования 13.1 Основные факторы 13.2 Проектирование и анализ 13.3 Проектирование, испытание и техобслуживание 13.4 Эксплуатационный персонал 13.5 Определение способности удержания |
|
15 Системы позиционирования с якорными линиями из волоконных синтетических канатов (раздел 14) 15.1 Общие сведения (14.1) 15.2 Анализ систем позиционирования с якорными линиями из волоконных синтетических канатов (14.2) 15.3 Анализ усталостной прочности волоконных синтетических канатов (14.3) 15.4 Анализ ползучести волоконных синтетических канатов (14.4) 15.5 Расчетные критерии (14.5) 15.6 Модельные испытания якорных линий из волоконных канатов (14.6) |
14 Система швартовки с использованием канатов из синтетических волокон 14.1 Основные факторы 14.2 Анализ системы швартовки с использованием канатов из синтетических волокон 14.3 Усталостный анализ 14.4 Исследование ползучести 14.5 Расчетные критерии 14.6 Модельные испытания |
|
Приложение А (справочное) Дополнительная информация и рекомендации |
Приложение А (информативное) Дополнительная информация и указания |
|
* |
Приложение В (информативное) Региональная информация |
|
Приложение ДА (справочное) Сведения о соответствии ссылочных национальных стандартов международным стандартам, использованным в качестве ссылочных в примененном международном стандарте | |
|
Приложение ДБ (справочное) Сопоставление структуры настоящего стандарта со структурой примененного международного стандарта | |
|
* Данный раздел исключен, т.к. его положения размещены в других разделах настоящего стандарта. Примечание - После заголовков разделов (подразделов) настоящего стандарта приведены в скобках номера аналогичных им разделов (подразделов, пунктов) международного стандарта. | |
Библиография
|
[1] |
Правила классификации, постройки и оборудования морских плавучих нефтегазодобывающих комплексов. РМРС - СПб, 2011 | ||
|
[2] |
Правила классификации, постройки и оборудования плавучих буровых установок и морских стационарных платформ. РМРС - СПб, 2018 | ||
|
[3] |
ИСО 19904-1 |
Нефтяная и газовая промышленность. Сооружения нефтегазопромысловые морские. Однокорпусные суда, полупогружные платформы и платформы цилиндрического вида (Petroleum and natural gas industries - Floating offshore structures - Part 1: Monohulls, semi-submersibles and spars) | |
|
[4] |
API RP 2I, Recommended Practice for In-Service Inspection of Mooring Hardware for Floating Structures, American Petroleum Institute | ||
|
[5] |
Правила классификации и постройки морских судов. Часть XIII Материалы. РМРС - СПб, 2018 | ||
|
[6] |
ИСО 18692 Изделия канатные для удержания плавучих морских платформ. Полиэстр (Fibre ropes for offshore stationkeeping - Polyester) | ||
|
[7] |
ИСО 19906 |
Нефтяная и газовая промышленность. Сооружения арктического шельфа (Petroleum and natural gas industries - Arctic offshore structures) | |
|
[8] |
ИСО 19902 |
Нефтяная и газовая промышленность. Стационарные морские стальные сооружения (Petroleum and natural gas industries - Fixed steel offshore structures) | |
|
[9] |
FALTINSEN, O. Sea loads on ships and offshore structures, Cambridge University Press, 1990 | ||
|
[10] |
ACS W22, Rules for Offshore Mooring Chain., International Association of Classification Societies | ||
|
[11] |
LEHN E. Thruster Interaction Effects, NSFI Report R 102.80, 1980 | ||
|
[12] |
MATSUMOTO K. The Influence of Mooring Line Damping on the Prediction of Low-Frequency Vessel Motions at Sea, Offshore Technology Conference, OTC 6660, Houston, 1991 | ||
|
[13] |
DETER D.R. SEDCO 445: Propulsion System for Dynamic Positioning, INTEROCEAN No. 243, 1978 | ||
|
[14] |
ИСО 19901-4 |
Нефтяная и газовая промышленность. Частные требования к морским платформам. Часть 4. Геотехнический анализ и анализ конструкции основания (Petroleum and natural gas industries - Specific requirements for offshore structures - Part 4: Geotechnical and foundation design considerations) | |
|
[15] |
WANG M.C., NACCI V.A. and DEMARS K.R. Behavior of Underwater Suction Anchors in Soil, Ocean Engineering, 1975 | ||
|
[16] |
DOYLE E.H. The Integration of Deepwater Geohazard Evaluations and Geotechnical Studies, 30th Annual Offshore Technology Conference, OTC 8590, Houston, May 1998 | ||
|
[17] |
JEANJEAN P., CAMPBELL K., and KALSNES B. Use of Integrated Study to Characterize the Marlin Deepwater Field, Proc. Society of Underwater Technology Conference, London, September 1998 | ||
|
[18] |
DUTT R.N., RAINEY W.S., HAMILTON Т.K., PELLETIER J.H. and DOYLE E.H. Recent Advances in Deepwater Gulf of Mexico Geotechnical Investigations, 29th Annual Offshore Technology Conference, OTC 8303, Houston, May 1997 | ||
|
[19] |
LUNNE, T., ROBERSTON, P.K. and POWELL, J. Cone Penetration Testing in Geotechnical Practice, ISBN 0419 23750 X, Spon Press, 1997 | ||
|
[20] |
RANDOLPH M.F., HEFER P.A., GEISE J.M. and WATSON P.G. Improved Seabed Strength profiling Using T-Bar Penetrometer, Proc. Conf. Offshore Site Investigation and Foundation, Behaviour '98, Society for Underwater Technology, 1998 | ||
|
[21] |
DOYLE E.H. and KALUZA M.J. A Review on the Use of 3-D Exploration-Level Data for Geohazard Studies, Proc. OTRC 2001 Int'l Conf. Honoring Prof. W.A. Dunlap, Conducted by the Offshore Technology Research Center, edited by C. Aubeny and J.-L. Briaud, Houston, May 2001 | ||
|
[22] |
BJERRUM L. Problems of Soil Mechanics and Construction on Soft Clays - State-of-the-Art Report, Session IV, 8th International Conference on Soil Mechanics and Foundation Engineering, Moscow, 1973 | ||
|
[23] |
NEWLIN J.A. Suction Anchor Piles for the Na Kika FDS Mooring system. Part 1: Site Characterization and Design, Proceedings, International Symposium Deepwater Mooring systems: Concept Design, Analysis, and Materials, Houston, Oct. 2-3, 2003 | ||
|
[24] |
NEWLIN J.A. Suction Anchor Piles for the Na Kika FDS Mooring system, Part 2: Installation Performance, Proceedings, International Symposium Deepwater Mooring systems: Concept Design, Analysis, and Materials, Houston, Oct. 2-3, 2003 | ||
|
[25] |
JEANJEAN P., ANDERSEN K., and KALSNES B. Soil Parameters for Design of Suction Caissons for Gulf of Mexico Deepwater Clays, Proc. Offshore Technology Conference, OTC 8830, Houston, May 1998 | ||
|
[26] |
O'BRIAN T.P. The Design of Screw Propellers, Hutchinson & Co., Ltd., 1962 | ||
|
[27] |
DNV Offshore Standard DNV-OS-E303, Offshore Mooring Fibre Ropes, Det Norske Veritas | ||
|
[28] |
FRANCOIS M. and DAVIES P. Fibre Rope Deepwater Mooring: A Practical Model for the Analysis of Polyester Mooring Systems, IBP 247 00, Rio Offshore 2000 | ||
|
[29] |
DAHLBERG R., RONOLD K.O., STROM P.J. and MATHISEN J. New Calibrated Design Code for Plate Anchors in Clay, Proceedings of the Offshore Technology Conference, OTC 16109, Houston, May 2004 | ||
|
[30] |
BLEVINS R.D. Flow-Induced Vibration, 2nd Ed., Kreiger Publishing, Malabar, FL., 2001 | ||
|
[31] |
SKOP R.A., GRIFFIN O.M. and RAMBERG S.E. Strumming Predictions for the SAECON II Experimental Mooring, Offshore Technology Conference, OTC 2491, 1977 | ||
|
[32] |
VANDIVER J.K. Drag Coefficients for Long-Flexible Cylinders, Offshore Technology Conference, OTC 4490, 1983 | ||
|
[33] |
DAHLBERG R. and RESSEGUIER S. Improved Predictions of MODU Fluke Anchors Increases the Confidence in Mooring System Design, Proceedings of the Offshore Technology Conference, OTC 20085, Houston, 2009 | ||
|
[34] |
SARPKAYA T. and ISAACSON M. Mechanics of Wave Forces on Offshore Structures, Van Nostrand Reinhold Company, New York, 1981 | ||
|
[35] |
SANDSTRÖM R.E., YUNG T-W., SLOCUM S.T. and DING Z.J. Advances in Prediction of VIV for Spar Hulls, Deep Offshore Technology Conference, Marseille, France, 19-21 Nov 2003 | ||
|
[36] |
YUNG T.W., SANDSTRÖM R.E., SLOCUM ST., DING J.Z. and LOKKEN R.T. Advancement of Spar VIV Prediction, OTC 16343, 2004 | ||
|
[37] |
COWDREY C.F. and LAWES J.A. Drag Measurements at High Reynolds Numbers of a Circular Cylinder Fitted with Three Helical Strakes, NPL/Aero/384, National Physical Laboratory (UK), July 1959 | ||
|
[38] |
FENG C.C. The Measurement of Vortex-Induced Effects on Flow Past Stationary and Oscillating Circular and D-Section Cylinders, M. A. Sc. Thesis, University of British Columbia, 1968 | ||
|
[39] |
SARPKAYA T. A Critical Review of the Intrinsic Nature of Vortex-Induced Vibration, Journal of Fluids and Structures 19 389-447, 2004 | ||
|
[40] |
WILLIAMSON C.H.K. and GOVARDHAM R. Vortex Induced Vibrations, Annual Review of Fluid Mechanics, 36:16.1-16.42, 2004 | ||
|
[41] |
VAN DIJK R.T., VOOGT A., FOURCHY P. and SAADAT M. The Effect of Mooring System and Sheared Currents on Vortex Induced Motions of Truss Spars, Proceedings 22nd International Conference on Offshore Mechanics and Arctic Engineering, OMAE'03, Cancun, Mexico, 2003 | ||
|
[42] |
OTRC/MMS Workshop. Spar Vortex-Induced Motions, Proceedings of Workshop, Navasota, Texas, 22-24 October 2003 | ||
|
[43] |
IRANI M.B. and FINN L.D. Model Testing for Vortex Induced Motions of Spar Platforms, OMAE 2004 51315, 2004 | ||
|
[44] |
FINN L.D., MAHER J.V. and GUPTA H. The Cell Spar and Vortex Induced Vibrations, OTC 15244, 2003 | ||
|
[45] |
BANGS A.S., MIETTINEN J.A., MIKKOLA T.P.J., SILVOLA I. and BEATTIE, S.M. Design of the Truss Spars for the Nansen/Boomvang Field Development, OTC 14090, 2002 | ||
|
[46] |
HUANG K., CHEN X. and KWAN C.T. The Impact of Vortex-Induced Motions on Mooring System Design for Spar-based Installations, OTC 15245, 2003 | ||
|
[47] |
MAGEE A., SABLOKA. and GEBARA J. Mooring Design for Directional Spar Hull VIV, Proceedings, OTC 15243, 2003 | ||
|
[48] |
VAN DIJK R.T., MAGEE A. STEVE P. and GEBARA J. Model Test Experience on Vortex Induced Vibrations of Truss Spars, OTC 15242, 2003 | ||
|
[49] |
KOKKINIS T., SANDSTRÖM R.E., JONES H.T., THOMPSON H.M. and GREINER W.L. Development of a Stepped Line Tensioning Solution for Mitigating VIM Effects in Loop/Eddy Currents for the Genesis Spar, OMAE2004-51546, 2004 | ||
|
[50] |
U.S. Coast Guard Report No. CG-49-77, Guidelines for Deepwater Port Single Point Mooring, Design, 1977 | ||
|
[51] |
KWAN C.T. and BRUEN F.J. Mooring Line Dynamics: Comparison of Time Domain, Frequency Domain and Quasi-Static Analysis, Offshore Technology Conference, OTC 6657, Houston, 1991 | ||
|
[52] |
LARSEN K. and MATHISEN J. Reliability-Based Fatigue Analysis of Mooring Lines, 15th Offshore Mechanics and Arctic Engineering, OMAE-1343, ASME, Florence, 1996 | ||
|
[53] |
MORGAN M. Dynamic Positioning of Offshore Vessels, The Petroleum Publishing Company, 1978 | ||
|
[54] |
LEWIS E.V. (ed.), Principles of Naval Architecture, Vol. II, SNAME, 1988 | ||
|
[55] |
FRANCOIS M. et al. Statistics of Extreme and Fatigue Loads in Deep Water Moorings, 20th Offshore Mechanics and Arctic Engineering Conference, OMAE-2162, ASME, Rio de Janeiro, Brazil, 2001 | ||
|
[56] |
SAUNDERS. Hydrodynamics in Ship Design, SNAME, 1957 | ||
|
[57] |
VAN MANEN J.D. Fundamentals of Ship Resistance and Propulsion, Part B: Propulsion, NSMB Publication No. 132a | ||
|
[58] |
OOSTERVELD M.W. Wake Adapted Ducted Propellers, NSNB Publication No. 345 | ||
|
[59] |
VAN MANEN J.D. and OOSTERVELD M.W. Analysis of Ducted Propeller Design, SNAME Transactions, 1966 | ||
|
[60] |
SHATTO H.L. and VAN CALCAR H. Improving Dynamic Positioning Performance in the Deepwater, High-Current, Rough Water Environment, Offshore Technology Conference, OTC 4749, Houston, 1984 | ||
|
[61] |
OLSEN H. Reduction of Bow Thruster Efficiency Due to Ship Motions in Waves, Det Norske Veritas, 1978 | ||
|
[62] |
NDE/TTI, Engineers Design Guide for Deepwater Fibre Moorings, Joint Industry Project, Noble Denton Europe/Tension Technology International, 1st Edition, January 1999 | ||
|
[63] |
OCIMF, Mooring equipment guidelines, Oil Companies International Marine Forum | ||
|
[64] |
SYMONS P.J.R. et al. The Design of the SEABED Operations Vessel, RINA Transactions, 1981 | ||
|
[65] |
BV Rule Note NR 494, Rules for the Classification of Offshore Loading and Offloading Buoys, Bureau Veritas | ||
|
[66] |
SCHOFIELD A.N. Suction Anchors Could Eliminate Pile Driving, Offshore Ser-vices, 7:3, 1974 | ||
|
[67] |
SCLAVOUNOS P.D. The Wave-Drift Damping of a Floating Bodies, Fourth International Workshop on Water Waves and Floating Bodies, 1989 | ||
|
[68] |
LEHN E. Practical Methods for Estimation of Thrust Losses, Marintek Report No. 513003.00.06, 1992 | ||
|
[69] |
BJOERHEDEN O. Jet Deflection Vanes for Improved Performance of Rotatable Thrusters, KaMeWa, 1986 | ||
|
[70] |
WANG M.C., NACCI V.A. and DEMARS K.R. Behavior of Underwater Suction Anchors in Soil, Ocean Engineering, 1975 | ||
|
[71] |
DNV Offshore Standard DNV-OS-E301 Position Mooring. POSMOOR, Det Norske Veritas | ||
|
[72] |
Joint Industry Project - DEEPMOOR, Design Methods for Deep Water Mooring Systems. Calibration of a Fatigue Limit State, DNV Report No. 98-3110, Revision 3, 30 December 1998, Det Norske Veritas | ||
|
[73] |
Memo to API RP 2SK Work Group, Studlink and Studless Fatigue Curves for Mooring Lines, Produced by ExxonMobil Upstream Research Company, March 2003, American Petroleum Institute | ||
|
[74] |
Memo to API RP 2SK Work Group, T-N curve for Studless Chain Proposed in API RP 2SK draft, Shell, April 2004, American Petroleum Institute | ||
|
[75] |
JIAO G. and MOAN T. Probabilistic Analysis of Fatigue Due to Gaussian Load Processes, Probabilistic Engineering Mechanics, Volume 5, Issue 2, Pages 76-83, June 1990 | ||
|
[76] |
MADSEN H.O., KRENK S. and LIND N.C. Methods of Structural Safety, Prentice-Hall Inc., Englewood Cliffs, NJ, 1986 | ||
|
[77] |
API RP 16Q, Recommended Practice for Design, Selection, Operation and Maintenance of Marine Drilling Riser Systems, American Petroleum Institute | ||
|
[78] |
DNV Recommended Practice DNV-RP-B401, Cathodic Protection Design, Det Norske Veritas | ||
|
[79] |
DNV Recommended Practice, DNV-RP-E301 Design and Installation of Fluke Anchors in Clay, Det Norske Veritas | ||
|
[80] |
API RP 2SK, Recommended Practice for Design and Analysis of Stationkeeping Systems for Floating Structures, American Petroleum Institute | ||
|
[81] |
DUTT R.N., DOYLE E.H. and LADD R.S. Cyclic Behavior of a Deepwater Normally Consolidated Clay, ASCE Civil Engineering In The Oceans V, Texas A&M University, November 2-4, 1992 | ||
|
[82] |
DNV Classification Notes No. 30.1. Buckling Strength Analysis of Bars and Frames, and Spherical Shells, Det Norske Veritas, 1992 | ||
|
[83] |
DNV Recommended Practice, DNV-RP-E302 Design and Installation of Plate Anchors in Clay, Det Norske Veritas | ||
|
[84] |
ANDERSEN K.H. and LAURITZEN R. Bearing Capacity for Foundations with Cyclic Loads, ASCE Jour Geotechnical Engr., v114, no. GT5, pp. 540-555, 1988 | ||
|
[85] |
DNV Recommended Practice DNV-RP-E303, Geotechnical Design and Installation of Suction Anchors in Clay, Det Norske Veritas | ||
|
[86] |
DAHLBERG R. and STRØM P.J. Unique Onshore Tests of Deepwater Drag-In Plate Anchors, Paper No. OTC 10989, Proceedings of the Offshore Technology Conference, Houston, 1999 | ||
|
[87] |
DNV Offshore Service Specification DNV-OSS-102, Rules for Classification of Floating Production and Storage Units, Det Norske Veritas | ||
|
[88] |
Technical Data Sheet 83-08R, Drag Embedment Anchors for Navy Moorings, Naval civil engineering laboratory, June 1987 | ||
|
[89] |
MORCH M., et al. Full-Scale Measurements of Free-Oscillation Motions of Two Semisubmersibles, Offshore Technology Conference, OTC 4532, Houston, 1983 | ||
|
[90] |
MATLOCK H. Correlations for Design of Laterally Loaded Piles in Soft Clay, Proc. Offshore Technology Conference, OTC Paper No. 1204, Houston, 1970 | ||
|
[91] |
BUITRAGO J. and ZETTLEMOYER N. Fatigue Design of Critical Girth Welds for Deepwater Applications, Proceedings, Offshore Mechanics and Arctic Engineering, Paper 98-2004, Lisbon, July 1998 | ||
|
[92] |
CONNELLY L.M. and ZETTLEMOYER N. Stress Concentrations at Girth Welds of Tubulars with Axial Wall Misalignment, Proceedings, 5th International Symposium Of Tubular Structures, Nottingham, U.K., August 1993 | ||
|
[93] |
BS 7608, Code of Practice for Fatigue Design and Assessment of Steel Structures, British Standards Institute | ||
|
[94] |
HUNT R.J., CHAN J.H-C. and DOYLE E.H. Driving Fatigue Estimation for Ursa TLP 96 OD Piles, Proceedings, 9th International Offshore and Polar Engineering Conference, Brest, France, May 1999 | ||
|
[95] |
BUITRAGO J. and WONG P.C. Fatigue Design of Driven Piles for Deepwater Applications, Proceedings, Vol. II, 13th International Offshore and Polar Engineering Conference, Honolulu, Hawaii, May 2003, pp. 726-733 | ||
|
[96] |
AL-AWADI, M.J. Suction Anchors, MSc. Thesis, University of Manchester Institute, Science and Technology, 1971 | ||
|
[97] |
HELFRICH S.C., BRAZILL R.L., and RICHARDS A.F. Pullout Characteristics of a Suction Anchor in Sand, Offshore Technology Conference, OTC 2469, Houston, 1976 | ||
|
[98] |
SCHOFIELD A.N. Suction Anchors Could Eliminate Pile Driving, Offshore Services, 7:3, 1974 | ||
|
[99] |
DENDANI H. and COLLIAT J-L. Girassol: Design Analysis and Installation of the Suction Anchors, Proc. Offshore Technology Conference, Houston, OTC 14209, 2002 | ||
|
[100] |
ANDERSEN K., MURFF J.D. and RANDOLPH M. Deepwater Anchor Design Practice - Phase II Report to API/Deepstar - Volume II- Suction Caisson Anchors, Report submitted to API/Deepstar, 2004 | ||
|
[101] |
SKEMPTON A.W. The bearing capacity of clays. Proceedings, Building Research Congress, London, 1951, pp. 180-189 | ||
|
[102] |
DENDANI H. and COLLIAT J-L. Girassol: Design Analysis and Installation of the Suction Anchors, Proc. Offshore Technology Conference, Houston, OTC 14209, 2002 | ||
|
[103] |
ANDERSEN K., MURFF J.D. and RANDOLPH M. Deepwater Anchor Design Practice - Phase II Report to API/Deepstar - Volume II- Suction Caisson Anchors, Report submitted to API/Deepstar, 2004 | ||
|
[104] |
ANDERSEN K., MURFF J.D. and RANDOLPH M. Deepwater Anchor Design Practice - Phase II Report to API/Deepstar - Volume II-4 Suction Caisson Anchors - Findings and Recommendations, Report submitted to API/Deepstar, 2004 | ||
|
[105] |
ANDERSEN K., MURFF J.D. and RANDOLPH M. Deepwater Anchor Design Practice - Phase II Report to API/Deepstar - Volume II-3 Suction Caisson Anchors - Back-calculation of Prototype Installation Behavior Report submitted to API/Deepstar, 2004 | ||
|
[106] |
ERBRICH C. and HEFER P. Installation of the Laminaria Suction Piles-ACase History, Proc. Offshore Technology Conference, Houston, OTC 14240, 2002 | ||
|
[107] |
ANDERSEN K., ANDRESEN L., JOSTAD H.P. and CLUKEY E. Effect of skirt tip geometry on set-up outside suction anchors in soft clays, Paper OMAE2004-51564, Proceedings 24th OMAE Conference, Vancouver, 2004 | ||
|
[108] |
CHEN W.F. Limit Analysis and Soil Plasticity, Elsevier Publishing Co., Amsterdam, The Netherlands, 1975 | ||
|
[109] |
RANDOLPH M.F. and HOULSBY G.T. The Limiting Pressure on a Circular Pile Loaded Laterally in Cohesive Soil, Geotechnique, London, England, 34(4), 1984, pp. 613-623 | ||
|
[110] |
ANDERSEN K.H. and JOSTAD H.P. Foundation Design of Skirted Foundations and Anchors in Clay, 31st Annual Offshore Technology Conference, OTC 10824, Houston, May 1999 | ||
|
[111] |
Norwegian Geotechnical Institute, Skirted Foundations and Anchors in Clay. State-of-the-Art Report, Joint Industry Project. NGI Report 524071-1. 15 December 1997. Confidential | ||
|
[112] |
MURFF J.D. and HAMILTON J.M. P-ultimate for undrained analysis of laterally loaded piles, Journal of Geotechnical Engineering, ASCE, Vol. 119, No. 1, 1993, pp. 91-107 | ||
|
[113] |
RANDOLPH M.F. and HOUSE A.R. Analysis of Suction Caisson Capacity in Clay, Paper No. OTC 14236, Proceedings of the Offshore Technology Conference, Houston, Texas, May 2002 | ||
|
[114] |
SPARREVIK P. Suction Anchor - A versatile Foundation Concept Finding Its Place in the Offshore Market, Proceedings of the 17th International Conference on Offshore Mechanics and Arctic Engineering, OMAE 98-3096, 1998 | ||
|
[115] |
RANDOLPH M., O'NEILL M.P. and STEWART D.P. Performance of Suction Anchors in Fine-Grained Calcareous Soils, Paper 8831, Proceedings, Offshore Technology Conference, 1998 | ||
|
[116] |
ANDERSEN K., MURFF J.D. and RANDOLPH M. Deepwater Anchor Design Practice - Phase II Report to API/Deepstar - Volume II-2 Suction Caisson Anchors - 3D Finite Element Analyses and Comparison with Simplified Capacity Prediction Methods, Report submitted to API/Deepstar, 2004 | ||
|
[117] |
MCCLELLAND B. and FOCHT J.A. Soil Modulus for Laterally Loaded Piles, Transactions ASCE, Vol. 123: 1049, 1958 | ||
|
[118] |
MATLOCK H. Applications of Numerical Methods to Some Structural Problems in Offshore Operations, Journal of Petroleum Technology, 1963, pp. 1040-1046 | ||
|
[119] |
HAMILTON J.M. and MURFF J.D. Ultimate Lateral Capacity of Piles in Clay, Proc. Offshore Technology Conference, OTC Paper No. 7667, Houston, May 1995 | ||
|
[120] |
GRANDE L. Samvirke mellom pel og jord. Lic. Techn. Thesis, NTH, Institute for Soil Mechanics and Foundation Engineering, Trondheim, Norway, 1976 | ||
|
[121] |
ANDERSEN K.H. and JOSTAD H.P. Shear Strength Along Outside Wall of Suction Anchors in Clay After Installation, Proceedings, 12th ISOPE Conference, ISOPE 10824, Houston, 2002 | ||
|
[122] |
Norwegian Geotechnical Institute. Skirted Foundation in Clay. State Of The Art. Set-Up Effects Outside Skirt Wall, Joint Industry Project, NGI Report 524071-2; 11 May 1999 | ||
|
[123] |
BOGARD D. Effective Stress and Axial Pile Capacity: Lessons Learned from Empire, OTC Paper 13059, May 2001 | ||
|
[124] |
WHITTLE A.J. and SUTABUTR T. Prediction of Pile Set-up in Clay, Transportation Research Record, 1663, 1999, pp. 33-41 | ||
|
[125] |
RANDOLPH M. and HOUSE A. Analysis of Suction Caisson Capacity in Clay, Proc. Offshore Technology Conference, OTC Paper 14236, Houston, 2002 | ||
|
[126] |
AUBENY C., HAN, S. and MURFF J.D. Refined Model for Inclined Load Capacity of Suction Caissons, Proceedings, 22nd International Conference on Offshore Mechanics and Arctic Engineering, Cancun, Mexico, 2003 | ||
|
[127] |
API Spec 2B, Specification for the Fabrication of Structural Steel Pipe, American Petroleum Institute | ||
|
[128] |
API Bulletin 2U, Stability Design of Cylindrical Shells, American Petroleum Institute | ||
|
[129] |
ИСО 9089 Сооружения морские. Передвижные морские основания. Брашпили и швартовные лебедки (Marine Structures - Mobile offshore units - Anchor winches) | ||
|
[130] |
KWAN C.T. Design Practice for Mooring of Floating Production Systems, Marine Technology, Volume 28, Number 1, January 1991 | ||
|
[131] |
DNV Offshore Standard DNV-OS-E302, Offshore Mooring Chain, Det Norske Veritas | ||
|
[132] |
API Bulletin 2V, Design of Flat Plate Structures, American Petroleum Institute | ||
|
[133] |
DNV Recommended Practice DNV-RP-C202, Buckling Strength of Shells, Det Norske Veritas | ||
|
[134] |
API RP 2A WSD. Recommended Practice for Planning, Designing and Constructing Fixed Offshore Platforms - Working Stress Design, American Petroleum Institute | ||
|
[135] |
DNV RP-C201 Recommended Practice DNV-RP-C201, Buckling Strength of plated structures, Det Norske Veritas | ||
|
[136] |
ANDERSEN K., MURFF J.D. and RANDOLPH M. Deepwater Anchor Design Practice - Phase II Report to API/Deepstar - Volume III - Vertically loaded Drag anchors, Report submitted to API/Deepstar, 2004 | ||
|
[137] |
ANDERSEN K., MURFF J.D. and RANDOLPH M. Deepwater Anchor Design Practice - Phase II Report to API/Deepstar - Volume III-4 - Vertically loaded Drag anchors - Findings and Recommendations, Report submitted to API/Deepstar, 2004 | ||
|
[138] |
RUINEN R. Penetration Analysis of Drag Embedment Anchors in Soft Clays, Proceedings 14th ISOPE Conference, Toulon, ISOPE, 2004 | ||
|
[139] |
MARINTEK Mooring Line Damping - Summary and Recommendations, FPS 2000 Mooring and Positioning Summary Report Part 1.5, January 23, 1992 | ||
|
[140] |
NDA, Corrosion Fatigue Testing of 76 mm Grade R3 & R4 Studless Mooring Chain, Joint Industry Study Report, Noble Denton & Associates, Inc., 15 May 2002 | ||
|
[141] |
BV NR 423, Corrosion protection of steel offshore units and installation, Bureau Veritas | ||
|
[142] |
DNV Recommended Practice DNV-RP-C401, Cathodic protection design | ||
|
[143] |
ИСО 10425 Канаты стальные проволочные для нефтяной и газовой промышленности. Минимальные требования и термины по приемке (Steel wire ropes for the petroleum and natural gas industries - Minimum requirements and terms of acceptance) | ||
|
[144] |
DNV Offshore Standard DNV-OS-E304, Offshore Mooring Steel Wire Ropes, Det Norske Veritas | ||
|
[145] |
ABS, Rules for Building and Classing Mobile Offshore Drilling Units, American Bureau of Shipping | ||
|
[146] |
ABS, Guide for Building and Classing Floating Production Installations, American Bureau of Shipping | ||
|
[147] |
ABS, Guidance Notes on the Application of Synthetic Ropes for Offshore Mooring, American Bureau of Shipping | ||
|
[148] |
BV Guidance Note Nl 493, Classification of Mooring Systems for Permanent Offshore Units, Bureau Veritas | ||
|
[149] |
DNV Offshore Service Specification DNV-OSS-101, Rules for Classification of Offshore Drilling and Support Units, Det Norske Veritas | ||
|
[150] |
LR, Rules and Regulations for the Classification of Mobile Offshore Units, Lloyd's Register of Shipping | ||
|
[151] |
BOSMAN R. New Facts on the Use of Dyneema Ropes in Offshore Applications, ISS, 2005 | ||
|
[152] |
ASME Section VIII, Division 1 Boiler and Pressure Vessel Code - Rules for Construction of Pressure Vessels, American Society of Mechanical Engineers | ||
|
[153] |
EN 13445 (all parts) EH 13445 (все части) Сосуды, работающие под давлением без огневого подвода теплоты (Unfired pressure vessels) | ||
|
[154] |
BV Rule Note NR 494, Rules for the Classification of Offshore Loading and Offloading Buoys, Bureau Veritas | ||
|
[155] |
IMCA M 140, Specification for DP Capability Plots, International Marine Contractors Association | ||
|
[156] |
IMO MODU Code, Code for the Construction and Equipment of Mobile Offshore Drilling Units, International Maritime Organization | ||
|
[157] |
IMO MSC/Circular 738, Guidelines for Dynamic Positioning System (DP) Operator Training, International Maritime Organization | ||
|
[158] |
IMCA M 103, Guidance for the Design and Operation of DP Vessels, International Marine Contractors Association | ||
|
[159] |
ABS, Rules for Building and Classing Offshore Installations, American Bureau of Shipping | ||
|
[160] |
BV Rule Notes NR 445 to 456, Rules for the Classification of Offshore Units, Bureau Veritas | ||
|
[161] |
LR, Rules and Regulations for the Classification of a Floating Offshore Installation at a Fixed Location, Lloyd's Register of Shipping | ||
|
[162] |
API RP 2I, Recommended Practice for In-Service Inspection of Mooring Hardware for Floating Structures, American Petroleum Institute | ||
|
[163] |
IMO MSC/Circular 645, Guidelines for Vessels with Dynamic Positioning Systems, International Maritime Organization | ||
|
[164] |
IMO Assembly Resolution A891(21), Recommendations on Training of Personnel on Mobile Offshore Units (MOUs), International Maritime Organization | ||
|
[165] |
API RP 2SM, Recommended Practice for Design, Manufacture, Installation, and Maintenance of Synthetic Fiber Ropes for Offshore Mooring, American Petroleum Institute | ||


