ГОСТ Р 58900-2020 ПРОФИЛИ СТАЛЬНЫЕ ЛИСТОВЫЕ ГНУТЫЕ С ТРАПЕЦИЕВИДНЫМИ ГОФРАМИ ДЛЯ СТРОИТЕЛЬСТВА. МЕТОД ИСПЫТАНИЙ НА НЕСУЩУЮ СПОСОБНОСТЬ
Steel sheet bent profiles with stair landings and railings for construction. Test method for bearing capacity
ОКС 77.140.70
Дата введения - 1 декабря 2020 г.
Введен впервые
Предисловие
1 Разработан Обществом с ограниченной ответственностью "ПСМ-Стандарт" (ООО "ПСМ-Стандарт"), Ассоциацией "Объединение участников бизнеса по развитию стального строительства" (АРСС), Обществом с ограниченной ответственностью "Проектная группа "Наш Город" (ООО "Проектная группа "Наш Город")
2 Внесен Техническим комитетом по стандартизации ТК 144 "Строительные материалы и изделия"
3 Утвержден и введен в действие Приказом Федерального агентства по техническому регулированию и метрологии от 30 июня 2020 г. N 313-ст
4 Введен впервые
Введение
Настоящий стандарт разработан впервые в развитие нормативной базы по стальным листовым гнутым профилям с трапециевидными гофрами, предназначенным для несущих и ограждающих конструкций объектов гражданского и промышленного строительства.
Задачей стандарта является разработка единых требований к методам испытаний на несущую способность стальных листовых гнутых профилей с трапециевидными гофрами для строительства, обеспечивающих безопасность и качество проведения испытаний. При разработке стандарта использованы результаты научных исследований, отечественный и зарубежный опыт проведения испытаний стальных листовых гнутых профилей с трапециевидными гофрами для строительства.
1.1 Настоящий стандарт распространяется на методы контрольных статических испытаний нагружением для оценки прочности и жесткости стальных листовых гнутых профилей с трапециевидными гофрами (далее - изделие).
Стандарт не устанавливает методы испытаний на воздействие многократно повторяющейся нагрузки. Методы статических испытаний и правила оценки их результатов, приведенные в настоящем стандарте, должны применяться для изделий, запроектированных для эксплуатации при статических нагрузках.
1.2 Настоящий стандарт распространяется на испытания, проводимые предприятиями - изготовителями стальных листовых гнутых профилей с трапециевидными гофрами; лабораториями, осуществляющими контрольные статические испытания изделий нагружением; органами по сертификации, а также проектными организациями, разрабатывающими проектную документацию, в которой предусматриваются такие испытания. Допускается использовать методы испытаний и правила оценки прочности и жесткости изделий, установленные в настоящем стандарте, при проведении исследовательских испытаний повторно проектируемых изделий.
1.3 Настоящий стандарт распространяется на стальные листовые гнутые профили с трапециевидными гофрами, изготовленные по ГОСТ 24045, иным техническим условиям или стандартам.
В настоящем стандарте использованы нормативные ссылки на следующие документы:
ГОСТ 166 (ИСО 3599-76) Штангенциркули. Технические условия
ГОСТ 577 Индикаторы часового типа с ценой деления 0,01 мм. Технические условия
ГОСТ 2405 Манометры, вакуумметры, мановакуумметры, напоромеры, тягомеры и тягонапоромеры. Общие технические условия
ГОСТ 7502 Рулетки измерительные металлические. Технические условия
ГОСТ 10197 Стойки и штативы для измерительных головок. Технические условия
ГОСТ 10528 Нивелиры. Общие технические условия
ГОСТ 10529 Теодолиты. Общие технические условия
ГОСТ 13837 Динамометры общего назначения. Технические условия
ГОСТ 24045 Профили стальные листовые гнутые с трапециевидными гофрами для строительства. Технические условия
ГОСТ 26433.1 Система обеспечения точности геометрических параметров в строительстве. Правила выполнения измерений. Элементы заводского изготовления
ГОСТ 27751 Надежность строительных конструкций и оснований. Основные положения
ГОСТ Р 8.736 Государственная система обеспечения единства измерений. Измерения прямые многократные. Методы обработки результатов измерений. Основные положения
ГОСТ Р 58901 Профили стальные листовые гнутые с трапециевидными гофрами для строительства. Методика расчета несущей способности
ГОСТ Р ИСО 16809 Контроль неразрушающий. Контроль ультразвуковой. Измерение толщины
СП 20.13330.2016 "СНиП 2.01.07-85* Нагрузки и воздействия"
СП 260.1325800.2016 Конструкции стальные тонкостенные из холодногнутых оцинкованных профилей и гофрированных листов. Правила проектирования
Примечание - При пользовании настоящим стандартом целесообразно проверить действие ссылочных стандартов (сводов правил) в информационной системе общего пользования - на официальном сайте Федерального агентства по техническому регулированию и метрологии в сети Интернет или по ежегодному информационному указателю "Национальные стандарты", который опубликован по состоянию на 1 января текущего года, и по выпускам ежемесячного информационного указателя "Национальные стандарты" за текущий год. Если заменен ссылочный документ, на который дана недатированная ссылка, то рекомендуется использовать действующую версию этого документа с учетом всех внесенных в данную версию изменений. Если заменен ссылочный документ, на который дана датированная ссылка, то рекомендуется использовать версию этого документа с указанным выше годом утверждения (принятия). Если после утверждения настоящего стандарта в ссылочный документ, на который дана датированная ссылка, внесено изменение, затрагивающее положение, на которое дана ссылка, то это положение рекомендуется применять без учета данного изменения. Если ссылочный документ отменен без замены, то положение, в котором дана ссылка на него, рекомендуется применять в части, не затрагивающей эту ссылку. Сведения о действии сводов правил целесообразно проверить в Федеральном информационном фонде стандартов.
В настоящем стандарте применены термины по ГОСТ 24045 и СП 260.1325800.2016, а также следующие термины с соответствующими определениями:
3.1 контрольные статические испытания нагружением: Испытания с помощью постепенно возрастающей прикладываемой к изделию внешней нагрузки, предназначенные для установления соответствия между контрольными и проектными значениями характеристик прочности и жесткости изделий.
3.2 контрольная нагрузка: Значение нагрузки, служащее одним из критериев для оценки пригодности изделий по результатам испытаний нагружением.
3.3 контрольный прогиб: Значение прогиба, зафиксированное приборами, при проведении испытания по жесткости.
3.4 контрольная разрушающая нагрузка (контрольная нагрузка по прочности): Нагрузка, зафиксированная приборами, при которой происходит разрушение испытуемого образца, включающая собственный вес изделия и вес вспомогательных устройств.
3.5 коэффициент безопасности: Коэффициент, определяющий степень повышения контрольной нагрузки по отношению к нагрузке на изделие, соответствующей его расчетной несущей способности.
3.6 равномерно-распределенные нагрузки: Сплошные нагрузки постоянной интенсивности.
3.7 сосредоточенные нагрузки: Нагрузки, действующие на поверхность, площадь которой пренебрежимо мала по сравнению с общей поверхностью изделия.
3.8 несущая способность: Свойство изделия сопротивляться воздействию механических нагрузок без разрушения и возникновения недопустимых деформаций (прогибов).
3.9 предельно допустимый прогиб: Наибольшее значение прогиба, установленное нормами проектирования для конструкции.
3.10 предельно допустимая нагрузка по жесткости: Значение контрольной нагрузки, при которой значение контрольного прогиба изделия не превышает и близко к предельно допустимому прогибу в пределах 10 %.
3.11 предельно допустимая нагрузка по прочности: Значение контрольной нагрузки, которое не превышает и близко к контрольной разрушающей нагрузке (контрольная нагрузка по прочности): в пределах 10 %.
3.12 проектная нагрузка: Значение нагрузки, вычисленное для данного изделия при заданной расчетной схеме с учетом указаний норм проектирования.
3.13 распределительная балка: Конструкция, которая позволяет равномерно передавать нагрузку по ширине сечения испытываемого образца при нагружении.
4.1 Контрольные испытания нагружением выполняют с целью комплексной проверки обеспечения технологическими процессами производства изделий требуемых показателей их прочности и жесткости, предусмотренных в стандарте на изготовление изделий или в проектной документации на эти изделия.
В результате испытаний изделия определяются значения предельно допустимой нагрузки по прочности (1-я группа предельных состояний) и предельно допустимой нагрузки по жесткости (2-я группа предельных состояний).
4.2 Оценка прочности и жесткости изделия осуществляется по результатам испытаний на основании сопоставления соответствующих значений предельно допустимой нагрузки с соответствующими значениями проектной нагрузки.
4.3 Контрольные испытания нагружением проводят перед началом массового изготовления новых изделий или при внесении в них конструктивных изменений, изменении технологии изготовления, вида и качества применяемых материалов; регулярно в процессе производства изделий для контроля качества изделий, а также в случае, когда проектной документацией предусматриваются такие испытания.
4.4 Проведение предусмотренных в настоящем стандарте контрольных испытаний изделий не освобождает предприятие-изготовитель от выполнения в процессе производства операционного и приемочного контроля изделий по показателям, характеризующим их соответствие техническим требованиям, установленным в стандартах и проектной документации на эти изделия.
4.5 Перечень данных для проведения испытаний, который приводится в программе испытаний, приведен в приложении А.
5.1 Для контроля показателей качества по несущей способности перед началом массового изготовления изделий и в дальнейшем при внесении в них конструктивных изменений или при изменении технологии изготовления отбирают по одному профилю из партии профилей.
5.2 Для контроля показателей качества по несущей способности при проведении регулярных испытаний профили отбирают в соответствии с требованиями, предусмотренными стандартами и техническими условиями. Если такие требования в стандартах или технических условиях отсутствуют, то отбирают по одному профилю из каждой третьей партии профилей
5.3 Отбор изделий для испытаний в случае, когда такие испытания предусматриваются проектной документацией, следует производить в соответствии с требованиями проектной документации на изделия конкретных видов в количестве, установленном этой документацией
6.1 При проведении испытаний для нагружения следует использовать оборудование, обеспечивающее возможность опирания конструкций и приложения к ним нагрузки по заданной схеме и позволяющее производить нагружение с погрешностью не более ± 5 % величины контрольной нагрузки.
Рекомендуется использовать для нагружения гидравлические или пневматические прессы, стенды с гидравлическими домкратами и насосными станциями или стенды с пневматическими домкратами и компрессорными станциями.
6.2 При использовании для нагружения штучных грузов (металлических чушек, бетонных блоков, кирпичей) эти грузы должны быть предварительно взвешены и замаркированы. Погрешность взвешивания не должна превышать ± 0,1 кг. Допускается использовать в качестве штучных грузов емкости с водой, ящики с песком или другими сыпучими материалами. Не допускается сплошное загружение испытательных образцов сыпучими материалами или водой.
6.3 Для измерения усилий следует применять манометры по ГОСТ 2405 и динамометры по ГОСТ 13837. В качестве динамометров допускается применять предварительно проградуированные по деформациям распределительные траверсы или металлические тяги, передающие нагружающее усилие на испытываемое изделие.
6.4 Для измерения прогибов и перемещений следует применять измерительные приборы и инструменты с ценой деления не более 0,1 мм. Рекомендуется использовать:
- прогибомеры механические и электрические;
- индикаторы часового типа по ГОСТ 577;
- штангенциркули по ГОСТ 166;
- нивелиры и теодолиты по ГОСТ 10528, ГОСТ 10529;
- стойки и штативы по ГОСТ 10197.
7.1.1 Испытания изделий следует проводить при положительной температуре воздуха. Изделия, хранившиеся при отрицательной температуре, должны быть предварительно выдержаны не менее 1 ч в помещении при температуре не ниже 15 °С. Перед испытанием образцы должны быть очищены от наледи, пыли, грязи и масла. Испытанию следует подвергать чистый сухой образец.
7.1.2 До начала проведения испытаний следует произвести контроль геометрической точности профилей на соответствие требованиям ГОСТ 24045 и на соответствие аналогичным требованиям, приведенным в технических условиях (ТУ), в том случае, когда изделие изготовлено по ТУ.
Изделия, не отвечающие требованиям по геометрической точности, к испытаниям не допускаются.
7.1.3 Перед началом проведения испытаний следует произвести замеры фактических геометрических параметров и толщинометрию изделия. Результаты замеров следует зафиксировать в протоколе испытаний и при необходимости использовать для анализа результатов испытаний.
7.2.1 Схемы опирания и нагружения изделий при испытаниях должны соответствовать установленным в стандартах на изготовление изделий или в проектной документации на изделия.
7.2.2 Схему опирания и нагружения изделия при испытании следует выбирать таким образом, чтобы она соответствовала условиям работы изделия в конструкциях зданий или сооружений на стадии эксплуатации, и чтобы при испытаниях по этой схеме достигались контролируемые предельные состояния.
Если при испытаниях по одной схеме опирания и нагружения нельзя проконтролировать все расчетные предельные состояния изделия, то следует предусматривать разные схемы испытаний для контроля разных предельных состояний.
При проведении испытаний допускается принимать схему опирания и нагружения, отличающуюся от указанной в проектной документации по согласованию с проектной организацией - разработчиком проектной документации на изделия, при условии, что соотношения усилий в расчетных сечениях будут такими же, как при расчете конструкций.
7.2.3 Для испытания стальных листовых гнутых профилей с трапециевидными гофрами следует использовать схемы 1-6.
Схема 1 - однопролетная свободно опертая балка, загруженная равномерно распределенной нагрузкой по всему пролету, работающей на изгиб в одном направлении (см. рисунок 1).

А, В - опоры: р - равномерно распределенная нагрузка; l - пролет балки
Рисунок 1 - Схема 1
Для соответствия испытываемого изделия схеме 1 рекомендуется:
- предусматривать соотношение размеров сторон изделия l/b > 2, где l - длинная сторона (длина изделия), b - короткая сторона (ширина изделия);
- принимать минимальную ширину изделия не менее трех гофров;
- принимать минимальную длину изделия такой, чтобы характер разрушения соответствовал потере общей устойчивости.
Схема 2 - двухпролетная неразрезная балка, загруженная равномерно распределенной нагрузкой (см. рисунок 2).

А, В, С - опоры; р - равномерно распределенная нагрузка; l - пролет между опорами балки
Рисунок 2 - Схема 2
Схема 3 - трехпролетная неразрезная балка, загруженная равномерно распределенной нагрузкой (см. рисунок 3).

А, В, С, D - опоры; р - равномерно распределенная нагрузка; l - пролет между опорами балки
Рисунок 3 - Схема 3
Схема 4 - четырехпролетная неразрезная балка, загруженная равномерно распределенной нагрузкой (см. рисунок 4).

A, В, С, D, Е - опоры; р - равномерно распределенная нагрузка; l - пролет между опорами балки
Рисунок 4 - Схема 4
Схема 5 - сосредоточенная нагрузка, приложенная в центре пролета (см. рисунок 5).

Р - сосредоточенная нагрузка; l - пролет балки
Рисунок 5 - Схема 5
Примечание - Многопролетные схемы испытаний достаточно ресурсоемкие. Допускается использовать схему 5 при проведении испытаний по определению несущей способности профиля на действие максимального изгибающего момента. Эпюры изгибающего момента и поперечной силы, получаемые по схеме 5, эквивалентны эпюрам надопорного участка при многопролетной схеме.
Схема 6 - сосредоточенная нагрузка, приложенная на заданном расстоянии (чистый изгиб), (см. рисунок 6).

Р - сосредоточенная нагрузка; а - расстояние от опоры до точки приложения сосредоточенной нагрузки; l - пролет балки
Рисунок 6 - Схема 6
7.2.4 Схему 6 (рисунок 6) рекомендуется использовать при проведении испытаний по определению несущей способности профиля при смятии на опоре, когда значение поперечной силы максимально при минимальном изгибающем моменте над опорой. Расстояние от опоры до точки приложения силы Р должно быть не менее пяти высот сечения профиля и не менее 1/6 пролета.
7.2.5 Допускается при проведении испытаний по определению несущей способности профиля при смятии на опоре использовать схему 5 (рисунок 5). В этом случае длина образца должна быть не менее 10 высот сечения профиля.
7.2.6 Испытания по схеме 1 проводят, используя штучные грузы (см. рисунок 7).

1 - испытываемый образец; 2 - неподвижная опора стенда; 3 - подвижная опора стенда; 4 - штучный груз; 5 - индикатор прогиба; lоп - ширина опирания стальных листовых гнутых профилей
Рисунок 7 - Схема испытательного стенда по схеме 1 - однопролетная балка
Нагружение штучными грузами следует производить в направлении от опор к середине, симметрично относительно середины пролета. Длина каждой группы таких грузов в направлении пролета не должна превышать 1/6 этого пролета. Расстояние между штучными грузами по всей высоте рядов должно быть не менее 50 мм. При загружении штучными грузами следует не допускать образования самонесущих сводов.
7.2.7 Испытания по многопролетным схемам проводят аналогично испытаниям по однопролетной схеме, используя штучные грузы. При проведении испытания по любой многопролетной схеме следует предусматривать одну опору неподвижную при всех остальных шарнирно подвижных опорах. При этом загружающие устройства и сами опоры не должны препятствовать перемещению испытуемого образца вдоль пролета.
7.2.8 При проведении испытания по схеме 5 - сосредоточенная нагрузка, приложенная в центре пролета, следует предусматривать устройство поперечной распределительной балки (см. рисунок 8). Сосредоточенные силы создаются посредством системы рычагов и распределительных балок, передающих на испытываемое изделие нагрузку от домкратов или платформ с грузами.

1 - испытываемый образец; 2 - неподвижная опора стенда; 3 - подвижная опора стенда; 4 - поперечная распределительная балка; 5 - индикатор прогиба
Рисунок 8 - Схема испытательного стенда по схеме 5 - сосредоточенная нагрузка, приложенная в центре пролета
7.2.9 При проведении испытания по схеме 6 следует предусматривать устройство двух поперечных распределительных балок и траверсы (рисунок 9).

1 - испытываемый образец; 2 - неподвижная опора стенда; 3 - подвижная опора стенда; 4 - поперечная распределительная балка; 5 - траверса; 6 - неподвижная опора траверсы; 7 - подвижная опора траверсы; 8 - индикатор прогиба
Рисунок 9 - Схема испытательного стенда по схеме 6 - сосредоточенная нагрузка, приложенная на заданном расстоянии
При передаче сосредоточенной нагрузки при помощи траверсы последняя должна опираться на испытываемый образец не более чем в двух местах, причем одна из опор должна иметь возможность свободного перемещения вдоль распределительной балки.
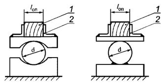
7.2.10 Изделия, указанные на схемах испытаний как однопролетные свободно опертые и работающие в одном направлении, следует опирать при испытаниях на две шарнирные линейные опоры, расположенные по концам изделия, одна из которых должна быть неподвижной, а другая - подвижной, допускающей перемещение изделия вдоль пролета. Схемы опор приведены на рисунке 10.
|
|
|
|
а) Подвижная опора |
б), в) Неподвижные опоры |
1 - деревянный брусок; 2 - стальной уголок; 3 - стальная пластина
Рисунок 10 - Схемы опор для испытаний
В случаях, когда свободному перемещению испытываемого образца вдоль пролета препятствуют загрузочные устройства стендов, обе опоры должны быть подвижными.
7.2.11 В качестве подвижных линейных опор следует применять стальные цилиндрические катки, свободно укладываемые между стальными плитами. Неподвижные опоры могут быть получены путем предотвращения свободного перемещения таких катков. Диаметр цилиндрических катков принимается в зависимости от площадки опирания образца, но не менее 50 мм.
7.2.12 Расположение и размеры опор испытываемых изделий должны при испытаниях соответствовать указанным на схемах испытаний и в пояснениях к ним или определяться в зависимости от данных, принятых при расчете изделий.
7.2.13 Опирание испытываемого изделия на шарнирные опоры должно осуществляться через стальные плиты, симметрично расположенные относительно оси опоры.
7.2.14 Для закрепления изделия на стальной плите следует предусматривать деревянный брусок. Стальные листовые гнутые профили с трапециевидными гофрами следует крепить непосредственно к деревянному бруску при помощи самонарезающих винтов. Шаг крепления определяется программой испытаний.
Прочность бруска должна быть достаточной для восприятия нагрузки на опорах.
После определенного количества испытаний брусок подлежит замене.
Площадь деревянного бруска принимают равной минимальной площади опирания, предусмотренной в проектной документации. При этом размер бруска в направлении пролета принимают равным минимальной ширине опирания стальных листовых гнутых профилей lоп, а толщину стальных плит - не менее 1/6 этого размера.
8.1 Следует проводить контрольные испытания нагружением по прочности и жесткости на одном образце для комплексной оценки результатов испытаний.
При контрольных испытаниях изделия следует доводить до разрушения, что характеризуется следующими признаками:
а) при испытаниях в гидравлических и пневматических установках - непрерывное нарастание прогибов при практически неизменной достигнутой максимальной нагрузке либо резкое снижение нагрузки после достижения ее максимального значения;
б) при испытаниях нагружением штучными грузами - резкое нарастание прогибов.
Допускается проводить испытания по прочности и жесткости на разных образцах, но взятых из одной партии. В случае, когда испытания по жесткости проводятся отдельно, изделия допускается не доводить до разрушения, а проводить до достижения показателей контрольной нагрузки по жесткости.
8.2 Значения нагрузок в процессе испытаний должны регистрироваться либо по показаниям приборов и приспособлений, установленных на испытательном оборудовании, либо по массе штучных грузов, используемых для нагружения.
8.3 Нагружение испытываемых изделий должно соответствовать схеме испытаний, приведенной в программе испытаний.
8.4 Последовательность загружения испытываемых изделий должна быть указана в программе испытаний с учетом следующих требований:
а) определить расчетом или прямым взвешиванием нагрузку от собственной массы изделия;
б) нагрузку следует прикладывать поэтапно ступенями (долями), каждая из которых не должна превышать 10 % проектной нагрузки по прочности и 20 % проектной нагрузки по жесткости;
в) при каждом этапе нагружения нагрузка во всех точках ее приложения должна возрастать пропорционально величинам нагрузок, прикладываемых в соответствии со схемой испытаний на соответствующих участках испытываемого изделия;
г) следует не допускать неравномерного загружения испытываемого изделия при испытании штучными грузами;
д) перед проведением испытаний определяют значения необходимых прогибов.
8.5 После приложения каждой доли нагрузки испытываемое изделие следует выдерживать под нагрузкой не менее 5 мин.
8.6 Во время выдержки под нагрузкой следует производить тщательный осмотр поверхности изделия и фиксировать:
- величину нагрузки каждого этапа нагружения и соответствующие результаты измерения прогиба;
- величину контрольного прогиба при достижении контрольной нагрузки по жесткости;
- значение контрольной разрушающей нагрузки и характер разрушения изделия.
Непосредственное измерение прогибов при испытании по прочности разрешается производить до достижения уровня нагрузки, составляющего 80 % контрольной разрушающей нагрузки. При нагрузках, превышающих этот уровень, наблюдение за приборами следует производить на безопасном расстоянии от испытываемого изделия с использованием оптических приборов (биноклей, нивелиров, теодолитов).
8.7 Испытания по жесткости при определении значения предельной нагрузки по жесткости выполняют следующим образом: в ходе испытания производят постепенное нагружение изделия с заданным шагом и снимают показания. В приближении к критическому значению контрольной нагрузки шаг нагружения и снятия показаний уменьшают. Критическое значение принимают не более 70 % от значения контрольной нагрузки. После достижения контрольной нагрузки испытания останавливают и фиксируют значение контрольного прогиба.
8.8 При испытании изделия по однопролетной балочной схеме прогибы следует измерять по середине ширины изделия и по противоположным краям изделия в середине его пролета, принимая за значения прогиба среднее арифметическое этих измерений. Допускается измерять прогибы в любых точках, если это предусмотрено программой испытаний.
8.9 При испытании изделия по многопролетной схеме прогибы следует измерять по длине пролета в точках, указанных в программе испытаний. Для каждой указанной точки показания по ширине изделия фиксируются в середине его пролета по ширине и по противоположным краям изделия, принимая за значения прогиба среднее арифметическое этих измерений.
8.10 Результаты измерений во время испытаний обрабатывают в соответствии с ГОСТ Р 8.736.
8.11 Во время проведения испытания необходимо принимать меры к обеспечению безопасности работ.
Испытания следует проводить на специально отведенном участке, куда запрещается доступ посторонним лицам.
Испытания рекомендуется проводить на установках, обеспечивающих дистанционное загружение конструкций и проведение необходимых измерений.
При испытании должны приниматься меры по предотвращению обрушения испытываемой конструкции, загрузочных устройств и загружающих материалов (штучных грузов, сыпучих материалов и т.п.).
Для этого следует:
- установить страховочные опоры вблизи несущих опор и в середине пролета конструкции;
- поддерживать в процессе нагружения минимально возможное по условиям испытания расстояние между конструкцией и страховочными опорами для предотвращения удара от разрушения конструкции;
- раскреплять тягами к основанию, соединять между собой или подвешивать к установке элементы загрузочных устройств.
Все предохранительные приспособления не должны препятствовать свободному прогибу конструкции до момента разрушения.
8.12 При испытании изделий больших пролетов должны приниматься меры к обеспечению их устойчивости. Применяемые для этих целей устройства не должны препятствовать их перемещению в плоскости действия сил.
9.1.1 Прочность испытываемого изделия оценивают по значениям максимальной (разрушающей) нагрузки, зарегистрированной к моменту проявления признаков, свидетельствующих об исчерпании несущей способности, см. 8.1.
9.1.2 Оценка прочности проводится на основании сопоставления контрольной разрушающей нагрузки с проектной разрушающей нагрузкой, установленной в программе испытаний.
9.1.3 Значение контрольной нагрузки по проверке прочности изделия следует определять умножением на коэффициент безопасности значения нагрузки, соответствующей несущей способности изделия, определенной расчетом с учетом расчетных сопротивлений материалов и принятой схемы нагружения.
9.1.4 Изделия признают удовлетворяющими предъявляемым требованиям по прочности, если выполняется следующее условие: при испытании изделия контрольная разрушающая нагрузка превышает проектную разрушающую нагрузку или составляет не менее 100 % проектной нагрузки.
9.2.1 Для изделия, подвергающемуся испытанию по жесткости, предварительно перед испытаниями определяют значение предельно допустимого прогиба в соответствии с требованиями СП 20.13330.2016 и требованиями ГОСТ Р 58901 при заданной нагрузке и длине.
9.2.2 Оценку жесткости по результатам испытаний следует выполнять, сравнивая контрольный прогиб изделия, определенный во время испытания, с проектным прогибом, определенным аналитическим путем от заданного значения контрольной нагрузки по жесткости.
Проектный прогиб от контрольной нагрузки по жесткости определяется в соответствии с приложением Б. Проектный прогиб не должен превышать предельно допустимый прогиб, определенный с учетом требований СП 20.13330.2016.
Значение контрольной нагрузки следует определять программой испытаний.
9.2.3 При оценке жесткости значение нагрузки признается равным значению контрольной нагрузки по жесткости, когда суммарная нагрузка на изделие, включающая дополнительно прикладываемую нагрузку, а также нагрузку от собственного веса изделия и от массы загрузочных устройств, достигает контрольного значения.
9.2.4 В случае, когда контрольный прогиб не превышает проектный прогиб от контрольной нагрузки по жесткости, изделие признают выдержавшим испытание нагружением по жесткости.
9.3.1 Проверяемые изделия признают годными по показателям прочности и жесткости, если отобранные для испытаний образцы выдержали все предусмотренные испытания по этим показателям.
9.3.2 Проверяемые изделия признают соответствующими требованиям двух групп предельных состояний по ГОСТ 27751, если отобранные для испытаний образцы признаны годными по показателям прочности и жесткости настоящего стандарта.
10.1 Результаты испытаний, проведенных в соответствии с настоящим стандартом, следует заносить в протокол и оформлять акт.
В зависимости от организации, которая проводила испытания, протокол следует хранить в лаборатории или в отделе технического контроля (ОТК) предприятия-изготовителя, либо в испытательной лаборатории органа по сертификации, либо в проектной организации, если такие испытания были предусмотрены проектной документацией.
10.2 Протокол испытаний должен содержать следующие сведения по испытаниям каждого изделия:
- шифр протокола испытаний;
- дату проведения испытаний;
- наименование Заказчика, основание и цель проведения испытаний;
- наименование и марку испытываемого изделия;
- дату изготовления изделия, номер партии;
- условия хранения изделия до испытаний;
- марку стали и/или оцинкованного проката, из которого изготовлено изделие;
- механические характеристики изделия в соответствии с сертификатами качества;
- фактические геометрические характеристики изделия, определенные с учетом требований ГОСТ 26433.1;
- данные по определению толщинометрии изделия в соответствии с требованиями ГОСТ Р ИСО 16809;
- принятую схему испытаний и принятое расположение широких гофр;
- расчетный пролет l и ширину изделия b, параметры которых измеряют рулеткой по ГОСТ 7502;
- собственную массу изделия (расчетную или измеренную);
- массу распределительной балки;
- массу загрузочных устройств;
- значения контрольных нагрузок по прочности и жесткости;
- значения проектной разрушающей нагрузки и проектных прогибов;
- фотофиксацию испытательного стенда, загрузочных устройств, штучных грузов при наличии, показаний приборов на всех этапах нагружения и при достижении контрольных нагрузок по прочности и жесткости;
- результаты испытаний: контрольную разрушающую нагрузку и характер разрушения изделия, критерий потери несущей способности, контрольный прогиб;
- результаты оценки по прочности и жесткости.
10.3 При испытаниях двух и более образцов изделий одной марки общие сведения указывают в протоколе один раз, а регистрируемые значения характеристик следует приводить для каждого образца в отдельности. При испытаниях разных образцов изделий одной марки по разным группам показателей регистрируемые значения характеристик следует приводить для каждого испытания.
10.4 Протокол испытания должен быть заверен:
- лицом, ответственным за проведение испытания;
- руководителем службы технического контроля;
- начальником лаборатории, проводившей испытания;
- представителем проектной организации, в случае, когда проектной документацией предусмотрены испытания изделия на несущую способность.
Протокол должен быть подписан руководителем организации, проводившей испытания.
10.5 Результаты оценки прочности и жесткости изделий на основании проведенных испытаний должны быть оформлены актом, в котором указывают максимальные отклонения зарегистрированных показателей от соответствующих контрольных значений и выводы о соответствии изготовляемых изделий, образцы которых подвергнуты испытаниям, стандарту или проектной документации по характеристикам прочности и жесткости.
Акт должен быть подписан уполномоченными лицами - представителями Заказчика испытаний, предприятия - изготовителя и/или поставщика профилей, организации, осуществляющей монтаж изделия при необходимости, а также представителем проектной организации, в случае, когда проектной документацией предусмотрены испытания изделия на несущую способность.
Приложение А
(обязательное)
Программа испытаний должна содержать следующие сведения по испытаниям изделия:
- наименование Заказчика, основание и цель проведения испытаний;
- тип испытаний (перед началом массового изготовления новых изделий, периодическое и прочее);
- число изделий, подлежащих испытаниям;
- наименование и марку испытываемого изделия;
- геометрические характеристики изделия согласно стандарту на изготовление изделия;
- сведения о характере работы изделия в конструкциях зданий или сооружений, диапазон эксплуатационных нагрузок, минимальные размеры опирания изделия при эксплуатации;
- схему испытаний, расчетный пролет, принятое расположение широких гофр;
- собственную массу изделия согласно стандарту на изготовление изделия;
- массу распределительной балки;
- массу загрузочных устройств;
- значения проектных нагрузок по прочности, при этом следует указывать ожидаемый характер разрушения изделия при испытании;
- значения проектных нагрузок по жесткости, проектных прогибов;
- указания по фотофиксации.
Приложение Б
(обязательное)
|
Расчетная схема |
Формула для определения проектного прогиба * |
|
|
|
|
|
|
|
|
|
|
* При определении проектного прогиба для профилей стальных листовых гнутых с трапециевидными гофрами следует руководствоваться указаниями СП 260.1325800.2016 по учету редукции сечения. | |







