Утв. и введен в действие приказом Федерального агентства по техническому регулированию и метрологии от 21 июля 2020 г. N 386-ст
Национальный стандарт РФ ГОСТ Р 58933-2020
"ШПОНКИ МЕТАЛЛИЧЕСКИЕ КОЛЬЦЕВЫЕ ДЛЯ ДЕРЕВЯННЫХ КОНСТРУКЦИЙ. ТЕХНИЧЕСКИЕ УСЛОВИЯ"
Key metal ring for timber structures. Specifications
ОКС 91.080.20
Дата введения - 1 января 2021 г.
Введен впервые
Предисловие
1 Подготовлен Центральным научно-исследовательским институтом строительных конструкций им. В.А. Кучеренко (ЦНИИСК им. В.А. Кучеренко) Акционерного общества "Научно-исследовательский центр "Строительство" (АО "НИЦ "Строительство")
2 Внесен Техническим комитетом по стандартизации ТК 465 "Строительство"
3 Утвержден и введен в действие Приказом Федерального агентства по техническому регулированию и метрологии от 21 июля 2020 г. N 386-ст
4 Настоящий стандарт соответствует европейскому стандарту ЕН 912:2011 "Детали крепежные для деревянных изделий. Технические требования к соединительным элементам для древесины" (EN 912:2011 "Timber fasteners - Specifications for connectors for timber", NEQ) в части формы и размеров кольцевых шпонок
5 Введен впервые
1 Область применения
Настоящий стандарт устанавливает требования к кольцевым металлическим шпонкам, изготовленным из стали, сплавов алюминия или чугуна, используемым в качестве соединителей для элементов деревянных конструкций, воспринимающих усилия сдвига между соединяемыми элементами.
Настоящий стандарт не устанавливает требований к отбору образцов шпонок и соединений по определению их характеристик, а также к условиям эксплуатации таких соединений. Данные требования приведены в соответствующих стандартах.
2 Нормативные ссылки
В настоящем стандарте использованы нормативные ссылки на следующие стандарты:
ГОСТ 9.301 Единая система защиты от коррозии и старения. Покрытия металлические и неорганические. Общие требования
ГОСТ 1412 Чугун с пластинчатым графитом для отливок. Марки
ГОСТ 1583 Сплавы алюминиевые литейные. Технические условия
ГОСТ 5632 Легированные нержавеющие стали и сплавы коррозионно-стойкие, жаростойкие и жаропрочные. Марки
Примечание - При пользовании настоящим стандартом целесообразно проверить действие ссылочных стандартов в информационной системе общего пользования - на официальном сайте Федерального агентства по техническому регулированию и метрологии в сети Интернет или по ежегодному информационному указателю "Национальные стандарты", который опубликован по состоянию на 1 января текущего года, и по выпускам ежемесячного информационного указателя "Национальные стандарты" за текущий год. Если заменен ссылочный стандарт, на который дана недатированная ссылка, то рекомендуется использовать действующую версию этого стандарта с учетом всех внесенных в данную версию изменений. Если заменен ссылочный стандарт, на который дана датированная ссылка, то рекомендуется использовать версию этого стандарта с указанным выше годом утверждения (принятия). Если после утверждения настоящего стандарта в ссылочный стандарт, на который дана датированная ссылка, внесено изменение, затрагивающее положение, на которое дана ссылка, то это положение рекомендуется применять без учета данного изменения. Если ссылочный стандарт отменен без замены, то положение, в котором дана ссылка на него, рекомендуется применять в части, не затрагивающей эту ссылку.
3 Термины и определения
В настоящем стандарте применены следующие термины с соответствующими определениями:
3.1 соединительный элемент: Деталь в форме круглой пластины или кольца, которая частично вставлена в одну из контактирующих поверхностей двух элементов, скрепленных вместе соединительным болтом, способная передавать усилие сдвига от одного элемента к другому.
3.2 двухсторонний соединитель: Соединительный элемент, симметричный в поперечном разрезе и вставленный в каждую контактирующую поверхность двух смежных деревянных элементов.
3.3 односторонний соединитель: Соединительный элемент, вставленный в деревянную контактирующую поверхность только на одной стороне.
3.4 кольцевая шпонка: Двухсторонний соединительный элемент в форме замкнутого кольца или кольца, разрезанного в одном месте.
3.5 односторонняя кольцевая шпонка: Односторонний соединительный элемент, выполненный из круглой пластины с фланцем по периметру пластины.
4 Обозначения
В настоящем стандарте применены следующие обозначения:
а - ширина прорези, мм;
а1 - высота гребня, мм;
а2 - ширина гребня, мм;
а3 - ширина паза, мм;
dc - диаметр шпонки (круглой пластины), мм;
hc - общая высота шпонки, мм;
r - радиус кривизны поверхности кольца шпонки, мм;
t - номинальная толщина кольца шпонки, мм;
t1 - минимальная толщина кольца шпонки, мм;
t2 - максимальная толщина кольца шпонки, мм.
5 Требования
5.1 Общие требования
5.1.1 Соединения элементов деревянных конструкций с использованием кольцевых шпонок относятся к соединениям на механических связях.
5.1.2 В зависимости от условий эксплуатации кольцевые шпонки должны иметь антикоррозионное покрытие в соответствии с ГОСТ 9.301.
5.1.3 Кольцевые шпонки следует использовать в соединениях элементов деревянных конструкций, работающих на сдвиг.
5.2 Классификация кольцевых шпонок
5.2.1 Кольцевые шпонки по своей форме, размерам, используемым материалам подразделяются на несколько типов (см. приложение А).
5.2.2 Кольцевые шпонки могут изготовляться из алюминиевых сплавов, стали и чугуна.
6 Маркировка
Каждая поставляемая кольцевая шпонка маркируется изготовителем. В маркировке указываются обозначение настоящего стандарта, группа, тип шпонки в соответствии с приложением А и номинальный размер (диаметр).
Приложение А
(обязательное)
Технические требования для кольцевых шпонок
А.1 Кольцевые шпонки типа А-1
А.1.1 Общая характеристика
Кольцевая шпонка типа А-1 (рисунок А.1) - это соединительный элемент в виде замкнутого кольца с поперечным сечением в форме линзы. Шпонки этого типа должны соответствовать размерам, приведенным в таблице А.1.

Рисунок А.1 - Схема кольцевой шпонки типа А-1
Таблица А.1 - Размеры кольцевых шпонок типа А-1
|
Диаметр dc, мм
|
Высота hc, мм
|
Толщина t, мм
|
Радиус r, мм
|
|
65
|
30
|
5
|
50
|
|
80
|
30
|
6
|
50
|
|
95
|
30
|
6
|
60
|
|
126
|
30
|
6
|
60
|
|
128
|
45
|
8
|
60
|
|
160
|
45
|
10
|
60
|
|
190
|
45
|
10
|
60
|
Для данного типа шпонок допуски по всем размерам должны быть ± 0,5 мм.
А.1.2 Материал
Кольцевые шпонки типа А-1 изготовляют из алюминиевого литейного сплава АК8М3ч согласно ГОСТ 1583.
А.2 Кольцевые шпонки типа А-2
А.2.1 Общая характеристика
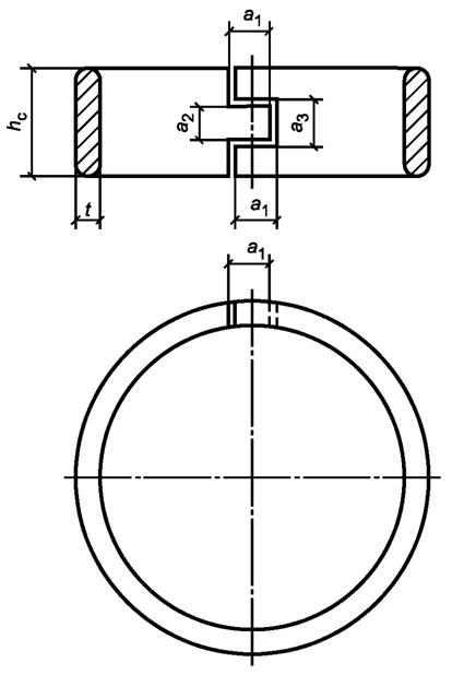
Кольцевая шпонка типа А-2 - это соединительный элемент в виде кольца с разрезом в одном месте окружности в форме "паз-гребень" (рисунок А.2). Шпонки этого типа должны соответствовать размерам, приведенным в таблице А.2.

Рисунок А.2 - Схема кольцевой шпонки типа А-2
Таблица А.2 - Размеры кольцевых шпонок типа А-2
|
Номинальный диаметр, мм
|
Диаметр dc, мм
|
Высота hc, мм
|
Толщина t, мм
|
Высота гребня a1, мм
|
Ширина гребня а2, мм
|
Ширина паза а3, мм
|
|
64
|
72,0
|
19,0
|
4,1
|
9,0
|
6,5
|
7,0
|
Для данного типа шпонок допуски по толщине t - ± 0,1 мм, диаметру dc - ± 0,75 мм, а для всех других размеров - ± 0,25 мм.
А.2.2 Материал
Кольцевые шпонки типа А-2 изготовляют из горячекатаных стальных полос из легированной стали марки 12X17 по ГОСТ 5632.
А.3 Кольцевые шпонки типа А-3
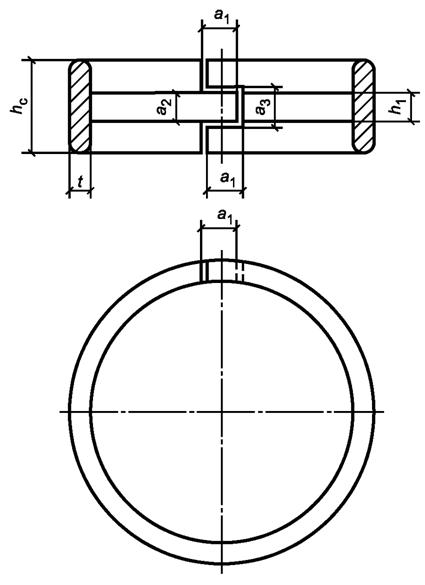
А.3.1 Общая характеристика
Кольцевые шпонки типа А-3 - это соединительный элемент с двухсторонним скосом кромок с разрезом в одном месте окружности в форме "паз-гребень" (рисунок А.3).
Шпонки данного типа должны соответствовать размерам, приведенным в таблице А.3.

1 - необрезанная кромка круга
Рисунок А.3 - Схема кольцевой шпонки типа А-3
Таблица А.3 - Размеры кольцевых шпонок типа А-3
|
Номинальный диаметр, мм
|
Диаметр dc, мм
|
Высота hc, мм
|
Толщина t, мм
|
Высота прямоугольного участка h1, мм
|
Радиус r, мм
|
Высота гребня a1, мм
|
Ширина гребня а2, мм
|
Ширина паза а3, мм
|
|
64
|
72,0
|
19,0
|
4,1
|
6,5
|
1,5
|
9,0
|
6,5
|
7,0
|
|
102
|
112,0
|
25,4
|
4,9
|
8,3
|
1,7
|
9,0
|
8,3
|
9,0
|
Для данного типа шпонок допуски по толщине t - ± 0,10 мм, диаметру dc - ± 0,75 мм и для прочих размеров - ± 0,25 мм.
А.3.2 Материал
Кольцевые шпонки типа А-3 изготовляют из горячекатаных стальных полос из легированной стали марки 12X17 по ГОСТ 5632.
А.4 Кольцевые шпонки типа А-4
А.4.1 Общая характеристика
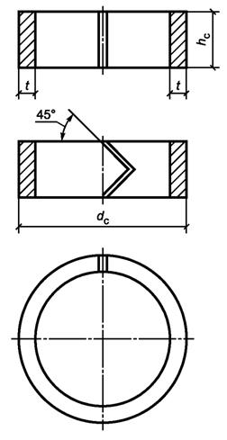
Кольцевые шпонки типа А-4 - это соединительный элемент в виде замкнутого кольца с двухсторонним скосом кромок. В шпонках диаметром dc > 60 мм выполняется разрез кольца V-образной формы (рисунок А.4). Угол наклона граней разреза к горизонтальной плоскости шпонки составляет 45°. Шпонки данного типа должны соответствовать размерам, приведенным в таблице А.4.
Для данного типа шпонок допуски: по толщине t - ± 0,5 мм для t ≤ 9 мм; t - ± 0,7 мм для t ≥ 10 мм; по высоте hc - ± 0,5 мм для hc ≤ 36 мм и hc - ± 0,7 мм для hc ≥ 40 мм; для угла 45° - ± 1°; для диаметра dc, без разреза - + 1,0 мм и - 0,5 мм.

Рисунок А.4 - Схема кольцевой шпонки типа А-4
Таблица А.4 - Размеры кольцевых шпонок типа А-4
|
Диаметр dc, мм
|
Высота hc, мм
|
Толщина t, мм
|
Радиус r, мм
|
Ширина разреза а, мм
|
|
60
|
18
|
5
|
36
|
-
|
|
80
|
22
|
6
|
48
|
2
|
|
100
|
26
|
7
|
60
|
2
|
|
120
|
30
|
8
|
72
|
2
|
|
140
|
36
|
9
|
84
|
4
|
|
160
|
40
|
10
|
96
|
4
|
|
180
|
46
|
10
|
108
|
4
|
|
200
|
50
|
11
|
120
|
4
|
А.4.2 Материал
Кольцевые шпонки типа А-4 изготовляют из серого чугуна СЧ15 или СЧ20 в соответствии с ГОСТ 1412.
А.5 Кольцевые шпонки типа А-5
А.5.1 Общая характеристика
Кольцевые шпонки типа А-5 - это соединительный элемент с прямоугольным поперечным сечением с разрезом окружности (рис. А.5). Разрез имеет V-образную форму. Шпонки данного типа должны соответствовать размерам, приведенным в таблице А.5.
Таблица А.5 - Размеры кольцевых шпонок типа А-5
|
Диаметр dc, мм
|
Высота hc, мм
|
Толщина t, мм
|
|
88
|
20
|
4
|
|
108
|
24
|
4
|
|
130
|
27
|
5
|
|
152
|
30
|
6
|
|
174
|
33
|
7
|
|
196
|
36
|
8
|
|
216
|
40
|
8
|
|
236
|
45
|
8
|
|
260
|
50
|
10
|
Для данного типа шпонок допуски: по толщине t - ± 0,5 мм; по высоте hc - ± 0,75 мм для hc ≤ 36 мм и hc - ± 1,0 мм для hc ≥ 36 мм; для диаметра dc - + 1,0 мм.

Рисунок А.5 - Схема кольцевой шпонки типа А-5
А.5.2 Материал
Кольцевые шпонки типа С-5 изготовляют из горячекатаных стальных полос из легированной стали марки 12X17 по ГОСТ 5632.
А.6 Кольцевые шпонки типа А-6
А.6.1 Общая характеристика
Кольцевая шпонка типа А-6 (рисунок А.6) - это соединительный элемент с поперечным сечением кольца в виде трапеции (тип А-6а) или ромба (тип А-6б). В каждой шпонке сделан V-образный разрез. Угол между направлением разреза и плоскостью окружности равен 60°. Шпонки данного типа должны соответствовать размерам, приведенным в таблице А.6.

а - тип А-6а; б - тип А-6б
Рисунок А.6 - Схема кольцевых шпонок типа А-6
Таблица А.6 - Размеры кольцевых шпонок типа А-6
|
Тип
|
Диаметр dc, мм
|
Высота hc, мм
|
Толщина t1, мм
|
Максимальная толщина t2, мм
|
Ширина разреза а, мм
|
|
А-6а
|
75
|
22
|
4
|
5,5
|
3
|
|
А-6б
|
100
|
26
|
4
|
7
|
4
|
|
А-6а
|
125
|
30
|
5,5
|
7
|
4
|
|
А-6б
|
150
|
38
|
6,5
|
8
|
4
|
Для данного типа шпонок допуски: по толщине t1 - ± 1,0 мм; максимальной толщине t2 - ± 1,0 мм; по высоте hc - ± 1,0 мм; для диаметра dc - + 1,5 мм и угла - ± 1°.
А.6.2 Материал
Кольцевые шпонки типа А-6 изготовляют из серого чугуна марки СЧ25 в соответствии с ГОСТ 1412.