ГОСТ Р 58808-2020 АВТОТРАНСПОРТНЫЕ СРЕДСТВА. СИСТЕМЫ МОНИТОРИНГА СЛЕПЫХ ЗОН. ОБЩИЕ ТЕХНИЧЕСКИЕ ТРЕБОВАНИЯ И МЕТОДЫ ИСПЫТАНИЙ
Motor vehicles. Monitoring systems of the blind zones. General technical requirements and test methods
ОКС 35.240.60
Дата введения - 1 июня 2020 г.
Введен впервые
Предисловие
1 Разработан Федеральным государственным унитарным предприятием "Центральный ордена Трудового Красного Знамени научно-исследовательский автомобильный и автомоторный институт "НАМИ" (ФГУП "НАМИ")
2 Внесен Техническим комитетом по стандартизации ТК 56 "Дорожный транспорт"
3 Утвержден и введен в действие Приказом Федерального агентства по техническому регулированию и метрологии от 20 февраля 2020 г. N 70-ст
4 Введен впервые
Введение
Система мониторинга слепых зон информирует водителя о возможном столкновении, которое может произойти в результате смены полосы движения. Система мониторинга слепых зон предназначена для дополнения внутренних и внешних зеркал заднего вида, и не предназначена для их замены. Система мониторинга слепых зон предназначена для обнаружения транспортных средств в "слепых" зонах, определенных для каждой категории транспортных средств. Система мониторинга слепых зон оценивает обстановку и сигнализирует водителю, что в данный момент времени этот маневр не рекомендован. Когда водитель транспортного средства-объекта намеревается сменить полосу движения, он руководствуется информацией от системы мониторинга слепых зон. Система мониторинга слепых зон не предназначена для поощрения агрессивного вождения. Отсутствие предупреждения со стороны системы не гарантирует, что водитель может безопасно совершить маневр смены полосы движения. Система не предпринимает никаких автоматических действий для предотвращения возможного столкновения. Ответственность за безопасность маневров несет водитель.
Настоящий стандарт распространяется на системы мониторинга слепых зон (далее - СМСЗ), предназначенные для установки на транспортные средства (далее - ТС) категорий М и N в соответствии с [1], и устанавливает общие технические требования и методы испытаний.
Настоящий стандарт не распространяется на системы СМСЗ, установленные на сочлененных ТС, таких как тягачи в составе с прицепами/полуприцепами и сочлененные автобусы.
В настоящем стандарте применены следующие термины с соответствующими определениями:
2.1 транспортное средство-объект: ТС, оснащенное СМСЗ и попадающее в область применения.
2.2 транспортное средство-мишень: Любое ТС, расположенное в прилегающих зонах.
Примечание - Обязательными мишенями являются любые ТС, предназначенные для передвижения по дорогам общего пользования и большие, чем мотоцикл, с двигателем объемом 125 см3. Опциональными мишенями являются пешеходы, велосипедисты и ТС с двигателем объемом не более 125 см3, при этом мишенями не являются ТС, двигающиеся в противоположном направлении, а также стационарные объекты, включая припаркованные ТС, дорожные знаки и объекты дорожной инфраструктуры.
2.3 прилегающие зоны: Зоны слева и справа от транспортного средства-объекта, а также спереди от транспортного средства-объекта.
Примечания
1 Левая и правая прилегающие зоны изображены на рисунке 1, передняя прилегающая зона - на рисунке 2.
2 Левая и правая прилегающие зоны предназначены для покрытия соседних по отношению к транспортному средству-объекту полос движения. Однако расположение и размеры этих зон определяются по отношению к транспортному средству-объекту и не зависят от разметки полос движения.

1 - транспортное средство-объект; 2 и 3 - левая и правая прилегающая зона соответственно
Рисунок 1 - Прилегающие зоны

1 - транспортное средство-объект; 2 - боковая прилегающая зона; 3 - передняя прилегающая зона
Рисунок 2 - Прилегающие зоны
2.4 система мониторинга слепых зон: Система, которая определяет наличие транспортных средств-мишеней в одной или нескольких прилегающих зонах и информирует водителя транспортного средства-объекта.
Примечание - Требования к СМСЗ приведены в разделе 4.
2.5 скорость сближения: Разность между скоростью транспортного средства-объекта и скоростью транспортного средства-мишени.
2.6 символ: Визуально заметное графическое изображение, используемое для передачи информации независимо от языка, изготовленная с помощью рисунка, печати или других средств.
2.7 окулярные точки водителя: Две точки, удаленные друг от друга на 65 мм и расположенные вертикально на расстоянии 635 мм над точкой R, обозначающей сиденье водителя.
Примечания
1 Процедура определения точки R описана в [1] (приложение 1).
2 Прямая, соединяющая окулярные точки водителя, должна быть перпендикулярна к вертикальной продольной средней плоскости ТС. Центр сегмента, ограниченного двумя окулярными точками, располагается на вертикальной продольной плоскости, которая должна проходить через центр сиденья водителя, определенного изготовителем ТС.
2.8 точка R: Указанная изготовителем ТС контрольная точка, которая:
- имеет координаты, определенные относительно конструкции ТС;
- соответствует теоретическому положению центра вращения бедра относительно туловища при наиболее низком и крайнем заднем нормальном положении сиденья водителя при управлении или использовании, предусмотренном изготовителем ТС.
3.1 Водитель транспортного средства-объекта должен быть проинформирован об ограниченном функционале системы, по крайней мере, в руководстве по эксплуатации. Руководство по эксплуатации должно содержать следующую информацию: "Система предоставляет помощь только в пределах ограниченных зон рядом с транспортным средством. Система не может обеспечить надлежащее предупреждение в отношении транспортных средств, приближающихся сзади".
3.2 Постоянное отключение системы может быть предоставлено пользователю только посредством обученного технического персонала. Возможность постоянного отключения системы посредством обученного технического персонала предоставляется для пользователей, которые находят эту систему раздражающей.
3.3 Размеры и расположение соответствующих прилегающих зон приведены на рисунках 3-5.
Примечание - На рисунках, приведенных в настоящем стандарте, ТС изображены на дорожном полотне, имеющем разметку. Это не означает, что для работы СМСЗ необходимо распознание или обнаружение дорожной разметки. Дорожная разметка изображена только для справки.
Размеры в метрах

1 - транспортное средство-объект; 2 - левая прилегающая зона; 3 - правая прилегающая зона; 4 - окулярные точки водителя
Рисунок 3 - Размеры и расположение прилегающих зон
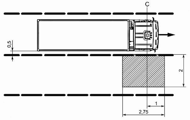
Размеры в метрах

С - линия, проходящая через окулярные точки водителя
Рисунок 4 - Размеры и расположение боковой прилегающей зоны

линии А и В - внешний контур проекции ТС на горизонтальную плоскость опорной поверхности
Рисунок 5 - Размеры и расположение передней прилегающей зоны
4.1 СМСЗ должна функционировать, когда ТС движется вперед со скоростью 10 км/ч и более. Допускается функционирование системы на более низких скоростях при движении вперед. Система не должна функционировать, когда включена передача заднего хода или режим парковки.
4.2 Критерии включения визуального сигнала
4.2.1 Для включения визуального сигнала СМСЗ любая часть транспортного средства-мишени должна находиться в прилегающей зоне, размеры и положения которой определены на рисунке 3.
4.2.2 Для ТС категорий N2 и N3, не оснащенных зеркалами класса V в соответствии с положениями [2], визуальный сигнал СМСЗ должен подаваться в том числе при наличии любой части транспортного средства-мишени в прилегающей зоне, определенной на рисунке 4.
4.2.3 Для ТС категорий N2 и N3, не оснащенных зеркалами класса VI в соответствии с положениями [2], визуальный сигнал СМСЗ должен подаваться в том числе при наличии любой части транспортного средства-мишени в прилегающей зоне, определенной на рисунке 5.
4.2.4 Подача визуальных сигналов, описанных в 4.2.1-4.2.3, должна осуществляться, начиная со скорости движения ТС, равной 10 км/ч. По желанию изготовителя эти визуальные сигналы могут подаваться на более низких скоростях.
4.2.5 СМСЗ должна подавать визуальный сигнал для обязательных мишеней.
4.2.6 СМСЗ может подавать визуальный сигнал для опциональных мишеней.
4.2.7 СМСЗ не должна подавать визуальный сигнал для объектов, не являющихся мишенями.
4.2.8 Если транспортное средство-объект опережает транспортное средство-мишень, и транспортное средство-мишень в ходе опережения попадает в прилегающую зону, то, независимо от положений 4.2.1, визуальный сигнал оповещения может подаваться не позднее чем через 2 с, после того, как любая часть транспортного средства-мишени оказалась в прилегающей зоне. Это требование не распространяется на боковую и переднюю прилегающие зоны, определенные на рисунках 4 и 5.
4.3 Пользователь должен быть проинформирован о статусе системы (т.е. система активна или система неактивна) во время запуска двигателя или когда статус системы меняется. Пользователю может быть предоставлена возможность отключения и повторного включения системы, при этом система должна автоматически включаться при очередном запуске двигателя (за исключением случая, описанного в 3.2).
4.4 Система должна сразу оповестить водителя о неисправности. Сигнал неисправности должен быть активен в течение последующих циклов запуска двигателя, если неисправность не устранена.
4.5 Визуальный сигнал используют для оповещения водителя о мишени, обнаруженной в прилегающей(их) зоне(ах), независимо от того, собрался водитель менять полосу движения или совершает маневр по смене полосы движения. Визуальный сигнал должен включаться со стороны обнаружения мишени в прилегающей зоне.
4.5.1 Один сигнал должен быть предназначен для левой прилегающей зоны и один сигнал должен быть предназначен для правой, боковой и передней прилегающих зон. Допускается использование отдельного визуального сигнала для боковой и передней прилегающих зон. Визуальные сигналы должны быть расположены в зеркалах заднего вида или около них.
4.5.2 Визуальный сигнал, расположенный непосредственно на отражательной поверхности зеркала заднего вида, должен быть расположен таким образом, чтобы не уменьшать нормативные поля обзора согласно [2].
4.5.3 Символ обнаружения объекта сбоку, изображенный на рисунке 6, должен быть использован в качестве визуального сигнала.
|
|
|
|
а) Сигнал левой стороны |
б) Сигнал правой стороны |
Рисунок 6 - Символ обнаружения объекта сбоку
4.5.4 Символ пассажирской стороны является зеркальным отражением символа на водительской стороне.
4.5.5 Если символ не используется в качестве визуального сигнала, то может быть использован одноцветный визуальный точечный сигнал (светодиод). В этом случае изображение символа должно быть использовано для пометки расположения светодиода.
4.5.6 В качестве визуального сигнала для боковой и передней прилегающих зон может быть использован отдельный символ, приведенный на рисунке 7. Допускается использование одноцветного светодиода. В этом случае изображение символа должно быть использовано для пометки расположения светодиода.

Рисунок 7 - Символ обнаружения объекта
4.5.7 Символы, приведенные на рисунках 6 и 7, или светодиод должны быть оранжевого цвета. Использование красного цвета недопустимо.
4.5.8 Источник света визуального сигнала должен иметь световой поток по меньшей мере 6000 кд/м2 для использования в светлое время суток.
Должна быть предусмотрена возможность уменьшения светового потока визуального сигнала в темное время суток, которая может быть реализована с помощью использования автоматического датчика освещенности, посредством связи с работой фар головного освещения или отдельного ручного органа управления.
4.5.9 Символ должен быть не менее 24' для расстояния от окулярных точек водителя до пассажирского зеркала.
4.5.10 Светодиод должен быть не менее 12' для расстояния от окулярных точек водителя до пассажирского зеркала. Например, при угле обзора VA, равном 24' и дистанции обзора до пассажирского зеркала D, равной 1778 мм, минимальная высота символа Н составляет 12,4 мм (см. рисунок 8).

Рисунок 8 - Пример определения высоты символов
5.1 Для проведения испытаний в качестве транспортного средства-мишени используется мотоцикл с мотоциклистом. Размеры мотоцикла приведены в таблице 1.
|
Параметр |
Значение параметра, м |
|
Длина |
От 2,0 до 2,5 включ. |
|
Ширина (без учета боковых зеркал) |
От 0,7 до 0,9 включ. |
|
Высота (без учета ветрового стекла) |
От 1,1 до 1,5 включ. |
5.2 Испытания проводят на ровной, сухой асфальтовой или асфальтобетонной дороге. Температура окружающего воздуха должна находиться в пределах от 10 °С до 30 °С включ. По согласованию с испытательной лабораторией допускается проведение испытаний при других температурах. Горизонтальная видимость должна быть не менее 1 км.
5.3 Требования к системе измерения
5.3.1 Система измерения должна:
а) быть полностью независимой от СМСЗ во время проведения испытаний;
б) иметь возможность измерения продольной дистанции между задней поверхностью транспортного средства-объекта и передней поверхностью транспортного средства-мишени, если транспортное средство-мишень находится позади транспортного средства-объекта;
в) иметь возможность измерения продольной дистанции между передней поверхностью транспортного средства-объекта и задней поверхностью транспортного средства-мишени, если транспортное средство-мишень находится спереди транспортного средства-объекта;
г) иметь возможность измерения боковой дистанции между крайней левой поверхностью транспортного средства-объекта и крайней правой поверхностью транспортного средства-мишени, если транспортное средство-мишень находится слева от транспортного средства-объекта;
д) иметь возможность измерения боковой дистанции между крайней правой поверхностью транспортного средства-объекта и крайней левой поверхностью транспортного средства-мишени, если транспортное средство-мишень находится справа от транспортного средства-объекта;
е) быть способной измерять задержку по времени от момента, когда положение транспортного средства-мишени удовлетворяет условиям вывода предупреждения, до момента, когда таковое предупреждение подается;
ж) быть способной измерять задержку по времени от момента, когда положение транспортного средства-мишени уже не удовлетворяет условиям вывода предупреждения, до момента, когда таковое предупреждение прекращается.
5.3.2 Система измерения должна обеспечивать следующую погрешность измерений:
а) погрешность измерения дистанции для расстояний менее 2 м должна составлять не более 0,1 м;
б) погрешность измерения дистанции для расстояний от 2 до 10 м должна составлять не более 5 %;
в) погрешность измерения дистанции для расстояний более 10 м должна составлять не более 0,5 м;
г) погрешность измерения времени для временных интервалов менее 200 мс должна составлять не более 20 мс;
д) погрешность измерения времени для временных интервалов от 200 мс до 1 с должна составлять не более 10 %;
е) погрешность измерения времени для временных интервалов более 1 с должна составлять не более 100 мс.
5.4 Процедура испытаний
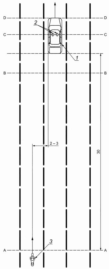
5.4.1 Транспортное средство-мишень, опережающее транспортное средство-объект
Транспортное средство-объект равномерно движется по прямой с минимальной скоростью 20 м/с. Транспортное средство-мишень равномерно движется по прямой, как это показано на рисунке 9, со скоростью сближения 1-3 м/с. В начале испытания транспортное средство-мишень должно находится целиком позади линии А.
Размеры в метрах

1 - транспортное средство-объект; 2 - окулярные точки водителя; 3 - транспортное средство-мишень
Рисунок 9 - Условия проведения испытаний
По мере приближения транспортного средства-мишени и последующего обгона транспортного средства-объекта СМСЗ должна отвечать следующим требованиям:
а) система не должна подавать никаких предупреждений, пока транспортное средство-мишень целиком находится за линией А;
б) после пересечения транспортным средством-мишенью линии А система должна подать предупреждение на стороне транспортного средства-объекта, где было обнаружено транспортное средство-мишень (см. 4.5), не позднее момента пересечения передней поверхностью транспортного средства-мишени линии В с учетом времени отклика системы не более 300 мс;
в) система должна подавать предупреждение до тех пор, пока передняя поверхность транспортного средства мишени не пересечет линию С;
г) система должна прекратить подавать предупреждения в момент, когда задняя поверхность транспортного средства-мишени пересечет линию D с учетом времени отклика системы не более 300 мс, а также с учетом требований 5.4.3.
Испытания повторяют в соответствии с таблицей 2 по меньшей мере 12 раз. Во время проведения испытаний в темное время суток не используют никаких дополнительных источников освещения кроме фар и фонарей транспортного средства-объекта и транспортного средства-мишени. Если изготовителем транспортного средства-объекта будет доказано, что условия освещения не влияют на работу системы, испытательная лаборатория может провести испытания только в светлое или только в темное время суток по меньшей мере шесть раз.
|
Наименование показателя |
Количество испытаний | |
|
светлое время суток |
темное время суток | |
|
Транспортное средство-мишень слева от транспортного средства-объекта |
3 |
3 |
|
Транспортное средство-мишень справа от транспортного средства-объекта |
3 |
3 |
5.4.2 Транспортное средство-объект, опережающее транспортное средство-мишень
Транспортное средство-мишень равномерно движется по прямой с минимальной скоростью 20 м/с. Транспортное средство-объект равномерно движется по прямой, как показано на рисунке 9, со скоростью сближения 1-2 м/с. В начале испытания передняя поверхность транспортного средства-объекта должна находится позади задней поверхности транспортного средства-мишени.
По мере приближения транспортного средства-объекта и последующего обгона транспортного средства-мишени СМСЗ должна отвечать следующим требованиям:
а) система не должна подавать никаких предупреждений, когда транспортное средство-мишень целиком находится перед линией D;
б) после пересечения транспортным средством-мишенью линии D система должна подать предупреждение на стороне транспортного средства-объекта, где было обнаружено транспортное средство-мишень (см. 4.5), не позднее момента пересечения передней поверхностью транспортного средства-мишени линии С с учетом времени отклика системы не более 300 мс;
в) система должна подавать предупреждение, по крайней мере, до тех пор, пока передняя поверхность транспортного средства мишени не пересечет линию В;
г) система должна прекратить подавать предупреждения в момент, когда передняя поверхность транспортного средства-мишени пересечет линию А с учетом времени отклика системы не более 300 мс.
Испытания повторяют в соответствии с таблицей 2 по меньшей мере 12 раз. Во время проведения испытаний в темное время суток не используют никаких дополнительных источников освещения кроме фар и фонарей транспортного средства-объекта и транспортного средства-мишени. В случае, если изготовителем транспортного средства-объекта будет доказано, что условия освещения не влияют на работу системы, испытательная лаборатория может провести испытания только в светлое или только в темное время суток по меньшей мере шесть раз.
5.4.3 Дополнительные испытания ТС категорий N2, N3, не оснащенных зеркалами класса V
5.4.3.1 Транспортное средство-мишень, опережающее транспортное средство-объект
Транспортное средство-объект равномерно движется по прямой со скоростью 10-12 м/с. Транспортное средство-мишень равномерно движется по прямой, как это показано на рисунке 10, со скоростью сближения 1-2 м/с. В начале испытания транспортное средство-мишень должно находится целиком позади линии D.
По мере приближения транспортного средства-мишени и последующего обгона транспортного средства-объекта СМСЗ должна отвечать следующим требованиям:
а) если для визуального предупреждения используется отдельный от описанного в 4.2.1 сигнал, система не должна подавать этих предупреждений, пока транспортное средство-мишень целиком находится за линией D;
б) после пересечения транспортным средством-мишенью линии С система должна подать предупреждение на правой стороне транспортного средства-объекта не позднее момента пересечения передней поверхностью транспортного средства-мишени линии С с учетом времени отклика системы не более 300 мс;
в) система должна подавать предупреждение, по крайней мере, до тех пор, пока передняя поверхность транспортного средства-мишени не пересечет линию А;
г) система должна прекратить подавать предупреждения в момент, когда задняя поверхность транспортного средства-мишени пересечет линию А с учетом времени отклика системы не более 300 мс, а также с учетом требований 5.4.4.
Размеры в метрах

1 - транспортное средство-объект, 2 - транспортное средство-мишень, В - линия, проходящая через окулярные точки водителя
Рисунок 10 - Условия проведения дополнительных испытаний
Испытание, при котором транспортное средство-мишень находится справа от транспортного средства-объекта, повторяют по меньшей мере шесть раз:
- в светлое время суток - три раза;
- в темное время суток - три раза.
Во время проведения испытаний в темное время суток не используют никаких дополнительных источников освещения кроме фар и фонарей транспортного средства-объекта и транспортного средства-мишени. Если изготовителем транспортного средства-объекта будет доказано, что условия освещения не влияют на работу системы, испытательная лаборатория может провести испытания только в светлое или только в темное время суток по меньшей мере три раза.
5.4.3.2 Транспортное средство-объект, опережающее транспортное средство-мишень
Транспортное средство-мишень равномерно движется по прямой со скоростью 8-10 м/с. Транспортное средство-объект равномерно движется по прямой, как это показано на рисунке 10, со скоростью сближения 1-2 м/с. В начале испытания транспортное средство-мишень должно находится целиком перед линией А.
По мере приближения транспортного средства-объекта и последующего обгона транспортного средства-мишени, СМСЗ должна отвечать следующим требованиям:
а) система не должна подавать никаких предупреждений, пока транспортное средство-мишень целиком находится перед линией А;
б) после пересечения транспортным средством-мишенью линии А система должна подать предупреждение на правой стороне транспортного средства-объекта не позднее момента пересечения задней поверхностью транспортного средства-мишени линии А с учетом времени отклика системы не более 300 мс;
в) система должна подавать предупреждение, по крайней мере, до тех пор, пока передняя поверхность транспортного средства-мишени не пересечет линию С;
г) система должна прекратить подавать предупреждения в момент, когда передняя поверхность транспортного средства-мишени пересечет линию С с учетом времени отклика системы не более 300 мс.
Испытание, при котором транспортное средство-мишень находится справа от транспортного средства-объекта, повторяют по меньшей мере шесть раз:
- в светлое время суток - три раза;
- в темное время суток - три раза.
Во время проведения испытаний в темное время суток не используют никаких дополнительных источников освещения кроме фар и фонарей транспортного средства-объекта и транспортного средства-мишени. В случае, если изготовителем транспортного средства-объекта будет доказано, что условия освещения не влияют на работу системы, испытательная лаборатория может провести испытания только в светлое или только в темное время суток по меньшей мере три раза.
5.4.4 Дополнительные испытания транспортных средств категорий N2, N3, не оснащенных зеркалами класса VI
5.4.4.1 Транспортное средство-мишень, опережающее транспортное средство-объект
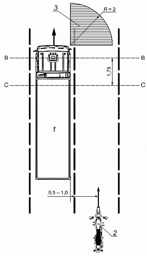
Транспортное средство-объект равномерно движется по прямой со скоростью 10-12 м/с. Транспортное средство-мишень равномерно движется по прямой, как показано на рисунке 11, со скоростью сближения 1-2 м/с. В начале испытания транспортное средство-мишень должно находиться целиком позади линии С.
Размеры в метрах

1 - транспортное средство-объект; 2 - транспортное средство-мишень; 3 - передняя прилегающая зона; В - линия, проходящая через окулярные точки водителя
Рисунок 11 - Условия проведения дополнительных испытаний
По мере приближения транспортного средства-мишени и последующего обгона транспортного средства-объекта СМСЗ должна отвечать следующим требованиям:
а) если для визуального предупреждения используется отдельный от описанного в 4.2.1 сигнал, система не должна подавать этих предупреждений пока транспортное средство-мишень целиком находится за линией С;
б) после пересечения транспортным средством-мишенью контура передней прилегающей зоны (см. рисунок 11) система должна подать предупреждение на правой стороне транспортного средства-объекта не позднее момента пересечения передней поверхностью транспортного средства-мишени контура передней прилегающей зоны с учетом времени отклика системы не более 300 мс;
в) система должна подавать предупреждение, по крайней мере, до тех пор, пока любая часть транспортного средства-мишени находится в передней прилегающей зоне;
г) система должна прекратить подавать предупреждения в момент, когда транспортное средство-мишень будет целиком вне передней прилегающей зоны с учетом времени отклика системы не более 300 мс, а также с учетом требований 5.4.3.
Испытание повторяют в соответствии с таблицей 3 по меньшей мере шесть раз. Во время проведения испытаний в темное время суток не используют никаких дополнительных источников освещения кроме фар и фонарей транспортного средства-объекта и транспортного средства-мишени. В случае, если изготовителем транспортного средства-объекта будет доказано, что условия освещения не влияют на работу системы, испытательная лаборатория может провести испытания только в светлое или только в темное время суток по меньшей мере три раза.
5.4.4.2 Транспортное средство-объект, опережающее транспортное средство-мишень
Транспортное средство-мишень равномерно движется по прямой со скоростью 8-10 м/с. Транспортное средство-объект равномерно движется по прямой, как показано на рисунке 11, со скоростью сближения 1-2 м/с. В начале испытания транспортное средство-мишень должно находиться на расстоянии не менее 5 м перед транспортным средством-объектом.
По мере приближения транспортного средства-объекта и последующего обгона транспортного средства-мишени СМСЗ должна отвечать следующим требованиям:
а) если для визуального предупреждения используется отдельный от описанного в 4.2.1 сигнал, система не должна подавать этих предупреждений, пока транспортное средство-мишень целиком находится вне передней прилегающей зоны;
б) после пересечения транспортным средством-мишенью контура передней прилегающей зоны (см. рисунок 11) система должна подать предупреждение на правой стороне транспортного средства-объекта не позднее момента пересечения любой частью транспортного средства-мишени контура передней прилегающей зоны с учетом времени отклика системы не более 300 мс;
в) система должна подавать предупреждение, по крайней мере, до тех пор, пока любая часть транспортного средства-мишени находится в передней прилегающей зоне;
г) система должна прекратить подавать предупреждения в момент, когда транспортное средство-мишень будет целиком вне передней прилегающей зоны с учетом времени отклика системы не более 300 мс, а также с учетом требований 5.4.3.
Испытания повторяют в соответствии с таблицей 3 по меньшей мере шесть раз. Во время проведения испытаний в темное время суток не используют никаких дополнительных источников освещения кроме фар и фонарей транспортного средства-объекта и транспортного средства-мишени. В случае, если изготовителем транспортного средства-объекта будет доказано, что условия освещения не влияют на работу системы, испытательная лаборатория может провести испытания только в светлое или только в темное время суток, по меньшей мере три раза.
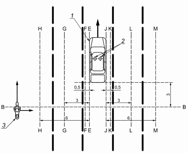
5.4.5 Транспортное средство-мишень, приближающееся сбоку
Транспортное средство-объект равномерно движется по прямой с минимальной скоростью 20 м/с. Транспортное средство-мишень равномерно движется по прямой, как показано на рисунке 12, со скоростью, равной скорости транспортного средства-объекта, при этом любая часть транспортного средства-мишени должна быть между линией В и транспортным средством объектом. В начале испытания транспортное средство-мишень должно находиться полностью слева от линии Н. Транспортное средство-мишень должно двигаться вперед и вправо с боковой скоростью 0,25-0,75 м/с до тех пор, пока оно полностью не будет справа от линии М. Транспортное средство-мишень должно двигаться вперед и влево с боковой скоростью 0,25-0,75 м/с до тех пор, пока оно полностью не будет слева от линии Н.
Размеры в метрах

1 - транспортное средство-объект; 2 - окулярные точки водителя; 3 - транспортное средство-мишень
Рисунок 12 - Условия проведения испытаний
5.4.5.1 Во время движения транспортного средства-мишени слева направо СМСЗ должна отвечать следующим требованиям:
а) система не должна подавать никаких предупреждений, когда транспортное средство-мишень целиком находится слева от линии Н;
б) после пересечения транспортным средством-мишенью линии Н система должна подать предупреждение на левой стороне транспортного средства-объекта не позднее момента пересечения любой частью транспортного средства-мишени линии G с учетом времени отклика системы не более 300 мс;
в) система должна подавать предупреждение, по крайней мере, до тех пор, пока любая часть транспортного средства-мишени не пересечет линию F;
г) система должна прекратить подавать предупреждения в момент, когда транспортное средство-мишень полностью пересечет линию Е с учетом времени отклика системы не более 300 мс;
д) система не должна подавать никаких предупреждений, когда транспортное средство-мишень целиком находится между линиями Е и J;
е) после пересечения транспортным средством-мишенью линии J система должна подать предупреждение на правой стороне транспортного средства-объекта не позднее момента пересечения любой частью транспортного средства-мишени линии К с учетом времени отклика системы не более 300 мс;
ж) система должна подавать предупреждение, по крайней мере, до тех пор, пока транспортное средство-мишень полностью пересечет линию L;
и) система не должна подавать никаких предупреждений, когда транспортное средство-мишень целиком пересекло линию М с учетом времени отклика системы не более 300 мс.
5.4.5.2 Во время движения транспортного средства-мишени справа налево СМСЗ должна отвечать следующим требованиям:
а) система не должна подавать никаких предупреждений, когда транспортное средство-мишень целиком находится справа от линии М;
б) после пересечения транспортным средством-мишенью линии М система должна подать предупреждение на правой стороне транспортного средства-объекта не позднее момента пересечения любой частью транспортного средства-мишени линии L с учетом времени отклика системы не более 300 мс;
в) система должна подавать предупреждение, по крайней мере, до тех пор, пока любая часть транспортного средства-мишени не пересечет линию K;
г) система должна прекратить подавать предупреждения в момент, когда транспортное средство-мишень полностью пересечет линию J с учетом времени отклика системы не более 300 мс;
д) система не должна подавать никаких предупреждений, когда транспортное средство-мишень целиком находится между линиями Е и J;
е) после пересечения транспортным средством-мишенью линии Е, система должна подать предупреждение на левой стороне транспортного средства-объекта не позднее момента пересечения любой частью транспортного средства-мишени линии F с учетом времени отклика системы не более 300 мс;
ж) система должна подавать предупреждение, по крайней мере, до тех пор, пока транспортное средство-мишень полностью пересечет линию G;
и) система не должна подавать никаких предупреждений, когда транспортное средство-мишень целиком пересекло линию Н с учетом времени отклика системы не более 300 мс.
Испытания повторяют по меньшей мере шесть раз (половину попыток - в светлое время суток, половину - в темное время суток). Во время проведения испытаний в темное время суток не используют никаких дополнительных источников освещения кроме фар и фонарей транспортного средства-объекта и транспортного средства-мишени. Если изготовителем транспортного средства-объекта будет доказано, что условия освещения не влияют на работу системы, испытательная лаборатория может провести испытания только в светлое или только в темное время суток по меньшей мере три раза.
5.5 Испытание на ложное срабатывание
Последовательность испытаний, описанную в 5.4.1 и 5.4.2, повторяют со следующими изменениями:
- в каждом испытании боковое расстояние между краем транспортного средства-объекта и осевой линией транспортного средства-мишени должно составлять от 6,5 до 7,5 м;
- в ходе испытаний СМСЗ не должна подавать никаких предупреждений.
5.6 Измерение яркости
Измерение свечения проводят с помощью фотометра, установленного между окулярными точками водителя и направленного в центр светящейся поверхности визуального сигнала СМСЗ на каждой стороне транспортного средства.
Библиография
|
[1] |
Сводная резолюция о конструкции транспортных средств (СР.3) | |
|
[2] |
Правила ЕЭК ООН N 46 |
Единообразные предписания, касающиеся официального утверждения устройств непрямого обзора и механических транспортных средств в отношении установки этих устройств |




