ГОСТ EN 388-2019 СИСТЕМА СТАНДАРТОВ БЕЗОПАСНОСТИ ТРУДА. СРЕДСТВА ИНДИВИДУАЛЬНОЙ ЗАЩИТЫ РУК. ПЕРЧАТКИ ДЛЯ ЗАЩИТЫ ОТ МЕХАНИЧЕСКИХ ВОЗДЕЙСТВИЙ. ТЕХНИЧЕСКИЕ ТРЕБОВАНИЯ. МЕТОДЫ ИСПЫТАНИЙ
Occupational safety standards system. Personal protective means of hands. Protective gloves against mechanical risks. Technical requirements. Test methods
МКС 13.340.40
Дата введения - 1 сентября 2020 г.
Взамен ГОСТ EN 388-2012
Предисловие
Цели, основные принципы и общие правила проведения работ по межгосударственной стандартизации установлены ГОСТ 1.0 "Межгосударственная система стандартизации. Основные положения" и ГОСТ 1.2 "Межгосударственная система стандартизации. Стандарты межгосударственные, правила и рекомендации по межгосударственной стандартизации. Правила разработки, принятия, обновления и отмены"
Сведения о стандарте
1 Подготовлен Обществом с ограниченной ответственностью "Анселл РУС" (ООО "Анселл РУС") на основе собственного перевода на русский язык англоязычной версии стандарта, указанного в пункте 5
2 Внесен Федеральным агентством по техническому регулированию и метрологии
3 Принят Межгосударственным советом по стандартизации, метрологии и сертификации (протокол от 30 июля 2019 г. N 120-П)
За принятие проголосовали:
|
Краткое наименование страны по МК (ИСО 3166) 004-97 |
Код страны по МК (ИСО 3166) 004-97 |
Сокращенное наименование национального органа по стандартизации |
|
Беларусь |
BY |
Госстандарт Республики Беларусь |
|
Казахстан |
KZ |
Госстандарт Республики Казахстан |
|
Киргизия |
KG |
Кыргызстандарт |
|
Россия |
RU |
Росстандарт |
|
Узбекистан |
UZ |
Узстандарт |
4 Приказом Федерального агентства по техническому регулированию и метрологии от 27 августа 2019 г. N 546-ст межгосударственный стандарт ГОСТ EN 388-2019 введен в действие в качестве национального стандарта Российской Федерации с 1 сентября 2020 г.
5 Настоящий стандарт идентичен европейскому стандарту EN 388:2016 "Перчатки для защиты от механических воздействий" ("Protective gloves against mechanical risks", IDT), включая изменение Amd.1:2018.
Изменение к указанному европейскому стандарту, принятое после его официальной публикации, внесено в текст настоящего стандарта и выделено двойной вертикальной линией, расположенной на полях напротив соответствующего текста, а обозначение и год принятия изменения приведены в примечании после соответствующего текста.
Европейский стандарт разработан техническим комитетом CEN/TC 162 "Защитная одежда, включающая защиту рук и кистей, и спасательные жилеты".
Наименование настоящего стандарта изменено относительно наименования указанного европейского стандарта для приведения в соответствие с ГОСТ 1.5 (подраздел 3.6) и для увязки с наименованиями, принятыми в существующем комплексе межгосударственных стандартов.
Сведения о взаимосвязи EN 388:2016 и ГОСТ 12.4.252-2013 приведены во введении к настоящему стандарту.
При применении настоящего стандарта рекомендуется использовать вместо ссылочных международных и европейских стандартов соответствующие им межгосударственные стандарты, сведения о которых приведены в дополнительном приложении ДА
6 Взамен ГОСТ EN 388-2012
7 Некоторые элементы настоящего стандарта могут являться объектами патентных прав
Введение
В настоящем стандарте установлены технические требования к перчаткам для защиты от механических воздействий в соответствии с европейским стандартом EN 388:2016.
В рамках Европейского комитета по стандартизации и Евразийского совета по стандартизации, метрологии и сертификации существуют различия в подходе к классификации перчаток для защиты от механических воздействий.
В ГОСТ 12.4.252-2013 требования к перчаткам для защиты от механических воздействий установлены в зависимости от материалов, из которых они изготовлены.
EN 388:2016 предусматривает классификацию перчаток с присвоением эксплуатационных уровней в зависимости от их защитных свойств по отношению к каждому из опасных механических факторов (стойкость к истиранию, проколу, сопротивление порезу, раздиру и удару).
Методы испытаний по отдельным показателям, в рамках указанных документов, характеризующим стойкость к истиранию, стойкость к проколу и сопротивление порезу, также имеют существенные различия.
Учитывая изложенное, требования настоящего стандарта могут быть использованы по усмотрению изготовителя в качестве дополнительных при подтверждении соответствия продукции.
Настоящий стандарт устанавливает требования к перчаткам для защиты от механических воздействий, в том числе от истирания, проколов, порезов, раздира и, если это применимо, ударов, а также методы испытаний, требования к маркировке и информации, предоставляемой изготовителем.
Настоящий стандарт предназначен для применения совместно с EN 420.
Методы испытаний, описанные в настоящем стандарте, также применимы к нарукавникам.
В настоящем стандарте использованы нормативные ссылки на следующие стандарты (документы). Для датированных ссылок применяют только указанное издание ссылочного стандарта (документа), для недатированных - последнее издание (включая все изменения):
EN 420 Protective gloves - General requirements and test methods (Перчатки защитные. Общие требования и методы испытаний)
EN 1049-2 Textiles - Woven fabrics - Construction - Methods of analysis - Part 2: Determination of number of threads per unit length (ISO 7211-2:1984, modified) [Текстиль. Ткани. Структура. Методы анализа. Часть 2. Определение количества нитей на единицу длины (ISO 7211-2:1984, модифицированный)]
EN 12127 Textiles - Fabrics - Determination of mass per unit area using small samples (Текстиль. Ткани. Определение массы на единицу площади с использованием небольших образцов)
Примечание - Изменение Amd.1:2018.
EN 13594:2015 Protective gloves for motorcycle riders - Requirements and test methods (Защитные перчатки для мотогонщиков. Требования и методы испытаний)
EN ISO 5084 Textiles - Determination of thickness of textiles and textile products (ISO 5084:1996) [Текстиль. Определение толщины ткани и текстильных изделий (ISO 5084:1996)]
Примечание - Изменение Amd.1:2018.
EN ISO 7500-1 Metallic materials - Calibration and verification of static uniaxial testing machines - Part 1: Tension/compression testing machines - Calibration and verification of the force-measuring system (ISO 7500-1) [Материалы металлические. Калибровка и верификация машин для статических испытаний в условиях одноосного нагружения. Часть 1. Машины для испытания на растяжение/сжатие. Калибровка и верификация силоизмерительной системы (ISO 7500-1)]
EN ISO 11644 Leather - Test for adhesion of finish (ISO 11644) [Кожа. Испытание на прочность адгезии отделочного покрытия (ISO 11644)]
CEN ISO/TR 11827 Textiles - Composition testing - Identification of fibres (Текстиль. Определение состава. Идентификация волокон)
Примечание - Изменение Amd.1:2018.
EN ISO 12947-1 Textiles - Determination of the abrasion resistance of fabrics by the Martindale method - Part 1: Martindale abrasion testing apparatus (ISO 12947-1) [Текстиль. Определение прочности на истирание тканей методом Мартиндейла. Часть 1. Прибор для испытания прочности на истирание по Мартиндейлу (ISO 12947-1)]
EN ISO 13934-1 Textiles - Tensile properties of fabrics - Part 1: Determination of maximum force and elongation at maximum force using the strip method (ISO 13934-1) [Ткани. Свойства тканей при растяжении. Часть 1. Определение максимального усилия и относительного удлинения при максимальном усилии методом полосы (ISO 13934-1)]
EN ISO 13997:1999 Protective clothing - Mechanical properties - Determination of resistance to cutting by sharp objects (ISO 13997:1999) [Одежда защитная. Механические характеристики. Определение стойкости к разрезанию острыми предметами (ISO 13997:1999)]
ISO 1139 Textiles - Designation of yarns (Текстиль. Маркировка пряжи)
Примечание - Изменение Amd.1:2018.
ISO 4649:2010 * Rubber, vulcanized or thermoplastic - Determination of abrasion resistance using a rotating cylindrical drum device (Каучук вулканизированный или термопластичный. Определение сопротивления истиранию с применением вращающегося цилиндрического барабана)
──────────────────────────────
* Заменен на ISO 4649:2017. Однако для однозначного соблюдения требований настоящего стандарта, выраженного в датированной ссылке, рекомендуется использовать только указанное в этой ссылке издание.
──────────────────────────────
ISO 5725-2 Accuracy (trueness and precision) of measurement methods and results. Part 2. Basic method for the determination of repeatability and reproducibility of a standard measurement method [Точность (правильность и прецизионность) методов и результатов измерения. Часть 2. Основной метод определения повторяемости и воспроизводимости стандартного метода измерения]
ISO 7211-1 Textiles - Woven fabrics - Construction - Methods of analysis - Part 1: Methods for the presentation of a weave diagram and plans for drafting, denting and lifting (Текстиль. Ткани. Структура. Методы анализа. Часть 1. Методы представления рисунка переплетения, проборки в ремиз и бердо)
ISO 7211-4 Textiles - Woven fabrics - Construction - Methods of analysis - Part 4: Determination of twist in yarn removed from fabric (Текстиль. Ткани. Структура. Методы анализа. Часть 4. Определение числа кручений нити, извлеченной из ткани)
ISO 7211-5 Textiles - Woven fabrics - Construction - Methods of analysis - Part 5: Determination of linear density of yarn removed from fabric (Текстиль. Ткани. Структура. Методы анализа. Часть 5. Определение линейной плотности нити, извлеченной из ткани)
Примечание - Изменение Amd.1:2018.
ISO/IEC Guide 98-3 Uncertainty of measurement - Part 3: Guide to the expression of uncertainty in measurement (GUM:1995) [Неопределенность измерения. Часть 3. Руководство по выражению неопределенности измерения (GUM:1995)]
ISO/IEC Guide 98-4 Uncertainty of measurement - Part 4: Role of measurement uncertainty in conformity assessment (Неопределенность измерений. Часть 4. Роль неопределенности измерения в оценке соответствия)
В настоящем стандарте применены следующие термины с соответствующими определениями:
3.1 перчатка для защиты от механических воздействий (protective glove against mechanical risks): Перчатка, обеспечивающая защиту по крайней мере от одного из следующих механических воздействий, таких как истирание, порез, раздир и прокол.
3.2 перчатка, обеспечивающая особую защиту (glove providing a specific protection): Перчатка, которая обеспечивает улучшенную защиту всей кисти руки или ее части.
Примечание - Например, конструкция имеет элементы защиты от ударов или усиления ладонной части.
3.3 серия (партия) перчаток (glove series): Перчатки одной модели или типа, ладонная часть которых изготовлена из одного материала, могут различаться только размеры, длина, цвет и левая/правая.
3.4 рука (arm): Часть тела от кончиков пальцев до плеча.
3.5 перчатки, изготовленные из нескольких слоев (gloves made from several layers):
- несвязанные слои: перчатка, сделанная из двух или более слоев материалов, не соединенных друг с другом после подготовки образцов для испытаний;
- связанные слои: перчатка, сделанная из двух или более слоев материалов, соединенных друг с другом (например, склеенные, сшитые, пропитанные) после подготовки образцов для испытаний.
3.6 цикл истирания (abrasion cycle): Законченность всех поступательных истирающих движений, следующих по фигуре Лиссажу, включающей 16 циклов, т.е. 16 вращений двух внешних приводов и 15 вращений внутреннего привода истирающего устройства Мартиндейла.
Примечание - Цикл - это одно вращение внешних приводов истирающего устройства Мартиндейла (см. EN ISO 12947-1).
3.7 нарукавник (arm protector): Средство защиты рук, не являющееся частью перчатки или одежды, обеспечивающее защиту от одного или нескольких механических воздействий (истирания, пореза, раздира и прокола).
4.1 Общие положения
Общие технические требования к перчаткам для защиты от механических воздействий должны соответствовать EN 420.
Для целей классификации все пробы вырезают из ладонных частей нескольких перчаток. Пробы из нарукавников вырезают из области с заявленными защитными свойствами.
Перчатки для защиты от механических воздействий должны соответствовать эксплуатационному уровню 1 или выше хотя бы по одному из показателей (стойкость к истиранию, порезу, раздиру, проколу), или, по крайней мере, эксплуатационному уровню А в соответствии с EN ISO 13997 в части сопротивления порезу при использовании оборудования TDM; минимальные требования для каждого эксплуатационного уровня приведены в таблицах 1, 2.
Примечание 1 - Перчатки, отвечающие требованиям по стойкости к проколу, могут не обеспечивать защиту от остро заточенных предметов, таких как иглы для подкожных инъекций.
|
Испытание |
Уровень 1 |
Уровень 2 |
Уровень 3 |
Уровень 4 |
Уровень 5 |
|
6.1 Стойкость к истиранию (количество циклов истирания) |
100 |
500 |
2000 |
8000 |
- |
|
6.2 Испытание порезом: сопротивление порезу (индекс) |
1,2 |
2,5 |
5,0 |
10,0 |
20,0 |
|
6.4 Сопротивление раздиру (Н) |
10 |
25 |
50 |
75 |
- |
|
6.5 Стойкость к проколу (Н) |
20 |
60 |
100 |
150 |
- |
|
Испытание |
Уровень А |
Уровень В |
Уровень С |
Уровень D |
Уровень Е |
Уровень F |
|
6.3 TDM: сопротивление порезу (Н) |
2 |
5 |
10 |
15 |
22 |
30 |
Примечание 2 - Корреляция между результатами испытаний, полученными по методам согласно 6.2 и 6.3, отсутствует.
Примечание 3 - Неопределенность измерения, см. приложение В.
При необходимости могут быть испытаны дополнительные области защитной перчатки (например, обеспечивающие дополнительную защиту или с более низкой защитой), результаты данных испытаний должны быть указаны в руководстве по эксплуатации.
4.2 Дополнительная защита
4.2.1 Общие положения
Сведения о дополнительной защите приводят, если перчатки соответствуют требованиям, определенным в следующем пункте.
4.2.2 Защита от ударов
Необходимо провести испытания каждой области с заявленной защитой от ударов. Испытания защиты от ударного воздействия на пальцы не проводят по причине невозможности отбора проб установленного размера.
Перчатка для защиты от механических воздействий может также обладать дополнительными защитными свойствами от ударов (например, защита от ударов области пястно-фаланговых суставов, тыльной стороны кисти, ладони). Указанные перчатки должны соответствовать следующему требованию.
При выполнении испытаний по 6.6 минимальная эффективность должна соответствовать уровню 1 в соответствии с EN 13594:2015 (таблица 7).
5.1 Пробы из перчаток и все используемые расходные материалы (например, абразивный материал, EPDM, хлопковое полотно) выдерживают в следующих условиях:
- температура (23 ± 2) °С;
- относительная влажность (50 ± 5) %.
Время выдержки - не менее 24 ч. Рекомендуется проводить испытания в вышеуказанных условиях.
5.2 При проведении испытаний продолжительностью, не превышающей 15 мин, и в условиях, отличных от указанных в 5.1, их следует начинать в течение 5 мин после кондиционирования.
5.3 Если специальное применение изделия требует испытаний в условиях, отличных от указанных в 5.1, то производитель или его полномочный представитель обязан организовать дополнительные испытания и представить результаты, включая полное описание условий испытаний, в информации, предоставленной изготовителем (см. раздел 8).
6.1 Стойкость к истиранию
6.1.1 Сущность метода
Круглые пробы материала перчаток подвергают трению за счет приложения определенного усилия в результате кругового движения в одной плоскости в форме фигуры Лиссажу, которая является результатом простых гармонических движений под прямыми углами друг к другу. Стойкость к истиранию определяют количеством циклов истирания, необходимых для образования сквозного отверстия.
6.1.2 Расходные материалы
6.1.2.1 Абразивный материал
Абразивный материал должен соответствовать требованиям, указанным в приложении А.
Примечание 1 - Удовлетворяющий требованиям абразивный материал прошел испытания в группе по стандартизации - Klingspor PL31B, Grit 180 * (см. приложение А).
──────────────────────────────
* Klingspor PL31B, абразивные частицы 180 - это товарное наименование продукта, предоставленного KLINGSPOR Schleifsysteme GmbH&Co. KG, Хюттенштрассе 36, D-35708 Хайгер. Данная информация предоставляется только для удобства пользователей настоящего стандарта и не представляет собой одобрения со стороны Европейского комитета по стандартизации указанного продукта. Эквивалентные продукты могут использоваться, если было доказано, что их использование приводит к идентичным результатам.
──────────────────────────────
Примечание 2 - В настоящее время доступна только одна процедура калибровки оборудования с использованием эталонного материала. Более надежный метод калибровки для других эталонных материалов находится в стадии разработки.
6.1.2.2 Двусторонняя клейкая лента
Двустороннюю клейкую ленту используют в целях обеспечения адгезии пробы в ходе испытания для достижения воспроизводимых результатов. Среднее значение адгезии должно составлять не менее 0,20 Н/мм.
Испытания проводят в соответствии с методом, указанным в приложении С.
Примечание 1 - При недостаточном значении адгезии проба будет двигаться во время испытания, что может привести к раздиру, а не истиранию.
Примечание 2 - Примеры подходящих двусторонних клейких лент приведены в С.5. Применение аналогичных клейких лент допустимо после проверки их пригодности в соответствии с приложением С.
6.1.3 Аппаратура
Для проведения испытания используют прибор для испытания прочности на истирание по Мартиндейлу в соответствии с EN ISO 12947-1. Прибор должен соответствовать следующему требованию:
Давление на пробу: (9,0 ± 0,2) кПа.
6.1.4 Пробы для испытаний
Вырезают четыре испытуемые пробы из четырех перчаток одной и той же серии. В случае нестандартной или неоднородной конструкции ладонной части испытуемая проба должна быть вырезана из области, где ожидается минимальная защита (необходимо удалить любые усиливающие элементы, не покрывающие полностью ладонную часть).
Если испытуемая проба состоит из нескольких несвязанных слоев, испытание проводят на каждом слое. Если испытуемая проба состоит из связанных слоев и если слои могут быть разделены без повреждения материала, должно быть проведено независимое испытание на каждом слое. Если данное условие невыполнимо, то допускается проводить испытание на всех слоях, при этом по возможности необходимо избегать зон, которые содержат швы.
6.1.5 Методика проведения испытания
6.1.5.1 Подготовка прибора
6.1.5.1.1 Крепление испытуемых проб
Вырезают четыре испытуемые пробы диаметром (38,0 ± 0,5) мм. Тщательно, без напряжения, при нагрузке 10 кг в течение 5 мин закрепляют и центрируют пробу для испытаний на металлических вставках с помощью двусторонней клейкой ленты. Двусторонняя клейкая лента обеспечивает тщательное сцепление, предотвращает ослабление и появление воздушных пузырьков. Кольцо держателя пробы помещается в положение на монтажной пластине, установленной в основании машины.
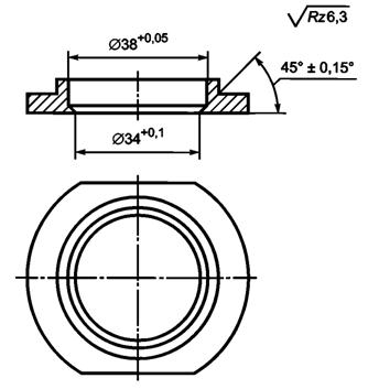
Для испытания материалов с большей толщиной, чем стандартное кольцо (например, кожа толщиной более 1,2 мм), диаметр отверстия стяжного кольца должен быть увеличен (см. рисунок 1).
Некоторым материалам необходимо более длительное время контакта для обеспечения максимальной адгезии между испытуемой пробой и клейкой лентой. Для улучшения адгезии между испытуемой пробой и клейкой лентой допускается обработка поверхности (например, удаление ворса, пуха, бумажной пыли). Данная обработка не должна оказывать влияния на эффективность материала в ходе испытания. Информация об увеличении времени контакта (более 5 мин) и/или о дополнительной обработке поверхности должна быть указана в протоколе испытаний.
Размеры в миллиметрах

Рисунок 1 - Альтернативное стяжное кольцо для материала с большой толщиной
Держатель с пробой и металлической вставкой должен быть прочно закреплен на крепежной пластине, а резьбовые соединения винтов не должны пересекаться. Завинчивают винты двумя руками для обеспечения постоянного вертикального давления на блок и прижима его к крепежной пластине.
При правильном выполнении данной операции проба будет надежно закреплена в держателе, не смята и готова к испытаниям.
Примечание - Необходимо использовать эффективную двустороннюю клейкую ленту, препятствующую движению испытуемой пробы во время испытания (соответствующие двусторонние клейкие ленты, например, применяются в строительстве). Примеры двусторонних клейких лент приведены в приложении С.
6.1.5.1.2 Крепление абразивного материала
Абразивный материал (6.1.2.1) должен быть надежно закреплен двусторонней клейкой лентой по всей поверхности крепежной пластины. Проверку правильности расположения абразивного материала осуществляют с помощью груза, входящего в комплект поставки машины. Затем надевают и ровно закрепляют фиксирующую раму с помощью винтов, расположенных в ее противоположных углах (по диагонали). Абразивный материал должен быть надежно закреплен, без складок и волн.
6.1.5.1.3 Крепление держателей проб
Держатели проб закрепляют на верхней пластине под давлением (9 ± 0,2) кПа и включают машину. Рекомендуется проводить испытания четырех проб одновременно на одном приборе. Если пробы испытаны по отдельности, то это должно быть отражено в протоколе испытаний с указанием причины.
Периодически держатель проб останавливают для определения окончания испытания. Перед возвращением держателя на прежнее место подтягивают его.
Если испытание прерывают на значительный промежуток времени (например, на всю ночь или на выходные), вынимают пробы из держателей и кладут рабочей стороной вверх. Для защиты пробы должны быть накрыты чистой бумагой или тканью.
6.1.5.2 Метод оценки
Показатель стойкости к истиранию определяется путем визуального определения повреждения материала после воздействия определенного количества циклов истирания, например:
- в тканых материалах - две отдельные нити основы и утка полностью разорваны, что приводит к появлению отверстия;
- в трикотажных полотнах - одна нить полностью разорвана, что приводит к появлению отверстия;
- в связанных слоях диаметр первого отверстия, проходящего через все слои, составляет не менее 1 мм;
- в других материалах (не указанных выше) диаметр первого отверстия составляет не менее 1 мм.
6.1.5.3 Метод испытаний
Каждое испытание выполняют с новым абразивным материалом. Начинают испытание и проверяют пробы через каждые 100 циклов истирания. При отсутствии разрывов продолжают испытание до 500 циклов истирания (эксплуатационный уровень 2). Если разрывов все еще нет, продолжают испытание до достижения следующего эксплуатационного уровня, указанного в таблице 1. Осматривают пробы после прохождения определенного количества циклов истирания для каждого эксплуатационного уровня.
При каждом осмотре проводят очистку проб и абразивного материала с помощью чистого сжатого воздуха и подтягивают держатели, прежде чем их вставить в машину.
При обнаружении разрывов в процессе осмотра проб на данном эксплуатационном уровне пробы оценивают как соответствующие предшествующему (более низкому) эксплуатационному уровню.
Если разрыв произошел на расстоянии 2 мм от края одной пробы или проба порвалась, эту пробу удаляют и испытание повторяют. Если в повторном испытании хотя бы одна проба была разрушена, фиксируют наименьшее значение для проб, которые прошли испытание.
Если испытуемая проба состоит из нескольких несвязанных слоев (см. 6.1.4), результатом испытания является сумма результатов для всех слоев.
В протоколе необходимо указать четыре отдельных результата. Минимальное из этих четырех значений определяет эксплуатационный уровень.
6.1.6 Протокол испытаний
Протокол испытаний должен содержать следующую информацию:
- ссылку на пункт настоящего стандарта;
- информацию об образце;
- все результаты испытания согласно 6.1.5;
- любое отклонение от метода испытаний (увеличенное время контакта с клейкой лентой, обработка поверхности испытуемой пробы и т.д.);
- ссылку на используемые расходные материалы (абразивный материал и клейкая лента);
- любое физическое изменение, наблюдаемое в испытуемой пробе;
- эксплуатационный уровень в соответствии с таблицей 1.
6.2 Сопротивление порезу
6.2.1 Сущность метода
Пробы режут вращающимся плавающим дисковым резаком, который совершает возвратно-поступательное движение, под указанной нагрузкой.
6.2.2 Оборудование
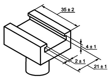
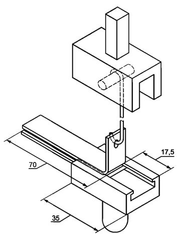
Оборудование для испытаний (рисунки 2-4), состоящее из:
a) испытательного стенда, обеспечивающего горизонтальное перемещение вращающемуся дисковому резаку. Горизонтальное перемещение резака при вращении на 360° составляет 50 мм в направлении, противоположном его движению. Результирующая синусоидальная скорость резания составляет (8 ± 2) см/с;
b) груза, приложенного к резаку с силой (5 ± 0,05) Н;
c) дискового резака диаметром (45 ± 0,5) мм, толщиной (0,3 ± 0,03) мм, имеющего угол режущей части от 30° до 35° (рисунок 3). Резак изготавливают из нержавеющей стали твердостью от 700 до 720 HV (по Виккерсу);
Размеры в миллиметрах

1 - отсек двигателя и электронной аппаратуры распознавания; 2 - колесо и ведущий стержень; 3 - система трения; 4 - штанги; 5 - приспособление для испытательной пробы; 6 - дисковый резак; 7 - зубчатая рейка; 8 - опорная пластина; 9 - счетчик; 10 - проба; 11 - изолированная опора; 12 - токопроводящая резина; 13 - алюминиевая фольга; 14 - фильтровальная бумага; 15 - верхняя часть; а - альтернативное движение резака
Рисунок 2 - Прибор для испытания сопротивления защитных перчаток порезу
Размеры в миллиметрах

1 - по основе (продольное направление); 2 - по утку (поперечное направление)
Рисунок 3 - Контрольные размеры испытуемой пробы
Размеры в миллиметрах

Рисунок 4 - Характеристики дискового резака для испытания
Примечание - Резак OLFA® RB диаметром 45 мм является подходящим для выполнения данного испытания *;
──────────────────────────────
* OLFA® RB 45 мм - это товарный знак продукта, изготовленного корпорацией OLFA, расположенной в Осаке, 537, Япония. Данная информация предоставляется только для удобства пользователей настоящего стандарта и не представляет собой одобрения со стороны Европейского комитета по стандартизации указанного продукта. Эквивалентные продукты могут использоваться, если было доказано, что их использование приводит к идентичным результатам.
──────────────────────────────
d) опоры из электропроводящей резины твердостью (80 ± 3) IRHD, например EPDM, на которой размещают пробу для испытания;
e) зажимной рамы для проб в соответствии с рисунком 2;
f) автоматической системы обнаружения момента сквозного пореза;
g) счетчика циклов, отградуированного с точностью до десятых долей оборота.
6.2.3 Проба для испытаний
Испытуемая проба представляет собой полоску шириной (60 ± 6) мм и длиной (100 ± 10) мм, вырезанную из ладонной части перчатки по диагонали под углом 45°. В случае, если проба состоит из нескольких не связанных между собой слоев, испытание пробы проводят на всех слоях одновременно. В случае нестандартной конструкции ладонной части испытуемая проба должна быть вырезана из области, где ожидается минимальная защита.
Две испытуемые пробы вырезают из двух разных перчаток.
6.2.4 Контрольный образец
Размеры контрольного образца идентичны размерам испытуемой пробы, вырезанной из хлопкового полотна ** с техническими характеристиками, указанными в 6.2.5.
──────────────────────────────
** Такое полотно изготавливается компанией TENTHOREY DE LA PLAINE - 88510 ELOYES - FRANCE, идентификатор качества ткани: n°14861. Данная информация предоставляется только для удобства пользователей настоящего стандарта и не представляет собой одобрения со стороны Европейского комитета по стандартизации указанного продукта. Эквивалентные продукты могут использоваться, если было доказано, что их использование приводит к идентичным результатам.
──────────────────────────────
6.2.5 Полотно
Полотно представляет собой ткань, основу и уток которой составляет пряжа с необработанным краем, и имеет следующие характеристики:
- состав - хлопок (CEN ISO/TR 11827);
- плетение -
(ISO 7211-1);
- поверхностная плотность - 525 г/м2 ± 5 % (EN 12127);
- количество нитей по основе - 28 нитей на см ± 5 нитей на 5 см (EN 1049-2);
- количество нитей по утку - 9 нитей на см ± 4 нити на 10 см (EN 1049-2);
- линейная плотность нити основы - 85 текс ± 10 % (ISO 7211-5);
- линейная плотность нити утка - 263 текс ± 10 % (ISO 7211-5);
- структура и крутка нити основы - двойное скручивание, S 370 кручений/м ± 10 % (ISO 1139, ISO 7211-4);
- крутка нити утка - тройное скручивание, S 181 кручений/м ± 10 % (ISO 1139, ISO 7211-4);
- толщина - (1,0 ± 0,1) мм (EN ISO 5084);
- разрывная нагрузка по основе - не менее 1300 Н (EN ISO 13934-1);
- разрывная нагрузка по утку - не менее 1100 Н (EN ISO 13934-1).
Примечание - Изменение Amd. 1:2018.
6.2.6 Проведение испытаний
На резиновую основу кладут алюминиевую фольгу толщиной 0,01 мм, покрытую листом бумаги плотностью (65 ± 5) г/м2 и толщиной не более 0,1 мм. Указанный лист применяется в целях сокращения перемещения проб во время испытания и предотвращения непреднамеренных сквозных порезов, возникающих из-за наличия стальных нитей в некоторых текстильных полотнах или разреженной структуры тонких трикотажных полотен. Не растягивая, кладут контрольную пробу поверх фольги в зажимную раму.
Зажимная рама расположена на столе. Рычаг, удерживающий резак, плавно опускают на контрольную пробу.
Перед испытанием заточку резака проверяют следующим образом: при появлении сквозного пореза на контрольном образце записывают количество циклов (С). Количество циклов должно составлять от 0,8 до 1,4 при последовательном испытании и от 0,8 до 2,0 в каждом из четырех других последующих испытаний.
Если количество циклов менее 0,8, острота резака должна быть уменьшена путем выполнения режущих движений на трех слоях контрольной ткани. Если количество циклов более 2,0 после каждых последовательных испытаний, то для следующих испытаний резак меняют. После каждого испытания (т.е. после каждого из пяти последовательных испытаний) должен использоваться новый резак.
Испытуемую пробу подвергают идентичному испытанию и регистрируют количество циклов (T). Испытание останавливают вручную, когда T достигает максимума, равного 60 циклам.
На каждой испытуемой пробе проводят пять измерений. Порядок каждого испытания (точка начала измерений должна находиться в одном из крайних положений на испытуемой пробе):
a) испытание на контрольном образце;
b) испытание на испытуемой пробе;
c) испытание на контрольном образце.
Для материалов, затупляющих резак для испытания: если после первой последовательности испытаний количество циклов Сn+1 больше трехкратного Сn в одной из испытуемых проб, то испытание считается невыполнимым и сопротивление порезу определяется согласно 6.3.
В таком случае испытания по методу в соответствии с 6.2 могут проводиться как дополнительные.
6.2.7 Расчет результатов испытаний
Результаты испытаний должны быть представлены в соответствии с таблицей 3.
|
Последовательность |
Контрольный образец |
Проба для испытаний T |
Контрольный образец Cn+1 |
Индекс I |
|
1 |
C1 |
T1 |
С2 |
i1 |
|
2 |
С2 |
Т2 |
С3 |
i2 |
|
3 |
С3 |
T3 |
С4 |
i3 |
|
4 |
С4 |
T4 |
С5 |
i4 |
|
5 |
С5 |
T5 |
С6 |
i5 |
C̅n - среднее значение циклов для контрольного образца до и после пореза пробы для испытания Тn, рассчитываемое следующим образом:
.
Для каждой пробы для испытания рассчитывают окончательный индекс (I):
;
,
где минимальное значение I равно 1, если T равно 0. Значение I является безразмерной величиной.
Протокол включает в себя таблицы (таблица 3), полученные по двум пробам, и демонстрирует 10 результатов in, а также два рассчитанных средних значения Сn. Наименьшее рассчитанное значение двух индексов определяет эксплуатационный уровень.
6.2.8 Протокол испытаний
Протокол испытаний должен содержать следующую информацию:
- ссылку на пункт настоящего стандарта;
- информацию об образце;
- результаты согласно 6.2.7;
- любое отклонение от метода испытаний;
- ссылку на используемые расходные материалы (резак, хлопковое полотно);
- эксплуатационный уровень в соответствии с таблицей 1.
6.3 Метод определения сопротивления порезу согласно EN ISO 13997
6.3.1 Общие положения
Данный метод представлен в EN ISO 13997:1999. В таблице 2 указано соответствие между эксплуатационным уровнем (А-F) и режущей нагрузкой согласно EN ISO 13997:1999.
6.3.2 Проба для испытаний
Испытуемые пробы вырезают из ладонной части перчаток.
Отбор и кондиционирование образцов проводят в соответствии с разделом 5 настоящего стандарта, а также с EN ISO 13997:1999 (приложение А).
Пять конечных значений [EN ISO 13997:1999, пункт 6.3.5е)] измеряют на одной и той же пробе из ладонной части.
6.3.3 Протокол испытаний
Протокол испытаний должен содержать следующую информацию:
- см. EN ISO 13997:1999 (раздел 7);
- ссылку на используемые расходные материалы (резак, резина);
- эксплуатационный уровень в соответствии с таблицей 2.
6.4 Сопротивление раздиру
6.4.1 Сущность метода
Сопротивление раздиру определяют как усилие, необходимое для раздира прямоугольной пробы для испытания, предварительно наполовину надрезанной по длине.
6.4.2 Оборудование
При испытании следует использовать только оборудование для испытания на раздир, оснащенное малоинерционными системами измерения силы (минимальный класс 2 в соответствии с EN ISO 7500-1).
6.4.3 Проба для испытаний
Размеры испытуемой пробы указаны на рисунке 5. Размеры испытуемой пробы составляют (100 ± 10) х (50 ± 5) мм. В продольном направлении на расстоянии (25 ± 2,5) мм от края делают надрез длиной (50 ± 5) мм. Последний миллиметр надреза выполняют острым, не использовавшимся ранее лезвием перпендикулярно к поверхности пробы. Если перчатка имеет дополнительные усиления (например, специальные накладки) в ладонной части, испытуемую пробу необходимо отбирать из слоев, не имеющих таких усилений. Если испытуемый образец сделан из нескольких несвязанных слоев, испытание выполняют на каждом слое. Эксплуатационный уровень изделия определяется по показателю слоя с максимальным эксплуатационным уровнем.
Размеры в миллиметрах

Рисунок 5 - Размеры пробы для испытания
6.4.4 Заправка пробы для испытания
20 мм каждой полоски, получившейся в результате предварительного надреза (см. рисунок 6), закрепляют в оборудовании для испытания на раздир с помощью зажимов с шагом 10 мм так, чтобы обеспечить направление раздира, параллельное продольной стороне пробы для испытания.

1 - полоски материала
Рисунок 6 - Проба, подготовленная для испытаний
6.4.5 Метод испытаний
6.4.5.1 Силу раздира фиксируют записывающим устройством Х-Y при скорости, равной (100 ± 10) мм/мин. Проба при этом раздирается полностью. Следует отметить, что в некоторых случаях направление раздира может быть непараллельным продольной стороне пробы.
6.4.5.2 Если испытуемая проба полностью не разорвалась при усилии свыше 75 Н, испытание допускается остановить. Записывают максимальное достигнутое усилие.
6.4.5.3 Испытание одного вида перчаток проводят на пробах, вырезанных из четырех различных перчаток одной и той же серии (партии).
6.4.5.4 Испытание проводят на двух пробах, вырезанных в направлении от манжеты к кончикам пальцев перчатки, и на двух пробах - в направлении поперек ладони (см. рисунок 7).
6.4.5.5 Результатом каждого испытания на раздир считают максимальное зафиксированное значение, а окончательным результатом считают наименьшее из значений, полученных на четырех пробах.
|
|
|
|
а) Поперек ширины ладони |
b) В направлении перчатки |
Рисунок 7 - Испытание на раздир. Направление выреза проб для испытания
6.4.6 Протокол испытаний
Протокол испытаний должен содержать следующую информацию:
- ссылку на пункт настоящего стандарта;
- информацию об образце;
- результаты испытания по 6.4.5;
- любое отклонение от метода испытаний;
- эксплуатационный уровень в соответствии с таблицей 1.
6.5 Стойкость к проколу
6.5.1 Сущность метода
Стойкость к проколу определяется силой, прикладываемой к стальной игле определенных размеров для прокола испытуемой пробы, расположенной на удерживающем устройстве. Данный метод не может быть соотнесен с проколом, создаваемым иглами или заостренными краями материалов.
6.5.2 Оборудование
Оборудование для испытания на сопротивление проколу состоит:
- из малоинерционного прессовочного инструмента класса 2 согласно EN ISO 7500-1, оснащенного динамометром со шкалой от 0 до 500 Н;
- стальной иглы марки 60 HRC Rockwell, центрированной по оси инструмента, заточенной в соответствии с размерными требованиями, приведенными на рисунке 8;
- удерживающего устройства для испытуемой пробы, центрованного на оси инструмента, как показано на рисунке 9.
Размеры в миллиметрах

Рисунок 8 - Игла - сталь 60 HRC Rockwell
Размеры в миллиметрах

1 - зажимающий штифт
Рисунок 9 - Удерживающее устройство
6.5.3 Проба для испытаний
Вырезают круглую пробу диаметром не менее 40 мм таким образом, чтобы швы, усилители или утолщения находились вне зоны зажима или перфорации. В случае, если образец состоит из нескольких не связанных между собой слоев, испытание проводят на всех слоях одновременно. В случае нестандартной конструкции ладонной части испытанию подвергаются все зоны. Окончательный результат представляет собой минимальное полученное значение.
6.5.4 Метод испытаний
a) зажимают пробу для испытания в центре удерживающего устройства лицевой стороной к игле;
b) опускают иглу на пробу для испытания со скоростью 100 мм/мин и поднимают вверх со смещением 50 мм от образца. Записывают наибольшее значение силы, даже если проба для испытания не прокололась;
c) испытание проводят на четырех пробах, вырезанных из четырех различных перчаток одной партии;
d) профиль и размеры иглы должны соответствовать рисунку 7 для каждого испытания. Для большинства материалов рекомендуют проверять иглу через каждые 500 испытаний, для материалов (твердых и абразивных), которые могут повредить иглу, проверять иглу следует чаще;
е) результат записывают по наименьшему полученному значению.
6.5.5 Протокол испытаний
Протокол испытаний должен содержать следующую информацию:
- ссылку на пункт настоящего стандарта;
- информацию об образце;
- результаты четырех измерений по 6.5.4;
- любое отклонение от метода испытаний;
- эксплуатационный уровень в соответствии с таблицей 1.
6.6 Защита от ударов
Испытания для области пястно-фаланговых суставов проводят в соответствии с EN 13594:2015 (пункт 6.9), с энергией удара, равной 5 Дж.
Для других частей (тыльная часть кисти руки, ладонь и т.п.) центр заявленной защитной зоны проходит испытание в соответствии с EN 13594:2015 (пункт 6.9), с энергией ударной нагрузки, равной 5 Дж. Четыре испытания в центре защитной зоны проводят для четырех разных перчаток одной партии. Результаты указывают в соответствии с требованиями EN 13594:2015 (пункт 6.9, перечисление h).
7.1 Общие положения
Маркировка перчатки и/или нарукавника должна соответствовать требованиям EN 420.
7.2 Пиктограммы
Для маркировки защитных свойств перчаток и нарукавников, соответствующих разделу 4, применяется пиктограмма (см. рисунок 10) с указанием эксплуатационных уровней по каждому испытанию (см. рисунок 11).
Первый символ соответствует стойкости к истиранию, второй - сопротивлению порезу, третий - сопротивлению раздиру, четвертый - стойкости к проколам, пятый (обозначается буквой) - сопротивлению порезу согласно EN ISO 13997:1999 (требования, указанные в таблицах 1 и 2).
В случае если в ходе испытаний на сопротивление порезу в соответствии с 6.2 резак затупился, а производитель заявляет данное свойство, то необходимо указывать эксплуатационный уровень, определяемый по методу, указанному в 6.3. Числовой уровень сопротивления порезу в соответствии с 6.2 может не включаться в маркировку в случае, если были проведены испытания согласно EN ISO 13997:1999, приведенные в 6.3.
Расположение пиктограммы и эксплуатационных уровней по отношению друг к другу - в соответствии с EN 420.

Рисунок 10 - Пиктограмма для защиты от механических воздействий
7.3 Маркировка дополнительных требований
Защита от ударов
Если перчатки соответствуют требованиям, указанным в 4.2.1, код маркировки "Р" добавляется после пяти символов эксплуатационных уровней (см. пример на рисунке 11).
7.4 Примеры маркировки

Пример 1 - 3 4 4 3 Е Р
Пример 2 - 3 X 0 3 Е
Пример 3 - 3 2 0 3 X
Рисунок 11 - Пример маркировки
|
Пример |
N 1 |
N 2 |
N 3 |
|
Истирание (6.1) |
Уровень 3 |
Уровень 3 |
Уровень 3 |
|
Порез (6.2) |
Уровень 4 |
Испытание не проводилось или не применимо к этому типу изделий |
Уровень 2 |
|
Раздир (6.4) |
Уровень 4 |
Уровень 1 не достигнут |
Уровень 1 не достигнут |
|
Прокол (6.5) |
Уровень 3 |
Уровень 3 |
Уровень 3 |
|
Порез (6.3) |
Уровень Е |
Уровень Е |
Испытание не проводилось |
|
Защита от ударов |
Достигнут |
Испытание не проводилось |
Испытание не проводилось |
Информация, предоставляемая производителем, - в соответствии с EN 420.
Приводят описания специальных испытаний, проводимых при различных условиях (см. 5.3).
При необходимости указывают, что эксплуатационный уровень перчаток, состоящих из двух или более слоев, не всегда отражает эксплуатационный уровень последнего слоя перчатки.
Если производителем делается заявление о защите от ударных воздействий, необходимо указывать:
- зону(ы), в отношении которой(ых) делается заявление о защите;
- предупреждение о том, что защита не относится к зоне пальцев.
Для любых перчаток с устойчивостью к механическим воздействиям, которые достигают и демонстрируют сопротивление раздиру (6.4), равное или превышающее уровень 1, следует включить предупреждение о том, что перчатки не используют, когда есть риск соприкосновения с движущимися частями оборудования.
Если в ходе испытания сопротивления порезу по 6.2 резак затупился, то результаты носят информационный характер, а эксплуатационный уровень сопротивления порезу определяют согласно методике, указанной в 6.3. Данная информация должна быть указана в инструкции по эксплуатации.
Приложение А
(обязательное)
А.1 Определение абразивного материала
Абразивный материал должен соответствовать следующим характеристикам:
- шероховатость: 180;
- тип зерен: оксид алюминия;
- плотность покрытия: полуоткрытый;
- основа: задняя часть состоит из бумаги подходящего качества с минимальным базисным весом, составляющим 110 г/м2 ± 5 %;
- клей: клей должен быть подходящим для его назначения;
- абразивный материал: необходимо использовать подходящее абразивное зерно. Следует использовать зерно, соответствующее стандарту FEPA Р.
Абразивный материал должен обладать следующими характеристиками:
a) предел прочности на раздир должен составлять не менее:
1) в продольном направлении: 500 Н/50 мм;
2) в поперечном направлении: 250 Н/50 мм;
b) вес абразивного материала должен составлять 300 г/м2 ± 15 %.
А.2 Критерии пригодности материала
При испытании хлопкового полотна (6.2.5) с помощью метода, описанного в 6.1.5, через 100 циклов истирания потеря веса должна составлять от 0,009 до 0,027 г.
Примечание - Изменение Amd.1:2018
Приложение В
(обязательное)
Для каждого из требуемых измерений, выполненных в соответствии с настоящим стандартом, необходимо определить соответствующую оценку неопределенности измерения.
Необходимо использовать один из трех следующих подходов:
- статистический метод; например, указанный в ISO 5725-2;
- математический метод; например, указанный в Guide ISO/IEC 98-3;
- оценка неопределенности и соответствия, как указано в Guide ISO/IEC 98-4.
Приложение С
(обязательное)
С.1 Цель
Необходимо плотно зажать пробу во время испытания на истирание (EN 388, пункт 6.1).
Эффективность склеивания клейкой ленты имеет решающее значение.
Данный метод испытаний основан на EN ISO 11644.
С.2 Оборудование и материалы
С.2.1 Оборудование для испытания на растяжение должно иметь следующие характеристики:
a) диапазон сил, соответствующий для испытуемой пробы;
b) единая скорость расхождения зажимов, равная 100 мм/мин;
c) подходящие средства фиксации держателя клейкой пластинки (С.2.3) и крючка (С.2.4);
d) возможность записи диаграммы силы - расстояния во время испытания.
С.2.2 ПВХ-пластина, к которой крепится проба, представляет собой кусок жесткого поливинилхлорида (ПВХ), 70 х 20 х 3 мм. Предпочтителен ПВХ с высокой инфракрасной (ИК) абсорбцией.
С.2.3 Держатель пластины (см. рисунок С.1) должен быть изготовлен из любого подходящего материала, для удерживания клейкой пластины, к которой крепится образец кожи, в нижнем зажиме машины для испытания на растяжение. В качестве альтернативы пластины можно прочно зажать винтами через боковые части держателя пластины (см. рисунок С.3).
Размеры в миллиметрах

(± 2 мм для 35 мм, в остальных случаях ± 1 мм)
Рисунок С.1 - Держатель пластины
С.2.4 Крючок, изготовленный из стальной проволоки диаметром от 1 до 2 мм, длиной не менее 200 мм, для крепления свободного конца образца к верхнему зажиму машины для испытания на растяжение (см. рисунок С.3). Длина крючка обеспечивает постоянство угла пересечения, близкого к 90°.
С.2.5 Перфорирующее устройство, подходящее для проделывания отверстий диаметром от 2 до 3 мм в эталонном образце, при использовании крючкового соединения (С.2.4).
С.2.6 Эталонный образец из резины (см. ISO 4649:2010, приложение В), размеры образца резины, подлежащей испытанию, составляют (100 ± 2) x (10 ± 1) мм.
Резина разделяется на полосы толщиной 1,5 мм. Испытуемая поверхность - внешняя (более гладкая). Поверхность очищают от жира с помощью нефтяного эфира (плотностью d = 0,65 г/см3). После обезжиривания дают резине обсохнуть в течение 2 мин, а затем прикрепляют к ней клейкую ленту.
С.3 Подготовка проб
Клейкая лента является пробой для испытания.
Испытуемые пробы и эталонный образец из резины перед испытанием выдерживают в течение не менее 16 ч в стандартных атмосферных условиях, приведенных в настоящем стандарте.
Прикрепляют полоску испытуемой пробы размерами (70 ± 2) x (10 ± 1) мм на пластину из ПВХ (С.2.2), а затем прикрепляют к полоске эталонный образец из резины (см. рисунок С.2).
Размеры в миллиметрах

1 - ПВХ-пластина; 2 - полоска испытуемой пробы; 3 - эталонный образец из резины
Рисунок С.2 - Подготовка испытуемой пробы
Затем помещают ПВХ-пластину в верхнюю часть сборки и придавливают грузом весом 10 кг.
Удерживают груз на сборке в течение 5 мин ± 30 с, а затем снимают 10-килограммовый вес и выполняют испытание немедленно.
Необходимо подготовить две сборки.
С.4 Метод испытаний
С.4.1 Фиксируют держатель (С.2.3) в нижнем зажиме оборудования для испытания на растяжение (С.2.1).
С.4.2 Проталкивают пакет испытуемых проб (сложенных в последовательности: ПВХ-пластина, испытуемая проба, эталонный образец из резины) в держатель до тех пор, пока конец пластины не сравняется с концом держателя.
С.4.3 Прикрепляют один конец крючка (С.2.4) в верхнем зажиме оборудования для испытания на растяжение, а другой конец - к пробе, вставив его в отверстие с краю (см. рисунок С.3).
Размеры в миллиметрах

Рисунок С.3 - Размещение испытуемой пробы и зажимов для испытания с системой крючкового соединения
С.4.4 Устанавливают оборудование для испытания на растяжение на единую скорость расхождения зажимов, равную 100 мм/мин, и записывают диаграмму сила - перемещение для отделения эталонного образца из резины от испытуемой пробы в диапазоне от 30 до 35 мм.
С.4.5 Необходимо применить такую силу, чтобы эталонная резина отслоилась под углом около 90° к ПВХ-пластине.
Испытание проводят на второй испытуемой пробе.
С.4.6 Для каждой диаграммы сила - перемещение, системно показанной на рисунке С.4, определяют среднее арифметическое значение силы во время распространения отслаивания по испытуемой пробе, например значение адгезии. Фиксируют значение адгезии, выраженное в ньютонах на мм, округленное до ближайшего 0,01 Н/мм.

1 - расстояние около 30 мм; X - значение адгезии; Y - адгезия
Рисунок С.4 - Оценка диаграммы сила - перемещение
Регистрация силы начинается после достижения первого максимума силы (первоначальный пик подъема). Все пики подлежат регистрации (см. рисунок С.4); но первые и последние 10 % перемещения не используются для оценки. Сила адгезии рассчитывается от среднего значения пиков и длин сил.
Примечание - Если пики силы отсутствуют, общее перемещение (за исключением первых и последних 10 %) делится на девять отрезков равного расстояния. Сила адгезии рассчитывается на основании средних значений силы в начале каждого отрезка.
Для двух испытуемых проб рассчитывают и регистрируют среднее арифметическое всех полученных значений адгезии. Результат представляет собой среднее арифметическое из двух значений.
С.5 Примеры приемлемой клейкой ленты
- TESA® 56170-0004 *;
- лента Polyken® *;
- 3Мтм 465 *.
──────────────────────────────
* Это примеры подходящего(их) продукта(ов), имеющегося(ихся) в открытой продаже. Данная информация предоставляется только для удобства пользователей настоящего стандарта и не представляет собой одобрения со стороны Европейского комитета по стандартизации поименованного указанного продукта. Эквивалентные продукты могут использоваться, если было доказано, что их использование приводит к идентичным результатам.
──────────────────────────────
Приложение ZA
(справочное)
EN 388:2016 подготовлен на основании запроса Комиссии о стандартизации с целью установления единого добровольного метода соответствия требованиям Регламента (ЕС) 2016/425 Европейского парламента и Совета от 9 марта 2016 года на средства индивидуальной защиты.
После того как ссылки на EN 388:2016 были приведены в Официальном журнале Европейского союза в соответствии с Регламентом (ЕС) 2016/425, соблюдение положений EN 388:2016, приведенных в таблице ZA.1, подразумевает, в рамках объема EN 388:2016, презумпцию его соответствия основным требованиям Регламента (ЕС) 2016/425 и связанным с ним нормам ЕАСТ (Европейской ассоциации свободной торговли).
|
Основные требования Регламента (ЕС) 2016/425, Приложение II |
Раздел(ы)/ подраздел(ы) EN 388:2016 |
Замечания/ примечания |
|
1.4 Информация, предоставляемая производителем |
Разделы 7 и 8 | |
|
2.12 СИЗ, имеющие один или несколько идентификационных признаков, относящихся к здоровью и безопасности |
Раздел 7 | |
|
3.1.1 Ударные воздействия, вызванные падениями предметов, воздействия движущихся объектов и столкновение частей тела с предметами |
4.2.2 | |
|
3.3 Защита от механических травм |
4.1 |
ПРЕДУПРЕЖДЕНИЕ 1 - Презумпция соответствия остается в силе только до тех пор, пока ссылка на EN 388:2016 сохраняется в списке, опубликованном в Официальном журнале Европейского союза. Пользователи EN 388:2016 должны регулярно просматривать последние списки, публикуемые в Официальном журнале Европейского союза.
ПРЕДУПРЕЖДЕНИЕ 2 - К продуктам (изделиям), попадающим под сферу применения EN 388:2016, могут быть применимы другие законодательные акты Европейского союза.
Примечание - Изменение Amd.1:2018.
Приложение ДА
(справочное)
Таблица ДА.1
|
Обозначение ссылочного международного, европейского стандарта |
Степень соответствия |
Обозначение и наименование соответствующего межгосударственного стандарта |
|
EN 420 |
- |
* |
|
EN 1049-2 |
- |
* |
|
EN 12127 |
- |
* |
|
EN 13594:2015 |
- |
* |
|
EN ISO 5084 |
- |
* |
|
EN ISO 7500-1 |
- |
* |
|
EN ISO 11644 |
IDT |
ГОСТ ISO 11644-2013 "Кожа. Метод определения адгезии отделочного покрытия" |
|
CEN ISO/TR 11827 |
- |
*, 1) |
|
EN ISO 12947-1 |
- |
*, 2) |
|
EN ISO 13934-1 |
- |
*, 3) |
|
EN ISO 13997:1999 |
IDT |
ГОСТ ISO 13997-2016 "Система стандартов безопасности труда. Одежда специальная защитная. Метод определения сопротивления порезу острыми предметами" |
|
ISO 1139 |
MOD |
ГОСТ 16736-2002 (ИСО 1139-73) "Нити текстильные. Обозначения структуры" |
|
ISO 4649:2010 |
- |
* |
|
ISO 5725-2 |
IDT |
ГОСТ ИСО 5725-2-2003 "Точность (правильность и прецизионность) методов и результатов измерений. Часть 2. Основной метод определения повторяемости и воспроизводимости стандартного метода измерений" 4) |
|
ISO 7211-1 |
- |
* |
|
ISO 7211-4 |
- |
* |
|
ISO 7211-5 |
- |
* |
|
ISO/IEC Guide 98-3 |
IDT |
ГОСТ 34100.3-2017/ISO/IEC Guide 98-3:2008 "Неопределенность измерения. Часть 3. Руководство по выражению неопределенности измерения" |
|
ISO/IEC Guide 98-4 |
- |
* |
|
* Соответствующий межгосударственный стандарт отсутствует. До его принятия рекомендуется использовать перевод на русский язык международного (европейского) стандарта. Официальный перевод данного международного (европейского) стандарта находится в Федеральном информационном фонде стандартов. Примечание - В настоящей таблице использованы следующие условные обозначения степени соответствия стандартов: - IDT - идентичные стандарты; - MOD - модифицированные стандарты. | ||
──────────────────────────────
1) В Российской Федерации действует ГОСТ Р 56561-2015/ISO/TR 11827:2012 "Материалы текстильные. Определение состава. Идентификация волокон".
2) В Российской Федерации действует ГОСТ Р ИСО 12947-1-2011 "Материалы текстильные. Определение устойчивости к истиранию полотен по методу Мартиндейла. Часть 1. Устройство для испытания по методу истирания Мартиндейла".
3) В Российской Федерации действует ГОСТ Р ИСО 13934-1-2015 "Материалы текстильные. Свойства тканей при растяжении. Часть 1. Определение максимального усилия и относительного удлинения при максимальном усилии методом полоски".
4) В Российской Федерации действует ГОСТ Р ИСО 5725-2-2002 "Точность (правильность и прецизионность) методов и результатов измерений. Часть 2. Основной метод определения повторяемости и воспроизводимости стандартного метода измерений".




