ГОСТ EN 354-2019 СИСТЕМА СТАНДАРТОВ БЕЗОПАСНОСТИ ТРУДА. СРЕДСТВА ИНДИВИДУАЛЬНОЙ ЗАЩИТЫ ОТ ПАДЕНИЯ С ВЫСОТЫ. СТРОПЫ. ОБЩИЕ ТЕХНИЧЕСКИЕ ТРЕБОВАНИЯ. МЕТОДЫ ИСПЫТАНИЙ
Occupational safety standards system. Personal fall protection equipment. Lanyards. General technical requirements. Test methods
МКС 13.340.60
IDT
Дата введения - 1 сентября 2020 г.
Введен впервые
Предисловие
Цели, основные принципы и общие правила проведения работ по межгосударственной стандартизации установлены ГОСТ 1.0 "Межгосударственная система стандартизации. Основные положения" и ГОСТ 1.2 "Межгосударственная система стандартизации. Стандарты межгосударственные, правила и рекомендации по межгосударственной стандартизации. Правила разработки, принятия, обновления и отмены"
Сведения о стандарте
1 Подготовлен Частным учреждением Федерации Независимых Профсоюзов России "Научно-исследовательский институт охраны труда в г. Екатеринбурге" (ЧУ ФНПР "НИИОТ") на основе собственного перевода на русский язык англоязычной версии стандарта, указанного в пункте 5
2 Внесен Федеральным агентством по техническому регулированию и метрологии
3 Принят Межгосударственным советом по стандартизации, метрологии и сертификации (протокол от 30 июля 2019 г. N 120-П)
За принятие проголосовали:
|
Краткое наименование страны по МК (ИСО 3166) 004-97 |
Код страны по МК (ИСО 3166) 004-97 |
Сокращенное наименование национального органа по стандартизации |
|
Беларусь |
BY |
Госстандарт Республики Беларусь |
|
Киргизия |
KG |
Кыргызстандарт |
|
Россия |
RU |
Росстандарт |
|
Узбекистан |
UZ |
Узстандарт |
4 Приказом Федерального агентства по техническому регулированию и метрологии от 27 августа 2019 г. N 543-ст межгосударственный стандарт ГОСТ EN 354-2019 введен в действие в качестве национального стандарта Российской Федерации с 1 сентября 2020 г.
5 Настоящий стандарт идентичен европейскому стандарту EN 354:2010 "Средства индивидуальной защиты от падения. Стропы" (EN 354:2010 "Personal fall protection equipment - Lanyards", IDT).
Европейский стандарт разработан техническим комитетом CEN/TC 160 "Защита от падения с высоты, включая рабочие пояса", секретариатом которого является DIN (Германия).
Наименование настоящего стандарта изменено относительно наименования указанного европейского стандарта в целях приведения в соответствие с ГОСТ 1.5 (подраздел 3.6) и для увязки с наименованиями, принятыми в существующем комплексе межгосударственных стандартов.
При применении настоящего стандарта рекомендуется использовать вместо ссылочных международных и европейских стандартов соответствующие им межгосударственные стандарты, сведения о которых приведены в дополнительном приложении ДА
6 Введен впервые
7 Некоторые элементы настоящего стандарта могут являться объектами патентных прав
Настоящий стандарт устанавливает общие технические требования, методы испытаний, требования к маркировке, упаковке и информации, предоставляемой изготовителем для стропов. Стропы, соответствующие настоящему стандарту, используются в качестве элементов или компонентов для соединения в системах индивидуальной защиты от падения с высоты (т.е. в удерживающих системах, системах позиционирования на рабочем месте, системах канатного доступа, в страховочных и спасательных системах).
В настоящем стандарте использованы нормативные ссылки на следующие стандарты. Для датированных ссылок используют только указанное издание стандарта, для недатированных ссылок - последнее издание (включая все изменения).
EN 362, Personal protective equipment against falls from a height - Connectors (Средства индивидуальной защиты от падения с высоты. Соединительные элементы)
EN 363:2008, Personal fall protection equipment - Personal fall protection systems (Средства индивидуальной защиты от падения. Системы индивидуальной защиты от падения)
EN 364:1992, Personal protective equipment against falls from a height - Test methods (Средства индивидуальной защиты от падения с высоты. Методы испытаний)
EN 365, Personal protective equipment against falls from a height - General requirements for instructions for use, maintenance, periodic examination, repair, marking and packaging (Средства персональной защиты от падения с высоты. Общие требования к инструкциям по эксплуатации, техническому уходу, периодической проверке, ремонту, маркировке и упаковке)
EN 892, Mountaineering equipment - Dynamic mountaineering ropes - Safety requirements and test methods (Альпинистское снаряжение. Динамические веревки. Требования техники безопасности и методы испытаний)
EN ISO 9227, Corrosion tests in artificial atmospheres - Salt spray tests (ISO 9227:2006) [Испытания на коррозионную стойкость в условиях искусственной атмосферы. Испытания в соляном тумане (ИСО 9227:2006)]
ISO 1835, Short link chain for lifting purposes - Grade M (4), non-calibrated, for chain slings etc [Цепи короткозвенные грузоподъемные. Цепи класса М (4) некалиброванные для цепных стропов и аналогичного назначения]
ISO 2232, Round drawn wire for general purpose non-alloy steel wire ropes and for large diameter steel wire ropes - Specifications (Проволока круглая тянутая для проволочных канатов общего назначения из нелегированной стали и для стальных проволочных канатов большого диаметра. Технические требования)
В настоящем стандарте применены термины по EN 363:2008, а также следующие термины с соответствующими определениями:
3.1 строп (lanyard): Гибкий элемент или компонент для соединения в индивидуальной системе защиты от падения с высоты, имеющий не менее двух концевых соединений, с устройством регулирования длины или без него.
Примечания
1 В их число входят также и петлевые стропы.
2 Строп может быть изготовлен, например, из каната или тканой ленты из синтетических волокон, проволочного каната (троса) или цепи.
3.2 концевое соединение (termination): Часть стропа для соединения с другими элементами или компонентами системы индивидуальной защиты от падения с высоты.
Примечание - Концевым соединением стропа может быть, например, сплетенная или сшитая петля или металлическое кольцо.
3.3 система индивидуальной защиты от падения (personal fall protection system): Конструкция из отдельных компонентов, предназначенная для защиты пользователя от падения с высоты, включающая устройство для поддержания тела и соединительную систему, которая присоединяется к надежной точке закрепления.
Примечание - Системы индивидуальной защиты от падения с высоты не предназначены для использования при профессиональных и индивидуальных занятиях спортом.
3.4 соединительный элемент (connector): Открываемое устройство, используемое для соединения компонентов, которое позволяет пользователю собрать систему и непосредственно или косвенно присоединить себя к анкеру.
3.5 устройство регулирования длины (length adjustment device): Отдельная деталь стропа для изменения его длины.
3.6 длина стропа (lanyard length): Длина стропа в метрах от одной несущей нагрузку точки до другой несущей нагрузку точки, измеренная без нагрузки, но в натянутом состоянии стропа.
4.1.1 Стропы должны быть изготовлены из гладко обработанных материалов и не должны иметь острые края или заусеницы, которые могут причинить вред пользователю, или которые могут порезать, разорвать или иным образом привести к повреждению самого стропа.
4.1.2 При испытании по 5.3.3 стропы с устройством регулирования длины должны регулироваться.
4.1.3 Устройство регулирования длины не должно допускать непреднамеренного открытия и непреднамеренного изменения длины стропа.
4.1.4 Стропы с устройством регулирования длины должны быть оснащены концевым ограничителем, который предотвращает непреднамеренное отсоединение устройства регулирования длины от самого стропа.
4.1.5 Соединительные элементы, встроенные в конструкцию стропа, должны соответствовать EN 362.
4.1.6 Длина стропа, измеренная в соответствии с 5.3.4, должна находиться в пределах ± 5 % от длины, указанной на маркировке стропа.
4.2.1 Материалы, которые могут вступать в контакт с кожей пользователя не должны, даже предположительно, неблагоприятно влиять на гигиену или самочувствие пользователя - например, оказывать раздражающее или сенсибилизирующее действие при нормальном использовании стропа.
4.2.2 Канаты из волокон, тканые ленты и швейные нити для стропов должны быть изготовлены из синтетических монофиламентных или комплексных нитей, подходящих для предполагаемого использования. Прочность на разрыв синтетических волокон должна составлять не менее 0,6 Н/текс.
4.2.3 Проволочные канаты для стропов должны быть изготовлены из стали. Обжимные втулки концевых соединений должны быть выполнены из пластичного металлического материала. Проволочные канаты, изготовленные не из нержавеющей стали, должны быть гальванизированными в соответствии с ISO 2232.
4.2.4 Цепи должны соответствовать требованиям к цепям диаметром не менее 6 мм, указанным в ISO 1835. Овальные или похожие на них концевые и соединительные звенья должны быть совместимы со звеньями цепи во всех отношениях.
4.3.1 Стропы должны иметь такие концевые соединения, которые можно подсоединить к другому индивидуальному средству защиты от падения с высоты напрямую или с помощью соответствующего соединительного элемента.
4.3.2 Сращенные концевые соединения канатов должны быть надежно закреплены таким образом, чтобы сращивание при использовании не нарушалось, а материалы, используемые для закрепления, должны быть совместимы с материалом каната.
4.3.3 Нити, используемые для сшивания, должны иметь контрастный оттенок или цвет для облегчения визуального контроля.
4.3.4 При использовании узла для формирования концевого соединения стропа узел должен быть затянут и, при необходимости, зафиксирован так, чтобы он не мог быть развязан без использования инструмента. После испытания на статическую прочность по 5.7 свободный конец узла должен иметь длину не менее 100 мм.
4.3.5 Концы стропа должны быть защищены от расплетения.
4.3.6 Петли концевых соединений стропа из проволочных канатов не должны изготавливаться с использованием U-образных зажимов.
При проведении испытания по 5.6 проскальзывание стропа через устройство регулирования длины должно быть не более 50 мм.
4.5.1 Стропы, изготовленные из любого текстильного материала или с использованием текстильных элементов, например, канатов или тканых лент из синтетического волокна, при испытании по 5.7 должны выдерживать усилие не менее 22 кН.
4.5.2 При испытании по 5.7 стропы, изготовленные полностью из металлических деталей, должны выдерживать усилие не менее 15 кН.
После проведения испытания по 5.8 строп должен удерживать испытательный груз над землей. После чего, при испытании по 5.7.3, данный строп должен выдержать усилие (3 ± 0,3) кН или груз эквивалентной массы в течение 3+0,25 мин.
Стропы с металлическими элементами должны быть испытаны по 5.9. Ни на одной металлической детали стропа не должно присутствовать признаков коррозии металла, и стропы должны функционировать в соответствии с 4.1.3. Наличие потускнения и белого налета допускается.
Примечания
1 Изготовитель должен избегать комбинирования различных металлов в таком виде, при котором может возникнуть нежелательная гальваническая реакция.
2 Соответствие этому требованию не предполагает использование стропа в морской среде.
4.8.1 Маркировка стропов должна соответствовать требованиям раздела 6.
4.8.2 Информация, предоставляемая со стропами, должна соответствовать требованиям раздела 7.
Все испытания проводят в температурном диапазоне (23 ± 5) °С.
5.2.1 Общие условия кондиционирования
Образцы стропов выдерживают при температуре (23 ± 5) °С и влажности (65 ± 5) % в течение не менее 24 ч.
5.2.2 Кондиционирование при воздействии влаги и низкой температуры
Погружают образец стропа в пресную воду температурой (23 ± 5) °С и выдерживают не менее 1 ч, а затем, не более чем через 90 с, помещают образец стропа в холодильную камеру и выдерживают не менее 4 ч при температуре от минус 4 °С до минус 6 °С.
5.2.3 Кондиционирование при воздействии очень низкой температуры
Если в соответствии с инструкциями изготовителя допускается использование стропа при температуре менее минус 30 °С, то проводят кондиционирование образца стропа в соответствии с 5.2.1. Выдерживают образец стропа в холодильной камере не менее 2 ч при самой низкой температуре, заявленной изготовителем, но не превышающей (минус 30 ± 2) °С.
5.3.1 Для проверки используют новый строп.
5.3.2 Проверяют строп, используя документацию изготовителя, визуальным (с помощью визуально-оптических приборов или без них) и/или тактильным методом на соответствие требованиям 4.1.1-4.1.5.
5.3.3 Для стропов с устройством регулирования длины проверяют возможность регулирования длины путем функционального, визуального и тактильного контроля.
5.3.4 Одно концевое соединение испытываемого образца закрепляют в подходящее зажимное приспособление. Если строп регулируемый, устанавливают его на максимальную длину. Прикладывают нагрузку в виде груза массой (10 ± 0,1) кг без ударного воздействия или соответствующее усилие к другому концевому соединению стропа. Прикладывают нагрузку, описанную выше, в течение (60 ± 15) с. После этого в течение 10 с, под нагрузкой, измеряют длину стропа L в метрах между крайними точками приложения нагрузки, с точностью до 0,01 м (см. рисунок 1).
Если строп имеет более двух концевых соединений, измеряют наибольшую длину между концевыми соединениями в комбинации, допускаемой изготовителем.

L - длина
Рисунок 1 - Измерение длины стропа
Проверяют с помощью соответствующей документации визуальным осмотром с применением визуально-оптических приборов или без них и/или тактильной проверки стропа, что он соответствует 4.2.
Проверяют с помощью соответствующей документации визуальным осмотром с применением визуально-оптических приборов или без них и/или тактильного осмотра стропа, и с помощью измерений, что концевые соединения стропа соответствуют требованиям 4.3.
5.6.1 Устанавливают длину стропа при помощи устройства регулирования длины на среднее значение длины. Ставят метки на стропе и на регулировочном механизме так, чтобы эти метки совпадали и можно было оценить проскальзывание.
5.6.2 Производят кондиционирование стропа с устройством регулирования длины в соответствии с 5.2.1.
5.6.3 После кондиционирования, в течение 90 с прикладывают статическое растягивающее усилие (6,0 ± 0,1) кН между двумя концевыми соединениями стропа в течение 3+0,25 мин на оборудовании для статических испытаний, соответствующем EN 364:1992 (пункт 4.1). Снимают усилие и измеряют имеющееся проскальзывание.
5.6.4 После регулирования и нанесения меток по 5.6.1 и кондиционирования по 5.2.2 проводят испытание по 5.6.3.
5.6.5 После регулирования и нанесения меток по 5.6.1 и кондиционирования по 5.2.3 проводят испытание по 5.6.3.
Примечание - Для каждого испытания может быть использован новый образец стропа с устройством регулирования длины.
5.7.1 Оборудование
Оборудование для испытания на статическую прочность должно соответствовать EN 364:1992 (пункт 4.1).
5.7.2 Метод испытания
Примечание - Для каждого испытания может быть использован новый образец стропа.
5.7.2.1 Если строп из текстильных материалов имеет соединительный элемент, соответствующий EN 362, вставленный в концевое соединение стропа, то на время испытания удаляют этот соединительный элемент.
5.7.2.2 После кондиционирования по 5.2, в течение 90 с устанавливают строп в испытательном оборудовании. Проводят испытание стропа на заданную статическую прочность в соответствии с 4.5 между двумя его конечными точками (поставляемыми концевыми соединениями стропа). Прилагают усилие в течение 3+0,25 мин и проверяют, выдерживает ли строп усилие.
5.7.2.3 Если строп имеет более двух концевых соединений, повторяют испытание в соответствии с 5.7.2.1 для всех возможных комбинаций концевых соединений (см. рисунок 2).

1 - концевое соединение стропа, используемое для присоединения к привязи (через соединительный элемент); 2 - свободные концы двухплечного стропа; 3 - концевые соединения стропа, используемые для прикрепления к конструкции (через соединительный элемент); а - точки присоединения для испытания 1 (между а и a); b - точки присоединения для испытания 2 (между b и b); с - точки присоединения для испытания 3 (между с и с)
Рисунок 2 - Пример стропа, имеющего более двух концевых соединений, с указанием концевых соединений, подлежащих испытаниям
5.7.2.4 Для стропов с регулятором длины выполняют два испытания: одно со стропом, отрегулированным на минимальную длину стропа, другое со стропом, отрегулированным на максимальную длину стропа.
5.7.3 Испытание стропов с устройством регулирования длины на статическую прочность после испытания на динамическую прочность
Строп с устройством регулирования длины испытывают при статическом испытательном усилии (3 ± 0,3) кН, приложенном между двумя его конечными точками (поставляемыми концевыми соединениями стропа) или с применением груза с эквивалентной массой. Прикладывают усилие в течение 3+0,25 мин и проверяют, что выполнены требования 4.6.
5.8.1 Оборудование
5.8.1.1 Оборудование для испытания на динамическую прочность
Оборудование для испытания на динамическую прочность должно соответствовать EN 364:1992 (пункты 4.4.1, 4.5 и 4.6).
5.8.1.2 Испытательный строп
Испытательный строп должен быть изготовлен из альпинистской веревки, соответствующей требованиям EN 892 для одинарных веревок, и обеспечивающей пиковое усилие (9 ± 1,5) кН при первом испытании в соответствии с EN 892.
Концевые соединения веревки формируют с помощью узлов булинь с длиной петли и узла не более 200 мм (см. рисунки 3 и 4).

Рисунок 3 - Узел булинь

F - испытательный груз или эквивалентное усилие; 1 - узел булинь; 2 - петля концевого соединения; 3 - точка крепления
Рисунок 4 - Испытательный строп
Подготавливают испытательный строп так, чтобы при нагрузке жестким испытательным грузом массой 100 кг или эквивалентным усилием длина испытательного стропа, включая петли, которые должны быть образованы на двух концах, составляла 2000+100 мм (см. рисунок 4).
5.8.2 Метод
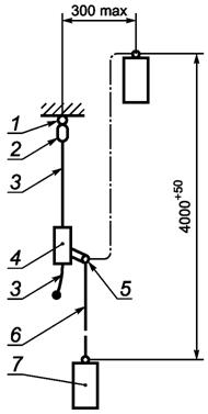
5.8.2.1 Проводят кондиционирование стропа в соответствии с 5.2.1, затем присоединяют концевое соединение стропа к жесткой анкерной точке испытательной конструкции, при необходимости используют подходящий соединительный элемент.
См. рисунок 5 для подготовки испытания.
5.8.2.2 Регулируют длину стропа с устройством регулирования длины таким образом, чтобы расстояние от его соединения с жесткой анкерной точкой испытательной конструкции до подвижного концевого соединения стропа составляло (500 ± 5) мм. Если минимальная регулируемая длина превышает 500 мм, выполняют испытание при минимальной регулируемой длине. Если максимальная регулируемая длина менее 500 мм, выполняют испытание при максимальной регулируемой длине.
5.8.2.3 Присоединяют один конец испытательного стропа к точке присоединения на подвижном конце стропа, используя соответствующий соединительный элемент, если необходимо. Присоединяют испытательный груз массой 100 кг, в соответствии с 5.8.1.1, к другому концу испытательного стропа.
|
|
|
|
a) Точка соединения находится на устройстве регулирования длины |
b) Точка соединения не находится на устройстве регулирования длины |
1 - анкерная точка; 2 - концевое соединение; 3 - строп; 4 - устройство регулирования длины; 5 - точка присоединения на подвижном конце стропа; 6 - испытательный строп; 7 - испытательный груз массой 100 кг
Рисунок 5 - Испытание на динамическую прочность стропов с устройством регулирования длины
5.8.2.4 Поднимают испытательный груз над жесткой анкерной точкой испытательной конструкции с отклонением не более 300 мм по горизонтали таким образом, чтобы падение испытательного груза составило 4000+50 мм. Удерживают его с помощью устройства быстрого расцепления в соответствии с 5.8.1.1.
5.8.2.5 Отпускают груз в падение, при этом после падения он должен оставаться на некотором расстоянии от земли.
Образец стропа испытывают воздействием нейтрального солевого тумана в соответствии с EN ISO 9227 в течение 24+0,5 ч. Просушивают строп 60+5 мин при температуре (20 ± 2) °С. Повторяют процедуру таким образом, чтобы весь строп полностью подвергался испытательному воздействию до 24 ч и сушке в течение 60+5 мин и плюс еще одно воздействие тумана в течение 24+0,5 ч и сушка в течение 60+5 мин.
Испытанный образец исследуют в соответствии с 4.7.
Маркировка на стропе должна соответствовать EN 365, а также содержать следующие сведения:
a) максимальная длина стропа в соответствии с 4.1.6;
b) месяц и год изготовления.
Информация, предоставленная изготовителем, должна соответствовать EN 365 и дополнительно содержать, как минимум, следующие рекомендации и информацию:
а) пользователь должен прочитать и понять информацию, предоставленную изготовителем, перед использованием стропа;
b) предупреждение о том, что строп не должен использоваться для целей остановки падения в страховочной системе без какого-либо поглощения энергии торможения, например, без амортизатора энергии;
c) что общая длина стропа, соединенного с амортизатором (включая концевые соединения и соединительные элементы), должна быть не более 2 м;
d) материал, из которого изготовлен строп;
e) обозначение настоящего стандарта;
f) если оценка риска, проведенная до начала работы, показывает, что возможен случай нагрузки стропа через острую кромку, то должны быть предприняты соответствующие меры предосторожности;
g) при нахождении возле места опасности падения пользователь должен минимизировать провисание стропа;
h) при регулировке длины стропа, во избежание риска падения, пользователь не должен находиться в зоне, где существует опасность падения;
i) срок годности изделия и информация об условиях, которые могут уменьшить ожидаемый срок пригодности изделия для эксплуатации;
j) информацию о том, можно ли использовать строп при чокерном подсоединении;
k) информация о допустимых/недопустимых расположениях/конфигурациях стропов в сочетании с амортизатором.
Примеры
1) Два отдельных стропа, каждый с амортизатором, не следует использовать рядом друг с другом (то есть параллельно);
2) Концевое соединение свободного конца двухплечного стропа с амортизатором не должно закрепляться на привязи к элементам крепления, не предназначенным для этой цели.
Упаковка должна соответствовать требованиям EN 365.
Приложение А
(справочное)
|
Раздел/подраздел/рисунок |
Изменение |
|
1 Область применения |
Область применения данного стандарта расширена: стропы, соответствующие данному стандарту, применяются в качестве соединительных элементов или компонентов во всех системах индивидуальной защиты от падения с высоты (не только в страховочных системах) |
|
2 Нормативные ссылки |
Добавлены ссылки на EN 892 и EN ISO 9227 |
|
3 Термины и определения |
Изменены определения "строп", "длина стропа", "концевое соединение" и "соединительный элемент". Введены определения "система индивидуальной защиты от падения" и "устройство регулирования длины" |
|
4.1 Конструкция и эргономика |
Подраздел пересмотрен |
|
4.2 Материалы |
Подраздел пересмотрен |
|
4.3 Концевые соединения |
Добавлен подраздел с описанием "концевых соединений" стропа |
|
4.4 Проскальзывание стропа с устройством регулирования длины |
Введено требование в отношении проскальзывания стропа с устройством регулирования длины |
|
4.6 Динамическая прочность для стропов с устройством регулирования длины |
Введено дополнительное требование |
|
4.7 Коррозионная стойкость |
Добавлены требования к коррозионной стойкости |
|
5 Методы испытаний |
Раздел пересмотрен, добавлены новые подразделы |
|
5.1 Общие положения |
Подраздел добавлен |
|
5.2 Кондиционирование |
Подраздел добавлен |
|
5.3 Проверка конструктивного исполнения |
Подраздел добавлен |
|
5.4 Проверка материалов |
Подраздел добавлен |
|
5.5 Проверка концевых соединений |
Подраздел добавлен |
|
5.6 Испытание на проскальзывание стропов с устройством регулирования длины |
Подраздел добавлен |
|
5.7 Испытание на статическую прочность |
Подраздел изменен |
|
5.8 Испытания на динамическую прочность стропов с устройством регулирования длины |
Подраздел изменен |
|
5.9 Испытание на коррозионную стойкость |
Испытание введено для проверки требований подраздела 4.7 |
|
Рисунки 1-5 |
Добавлены рисунки для описания методов испытаний |
|
6 Маркировка |
Раздел пересмотрен |
|
7 Информация, предоставляемая изготовителем |
Раздел пересмотрен |
|
Приложение ZA |
Приложение пересмотрено |
|
Библиография |
Библиография EN 354:2002 удалена |
Приложение ZA
(справочное)
EN 354:2010 подготовлен в соответствии с распоряжением, которое было отдано CEN Европейской комиссией и Европейской ассоциацией свободной торговли с целью обеспечения средств для соответствия основным требованиям Директивы о новом подходе 89/686/ЕЕС.
После того, как ссылки на EN 354:2010 были приведены в Официальном журнале Европейского Союза и в соответствии с данной Директивой он был реализован в качестве национального стандарта как минимум в одном государстве-члене, соблюдение положений этого стандарта, приведенных в таблице ZA.1, обеспечивает, в рамках объема EN 354:2010, соответствие основным требованиям этой Директивы и связанным с ней нормативам EFTA (Европейской организации свободной торговли).
|
Раздел(ы)/подраздел(ы) EN 354:2010 |
Основные требования Директивы ЕС 89/686/ЕЕС |
Замечания/примечания |
|
4.1.1; 4.1.4; 4.3.2; 4.3.4; 4.3.5; 4.4 |
1.2.1 Отсутствие рисков и других специфических внутрисистемных факторов | |
|
4.2.1 |
1.2.1.1 Соответствующие компоненты | |
|
4.1.1 |
1.2.1.2 Удовлетворительные условия поверхности всех частей средств индивидуальной защиты, соприкасающихся с пользователем | |
|
4.5.1; 4.5.2, 4.6 |
1.3.2 Легкость и прочность конструкции | |
|
6 и 7 |
1.4 Информация, предоставляемая изготовителем | |
|
6 |
2.12 Средства индивидуальной защиты с одной или более опознавательными маркировками, относящимися напрямую или косвенно к мерам безопасности и охраны здоровья |
ПРЕДУПРЕЖДЕНИЕ - К продукции, относящейся к области применения EN 354:2010, могут применяться другие требования и другие Директивы Евросоюза.
Приложение ДА
(справочное)
Таблица ДА.1
|
Обозначение ссылочного международного, европейского стандарта |
Степень соответствия |
Обозначение и наименование соответствующего межгосударственного стандарта |
|
EN 362 |
IDT |
ГОСТ EN 362-2011 "Система стандартов безопасности труда. Средства индивидуальной защиты от падения с высоты. Соединительные элементы. Общие технические требования. Методы испытаний" 1) |
|
EN 363:2008 |
- |
* , 2) |
|
EN 364:1992 |
- |
* , 3) |
|
EN 365 |
- |
* , 4) |
|
EN 892 |
- |
* |
|
EN ISO 9227 |
- |
* |
|
ISO 1835 |
- |
* |
|
ISO 2232 |
- |
* |
|
* Соответствующий межгосударственный стандарт отсутствует. До его принятия рекомендуется использовать перевод на русский язык международного (европейского) стандарта. Официальный перевод данного международного (европейского) стандарта находится в Федеральном информационном фонде стандартов. Примечание - В настоящей таблице использовано следующее условное обозначение степени соответствия стандарта: - IDT - идентичный стандарт. | ||
──────────────────────────────
1)В Российской Федерации действует ГОСТ Р ЕН 362-2008 "Система стандартов безопасности труда. Средства индивидуальной защиты от падения с высоты. Соединительные элементы. Общие технические требования. Методы испытаний".
2)В Российской Федерации действует ГОСТ Р 58208-2018/EN 363:2008 "Система стандартов безопасности труда. Средства индивидуальной защиты от падения с высоты. Системы индивидуальной защиты от падения с высоты. Общие технические требования".
3)В Российской Федерации действует ГОСТ Р 12.4.206-99 "Система стандартов безопасности труда. Средства индивидуальной защиты от падения с высоты. Методы испытаний".
4)В Российской Федерации действует ГОСТ Р ЕН 365-2010 "Система стандартов безопасности труда. Средства индивидуальной защиты от падения с высоты. Основные требования к инструкции по применению, техническому обслуживанию, периодической проверке, ремонту, маркировке и упаковке".
──────────────────────────────




