ГОСТ Р 58462-2019 АВТОМАТИЗИРОВАННЫЕ СИСТЕМЫ УПРАВЛЕНИЯ ОСВЕЩЕНИЕМ АВТОМОБИЛЬНЫХ ДОРОГ И ТОННЕЛЕЙ. ОБЩИЕ ТРЕБОВАНИЯ
Утв. и введен в действие приказом Федерального агентства по техническому регулированию и метрологии от 31 июля 2019 г. N 437-ст
Roads and tunnels lighting automatic control systems. General requirements
ОКС 93.080.30
Дата введения - 1 января 2020 г.
Введен впервые
Предисловие
1 Разработан Обществом с ограниченной ответственностью "Всесоюзный научно-исследовательский светотехнический институт имени С.И. Вавилова" (ООО "ВНИСИ") при участии рабочей группы в составе А.В. Сибрикова, А.И. Киричка, д. т. н., проф. А.А. Сапронова, к. т. н. А.Ю. Никуличева, О.Т. Зотина
2 Внесен Техническим комитетом по стандартизации ТК 332 "Светотехнические изделия, освещение искусственное"
3 Утвержден и введен в действие Приказом Федерального агентства по техническому регулированию и метрологии от 31 июля 2019 г. N 437-ст
4 Введен впервые
Настоящий стандарт распространяется на автоматизированные системы управления освещением (далее - АСУ освещением) автомобильных дорог и тоннелей (далее - дорог и тоннелей) и устанавливает общие требования к ним.
Настоящий стандарт не распространяется на аварийное освещение тоннелей, а также на системы мониторинга освещения дорог и тоннелей.
Классификация дорог установлена в ГОСТ 33382.
Настоящий стандарт применяют при проектировании, эксплуатации и реконструкции систем управления освещением.
В настоящем стандарте использованы нормативные ссылки на следующие стандарты:
ГОСТ 8.508 Государственная система обеспечения единства измерений. Метрологические характеристики средств измерений и точностные характеристики средств автоматизации ГСП. Общие методы оценки и контроля
ГОСТ 24.104 Единая система стандартов автоматизированных систем управления. Автоматизированные системы управления. Общие требования
ГОСТ 26.011 Средства измерений и автоматизации. Сигналы тока и напряжения электрические непрерывные входные и выходные
ГОСТ 26.013 Средства измерений и автоматизации. Сигналы электрические с дискретным изменением параметров входные и выходные
ГОСТ 26.014 Средства измерений и автоматизации. Сигналы электрические кодированные входные и выходные
ГОСТ 27.002 Надежность в технике. Термины и определения
ГОСТ 34.601 Информационная технология. Комплекс стандартов на автоматизированные системы. Автоматизированные системы. Стадии создания
ГОСТ 34.602 Информационная технология. Комплекс стандартов на автоматизированные системы. Техническое задание на создание автоматизированной системы
ГОСТ 34.603 Информационная технология. Виды испытаний автоматизированных систем
ГОСТ 14254 (IEC 60529:2013) Степени защиты, обеспечиваемые оболочками (Код IP)
ГОСТ 15150 Машины, приборы и другие технические изделия. Исполнения для различных климатических районов. Категории, условия эксплуатации, хранения и транспортирования в части воздействия климатических факторов внешней среды
ГОСТ 17516.1 Изделия электротехнические. Общие требования в части стойкости к механическим внешним воздействующим факторам
ГОСТ 19768 Информационная технология. Наборы 8-битных кодированных символов. Двоичный код обработки информации
ГОСТ 27465 Системы обработки информации. Символы. Классификация, наименование и обозначение
ГОСТ 29322 (IEC 60038:2009) Напряжения стандартные
ГОСТ 30804.3.2 (IEC 61000-3-2:2009) Совместимость технических средств электромагнитная. Эмиссия гармонических составляющих тока техническими средствами с потребляемым током не более 16 А (в одной фазе). Нормы и методы испытаний
ГОСТ 30805.22 (CISPR 22:2006) Совместимость технических средств электромагнитная. Оборудование информационных технологий. Радиопомехи индустриальные. Нормы и методы измерений
ГОСТ 32144 Электрическая энергия. Совместимость технических средств электромагнитная. Нормы качества электрической энергии в системах электроснабжения общего назначения
ГОСТ 33220 Дороги автомобильные общего пользования. Требования к эксплуатационному состоянию
ГОСТ 33382 Дороги автомобильные общего пользования. Техническая классификация
ГОСТ IEC 60598-2-3 Светильники. Часть 2. Частные требования. Раздел 3. Светильники для освещения улиц и дорог
ГОСТ IEC 61508-3 Функциональная безопасность систем электрических, электронных, программируемых электронных, связанных с безопасностью. Часть 3. Требования к программному обеспечению
ГОСТ CISPR 15 Нормы и методы измерения характеристик радиопомех от электрического осветительного и аналогичного оборудования
ГОСТ CISPR 24 Совместимость технических средств электромагнитная. Оборудование информационных технологий. Устойчивость к электромагнитным помехам. Требования и методы испытаний
ГОСТ Р 50948 Средства отображения информации индивидуального пользования. Общие эргономические требования и требования безопасности
ГОСТ Р 51514 (МЭК 61547:2009) Совместимость технических средств электромагнитная. Устойчивость светового оборудования общего назначения к электромагнитным помехам. Требования и методы испытаний
ГОСТ Р 55392 Приборы и комплексы осветительные. Термины и определения
ГОСТ Р 55705 Приборы осветительные со светодиодными источниками света. Общие технические условия
ГОСТ Р 56228 Освещение искусственное. Термины и определения
ГОСТ Р 56334 Тоннели автодорожные. Освещение искусственное. Нормы и методы расчета
ГОСТ Р 58463 Автоматизированные системы управления освещением автомобильных дорог и тоннелей. Требования к регулированию освещения
ГОСТ Р МЭК 60598-1 Светильники. Часть 1. Общие требования и методы испытаний
ГОСТ Р МЭК 61508-1 Функциональная безопасность систем электрических, электронных, программируемых электронных, связанных с безопасностью. Часть 1. Общие требования
ГОСТ Р МЭК 61508-2 Функциональная безопасность систем электрических, электронных, программируемых электронных, связанных с безопасностью. Часть 2. Требования к системам
Примечание - При пользовании настоящим стандартом целесообразно проверить действие ссылочных стандартов в информационной системе общего пользования - на официальном сайте Федерального агентства по техническому регулированию и метрологии в сети Интернет или по ежегодному информационному указателю "Национальные стандарты", который опубликован по состоянию на 1 января текущего года, и по выпускам ежемесячного информационного указателя "Национальные стандарты" за текущий год. Если заменен ссылочный стандарт, на который дана недатированная ссылка, то рекомендуется использовать действующую версию этого стандарта с учетом всех внесенных в данную версию изменений. Если заменен ссылочный стандарт, на который дана датированная ссылка, то рекомендуется использовать версию этого стандарта с указанным выше годом утверждения (принятия). Если после утверждения настоящего стандарта в ссылочный стандарт, на который дана датированная ссылка, внесено изменение, затрагивающее положение, на которое дана ссылка, то это положение рекомендуется применять без учета данного изменения. Если ссылочный стандарт отменен без замены, то положение, в котором дана ссылка на него, рекомендуется применять в части, не затрагивающей эту ссылку.
3.1 В настоящем стандарте применены термины по ГОСТ 27.002, ГОСТ Р 55392 и ГОСТ Р 56228, а также следующие термины с соответствующими определениями:
3.1.1
|
автоматизированная система; АС: Система, состоящая из персонала и комплекса средств автоматизации его деятельности, реализующая информационную технологию выполнения установленных функций. [ГОСТ 34.003-90, статья 1.1] |
3.1.2 система автоматического управления: Система, состоящая из управляемого объекта и автоматического управляющего устройства, взаимодействующих между собой в соответствии с алгоритмом управления.
3.1.3
|
программно-технический комплекс автоматизированной системы; ПТК АС: Продукция, представляющая собой совокупность средств вычислительной техники, программного обеспечения и средств создания и заполнения машинной информационной базы при вводе системы в действие достаточных для выполнения одной или более задач АС. [ГОСТ 34.003-90, статья 2.18] |
3.1.4 диспетчерское управление (диспетчеризация): Организация управления технологическими режимами работы и эксплуатационным состоянием объектов электроэнергетики или энергопринимающих установок потребителей электрической энергии с управляемой нагрузкой, при которой технологические режимы работы или эксплуатационное состояние указанных объектов или установок изменяются только по оперативной диспетчерской команде диспетчера соответствующего диспетчерского центра.
3.1.5 диспетчерский пункт: Центр системы диспетчерского управления, в котором сосредотачивается информация о состоянии осветительных установок и имеется возможность оперативного контроля, управления, формирования отчетов, анализа состояния осветительных установок, систем визуального отображения работы осветительных установок, конфигурирования, хранения данных.
3.1.6 дистанционное управление: Передача управляющего воздействия (сигнала) от оператора к объекту управления, находящемуся на расстоянии, по индивидуальным каналам связи.
3.1.7 канал передачи данных: Совокупность канала связи и расположенных на его входе и выходе устройств передачи данных.
3.1.8 канал связи: Совокупность технических средств и тракта (среда, кабель, проводная линия и т.д.) для передачи сообщений на расстояние.
Примечание - Канал связи включает в себя физическую среду передачи аналогового сигнала (выделенная физическая линия, радиоэфир и т.п.) и оконечные средства: оборудование связи, например модемы на концах линии, и оборудование уплотнения каналов.
3.1.9 пункты питания: Территориально распределенные пункты электропитания освещения дорог с техническими средствами, предназначенными для автоматизации технологических процессов контроля и управления осветительными установками, регулирования параметров осветительных установок, а также для обеспечения связи, контроля и управления объектами нижнего уровня при их наличии.
3.1.10 телемеханическое управление освещением: Система управления освещением с применением устройств телемеханики, позволяющая производить из одного места одновременное включение или отключение сети освещения, переключение режимов, а также контролировать состояние сети.
3.1.11 принцип развития (открытости): Принцип построения автоматизированных систем с возможностью пополнения и обновления функций и состава автоматизированной системы без нарушения ее функционирования.
3.1.12 принцип системности: Установление взаимосвязи между структурными элементами системы, обеспечивающими цельность автоматизированной системы и ее взаимодействие с другими системами.
3.1.13 принцип совместимости: Реализация информационного интерфейса, с помощью которого новая система взаимодействует с другими системами по установленным правилам.
3.1.14 централизованное управление: Сосредоточение управления в одном центре, в одних руках, в одном месте; создание иерархической структуры управления, в которой преобладают вертикальные связи, при этом верхние уровни обладают определяющими полномочиями в принятии решений, причем данные решения строго обязательны для нижних уровней.
3.1.15 цепочная структура телемеханической сети: Многоточечная структура телемеханической сети, в которой устройства контролируемых телемеханических пунктов соединены общим каналом связи с устройством телемеханического пункта управления.
3.1.16 сложная структура: Структура, состоящая из множества взаимодействующих составляющих (подструктур), вследствие чего сложная структура приобретает новые свойства, которые отсутствуют на подструктурном уровне и не могут быть сведены к свойствам подструктурного уровня.
3.1.17
|
телесигнализация: Получение информации о состоянии контролируемых и управляемых объектов, имеющих ряд возможных дискретных состояний, методами и средствами телемеханики. [ГОСТ 26-005-82, статья 2] |
3.1.18
|
телеизмерение: Получение информации о значениях измеряемых параметров контролируемых или управляемых объектов методами и средствами телемеханики. [ГОСТ 26-005-82, статья 3] |
3.1.19
|
телеуправление: Управление положением или состоянием дискретных объектов и объектов с непрерывным множеством состояний методами и средствами телемеханики. [ГОСТ 26-005-82, статья 4] |
3.2 В настоящем стандарте использованы следующие сокращения:
АСУ - автоматизированная система управления;
ОУ - осветительная установка;
ОП - осветительный прибор;
ПП - пункт питания;
PLC - технология телепередачи сигнала по силовой линии.
Общие требования к АСУ освещением дорог и тоннелей должны соответствовать требованиям ГОСТ 24.104, ГОСТ 34.601, ГОСТ 34.602, ГОСТ 34.603 и требованиям настоящего стандарта.
АСУ освещением дорог и тоннелей предназначены для решения задач автоматизации и информационного обеспечения технологических, производственных и организационных процессов освещения, а также других процессов деятельности на объектах обустройства дорог на основе современных информационно-телекоммуникационных технологий.
4.1.1 Основным назначением АСУ освещением является обеспечение:
- условий функционирования системы освещения для безопасного и комфортного дорожного движения;
- бесперебойной работы ОУ на дорогах и в тоннелях;
- полного контроля и управляемости объектов освещения и элементов АСУ освещением;
- повышения эффективности работы систем освещения дорог и тоннелей;
- эффективного использования энергетических ресурсов;
- условий для качественной эксплуатации дорог, тоннелей и элементов обустройства дорог;
- повышения степени оперативности получения и уровня актуальности информации о текущем состоянии объектов освещения;
- автоматизации и информатизации работы диспетчерских служб, эксплуатационных предприятий и подрядных организаций;
- условий для создания и развития общей информационной среды освещения и информационных сервисов;
- повышения надежности элементов и живучести систем управления объектов освещения в частности и АСУ освещением в целом;
- повышения качества принятия управленческих решений за счет оперативности предоставления, полноты, достоверности, унификации и удобства форматов отображения информации;
- повышения эффективности исполнения бизнес-процессов путем сокращения непроизводительных и дублирующих операций, операций, выполняемых вручную, оптимизации информационного взаимодействия участников бизнес-процессов;
- условий контроля и предотвращения несанкционированных действий в ОУ и на элементах АСУ освещением;
- расширения функциональных возможностей существующих автоматизированных систем оперативно-диспетчерского управления и управления технологическими процессами освещения дорог и тоннелей;
- снижения расходов бюджетных средств за счет повышения уровня автоматизации и эффективности диспетчерского управления освещением;
- сбора, обработки, хранения и выдачи информации и отчетов о работе систем освещения для последующего направления на различные уровни диспетчеризации, управления производством и управления предприятием;
- уменьшения времени диагностики и устранения аварийных ситуаций;
- условий устранения последствий чрезвычайных ситуаций;
- условий снижения возможности совершения террористических актов;
- улучшения эстетического облика мостов, эстакад и других дорожных сооружений и объектов.
4.1.2 АСУ освещением дорог должны быть разработаны в увязке с согласованным техническим заданием и основаны на следующей информации, которая прописывается в задании на проектирование и является определяющей при выборе решения для его привязки к конкретной ситуации:
- расположение дороги (в населенных пунктах или вне населенных пунктов);
- наличие на проектируемом участке элементов обустройства (посадочных площадок общественного транспорта, пешеходных переходов и др.);
- наличие на проектируемом участке дороги тоннелей, мостов, многоуровневых развязок, железнодорожных переездов и др.;
- наличие на проектируемом участке систем управления освещением (ручных, автоматических и/или автоматизированных);
- наличие на проектируемом участке диспетчерских пунктов (центральных диспетчерских пунктов, центров управления производством) АСУ освещением;
- наличие на проектируемом участке каналов связи и возможности (необходимости) подключения к ним элементов обустройства, включая элементы АСУ освещением;
- наличие и исполнение ПП, в том числе количество отходящих линий распределительной сети освещения;
- наличие возможности размещения оборудования АСУ освещением на существующих/проектируемых полевых объектах и исполнительных пунктах (ОП, опорах, кронштейнах, ПП), на сетевом уровне (средствах, пунктах и узлах связи), на уровнях контролирующих пунктов - пунктов управления технологическими процессами в системе освещения, диспетчерских пунктах и центрах управления;
- наличие требований по надежности (по резервированию и дублированию) оборудования АСУ освещением в ПП.
4.1.3 АСУ освещением должна обеспечивать решение прикладных, управленческих и административно-хозяйственных задач.
Для каждой задачи должен быть разработан следующий комплекс подсистем:
- прикладные подсистемы, обеспечивающие выполнение основных функций контроля, управления и регулирования освещения (подсистемы контроля, диагностики оборудования и управления освещением, подсистема регулирования);
- обеспечивающие подсистемы, решающие административно-хозяйственные задачи управления жизнеобеспечением объектов АСУ освещением (подсистемы электроснабжения диспетчерского пункта, подсистемы климат-контроля серверной);
- инфраструктурные подсистемы (подсистема обеспечения информационной безопасности, подсистема хранения и обработки данных, подсистема интеграции, контроля инфраструктуры и др.);
- сервисные подсистемы (подсистема синхронизации времени, фото- и видеонаблюдение, контроль метеоусловий, контроль трафика, интернет-портал и др.).
4.1.4 Функции АСУ освещением делятся:
- на основные;
- дополнительные;
- сервисные.
4.1.4.1 Основными функциями АСУ освещением являются:
- управление освещением с учетом географического положения (силовая часть в ПП и/или ОП);
- контроль и диагностика состояния силовой части ОУ;
- контроль и диагностика состояния оборудования АСУ освещением;
- обеспечение работы в автономном режиме по запрограммированному графику, вне зависимости от наличия каналов связи с диспетчерским пунктом;
- выявление несанкционированного доступа к ОУ и элементам системы управления;
- создание режимов работы для каждого отдельного объекта;
- обеспечение связи объектов АСУ освещением;
- обеспечение информационной безопасности и киберзащиты объектов АСУ освещением;
- обеспечение гарантированного непрерывного электроснабжения объектов АСУ освещением;
- сбор, обработка, предоставление и хранение информации для оперативно-диспетчерского управления освещением;
- диспетчеризация, дистанционный контроль, диагностика и управление сетями и линиями освещения, отдельными ОУ и/или ОП;
- диспетчеризация, контроль/дистанционный контроль, диагностика и управление локальными системами освещения и регулирования тоннелей;
- технический учет электроэнергии;
- составление отчетов.
4.1.4.2 Дополнительными функциями АСУ освещением являются:
- управление освещением с учетом метеорологических условий, интенсивности дорожного движения и состояния дорожного полотна;
- регулирование освещения;
- энергосбережение за счет оптимизации графика включения/отключения освещения, индивидуального и группового регулирования;
- выявление несанкционированных подключений к линиям освещения;
- коммерческий учет электроэнергии;
- интеграция с информационно-управляющими системами (АСУ дорожного движения, интеллектуальной транспортной системой);
- диспетчеризация, контроль/дистанционный контроль, диагностика и управление системами архитектурного освещения (подсветки) объектов обустройства и сооружений (эстакады, мосты и др.);
- фото-, видеонаблюдение за объектами освещения;
- контроль датчиков (целостности линий, интенсивности дорожного движения, состояния дорожного полотна, метеорологической обстановки и др.);
- анализ состояния оборудования освещения и АСУ освещением;
- сбор и предоставление информации, предоставление каналов связи и электропитания для систем и подсистем тоннелей.
4.1.4.3 Сервисными функциями АСУ освещением являются:
- контроль выполнения работ по эксплуатации и техническому обслуживанию объектов;
- составление и предоставление в автоматическом режиме отчетности об энергопотреблении и энергосбережении;
- сбор, обработка, предоставление и хранение информации для представления органам управления производством и предприятием;
- сбор, обработка, предоставление и хранение информации для решения задач по эксплуатации линий электропитания освещения;
- сбор и предоставление информации, каналов связи и электропитания для систем и подсистем сбора информации с датчиков или для обеспечения доступа участников дорожного движения, аварийных и эксплуатационных служб к проводным и беспроводным сетям передачи данных.
4.1.5 АСУ освещением в необходимых объемах должна автоматизированно выполнять функции:
- включения/отключения освещения с диспетчерского пункта, от контроллеров, по каскадным цепям (схемам) управления, из помещения ПП, с внешних пультов или выключателями коммутационных аппаратов, соблюдая режимы работы ОУ на дорогах, а также дневной и ночной режим работы ОУ в тоннелях;
- блокировки отключения/включения ОУ или ОП с диспетчерского пункта;
- объединения всех объектов управления освещением дороги в общую диспетчерскую сеть;
- диагностики состояния силового оборудования электропитания и диспетчерского контроля параметров наличия:
1) управляющего напряжения на коммутационных аппаратах, а также на управляющих контактах электронных коммутационных аппаратов,
2) напряжения в ПП,
3) напряжения на шинах, токов по трем фазам,
4) напряжения на линейных полюсах коммутационных аппаратов после автоматических выключателей и плавких вставок,
5) напряжения на линейном полюсе контактора,
6) напряжения в контрольных точках при использовании каскадных схем;
- диагностики состояния телемеханического оборудования, силового и коммутационного оборудования аппаратуры системы управления в ОУ;
- диагностики задымления в ПП;
- диагностики несанкционированного доступа в ПП, в шкафы управления и связи, к ОП (при размещении в нем элементов системы управления);
- диагностики уровня воды в приямке ПП (при необходимости);
- передачи информации о состоянии объектов системы освещения и ее отображения на мониторах автоматизированных рабочих мест диспетчерских пунктов, мониторах и табло центрального диспетчерского пункта (с возможностью передачи команд управления) и центра управления производством (только информационные функции);
- отображения полученной информации в графической форме для принятия диспетчером оперативных мер по возникающим ситуациям;
- передачи и отображения в диспетчерском пункте показаний электросчетчиков;
- связи (канала связи) между диспетчерским пунктом, сервером и ПП, а при индивидуальном управлении - с ОП;
- диагностики основных подсистем с помощью органов местного управления шкафов управления;
- ведения протоколов событий и действий операторов;
- открытости АСУ освещением, включая передачу информации от нее в инженерные системы, и интеллектуальные транспортные системы, и АСУ дорожного движения;
- сбора, обработки, хранения, предоставления и анализа информации (сигналов, сообщений, документов и т.п.) о состоянии освещения дорог и тоннелей;
- выработки управляющих воздействий (формирование сигналов телеуправления и регулирования, программ, планов и т.п.);
- передачи управляющих воздействий (сигналов, указаний, документов) на исполнение и их контроль;
- реализации выполнения управляющих воздействий;
- обмена информацией (документами, сообщениями и т.п.) со взаимосвязанными АСУ.
4.1.6 Управление сетями освещения дорог и тоннелей должно быть централизованным: телемеханическим или дистанционным.
Допускается децентрализованное управление освещением средствами систем автоматического управления при возникновении аварийных ситуаций, проведении строительно-монтажных и пусконаладочных работ, а также при отсутствии технической возможности для организации каналов связи с объектами управления.
АСУ освещением должна соответствовать требованиям настоящего стандарта, требованиям технического задания на ее создание и развитие.
В АСУ освещением должны быть предусмотрены: диспетчеризация, контроль правильности выполнения автоматизированных функций и диагностирование, с указанием места, вида и причины возникновения нарушений правильности ее функционирования при работе в штатном (нормальном) режиме.
При отсутствии связи допускается временно выполнять команды, работая в автономном режиме или от резервных средств/подсистем управления (систем автоматического управления), без выполнения функций контроля и диагностики.
Основные варианты решений по управлению освещением с учетом категории или класса дороги по ГОСТ 33382 и класса тоннеля по ГОСТ Р 56334 в зависимости от наличия каналов связи, типа применяемого устройства управления освещением, необходимости резервирования устройств управления подразделяют на следующие группы:
- автоматическое управление от фотореле (датчика освещенности);
- автономное (автоматическое) управление от контроллера по годовому графику;
- управление от контроллера в ПП или в ОП, имеющего связь с диспетчерским пунктом;
- комбинированное управление (варианты первых трех пунктов).
4.2.1 Требования к структуре и функционированию
4.2.1.1 При создании АСУ освещением необходимо учитывать требования ГОСТ 34.602 и соблюдать следующие принципы: развитие (открытость), системность и совместимость.
4.2.1.2 Укрупненно АСУ освещением представляют собой структуру из трех слоев:
- 1 - аппаратура исполнительных пунктов: ПП/ОУ/ОП;
- 2 - каналы связи и управления;
- 3 - аппаратура контролирующих пунктов: диспетчерские пункты дорог и тоннелей/центральные диспетчерские пункты/центры управления производством.
Структуры управления освещением делятся на два класса:
- 1 - системы автоматического управления: управление освещением и регулирование осуществляются без участия человека в контуре управления;
- 2 - АСУ освещением: функции управления осуществляются с участием человека в контуре управления.
Системы автоматического управления могут входить в состав АСУ освещением в качестве подсистем и элементов резервирования и повышения надежности. Варианты систем автоматического управления освещением дорог и тоннелей, АСУ освещением и рекомендуемые (типовые) решения приведены в приложении А.
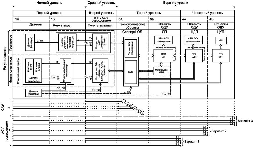
4.2.1.3 Структура АСУ освещением должна состоять из двух-, трехуровневых систем класса АСУ технологическими процессами. Программно-технический комплекс АСУ технологическими процессами освещением должен соответствовать следующим характеристикам:
- включать в себя подсистемы, функционирующие на уровнях иерархической системы централизованного управления с возможностью децентрализации и автономного управления на отдельных участках и ПП при авариях, вызывающих нарушение или потерю связи между уровнями системы (типовая схема структуры управления освещением приведена на рисунке 1);
- работать в реальном времени;
- специализироваться по виду обрабатываемой информации.
4.2.1.4 При трех-, четырехуровневых системах АСУ освещением должны быть предусмотрены автоматизированные и информационные системы MES (система управления предприятием - планирование ресурсов) и ERP (исполнительная система производства).
4.2.1.5 В структуру АСУ освещением в качестве подсистем могут входить дополнительные и сервисные системы.
4.2.1.6 К объектам первого (нижнего) уровня АСУ освещением относят датчики, измерительные преобразователи (подуровень 1А) и регуляторы (подуровень 1Б). Нижний (первый уровень и подуровни) уровень допускается называть полевым. Объекты этого уровня, как компонент АСУ, представляют собой уровень технологического процесса - работы ОУ.
Требования к подуровням 1А, 1Б в части регулирования и регуляторов освещения дорог и тоннелей должны соответствовать ГОСТ Р 58463.

АСУО - автоматизированная система управления освещением; ДП - диспетчерский пункт; КТС - комплекс технических средств; ПТК - программно-технический комплекс; ТИ - телеизмерение; ТС - телесигнализация; ТУ - телеуправление; ЦДП - центральный диспетчерский пункт; ЦУП - центр управления производством
Рисунок 1 - Типовая структура АСУ освещением дорог и тоннелей
4.2.1.7 К объектам второго (среднего) уровня АСУ освещением (уровень контроля и управления технологическим процессом - контроллерный уровень) относят комплексы технических средств АСУ освещением, расположенные в ПП, подстанциях или в отдельных шкафах и ящиках, на опорах освещения, в притоннельных и тоннельных сооружениях или на других конструкциях объектов инфраструктуры дорог и тоннелей. На этом уровне реализованы сбор и первичная обработка аналоговых и дискретных сигналов, выработаны управляющие воздействия на объекты первого уровня.
Объекты второго уровня управляют:
- режимами работы ОУ путем коммутации отходящих линий и/или фаз по командам телеуправления от объектов третьего уровня, по сигналам или информации от датчиков и/или регуляторов нижнего уровня или от местных органов управления в ручном режиме;
- режимами работы ОУ в целом или отдельного/группы ОП путем коммутации отходящих линий и/или фаз в автономном или автоматическом режимах;
- работой регуляторов по командам от объектов третьего уровня или от местных органов управления в ручном режиме;
- работой регуляторов в автономном или автоматическом режимах.
Объекты второго уровня контролируют состояние:
- входящих питающих и отходящих линий освещения;
- датчиков несанкционированного доступа к оборудованию;
- коммутационных аппаратов;
- оборудования и каналов связи с объектами первого и третьего уровней;
- телемеханического оборудования объектов второго уровня, включая АСУ;
- оборудования и каналов связи с объектами интегрируемых систем и подсистем, на втором уровне, включая АСУ;
- пожарных извещателей, не входящих в централизованную систему пожарной сигнализации.
Объекты второго уровня осуществляют диагностику оборудования АСУ освещением и передачу показаний счетчиков электроэнергии и фотометрических датчиков (например, яркомеров, люксметров), а также могут осуществлять диагностику метеостанций (при наличии), приборов фото- и видеонаблюдения.
4.2.1.8 Объекты первого и второго уровней формируют первичную информацию для работы всей АСУ освещением. На эти уровни поступают управляющие воздействия (команды телеуправления) и могут функционировать как системы автоматического управления, так и системы и подсистемы регулирования, входящие в состав АСУ освещением. Локально они могут относиться к подсистемам, реализующим как основные, так и дополнительные функции.
4.2.1.9 Объекты третьего и четвертого (верхних) уровней АСУ освещением содержат программно-технические комплексы и/или системы (и их элементы):
- управления освещением в целом, расположенные в центральном диспетчерском пункте дороги (заказчика, эксплуатирующей организации) или диспетчерском пункте участка трассы (или эксплуатирующего подразделения дороги или ее части);
- телемеханического управления объектами нижних уровней и связи с ними, обеспечивающие бесперебойную работу диспетчерских пунктов.
4.2.1.10 К третьему уровню относят объекты оперативно-диспетчерского контроля и управления, с которых передаются команды телеуправления на объекты нижних уровней.
Объекты третьего уровня АСУ освещением функционально подразделяют:
- на оперативно-диспетчерские (оперативно-диспетчерского управления), предназначенные для контроля ПП, мониторинга программно-технических комплексов всех уровней АСУ освещением;
- технологические (серверные, центры обработки данных), предназначенные для сбора, обработки и хранения данных в АСУ освещением, обеспечения работы общего и специального программного обеспечения, а также приложений и сервисов.
В системе могут функционировать множество объектов второго уровня, подлежащих контролю со стороны одного объекта третьего уровня (диспетчерского пункта) и/или объекта четвертого уровня (центрального диспетчерского пункта).
4.2.1.11 К четвертому уровню относят объекты оперативно-диспетчерского контроля и мониторинга, осуществляющие контроль состояния объектов нижних уровней или исключительно объектов подуровня 1А (в зависимости от территориальной и структурной подчиненности).
В системе могут функционировать несколько объектов третьего уровня (диспетчерского пункта), подлежащих контролю со стороны одного объекта четвертого уровня (центрального диспетчерского пункта/центра управления предприятием).
4.2.1.12 Диспетчерский пункт тоннеля должен контролироваться со стороны диспетчерского пункта участка дороги и/или центрального диспетчерского пункта. Диспетчерские пункты тоннеля и/или участка дороги (объекты третьего уровня) должны подлежать контролю со стороны центрального диспетчерского пункта (объект подуровня 4А). Для диспетчерского пункта тоннеля может быть предусмотрена техническая возможность передачи команд управления по основным функциям АСУ освещением от центрального диспетчерского пункта.
4.2.1.13 Примеры типовых структур диспетчерского пункта и центрального диспетчерского пункта/центра управления производством приведены на рисунках 2 и 3.
4.2.1.14 Технологические объекты предназначены для размещения программно-технических комплексов серверной части АСУ освещением и/или центров обработки данных и комплексов оконечных средств систем связи, которые обслуживают несколько оперативно-диспетчерских объектов третьего и четвертого уровней, являются элементами системы сбора, обработки и хранения информации объекта четвертого уровня, структурно относящегося к вышестоящей организации. Территориально серверы АСУ освещением могут быть размещены в помещениях диспетчерского пункта/центрального диспетчерского пункта или отдельно, а также на площадях или серверных мощностях центра обработки данных.

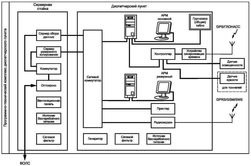
AРМ - автоматизированное рабочее место; ВОЛС - волоконно-оптическая линия связи; GPS/ГЛОНАСС - навигационные системы; GPRS/GSM/SMS - виды связи
Рисунок 2 - Типовая структура диспетчерского пункта АСУ освещением
4.2.1.15 Объекты третьего и четвертого уровней АСУ освещением должны быть оборудованы: автоматизированными рабочими местами, диспетчерскими щитами, шкафами телемеханического управления, оборудованием и/или системами связи и бесперебойного электроснабжения.
Третий уровень включает средства обеспечения взаимодействия человека с системой освещения через человекомашинный интерфейс, реализуемый программным обеспечением АСУ освещением.
4.2.1.16 Допускается при необходимости передавать информацию (сигналы телесигнализации, телеизмерения) от датчиков (сенсоров) подуровня 1А непосредственно на серверы/центры обработки данных или программно-технические комплексы диспетчерских пунктов.
Допускается подключение дополнительных (временных, мобильных) диспетчерских пунктов, в том числе мобильных автоматизированных рабочих мест, с ограниченным доступом к объектам АСУ освещением. Мобильные автоматизированные рабочие места через телекоммуникационные каналы при необходимости могут быть подключены к серверу АСУ освещением или ресурсам центров обработки данных.
4.2.1.17 Оперативно-диспетчерские и технологические объекты могут быть территориально распределены или совмещены. В случае небольшого числа управляемых объектов нижних уровней АСУ освещением функции оперативно-диспетчерских и технологических объектов совмещают на одном объекте третьего или четвертого уровней системы. Допускается функциональное совмещение этих объектов на одном автоматизированном рабочем месте.
При создании АСУ освещением дорог необходимо предусматривать средства совместимости с АСУ дорожным движением и интеллектуальными транспортными системами на третьем и четвертом уровнях системы.

ЦДП - центральный диспетчерский пункт; ЦУП - центр управления производством; АРМ - автоматизированное рабочее место; ВОЛС - волоконно-оптическая линия связи; GPRS/GSM/SMS - виды связи
Рисунок 3 - Типовая структура центрального диспетчерского пункта/центра управления производством АСУ освещением
В случае сложной структуры организационного и функционального построения третьего и четвертого уровней АСУ освещением дорог следует предусмотреть на технологических объектах использование средств для защиты информации и кибербезопасности, разграничения доступа, резервирования, дублирования, кластеризации и виртуализации.
В АСУ освещением должна быть обеспечена совместимость между ее частями, а также с информационными системами четвертого уровня.
4.2.1.18 АСУ освещением должна работать круглосуточно, обеспечивать восстановление работоспособности серверного оборудования, сетевого и объектового аппаратного и программного обеспечения при сбоях, авариях и отказах.
4.2.1.19 При сбоях в электропитании или полном его отключении АСУ освещением должна обеспечивать сохранность данных и фиксацию всех параметров в диспетчерских пунктах для последующего перехода в соответствующий режим функционирования после восстановления электропитания.
4.2.1.20 Аппаратная часть (комплекс технических средств) АСУ освещением в ПП (второй, средний уровень) должна состоять из шкафов и/или панелей управления, обеспечивающих управление и организацию каналов связи с диспетчерским пунктом.
Шкафы и/или панели управления должны иметь органы местного управления и индикации.
В случае отказа, произошедшего в шкафу управления и/или панели управления, включение или отключение освещения осуществляют по стандартной каскадной схеме телемеханического управления или резервными устройствами управления, не включенными в состав АСУ освещением, например системой автоматического управления.
4.2.1.21 АСУ освещением в целом и все виды ее обеспечения должны быть приспособлены к модернизации, развитию и наращиванию в пределах требований, указанных в техническом задании на ее разработку или реконструкцию.
4.2.1.22 Режимы работы АСУ освещением:
- штатный;
- сервисный/тестовый;
- аварийный.
Штатный режим является основным режимом функционирования системы, должен обеспечивать круглосуточную доступность функций системы семь дней в неделю (24 x 7). Штатный режим работы технологических объектов на третьем уровне системы не требует организации круглосуточной работы обслуживающего персонала и допускает его работу в соответствии со штатным расписанием.
Штатный режим должен обеспечивать диагностику отказов:
- комплекса технических средств и программно-технических комплексов: серверного оборудования, автоматизированных рабочих мест пользователей, сетевого телекоммуникационного оборудования и каналов связи, оборудования резервного копирования информации, средств обеспечения информационной безопасности и криптозащиты;
- программных средств (общего, специального, системного и прикладного программного обеспечения);
- произошедших в результате ошибок обслуживающего персонала и пользователей.
Сервисный/тестовый режим функционирования используется для выполнения операций подготовки и проведения испытаний или настройки комплексов технических средств, программно-технических комплексов и подсистем, входящих в состав АСУ освещением.
В сервисном режиме проводят техническое обслуживание, реконфигурацию, тестирование, модернизацию комплексов технических средств и программно-технических комплексов системы, входящих в состав системы. Режим должен позволять проводить диагностирование инцидентов или проблем, связанных со сбоями или авариями в работе системы, а также устранять аварийные ситуации. При этом система в целом и/или отдельные элементы/подсистемы становятся недоступными для использования пользователями.
В аварийный режим система должна обеспечивать переход того элемента, на котором произошел отказ одного(й) или нескольких инфраструктурных компонентов либо подсистем, входящих в состав системы, при отсутствии резервных технических и программных средств (процессоров, серверов, хранилищ, телекоммуникационного оборудования и т.д.). Элемент системы должен перейти в аварийный режим при возникновении нештатной ситуации и невозможности осуществления штатной работы. Для восстановления работоспособности в аварийном режиме обслуживающему персоналу необходимо перевести систему в сервисный режим в соответствии с инструкциями.
Перечень аварийных ситуаций, приводящих к отказу системы и/или ее элементов, должен быть определен на этапе проектирования системы.
4.2.1.23 Для диагностирования системы должны быть использованы штатные средства комплексов технических средств и программно-технических комплексов АСУ освещением.
Диагностика программных и технических средств должна быть осуществлена с помощью стандартных режимов сетевой операционной системы, операционной системы автоматизированного рабочего места и систем управления базами данных, а также путем прогона контрольных/диагностических примеров.
Программные компоненты систем/подсистем/программно-технических комплексов должны иметь проверочные методы, позволяющие провести контроль возможности функционирования основных режимов работы.
Инструменты диагностирования должны обеспечивать ведение и визуализацию журналов диагностических событий, в которых следует автоматически фиксировать возникающие нештатные ситуации (сбои, ошибки, аварии и отказы). Эти журналы должны сохранять набор информации, необходимой для локализации и устранения проблем.
При отказах в результате ошибок пользователей средства диагностики должны обеспечивать формирование сообщений с описанием проблемы и способов ее устранения.
4.2.2 Требования к организации связи
4.2.2.1 Для обеспечения связи между техническими средствами АСУ освещением должны быть использованы:
а) проводные каналы (рисунок 4):
- дополнительные проводные линии управления с одним из стандартных интерфейсов Ethernet, Modbus, TCP/UDP, DALI, DSI, 1-10V, DMX 512 и др.,
- силовые линии освещения с использованием, например, технологии PLC,
- через выделенные физические линии (например, медные телефонные пары);

ВФЛ - выделенные физические линии; ВОЛС - волоконно-оптическая линия связи
Рисунок 4 - Схема проводного канала связи
б) беспроводные каналы связи стандартных унифицированных протоколов УКВ, LTE/3G/GSM/GPRS/SMS и др. (рисунок 5).
Каналы связи стандартных унифицированных протоколов беспроводной связи Bluetooth, ZigBee, WiFi, LPWAN не рекомендуется применять для связи между объектами второго и третьего уровней.

Рисунок 5 - Схема беспроводного канала связи
4.2.2.2 Основным видом каналов связи между ОУ, пунктом питания и диспетчерским пунктом должен быть проводной канал связи. При отсутствии технической возможности использования проводных каналов связи допускается применять беспроводную связь (радиосвязь), а также беспроводные оптические каналы связи.
4.2.2.3 Для обеспечения надежности работы АСУ освещением допускается применять комбинированные каналы связи - проводные и беспроводные (рисунок 6). Проводные каналы связи должны быть основными, а беспроводные - резервными или применяемыми для реализации дополнительных (сервисных) функций систем.

ВФЛ - выделенные физические линии; ВОЛС - волоконно-оптическая линия связи
Рисунок 6 - Схема комбинированных каналов связи
4.2.2.4 Каналы связи между ОУ, ПП и диспетчерскими пунктами должны быть организованы в соответствии с действующими требованиями правил по проектированию электрического освещения, правил устройства электроустановок потребителей, технических регламентов и стандартов.
4.2.2.5 При организации каналов передачи данных (рисунок 7) средствами разных каналов связи допускается применять технологии передачи по нескольким каналам одновременно или раздельную передачу, например: команды - по выделенным физическим линиям; передачи телеизмерения и телесигнализации - по волоконно-оптическим линиям связи.
Примечания
1 При выборе варианта канала связи приоритетным должен быть проводной канал связи.
2 При одновременном использовании проводных каналов и радиоканалов связи в АСУ освещением рекомендуется применять радиоканал в качестве резервного.

ВФЛ - выделенные физические линии; ВОЛС - волоконно-оптическая линия связи
Рисунок 7 - Схема канала передачи данных между объектами третьего уровня (диспетчерский пункт и серверная)
4.2.2.6 Варианты примеров организации командного и информационного трактов, которые должны быть выбраны в зависимости от применяемых каналов и линий связи, приведены на рисунке 8.
При использовании проводных линий должен применяться вариант, показанный на рисунке 8а). В этом варианте разделение трактов выполнено логически средствами программного обеспечения.
На рисунке 8б) показан вариант, когда командный тракт между первым, вторым и третьим уровнями организован проводными средствами (однонаправленная передача команд), и информационный тракт работает по радиоканалу, защищенному средствами шифрования/криптозащиты.
На рисунке 8в) показан вариант, когда командный тракт между первым и вторым уровнями организован проводными средствами (однонаправленная передача команд), а информационный тракт между первым и вторым уровнями работает по радиоканалу, защищенному средствами шифрования/криптозащиты. Командный и информационный тракты между вторым и третьим уровнями используют одну проводную линию (единый канал связи), разделение трактов выполнено логически средствами программного обеспечения. Это допускается в том случае, когда информация, поступившая по защищенному радиоканалу с первого уровня (например, от ОП), принята, дешифрована и обработана на втором уровне.
4.2.2.7 Для АСУ освещением должны быть предусмотрены резервные и/или дублирующие каналы связи с диспетчерским пунктом (рисунок 9).
4.2.2.8 Для организации каналов связи может быть предусмотрено дополнительное телекоммуникационное оборудование.
4.2.2.9 При нарушении работоспособности всех каналов связи диспетчерского пункта с ПП управление освещением должно быть осуществлено в автономном режиме. Переход в автономный режим должен происходить автоматически через задаваемый промежуток времени.

а) Организация командного и информационного трактов в едином (совмещенном) канале связи на всех уровнях

б) Организация связи с разделением КС для командного и информационного трактов (обеспечение трактов разными КС на всех уровнях)

в) Организация связи с разделением командного и информационного трактов при передаче между первым и вторым уровнем; после обработки в шкафу управления - в едином (совмещенном) канале связи
ДП - диспетчерский пункт; ШУ - шкаф управления; КС - канал связи; ТУ - телеуправление; ТИ - телеизмерение; ТС - телесигнализация
Рисунок 8 - Примеры организации связи для обеспечения работы командного и информационного трактов

ДП - диспетчерский пункт; КС - канал связи; ШУ - шкаф управления; ТИ - телеизмерение; ТС - телесигнализация; ТУ - телеуправление
Рисунок 9 - Передача команд телеуправления и сигналов в диспетчерский пункт
4.2.2.10 Обмен сигналами телеуправления и телесигнализации между вторым и третьим уровнем АСУ освещением осуществляется по специально прокладываемым резервным линиям и кабелям управления и контроля, силовым линиям освещения или с помощью беспроводных технологий.
4.2.2.11 На транспортно-сетевом уровне для взаимодействия компонентов системы следует использовать протокол TCP/IP.
4.2.2.12 Информационный обмен между серверами АСУ освещением и мобильным автоматизированным рабочим местом системы следует осуществлять по протоколу HTTP(S).
4.2.2.13 Информационное взаимодействие между физическими серверами системы должно быть обеспечено посредством локальной сети типа Ethernet не ниже 100/1000 или по каналам передачи данных с аналогичной пропускной способностью, обеспечивающим передачу данных по протоколу TCP/IP.
Примеры структур организации связи для различных способов информационного взаимодействия уровней АСУ освещением приведены в приложении Б.
4.2.3 Требования к электропитанию
4.2.3.1 АСУ освещением должна быть работоспособной при электропитании от трех- или однофазной сети переменного тока номинальным напряжением 230/400 В и 230 В с частотой переменного тока 50/60 Гц в соответствии с ГОСТ 29322.
Допускается разработка проектов освещения дорог и тоннелей с другими системами электропитания, например солнечной/ветровой/геотермальной и других видов возобновляемых источников энергии.
Питание контроллеров всех уровней системы должно быть рассчитано на постоянное напряжение 24 В, при этом для повышения надежности питания контроллеров рекомендуется применять второй источник питания от сети переменного тока 230 В.
Допускается применять модули, контроллеры и блоки, рассчитанные на постоянное напряжение питания 12 В.
В шкафах управления рекомендуется предусматривать технические средства, позволяющие сохранять работоспособность при наличии трех, двух или одной фазы на вводе (например, автоматические переключатели фаз) и при пропадании питания (на задаваемый промежуток времени средствами источников бесперебойного питания или преобразователей напряжения - зарядных устройств и аккумуляторов).
4.2.3.2 Нормы качества электрической энергии при электропитании от системы электроснабжения общего назначения должны соответствовать требованиям ГОСТ 32144.
4.2.3.3 Основным вариантом электроснабжения установок освещения дорог является 3-я категория электроснабжения, за исключением транспортных развязок и магистральных дорог, программно-технических комплексов, центров обработки данных, диспетчерских пунктов и центральных диспетчерских пунктов/центров управления производством, которые следует относить к 2-й категории надежности электроснабжения.
Примечание - Для каждого объекта АСУ освещением при разработке системы электроснабжения необходимо учитывать:
- классификацию объекта, его отношения к специальным объектам (категории по гражданской обороне и чрезвычайным ситуациям, системы мониторинга инженерных систем в чрезвычайных ситуациях и др.);
- требования технического задания и/или специальных технических условий по надежности электроснабжения.
4.2.3.4 Бесперебойное электроснабжение верхних уровней (рисунки 2, 3) следует осуществлять применением источников бесперебойного питания, генераторов и оборудования для управления сетью, питающей эти объекты. Допускается полное отключение сети электропитания на период не более 1 ч для центров обработки данных, серверов и программно-технических комплексов диспетчерских пунктов, на задаваемый техническим заданием и внутренними распорядительными документами период не более 3 ч для программно-технических комплексов центральных диспетчерских пунктов и центров обработки данных.
4.2.4 Требования к обеспечению надежности
4.2.4.1 К основным показателям надежности АСУ освещением в соответствии с ГОСТ 27.002 относят:
- безотказность;
- ремонтопригодность;
- долговечность (срок службы);
- сохраняемость.
4.2.4.2 Уровень надежности АСУ освещением зависит от следующих основных факторов:
- состава и уровня надежности используемых технических средств, их взаимосвязи в структуре комплекса технических средств АСУ освещением;
- состава и уровня надежности используемых программных средств, их содержания (возможностей) и взаимосвязи в структуре программного обеспечения АСУ освещением;
- уровня квалификации персонала, организации работы и уровня надежности действий персонала АСУ освещением;
- рациональности распределения задач, решаемых системой между комплексом технических средств системы, программным обеспечением и персоналом системы;
- режимов, параметров и организационных форм технической эксплуатации комплексов технических средств АСУ освещением;
- степени использования различных видов резервирования (структурного, информационного, временного, алгоритмического, функционального);
- степени использования методов и средств технической диагностики;
- реальных условий функционирования АСУ освещением.
4.2.4.3 Для повышения надежности АСУ освещением в условиях северной климатической зоны азиатской части и районов, расположенных севернее 66 градусов северной широты европейской части России, для районов с резким изменением погодных условий в течение суток, особенно для горных местностей, рекомендуется применять комбинации элементов системы автоматического и автоматизированного управления.
4.2.4.4 Рекомендуется в качестве характеристики надежности и безопасности АСУ освещением рассматривать общую интенсивность отказов всех видов (опасных, безопасных, диагностируемых и недиагностируемых) оборудования.
4.2.4.5 В АСУ освещением в соответствии с ГОСТ 24.104 должны быть использованы технические средства со сроком службы не менее 10 лет. Применение технических средств с меньшим сроком службы допускается только в обоснованных случаях и по согласованию с заказчиком.
4.2.4.6 При авариях в сетях электроснабжения объектов верхних уровней АСУ освещением программно-технические комплексы должны работать в минимальной конфигурации технических средств, обеспечивающих выполнение основных функций системы.
4.2.4.7 Резервирование серверов АСУ освещением рекомендуется осуществлять на основе технологий виртуализации и кластеризации.
4.2.4.8 Резервирование автоматизированных рабочих мест пользователей АСУ освещением должно быть осуществлено дублированием технических и программных средств объектов верхнего уровня и применением мобильных автоматизированных рабочих мест.
4.2.4.9 При наличии резервного центра обработки данных АСУ освещением дорог и/или тоннелей, при авариях (отказах и сбоях) серверного общесистемного и специального программного обеспечения или оборудования центра обработки данных должна перейти на работу с резервным центром обработки данных без перехода всей АСУ освещением в аварийный режим.
4.2.4.10 В АСУ освещением должны быть предусмотрены необходимые меры и средства по контролю и обновлению данных в информационных массивах, восстановлению массивов после отказа технических средств системы.
4.2.5 Требования к функциональной безопасности
4.2.5.1 Требования к функциональной безопасности АСУ освещением, включающие в себя электрические, электронные, программируемые электронные элементы, должны соответствовать ГОСТ Р МЭК 61508-1.
Частные требования к аппаратным средствам и программному обеспечению должны соответствовать ГОСТ Р МЭК 61508-2 и ГОСТ IEC 61508-3.
Примечание - Функциональная безопасность - это часть общей безопасности, обусловленная применением управляемого оборудования (комплекса технических средств исполнительных пунктов - нижний и средний уровни АСУ освещением) и программно-технических комплексов системы управления (средний и верхний уровни), зависящая от правильности создания, внедрения и функционирования системы управления и взаимодействующих или интегрированных систем/подсистем и других средств по снижению рисков. Безопасность программно-технического комплекса на всех уровнях должна быть обеспечена свойствами подсистем функциональной и информационной безопасности.
4.2.5.2 Для каждой функции безопасности программно-технические комплексы системы управления должны обладать полнотой безопасности:
- аппаратных средств (оборудования системы управления);
- в части, касающейся систематических отказов, проявляющихся в аварийном опасном режиме (включая полноту безопасности программного обеспечения).
4.2.5.3 Для реализации в системе управления требований по функциональной безопасности (рекомендуется вместе с информационной безопасностью включать программное обеспечение) требуется предусматривать следующие меры:
- защиту от случайных сбоев;
- защиту от возникновения ошибок и отказов;
- защиту от опасных отказов и систематических отказов;
- реализацию самодиагностики элементов системы управления;
- реализацию диагностики регуляторов как элементов системы управления;
- реализацию диагностики ОУ и ОП, подключаемых к элементам системы управления;
- реализацию резервирования критически важных элементов;
- координацию управления информационной безопасностью и функциональной безопасностью в АСУ освещением.
4.2.5.4 Для АСУ освещением следует применять сертифицированное сетевое оборудование и сетевые протоколы, а также при использовании "облачных" приложений - конфигураторы этих приложений и SCADA-системы.
Примечание - Если АСУ освещением предназначена для важных систем безопасности жизнеобеспечения объектов и для ее работы будет использована платформа "Интернет вещей", то должны быть применены сертифицированные на соответствие требованиям функциональной безопасности электронные платы, источники питания и устройства управления ОУ и регуляторами, а также программное обеспечение для них (нижний уровень).
4.2.6 Требования к информационной безопасности
4.2.6.1 Информационная безопасность должна обеспечивать доступность, целостность, защиту от уничтожения, искажения, имитации и конфиденциальность данных и информации, циркулирующей на всех уровнях АСУ освещением.
4.2.6.2 Подсистема информационной безопасности и разграничения доступа должна быть обязательной в составе АСУ освещением при использовании ресурсов и сервисов глобальной сети Интернет и "облачных" технологий (сервисов, серверов).
4.2.6.3 Информационная безопасность должна предусматривать защиту от кибератак.
4.2.6.4 Для АСУ освещением могут быть предусмотрены следующие основные методы обеспечения информационной безопасности:
- организационные;
- технические;
- защиты от отказов аппаратных средств по ГОСТ Р МЭК 61508-2;
- защиты от отказов программного обеспечения согласно ГОСТ IEC 61508-3.
4.2.6.5 Для всех уровней АСУ освещением должны быть установлены следующие группы требований по информационной безопасности:
- идентификация;
- аутентификация;
- контроль использования ресурсов АСУ освещением;
- обеспечение доступности ресурсов;
- обеспечение целостности программного обеспечения и АСУ освещением;
- обеспечение сохранности (конфиденциальности) данных;
- контроль потоков данных в системе;
- ограничение потоков данных;
- время реакции на события.
4.2.6.6 В АСУ освещением должны быть предусмотрены необходимые меры по контролю и обновлению данных в информационных массивах системы, восстановлению массивов после отказов технических средств системы, а также по контролю идентичности одноименной информации в базах данных.
4.2.6.7 Удаленное администрирование и обслуживание системного (общего) и прикладного (специального) программного обеспечения системы должно быть выполнено с использованием защищенных протоколов.
4.2.6.8 Информационный обмен между элементами системы и клиентскими приложениями, а также между АСУ освещением и интегрируемыми системами должен быть осуществлен по локальной сети и по защищенным каналам сети Интернет. Факты информационного обмена должны автоматически фиксироваться в соответствующем журнале.
4.2.7 Требования к интеграции
4.2.7.1 Структура управления освещением должна предусматривать возможность интегрирования в существующие АСУ освещением, в интеллектуальные транспортные системы и допускать развитие и наращивание.
4.2.7.2 При необходимости интеграции разрабатываемой АСУ освещением с существующей системой надо учитывать, что программно-технические комплексы интегрируемых систем управления могут включать в свой состав следующие существующие элементы:
- АСУ освещением (программно-технические комплексы, ПП и диспетчерские пункты);
- системы связи, бесперебойного электроснабжения, пожарной и охранной сигнализации, обеспечения безопасности информации, контроля и управления доступом;
- АСУ дорожного движения и программно-технические комплексы;
- программно-технические комплексы АСУ (других элементов обустройства дорог), с которыми требуется интеграция.
4.2.7.3 Решения по интеграции могут быть предусмотрены на следующих уровнях:
- центральных диспетчерских пунктов или центров управления производством;
- диспетчерских пунктов (включая серверные);
- ПП;
- ОП.
4.2.7.4 Технические средства АСУ освещением, используемые при взаимодействии с другими системами, должны быть совместимы по интерфейсам с соответствующими техническими средствами этих систем и используемых систем связи.
4.2.7.5 Любое техническое средство АСУ освещением должно допускать его замену средством аналогичного функционального назначения без конструктивных изменений или регулирования в остальных технических средствах системы (кроме случаев, специально оговоренных в технической документации на АСУ освещением).
4.2.7.6 При разработке решений по интеграции следует определить:
- перечень интегрируемых систем и подсистем;
- уровни интеграции в составе АСУ освещением и техническую возможность по каждому выбранному уровню;
- виды информационного взаимодействия и интеграции, выбирая применимый и наиболее эффективный способ:
а) интеграция "точка-точка" (один из методов интеграции приложений),
б) интеграция приложений,
в) интеграция данных,
г) интеграция через "Сервисную шину предприятия".
4.2.7.7 Информационный обмен между элементами системы должен быть осуществлен без вмешательства пользователя и без повторного ручного ввода информации.
4.2.7.8 Обмен данными между уровнями АСУ освещением и подсистемами, а также смежными интегрируемыми системами дорог и тоннелей должен быть организован посредством открытых протоколов обмена.
4.2.7.9 На технологических объектах АСУ освещением должно быть обеспечено хранение данных, полученных посредством взаимодействия с внешними системами.
4.2.7.10 Информационное обеспечение АСУ освещением должно быть совместимо с информационным обеспечением систем, взаимодействующих с ней, по содержанию, системе кодирования, форматам данных и форме предоставления информации, получаемой и выдаваемой системой.
Пример схемы информационного обмена АСУ освещением в составе комплексной АСУ жизнеобеспечением тоннеля приведен в приложении В.
4.2.8 Требования к эксплуатации
4.2.8.1 Технические средства АСУ освещением допускается использовать только в условиях, определенных в эксплуатационной документации на них. В тех случаях, когда необходимо их применение в среде, параметры которой превышают допустимые значения, установленные для этих технических средств, должны быть предусмотрены меры защиты отдельных технических средств системы от влияния внешних воздействующих факторов.
Объекты и подсистемы диспетчеризации, входящие в АСУ освещением, приведены в приложении Г.
4.2.8.2 Эксплуатационное состояние АСУ освещением должно соответствовать требованиям ГОСТ 33220.
4.2.8.3 В АСУ освещением должны быть использованы технические средства, соответствующие:
- по климатическому исполнению и категории размещения ГОСТ 15150;
- воздействию механических факторов внешней среды ГОСТ 17516.1;
- степени защиты оболочек изделий от проникновения пыли, твердых частиц и влаги ГОСТ 14254;
- уровням радиопомех, создаваемых техническими средствами при работе, ГОСТ CISPR 15, ГОСТ CISPR 24, ГОСТ 30805.22;
- параметрам гармонических составляющих тока, инжектируемых техническими средствами АСУ освещением в низковольтные распределительные электрические сети ГОСТ 30804.3.2;
- устойчивости технических средств системы к воздействию электромагнитных помех ГОСТ Р 51514.
4.2.8.4 Защита технических средств АСУ освещением от воздействия внешних электрических магнитных полей, а также помех по цепям питания должна быть достаточной для эффективного выполнения техническими средствами системы своего назначения при функционировании системы.
4.2.8.5 Общие эргономические требования к техническим средствам АСУ освещением, к организации рабочего места, взаимного расположения средств отображения информации органов управления и средств связи, к кабинам операторов и расположению рабочих мест должны соответствовать ГОСТ 24.104.
4.2.8.6 Объекты верхних уровней АСУ освещением должны быть расположены в отдельных зданиях/помещениях, между которыми должны быть проложены линии связи единой локальной компьютерной сети, имеющей общую доменную структуру. Серверы/центры обработки данных рекомендуется размещать в отдельных помещениях, оснащенных системами кондиционирования, телекоммуникационным оборудованием, охранно-пожарной сигнализацией, бесперебойным электроснабжением и заземлением.
4.2.8.7 В процессе эксплуатации АСУ освещением тестирование и диагностика программно-технических комплексов системы должны быть осуществлены в автоматическом режиме при запуске системы и периодически при проведении плановых работ по техническому обслуживанию, при изменении конфигурации системы, в том числе при вводе программно-технических комплексов новых уровней, новых элементов и объектов в состав АСУ освещением.
4.2.8.8 В рамках разработки программы и методики испытаний АСУ освещением рекомендуется сформировать контрольные примеры, обеспечивающие проверку работоспособности и подключения взаимодействующих элементов/объектов системы как после первоначальной установки и загрузки баз данных, так и в процессе повседневной работы.
4.2.8.9 Мониторинг инфраструктуры АСУ освещением на технологических объектах, программно-технических комплексах диспетчерских пунктов и центральных диспетчерских пунктов рекомендуется осуществлять при помощи программного модуля (модулей мониторинга), например по протоколу SNMP, с выводом информации на автоматизированное рабочее место диспетчерского пункта и/или центрального диспетчерского пункта/центра управления производством.
4.3.1 Организационное обеспечение
4.3.1.1 Организационное обеспечение АСУ освещением должно соответствовать требованиям ГОСТ 24.104.
Примечание - Организационное обеспечение - это совокупность документов, устанавливающих организационную структуру, права и обязанности пользователей и эксплуатационного персонала в условиях функционирования, проверки и обеспечения работоспособности АСУ.
4.3.1.2 Организационное обеспечение должно быть достаточным для эффективного выполнения персоналом возложенных на него обязанностей при осуществлении автоматизированных и связанных с ними неавтоматизированных функций АСУ освещением.
4.3.2 Информационное обеспечение
4.3.2.1 Информационное обеспечение АСУ освещением должно соответствовать требованиям ГОСТ 24.104.
Примечание - Информационное обеспечение - это совокупность форм документов, классификаторов, нормативной базы и реализованных решений по объемам, размещению и формам существования информации, применяемой в АСУ при ее функционировании.
4.3.2.2 Информационное обеспечение должно обеспечивать выполнение всех автоматизированных функций управления освещением.
4.3.2.3 В АСУ освещением для связи между устройствами комплекса технических средств должны быть применены:
- входные и выходные сигналы;
- электрические сигналы: тока и напряжения по ГОСТ 26.011, с дискретным изменением параметров по ГОСТ 26.013, кодированные по ГОСТ 26.014;
- наборы символов алфавитно-цифровые по ГОСТ 27465;
- коды по ГОСТ 19768.
4.3.2.4 Информационное обеспечение может включать в себя следующие разделы по составу информации:
- обеспечение диспетчерского управления;
- обеспечение каналов связи;
- фото-, видеонаблюдение;
- управление регуляторами;
- управление и контроль за силовой частью;
- управление цветодинамикой.
В информационное обеспечение рекомендуется включать нормативно-справочную информацию, информационные объекты, входные и выходные данные и структуру управления базами данных.
Рекомендации для учета особенностей информационного обеспечения разных уровней АСУ освещением приведены в приложении Д.
4.3.2.5 АСУ освещением должна обеспечивать однократный ввод исходных данных во всех информационных массивах или базах данных, в которых они должны храниться, и вне зависимости от того, какими функциональными подсистемами исходные данные используются. Ввод данных должен быть обеспечен с учетом дальнейшей возможности корректировки информации.
4.3.2.6 Первоначальный ввод данных в систему и подсистему осуществляют путем конфигурирования и создания шаблонов для ввода данных. При необходимости первоначальный ввод данных может быть осуществлен путем загрузки данных существующих электронных хранилищ данных. Ввод данных осуществляют с обязательной последующей проверкой и сопоставлением введенных данных, подтверждением их корректности и отсутствия неправильных, дублированных и неполных записей. Начальную загрузку данных производят при вводе системы и ее составных частей в эксплуатацию.
4.3.2.7 Рекомендуется проводить синхронизацию данных в системе и данных во внешних хранилищах.
4.3.2.8 Актуальность и непротиворечивость вносимых данных должны достигаться за счет автоматизированного контроля идентификационных реквизитов документов при вводе в систему, использования общероссийских и отраслевых классификаторов и справочников.
4.3.3 Техническое обеспечение
4.3.3.1 Техническое обеспечение АСУ освещением должно соответствовать требованиям ГОСТ 24.104.
Состав технического обеспечения рекомендуется выбирать в соответствии с вариантами АСУ освещением и систем автоматического управления освещением, представленными в приложении А.
Примечание - Техническое обеспечение - это совокупность технических средств АСУ (оборудование телемеханики и автоматизации, оборудование связи и др.) и эксплуатационной документации для обеспечения функционирования системы в полном объеме (в соответствии с техническим заданием).
4.3.3.2 Примеры значимых элементов и параметров ОУ, которые учитывают при работе АСУ освещением, приведены в приложении Е.
4.3.3.3 По электротехническим параметрам, если не предъявляются дополнительные или специальные требования к объекту автоматизации, элементы АСУ освещением должны соответствовать требованиям ГОСТ Р МЭК 60598-1:
- по электрической безопасности;
- к классу защиты (не ниже I или II) от поражения электрическим током;
- по сопротивлению изоляции;
- по электрической прочности изоляции.
4.3.3.4 В зависимости от назначения объекты АСУ освещением должны иметь степени защиты оболочки от проникновения твердых частиц, пыли и влаги по ГОСТ 14254 не менее:
- IP 21 для элементов, встраиваемых в защитную оболочку, например в корпус ОП, или размещаемых в закрытых помещениях, например внутри ПП или в помещениях объектов верхнего уровня;
- IP 54 для шкафов управления;
- IP 65 для элементов, устанавливаемых вне или снаружи корпуса ОП или вне шкафов управления.
4.3.3.5 Требования к конструкции должны соответствовать ГОСТ Р МЭК 60598-1, ГОСТ IEC 60598-2-3, ГОСТ Р 55705.
Конструкция технических средств, предназначенная для АСУ освещением, должна обеспечивать:
- удобство монтажа и подключения оборудования к сети;
- легкий съем и доступ к частям оборудования, подлежащим чистке, замене и обслуживанию в процессе эксплуатации;
- надежное крепление оборудования и его частей, исключающее возможность их самопроизвольного ослабления или выпадения при эксплуатации.
4.3.3.6 Конструкция применяемого оборудования должна обеспечивать сохранение параметров в процессе и после воздействия климатических и механических факторов, при этом технические средства, предназначенные для установки вне помещений, должны соответствовать климатическому исполнению У или УХЛ категории размещения 1 по ГОСТ 15150 и группе условий эксплуатации М2 по ГОСТ 17516.1 в части воздействия механических факторов внешней среды.
4.3.3.7 Требования к техническому обеспечению рабочих мест операторов (автоматизированных рабочих мест) должны соответствовать ГОСТ Р 50948 в части:
- требований к качеству восприятия информации, отображаемой на дисплеях;
- эргономических требований к цветовым параметрам;
- диапазонов оптимальных и предельно допустимых значений основных визуальных параметров дисплеев.
4.3.3.8 Шкаф управления освещением должен быть основной аппаратной частью комплекса технических средств АСУ освещением в ПП и обеспечивать управление и контроль освещения, оборудования ПП и АСУ освещением, организацию канала связи с диспетчерским пунктом и/или серверной (при наличии), организацию канала связи с групповыми и индивидуальными регуляторами.
4.3.3.9 Комплекс технических средств АСУ освещением должен допускать наращивание и развитие.
4.3.3.10 АСУ освещением может иметь резервное управление исполнительными механизмами. Переключение на резервную систему управления может быть осуществлено тремя способами:
- автоматическим - при выходе из строя контроллера основной системы;
- дистанционным - при подаче соответствующей команды диспетчера от автоматизированного рабочего места диспетчерского пункта;
- ручным переключением непосредственно на объекте.
4.3.3.11 Резервная система должна обеспечивать включение и отключение освещения от фотореле/резервного (автономного) контроллера/каскадных схем управления по годовому графику. Рекомендуется текущее время контроллера в резервной системе синхронизировать с системой ГЛОНАСС/GPS.
4.3.3.12 Комплекс технических средств АСУ освещением в ПП должен иметь следующие технические средства для ручного переключения режимов работы/управления:
- "Дистанция" - возможность управления с автоматизированного рабочего места диспетчерского пункта;
- "Отключено" - возможность управления на объекте (в ПП) - отключение освещения вручную;
- "Включено" - возможность управления на объекте (в ПП) - включение освещения вручную.
Допускается использование технических средств для ручного переключения в режим работы/управления на резервную систему управления.
4.3.3.13 Для комплекса технических средств АСУ освещением в ПП и для ОП, в которых размещаются датчики и модули управления/контроллеры АСУ освещением, должны быть предусмотрены средства для защиты от импульсных перенапряжений и молниезащиты.
4.3.4 Математическое обеспечение
4.3.4.1 Требования к математическому обеспечению АСУ освещением должны соответствовать ГОСТ 34.602.
Примечание - Математическое обеспечение АСУ освещением - это совокупность методов, моделей и алгоритмов для управления освещением, контроля и регулирования ОУ, интеграции подсистем, сбора, обработки и предоставления данных, формирования отчетности в АСУ (реализуется в виде программ специального программного обеспечения).
4.3.4.2 Для каждой подсистемы на этапе проектирования должны быть построены модели автоматизируемых процессов, а также функциональные и информационные модели.
Используемые математические модели и алгоритмы не должны содержать ошибок округления.
Должно отсутствовать накопление ошибок расчетов при пересчетах по процентному содержанию.
4.3.4.3 Совокупность математических методов и алгоритмов определяется разработчиком согласно поставленным перед АСУ освещением дорог и тоннелей задачам. Конкретное содержание алгоритмов, исполняемых в системе, должно быть определено в процессе разработки программного обеспечения и отражено в эксплуатационной документации.
4.3.5 Программное обеспечение
4.3.5.1 Программное обеспечение АСУ освещением должно соответствовать требованиям ГОСТ 24.104 и ГОСТ IEC 61508-3.
Примечание - Программное обеспечение - это совокупность программ и эксплуатационной программной документации, которые необходимы и достаточны для выполнения всех функций, реализуемых в системе управления с применением средств вычислительной техники, имеют средства организации всех требуемых процессов обработки данных, позволяющие своевременно осуществлять все автоматизированные функции во всех регламентированных режимах работы АСУ освещением.
4.3.5.2 Программное обеспечение АСУ освещением подразделяется:
- на системное (общее);
- прикладное (специальное).
Примечание - Прикладное программное обеспечение - это часть программного обеспечения, которая разрабатывается специально для реализации основных, дополнительных и сервисных функций конкретной АСУ освещением на базе и с использованием программ общего программного обеспечения.
Системное программное обеспечение должно включать в себя следующие компоненты:
- базовое программное обеспечение - минимальный набор программных средств, обеспечивающих работу технических устройств (операционная система и сетевая операционная система);
- системы программирования;
- сервисное программное обеспечение.
4.3.5.3 Системное программное обеспечение должно поставляться в комплекте со средствами вычислительной техники с программно-техническим комплексом АСУ или приобретаться отдельно. Состав общего программного обеспечения - это программы для организации функционирования вычислительной техники (например, операционная система, офисные или инженерные приложения), для служебных и сервисных целей, для разработки и конфигурации специального программного обеспечения.
4.3.5.4 Для пользователей каждого диспетчерского пункта/центрального диспетчерского пункта должна быть обеспечена работа с базами данных в двух режимах:
- внутреннем - доступ к информационному ресурсу, размещенному на сервере, через локальную сеть;
- внешнем - доступ к информационному ресурсу, размещенному на web-сервере, через внешние каналы связи.
4.3.5.5 Для интерфейсов конечного пользователя при работе с базой данных объектов в двух режимах должны быть обеспечены следующие основные функции:
- отображение объектов;
- поиск по различным параметрам;
- экспресс-анализ;
- автоматический отбор по запросу;
- подготовка и печать комбинированных документов;
- актуализация информации.
4.3.5.6 При использовании в системе программ (программных комплексов или компонентов), разработанных третьими лицами, условия, на которых передается право на применение этих программ, не должны накладывать ограничений, препятствующих их прямому назначению. Точный состав и количество лицензий на программное обеспечение, необходимое для запуска системы в эксплуатацию, должно быть указано в Ведомости покупных изделий.
4.3.5.7 Для хранения данных в АСУ освещением должны быть использованы базы данных, обеспечивающие реализацию встроенных механизмов построения индексов и контроля целостности данных. В качестве системы управления базами данных следует применять системы управления базами данных промышленного класса, поддерживаемые на территории Российской Федерации. Допускается размещение отдельных параметров конфигурации АСУ освещением, не подлежащих модификации в ходе ее нормального функционирования и обслуживания, во внешних конфигурационных файлах.
4.3.5.8 Для обеспечения целостности данных должны быть использованы встроенные механизмы систем управления базами данных.
4.3.5.9 Средства систем управления базами данных, а также средства используемых операционных систем должны обеспечивать документирование и протоколирование обрабатываемой в системе информации.
4.3.5.10 Должна быть обеспечена защита целостности хранимых данных на уровне операций базового программного обеспечения. Средства администрирования базового программного обеспечения системы должны обеспечивать возможность полного или частичного восстановления баз данных в результате возникновения сбойных ситуаций, а также наличие средств сопряжения с системами дублирования на резервные устройства хранения с последующим восстановлением баз данных.
4.3.5.11 Программное обеспечение АСУ освещением должно быть включено в Единый реестр российских программ для электронных вычислительных машин и баз данных.
4.3.6 Метрологическое обеспечение АСУ освещением
4.3.6.1 Требования к метрологическому обеспечению должны соответствовать ГОСТ 34.602 и предъявляться при использовании подсистем и элементов АСУ освещением на разных уровнях (в первую очередь на подуровнях 1А, 1Б и на втором уровне), когда для реализации функций системы применяют измерительные модули или часть программно-технического комплекса (например, контроллеры) для сбора данных, предназначенных для систем коммерческого учета ресурсов.
Примечание - Метрологическое обеспечение - это совокупность проектных решений, алгоритмов, программных и технических средств для обеспечения в соответствии с требованиями ГОСТ 8.508 точностных характеристик элементов программно-технического комплекса и АСУ освещением в целом.
4.3.6.2 Для применения в составе элементов АСУ освещением средств измерений, занесенных в государственный реестр, требуется обязательное проведение поверки и калибровки средств измерений в сроки, устанавливаемые в документации на каждое средство.
К таким средствам в составе АСУ освещением относят:
- счетчики электрической энергии;
- измерительные модули для измерения параметров электрической энергии;
- фотометрические датчики [датчики яркости, датчики освещенности, включая датчики (сенсоры) для регуляторов];
- приборы для измерения параметров метеорологической обстановки;
- приборы для измерения интенсивности дорожного движения и др.
Приложение А
(справочное)
А.1 Функциональная схема АСУ освещением дорог и тоннелей представлена на рисунке А.1 с указанием:
- уровней системы управления;
- состава объектов и технических средств для каждого уровня;
- функциональных связей между объектами, уровнями и техническими средствами.
На схеме приведены варианты построения систем автоматического управления и АСУ освещением.
Функциональная схема содержит информацию о вариантах обеспечения функций АСУ и систем автоматического управления освещением при применении различных типов оборудования на всех уровнях иерархической структуры системы и основные функциональные связи.
А.2 Варианты систем автоматического управления приведены в таблице А.1.
|
Вариант системы автоматического управления |
Уровень/подуровень |
Состав оборудования |
Описание решения |
Рекомендуемое (типовое) решение |
|
1 |
Второй (ПП) |
Контроллер |
Автоматическое (автономное) управление от контроллера по графику |
+ |
|
2 |
Первый/1А и второй (ПП) |
Контроллер и датчик освещенности (фотореле) |
Автоматическое (автономное) управление от контроллера по графику и от датчика освещенности (фотореле) |
+ |
|
3 |
Первый/1А |
Фотореле |
Автоматическое (автономное) управление от фотореле |
+ |
|
4 |
Первый/1А, 1Б |
Регулятор, фотореле/датчик освещенности/яркомер |
Автономная работа регулятора по внутреннему алгоритму и задаваемому графику и от фотореле/датчика освещенности/яркомера |
- |
|
5 |
Первый/1Б и второй (ПП) |
Регулятор, контроллер |
Автономная работа регулятора по внутреннему алгоритму и автоматическое управление от контроллера по годовому графику |
+ |
|
6 |
Первый/1А, 1Б и второй |
Регулятор, фотореле/датчик освещенности/яркомер и контроллер |
Автоматическое (автономное) управление от контроллера по годовому графику и работа регулятора по внутреннему алгоритму от фотореле/датчика освещенности/яркомера |
- |
А.3 АСУ освещением должна функционировать в базовом варианте, которым является вариант 1.1, при минимальной комплектации и при наличии проводного канала связи между средним и верхним уровнями. Для повышения надежности работы системы в вариантах 1.1-1.4 АСУ освещением может быть применена комбинация с вариантами систем автоматического управления (1, 2, 3, 4, 5, 6).

АРМ - автоматизированное рабочее место; АСУ освещением - автоматизированная система управления освещением; ДП - диспетчерский пункт; КТС - комплекс технических средств; ОДУ - оперативно-диспетчерское управление; ПТК - программно-технический комплекс; САУ - система автоматического управления; ТИ - телеизмерение; ТС - телесигнализация; ТУ - телеуправление; ЦДП - центральный диспетчерский пункт; ЦОД - центр обработки данных; ЦУП - центр управления производством
Рисунок А.1 - Функциональная схема АСУ освещением дорог и тоннелей
А.4 Вариант 1.2
АСУ освещением предполагает включение дополнительных функций за счет применения датчиков.
А.4.1 Вариант 1.3
АСУ освещением предназначена для группового регулирования за счет применения оборудования, работающего на первом уровне (1Б) и на втором (комплекс технических средств АСУ освещением в ПП) уровне. К регуляторам могут быть подключены фотометрические и другие датчики (вариант 1.4).
А.4.2 Вариант 1.4
АСУ освещением при применении оборудования подуровней 1А и 1Б может быть обеспечена индивидуальным управлением ОП и/или индивидуальным регулированием ОП.
В решениях варианта 1 на верхнем уровне рекомендуется применять отдельно расположенные программно-технические комплексы для технологических объектов (подуровень 3А) и объектов оперативно-диспетчерского управления (подуровень 3Б).
Допускается использовать программно-технические комплексы диспетчерских пунктов, объединяющих на одной площадке функции объектов третьего уровня.
А.5 Вариант 2
АСУ освещением является расширением варианта 1 АСУ освещением за счет включения основных, дополнительных и сервисных функций, обеспеченных средствами программно-технических комплексов центрального диспетчерского пункта. При этом к центральному диспетчерскому пункту могут быть подключены несколько объектов третьего уровня.
В функции центрального диспетчерского пункта должны быть включены функции информационных подсистем для управления производством, а также команды управления объектами среднего и нижнего уровней.
А.6 Вариант 3
АСУ освещением является расширением варианта 2 за счет включения основных, дополнительных и сервисных функций, обеспеченных средствами программно-технических комплексов центра управления производством. При этом к центральному диспетчерскому пункту (подуровень 4Б) могут быть подключены несколько объектов подуровня 4А.
В функции центрального диспетчерского пункта должны входить функции передачи информации в информационную систему центра управления производством для управления производством и предприятием. В функции центра управления производством не могут входить команды управления объектами АСУ освещением.
Приложение Б
(справочное)
Б.1 Пример обмена информацией по проводному каналу показан на рисунке Б.1.

АСУО - автоматизированная система управления освещением; ТИ - телеизмерение; ТС - телесигнализация; ТУ - телеуправление
Рисунок Б.1 - Обмен информацией по проводному каналу (включая силовые линии распределительной сети освещения)
Б.2 Пример обмена информацией по беспроводному радиоканалу показан на рисунке Б.2.

АСУО - автоматизированная система управления освещением; RF - беспроводные радиоканалы; ТИ - телеизмерение; ТС - телесигнализация; ТУ - телеуправление
Рисунок Б.2 - Обмен информацией по беспроводному радиоканалу
Б.3 Пример обмена информацией по двум каналам показан на рисунке Б.3.

АСУО - автоматизированная система управления освещением; RF - беспроводные радиоканалы; ТИ - телеизмерение; ТС - телесигнализация; ТУ - телеуправление
Рисунок Б.3 - Обмен информацией по двум каналам
Каналы телеуправления однонаправленно передаются по проводному каналу (рисунок Б.1), а сигналы, результаты измерений и данные от датчиков различного назначения - по беспроводному радиоканалу (рисунок Б.2).
Б.4 Пример обмена информацией по двум беспроводным радиоканалам RF-1 и RF-2 (разные частоты, стандарты и протоколы связи) показан на рисунке Б.4.

АСУО - автоматизированная система управления освещением; RF-1 и RF-2 - беспроводные радиоканалы; ТИ - телеизмерение; ТС - телесигнализация; ТУ - телеуправление
Рисунок Б.4 - Обмен информацией по двум беспроводным радиоканалам RF-1 и RF-2 (разные частоты, стандарты и протоколы связи)
Каналы телеуправления, телесигнализации и телеизмерения от контроллера АСУ освещением в ПП передаются по проводному каналу с силовым коммуникационным оборудованием (рисунок Б.1). Сигналы телеуправления, телесигнализации и телеизмерения с групповым или индивидуальным регуляторами передаются по беспроводному радиоканалу RF-1 (рисунок Б.2). Обмен информацией между контроллером АСУ освещением, выступающим в качестве шлюза, и сервером передаются по высокоскоростному широкополосному радиоканалу RF-2 или GPRS/3G/LTE/LPWAN.
Б.5 Пример обмена информацией по беспроводным радиоканалам RF через "облачные" информационно-коммуникационные технологии показан на рисунке Б.5.

АСУО - автоматизированная система управления освещением; RF - беспроводные радиоканалы; ТИ - телеизмерение; ТС - телесигнализация; ТУ - телеуправление
Рисунок Б.5 - Обмен информацией по беспроводным радиоканалам RF через "облачные" информационно-коммуникационные технологии
Сигналы телеуправления, телесигнализации и телеизмерения с групповым или индивидуальным регуляторами передаются по беспроводному радиоканалу RF с сервером (рисунок Б.2) через "облако" информационно-коммуникационных технологий. Обмен информацией между контроллером АСУ освещением, выступающим в качестве шлюза, и сервером передаются через "облако" информационно-коммуникационных технологий. Сбор, обработка, хранение и анализ информации производят средствами специализированного программного обеспечения на сервере, после чего от него поступают команды, необходимые по совокупности поступившей информации.
Б.6 На рисунке Б.6 приведена схема подключения мобильного автоматизированного рабочего места при наладке, техническом обслуживании и ремонте объектов АСУ.

ДП - диспетчерский пункт; ПП - пункт питания; ЦОД - центр обработки данных; АСУО - автоматизированная система управления освещением; АРМ - автоматизированное рабочее место; GPS/ГЛОНАСС - навигационные системы; ТИ - телеизмерение; ТС - телесигнализация; ТУ - телеуправление
Рисунок Б.6 - Схема подключения мобильного автоматизированного рабочего места
Программно-технические средства, которые входят в состав мобильного автоматизированного рабочего места должны обеспечивать выполнение следующих функций:
- основного или резервного автоматизированного рабочего места в составе программно-технического комплекса диспетчерского пункта/центрального диспетчерского пункта или центра управления производством (связь с сервером должна быть организована по высокоскоростному проводному каналу);
- основного или резервного автоматизированного рабочего места в составе программно-технического комплекса временного диспетчерского пункта, для проведения работ, связанных с временным отключением от каналов связи диспетчерских пунктов без перерывов в выполнении функций контроля АСУ освещением (связь с сервером должна быть организована по высокоскоростному проводному каналу через локальную сеть - внутренний доступ к ресурсам);
- подвижного диспетчерского пункта:
а) при проведении пусконаладочных работ, испытаний и опытной эксплуатации фрагментов системы на удаленных объектах при отсутствии устойчивой связи с ними по штатной схеме, когда связь с сервером может быть организована по проводному каналу или радиоканалу (внешний доступ к ресурсам),
б) работе мобильного автоматизированного рабочего места в качестве сервера (одновременно выполняя функции объектов технологического и оперативно-диспетчерского);
- технологического автоматизированного рабочего места при наладке, техническом обслуживании, ремонте комплекса технических средств и программно-технического комплекса АСУ освещением на разных уровнях, при непосредственном проводном или беспроводном подключении к техническим средствам [серверам АСУ освещением (внешний или внутренний доступ), контроллерам в ПП, электронным пускорегулирующим аппаратам, устройствам управления светодиодными источникам света, контроллерам/модулям управления в ОП];
- в качестве автоматизированного рабочего места проверки и конфигурирования оборудования перед установкой для работы.
Требования к составу программно-технических средств мобильного автоматизированного рабочего места в зависимости от вариантов его использования должно быть определено техническим заданием на разработку АСУ или частным техническим заданием на мобильное автоматизированное рабочее место.
Приложение В
(справочное)
Схема информационного обмена АСУ освещением в составе комплексной автоматизированной системы управления жизнеобеспечением тоннеля приведена на рисунке В.1

Рисунок В.1 - Схема информационного обмена АСУ освещением в составе комплексной автоматизированной системы управления жизнеобеспечением тоннеля
Приложение Г
(справочное)
Г.1 Объекты и подсистемы, входящие в АСУ освещением, представлены на рисунке Г.1

АСУДД - автоматизированная система управления дорожного движения
Рисунок Г.1 - Объекты и подсистемы, входящие в систему управления освещением
Г.2 Схема подсистем объектов по диспетчеризации приведена на рисунке Г.2.

ДП - диспетчерский пункт; ЦДП - центрально-диспетчерский пункт; ЦУП - центр управления производством
Рисунок Г.2 - Схема подсистем диспетчеризации и телемеханического управления
Приложение Д
(справочное)
Д.1 При определении состава информационного обеспечения, технического обеспечения и программного обеспечения диспетчерского управления необходимо учитывать:
- типовой состав диспетчерского пункта (технического обеспечения, информационного обеспечения, программного обеспечения);
- расширение каналов связи с диспетчерским пунктом (техническим обеспечением и информационным обеспечением);
- расширение серверного оборудования/центра обработки данных (технического обеспечения и информационного обеспечения);
- расширение диспетчерского программного обеспечения (программного обеспечения и информационного обеспечения);
- расширение баз данных (программного обеспечения и информационного обеспечения);
- расширение парка компьютерной техники в диспетчерском пункте (технического обеспечения и информационного обеспечения);
- разработку информационного обеспечения для включения объекта в систему диспетчеризации;
- необходимость расширения и разработки информационного обеспечения для включения объекта в систему фото-/видеофиксации (выполняется для каждой камеры на объектах, на которых установлены камеры фото-/видеофиксации);
- разработку информационного обеспечения для включения объекта в систему визуализации и анализа (для каждой точки наблюдения объекта);
- подключение проектируемого объекта к проектируемому или существующему диспетчерскому пункту, работающему в штатном режиме, без учета связи с вышестоящим диспетчерским пунктом и/или центральным диспетчерским пунктом.
Примечание - Информационное обеспечение временного диспетчерского пункта и подключения к нему определяют отдельно с учетом ограничений, если необходимость проектирования временного диспетчерского пункта отражена в техническом задании;
- полноту или ограничения в использовании информационного обеспечения основного диспетчерского пункта при создании запасного (резервного) или дублирующего диспетчерского пункта, функции которого аналогичны функциям основного диспетчерского пункта;
- создание центрального диспетчерского пункта, объединяющего (агрегирующего) функции и информацию и/или интегрирующего несколько подсистем различных уровней иерархии;
- состав работ с учетом характеристик технического, информационного и программного обеспечения каждого подключаемого диспетчерского пункта и количественных показателей информационного обеспечения интегрирующего центрального диспетчерского пункта;
- наличие высокоскоростного канала связи с диспетчерским пунктом.
Д.2 Сложность объекта в части обеспечения диспетчерского управления определено количеством дескрипторов, описывающих данный объект с точки зрения информационной емкости включения в систему диспетчерского управления, количество которых рассчитывают как сумму количества дескрипторов каждого типа.
Д.3 Для обеспечения каналов внешней связи между оборудованием АСУ объекта и диспетчерским пунктом рассчитывают количество:
- каналов выделенных физических линий;
- каналов волоконно-оптических линий связи;
- каскадных каналов;
- каналов Ethernet;
- радиоканалов;
- каналов GSM;
- каналов GPS/ГЛОНАСС/SNMP.
Д.4 Для обеспечения фото-, видеонаблюдения за объектами предусмотрен учет информации:
- камер фотофиксации с подключением к общей шине шкафа управления освещением;
- камер фотофиксации без подключения к общей шине шкафа управления освещением;
- IP видеокамер;
- IP видеокамер, подключаемых через центр обработки данных.
Д.5 Для управления регуляторами предусмотрено информационное обеспечение системы группового или индивидуального регулирования. Регулирование может происходить на основе заложенного графика, измерений, поступающих со специальных датчиков, и с помощью дистанционного управления.
Расчет информационного обеспечения управления регуляторами определено количеством:
- автоматических регуляторов;
- шкафов управления;
- фотометрических датчиков (например, яркомеров).
Д.6 Для обеспечения управления цветодинамическими сценариями предусмотрена разработка цветодинамических программ (программного обеспечения):
- для детализации цветодинамических решений;
- подгонки колористических решений на объекте;
- создания динамических эффектов;
- создания таблиц адресации приборов;
- привязки цветовых схем к ОП;
- создания цветодинамических программ;
- установки программ на объект;
- доработки программ на объекте.
При этом учитывают:
- количество DMX потоков;
- установку однотипных контроллеров;
- ОП с количеством каналов управления менее или равным трем;
- ОП с количеством каналов управления более или равным шести;
- синхронизация объектов по каналу GPS/ГЛОНАСС;
- синхронизация сценариев с видео/музыкальными или иными контентами, воспроизводимыми на объекте.
Д.7 Для обеспечения управления и контроля за силовой частью предусмотрены информационное и техническое обеспечения системы управления, контроля, измерения и диагностики силовой части ОУ. Система должна обеспечивать управление групповыми линиями с помощью магнитных пускателей, контроль наличия напряжения в контрольных точках схемы, показания слаботочных охранных и пожарных датчиков, снятие показаний со счетчиков электроэнергии.
Расчет информационного обеспечения управления и контроля силовой части определяют количеством технологических операций, контролируемых сигналов, управляющих сигналов, а также информационной мощностью.
Приложение Е
(справочное)
Е.1 Примеры значимых элементов ОУ, учитываемые при работе АСУ освещением
Сложность объекта при проектировании обеспечения диспетчерского управления определена количеством дескрипторов, описывающих данный объект с точки зрения информационной емкости включения в систему диспетчерского управления. Возможные виды дескрипторов приведены в таблице Е.1.
|
Элемент |
Примечание |
|
Линия телесигнализации |
230 В или слаботочная. Следует считать по количеству точек контроля |
|
Линия телеуправления |
Следует считать по количеству коммутационных элементов |
|
Сигнал телеизмерения |
По количеству измеряемых параметров |
|
Сигнал телерегулирования |
По количеству передаваемых параметров |
|
Канал DMX |
По количеству используемых каналов для управления ОП |
|
Канал PLC |
Следует считать по количеству коммутационных элементов и передаваемых параметров |
|
Дискретный выход модуля вывода |
По количеству выходов в модуле |
|
Дискретный вход модуля ввода |
По количеству входов в модуле |
|
Аналоговый вход модуля |
По количеству входов в модуле |
|
Примечание - Дескриптор - это информационная единица, описывающая смысловое содержание схемы. Применительно к управлению ОУ - это магнитные пускатели/контакторы/полупроводниковое коммутационное оборудование, точки контроля, анализируемые узлы, измеряемые и передаваемые параметры, управляемое светотехническое оборудование, дискретные элементы модулей управления. Дескрипторами описываются значимые элементы и параметры ОУ, участвующие в ее работе. С помощью дескрипторов описывают информационную емкость системы управления ОУ (включающая), которая, в свою очередь, определяет объем работ по подключению объекта к системам диспетчеризации, регулирования и анализа. | |
Е.2 Значимые параметры системы регулирования для оценки сложности приведены в таблице Е.2
|
Параметр |
Значение |
|
Количество технологических операций |
Численное |
|
Количество контролируемых сигналов | |
|
Количество управляющих сигналов | |
|
Переменные данные |
Е.3 Значимые параметры АСУ освещением объекта для оценки сложности приведены в таблицах Е.3-Е.7.
|
Технологическая операция |
|
Выбор режима "Вечерний" (ручной) |
|
Выбор режима "Вечерний" (автоматический) |
|
Выбор режима "Вечерний" (дистанционный) |
|
Выбор режима "Ночной" (ручной) |
|
Выбор режима "Ночной" (автоматический) |
|
Выбор режима "Ночной" (дистанционный) |
|
Выбор режима "Дневной" (ручной) |
|
Выбор режима "Дневной" (автоматический) |
|
Выбор режима "Дневной" (дистанционный) |
|
Выбор режима "Блокировка групповых команд управления" (дистанционный) |
|
Выбор режима "Блокировка групповых команд управления" (ручной) |
|
Выбор режима "Блокировка каскадных команд управления" (дистанционный) |
|
Выбор режима "Блокировка каскадных команд управления" (ручной) |
|
Выбор режима "Обход управления с шагом хх % по фазе х" |
|
Выбор режима "Групповое управление" |
|
Выбор режима "Групповое управление световым потоком ОП с шагом хх % по фазе х" |
|
Выбор режима "Телекаскадное управление" |
|
Выбор режима "Телеадресное управление" |
|
Выбор режима "Адресное управление световым потоком ОП с шагом хх % по фазе х" |
|
Выбор режима "Сценарий N XX" |
|
Автоматическая диагностика |
|
Тестовая диагностика |
|
Контроль наличия требуемого напряжения в точках контроля |
|
Контроль наличия трехфазного напряжения на входах коммутационных аппаратов |
|
Контроль требуемого напряжения на "прямых проводах" каскадного управления |
|
Контроль требуемого напряжения на "обратных проводах" каскадного управления |
|
Регулировка напряжения по показаниям фотометрических датчиков (яркомеров) |
|
Регулировка напряжения в режиме "Ночной" |
|
Операция по корректировке времени часов/таймера пульта управления |
|
Синхронизация времени |
|
Операция по изменению сетевой конфигурации |
|
Операция по изменению конфигурации оборудования |
|
Контроль состояния пожарного датчика (дымового извещателя) |
|
Контроль состояния датчиков несанкционированного доступа |
|
Местная ручная диагностика оборудования (тестовая, с местного пульта на сборке) |
|
Местная ручная диагностика канала связи (тестовая, с местного пульта на сборке) |
|
Реализация интерфейсов взаимодействия между автоматизированным рабочим местом и шкафом управления |
|
Реализация интерфейсов взаимодействия между комплексами технических средств системы регулирования |
|
Контроль положения коммутационных аппаратов |
|
Операция по корректировке программных режимов шкафа управления |
|
Операция по организации и проверке связи между сервером/программно-технического комплексом диспетчерского пункта и шкафом управления |
|
Операция по проверке качества входного трехфазного напряжения (измерение токов и напряжений по фазам) |
|
Сигнал |
|
Показания счетчика (телеизмерение) |
|
Напряжение в контрольных точках (телесигнализация) |
|
Показания яркомеров (телеизмерение) |
|
Датчики (телесигнализация/телеизмерение) |
|
Положение пускателей (телесигнализация) |
|
Работа системы вентиляции (телесигнализация) |
|
Положение переключателей (телесигнализация) |
|
Наличие физического канала связи диспетчерский пункт - ПП (телесигнализация) |
|
Наличие физического канала связи сервер - программно-технический комплекс диспетчерского пункта (телесигнализация) |
|
Наличие физического канала связи сервер - ПП (телесигнализация) |
|
Уровень сигнала в канале связи (телеизмерение) |
|
Состояние контроллеров и модулей (телесигнализация) |
|
Наличие связи с сервером (телесигнализация) |
|
Наличие сигнала синхронизации времени (телесигнализация) |
|
Наличие сигнала телерегулирования (телесигнализация) |
|
Регулирование параметров (телерегулирование) |
|
Технологическая операция |
|
Запрос на измерения счетчика |
|
Управление коммутационными аппаратами |
|
Передача команды "Отключить" |
|
Передача команды "Вечерний" |
|
Передача команды "Ночной" |
|
Передача команды "Дневной" |
|
Передача команды "Регулирование" (изменение параметра, например, напряжения) |
|
Передача команды "Блокировка" |
|
Передача команды "Разблокировка" |
|
Передача команды "Погасить" для DMX |
|
Передача команды "Диагностика" |
|
Передача команды "Сценарий N XX" |
|
Передача команды "Байпас-обход" |
|
Переменная |
|
Наличие/отсутствие напряжения в точках контроля |
|
Наличие/отсутствие напряжения на "прямых проводах" каскадного управления |
|
Наличие/отсутствие напряжения на "обратных проводах" каскадного управления |
|
Текущее положение коммутационных аппаратов |
|
Состояние датчиков несанкционированного доступа |
|
Состояние пожарного датчика (дымового извещателя) |
|
Флаг дистанционного управления контакторами |
|
Годовой график включения |
|
Значения токов по фазам |
|
Значения напряжения по фазам (на входе регулятора) |
|
Значения напряжения по фазам (на выходе регулятора) |
|
Значения температуры регулятора |
|
Варианты типа связи с ОП |
|
Однонаправленный |
|
Двунаправленный |
|
Комбинированный |


