ГОСТ Р 58174-2018 ТЕЛЕЖКИ ПОКУПАТЕЛЬСКИЕ. ТЕХНИЧЕСКИЕ УСЛОВИЯ
Basket trolleys. Specifications
Предисловие
1 Разработан Обществом с ограниченной ответственностью "КМК" (ООО "КМК") и Обществом с ограниченной ответственностью "Кифато-Металл" (ООО "Кифато-Металл")
2 Внесен Техническим комитетом по стандартизации ТК 253 "Складское оборудование"
3 Утвержден и введен в действие Приказом Федерального агентства по техническому регулированию и метрологии от 11 июля 2018 г. N 411-ст
4 Введен впервые
Настоящий стандарт распространяется на металлические покупательские тележки (далее - тележки), предназначенные для перевозки товаров в торговых залах предприятий торговли, с откидной стенкой и опорной поверхностью для размещения ребенка или без нее, перемещаемые вручную.
Стандарт не распространяется на покупательские тележки специального назначения.
В настоящем стандарте использованы нормативные ссылки на следующие стандарты:
ГОСТ 2.102 Единая система конструкторской документации. Виды и комплектность конструкторских документов
ГОСТ 2.601 Единая система конструкторской документации. Эксплуатационные документы
ГОСТ 2.610 Единая система конструкторской документации. Правила выполнения эксплуатационных документов
ГОСТ 9.032 Единая система защиты от коррозии и старения. Покрытия лакокрасочные. Группы, технические требования и обозначения
ГОСТ 9.301 Единая система защиты от коррозии и старения. Покрытия металлические и неметаллические неорганические. Общие требования
ГОСТ 9.302 Единая система защиты от коррозии и старения. Покрытия металлические и неметаллические неорганические. Методы контроля
ГОСТ 9.401 Единая система защиты от коррозии и старения. Покрытия лакокрасочные. Общие требования и методы ускоренных испытаний на стойкость к воздействию климатических факторов
ГОСТ 12.1.007 Система стандартов безопасности труда. Вредные вещества. Классификация и общие требования безопасности
ГОСТ 3242 Соединения сварные. Методы контроля качества
ГОСТ 4765 Материалы лакокрасочные. Метод определения прочности при ударе
ГОСТ 5264 Ручная дуговая сварка. Соединения сварные. Основные типы, конструктивные элементы и размеры
ГОСТ 11533 Автоматическая и полуавтоматическая дуговая сварка под флюсом. Соединения сварные под острыми и тупыми углами. Основные типы, конструктивные элементы и размеры
ГОСТ 11534 Ручная дуговая сварка. Соединения сварные под острыми и тупыми углами. Основные типы, конструктивные элементы и размеры
ГОСТ 14771 Дуговая сварка в защитном газе. Соединения сварные. Основные типы, конструктивные элементы и размеры
ГОСТ 15140 Материалы лакокрасочные. Методы определения адгезии
ГОСТ 15150 Машины, приборы и другие технические изделия. Исполнения для различных климатических районов. Категории, условия эксплуатации, хранения и транспортирования в части воздействия климатических факторов внешней среды
ГОСТ 15878 Контактная сварка. Соединения сварные. Конструктивные элементы и размеры
ГОСТ 23518 Дуговая сварка в защитных газах. Соединения сварные под острыми и тупыми углами. Основные типы, конструктивные элементы и размеры
ГОСТ 24297 Верификация закупленной продукции. Организация проведения и методы контроля
ГОСТ 31149 (ISO 2409) Материалы лакокрасочные. Определение адгезии методом решетчатого надреза
ГОСТ 31993 (ISO 2808) Материалы лакокрасочные. Определение толщины покрытия
ГОСТ 33966.1 (EN 115-1:2008+А1:2010) Эскалаторы и пассажирские конвейеры. Требования безопасности к устройству и установке
ГОСТ Р 53007 (ИСО 6272-1, ИСО 6272-2) Материалы лакокрасочные. Метод испытания на быструю деформацию (прочность при ударе)
ГОСТ Р 54586 (ИСО 15184) Материалы лакокрасочные. Метод определения твердости покрытия по карандашу
ГОСТ Р 55968 (ЕН 115-2) Эскалаторы и пассажирские конвейеры. Повышение безопасности находящихся в эксплуатации эскалаторов и пассажирских конвейеров
Примечание - При пользовании настоящим стандартом целесообразно проверить действие ссылочных стандартов в информационной системе общего пользования - на официальном сайте Федерального агентства по техническому регулированию и метрологии в сети Интернет или по ежегодному информационному указателю "Национальные стандарты", который опубликован по состоянию на 1 января текущего года, и по выпускам ежемесячного информационного указателя "Национальные стандарты" за текущий год. Если заменен ссылочный стандарт, на который дана недатированная ссылка, то рекомендуется использовать действующую версию этого стандарта с учетом всех внесенных в данную версию изменений. Если заменен ссылочный стандарт, на который дана датированная ссылка, то рекомендуется использовать версию этого стандарта с указанным выше годом утверждения (принятия). Если после утверждения настоящего стандарта в ссылочный стандарт, на который дана датированная ссылка, внесено изменение, затрагивающее положение, на которое дана ссылка, то это положение рекомендуется применять без учета данного изменения. Если ссылочный стандарт отменен без замены, то положение, в котором дана ссылка на него, рекомендуется применять в части, не затрагивающей эту ссылку.
В настоящем стандарте применены следующие термины с соответствующими определениями:
3.1 корзина: Часть тележки, внутренний объем которой используется для размещения покупок.
3.2 рама: Часть тележки, воспринимающая нагрузку от корзины и передающая ее на колесные опоры.
3.3 колесная опора: Конструкция, состоящая из колеса (ролика) и основания с элементом крепления к раме тележки, которая может иметь возможность самоориентации.
3.4 рукоятка: Деталь, используемая для управления движением тележки.
3.5 задняя створка: Подвижная стенка корзины, позволяющая совмещать корзины для горизонтального штабелирования.
3.6 откидная стенка с опорной поверхностью: Откидная стенка, находящаяся на задней створке тележки, с опорной поверхностью внутри корзины для размещения покупок, которая может выполнять функцию посадочного места для ребенка.
3.7 платформа: Часть тележки для дополнительного размещения покупок, установленная на раме.
3.8 номинальный объем корзины: Характеристика тележки, отражающая ее основной потребительский параметр, указываемая в литрах.
3.9 расчетный объем корзины: Объем, рассчитанный в соответствии с разделом В.1 приложения В.
3.10 номинальная масса груза: Масса товара, размещение которого допускается в тележке.
3.11 номинальная нагрузка: Нагрузка на элементы тележки от номинальной массы товара.
3.12 номинальная нагрузка на платформу: Нагрузка, определенная производителем при расчетах и указанная в потребительских характеристиках тележки.
Настоящий стандарт устанавливает требования к тележкам следующих типов:
- тележки типа А, состоящие из корзины для перевозки товаров и рамы, оборудованные колесными опорами и рукояткой (см. рисунок 1);
- тележки типа Б, состоящие из корзины для перевозки товаров и рамы, оборудованные колесными опорами, рукояткой и откидной стенкой с опорной поверхностью, установленной внутри корзины (см. рисунок 2).

Рисунок 1 - Тележка типа А

Рисунок 2 - Тележка типа Б
Тележки обоих типов могут быть как с платформами для размещения товаров, установленными ниже корзины, так и без них.
Тележки обоих типов могут выполняться в исполнении для применения на пассажирских конвейерах по ГОСТ Р 55988 и ГОСТ 33966.1.
5.1 Общие положения
5.1.1 Тележки должны соответствовать требованиям настоящего стандарта, конструкторской документации и изготавливаться по технической документации, утвержденной в установленном порядке.
5.1.2 При постановке тележек на производство предприятие-изготовитель должно разработать проектную и эксплуатационную документацию в соответствии с ГОСТ 2.102 и ГОСТ 2.610.
5.1.3 Свойства материалов элементов тележек должны обеспечивать возможность восприятия номинальной нагрузки с учетом условий эксплуатации.
5.1.4 Изготовление тележек должно осуществляться средствами и оборудованием, обеспечивающими качественное проведение работ; контроль и испытания производятся в соответствии с технологической документацией и требованиями настоящего стандарта.
5.1.5 Тележки должны эксплуатироваться в закрытых помещениях с климатическими условиями категории УХЛ4 по ГОСТ 15150 с возможностью хранения под навесами на открытом воздухе, исключающими воздействие атмосферных осадков.
5.1.6 Максимальная масса груза, размещаемого на опорной поверхности, составляет 15 кг и должна быть отчетливо указана на тележке и быть нестираемой в процессе всего периода эксплуатации.
5.1.7 Максимальное усилие, необходимое для приведения тележки в движение, должно быть не более 65 Н.
5.2 Требования к конструкции и размерам
5.2.1 Тележка (см. рисунок 3) представляет собой конструкцию, состоящую из следующих конструктивных элементов:
- основание (рама);
- сетчатая корзина;
- задняя стенка;
- колесные опоры;
- рукоятка;
- откидная стенка с опорной поверхностью.

1 - корзина; 2 - основание (рама); 3 - колесная опора; 4 - рукоятка; 5 - задняя стенка; 6 - откидная стенка; 7 - опорная поверхность
Рисунок 3 - Схема конструкции тележки
5.2.2 Максимальная ширина тележки, включая комплектующие изделия, не должна превышать 650 мм, при этом колеса должны быть повернуты в направлении движения.
5.2.3 Область захвата рукоятки должна находиться на высоте от 850 до 1150 мм от уровня пола.
5.2.4 Свободное пространство между самой нижней точкой рамы и уровнем пола должно быть не менее 100 мм.
5.2.5 Никакая стационарная или подвижная деталь тележки не должна размещаться под рукояткой в пространстве, определенном следующими границами (см. рисунок 4):
- задние колесные опоры;
- пол;
- вертикальная плоскость под рукояткой;
- плоскость, наклоненная под углом не менее 5° в сторону тележки по касательной к рукоятке;
- горизонтальная плоскость, расположенная на высоте 600 мм над полом.

Рисунок 4 - Пространство для ног
5.2.6 Номинальный объем корзины, указываемый производителем, и расчетный объем корзины не должны отличаться более чем на 5 %.
5.2.7 Тележка должна быть оборудована минимум четырьмя колесными опорами, из них не менее двух должны быть самоориентирующимися.
5.2.8 Диаметр колес должен быть не менее 100 мм.
5.2.9 Крепление колесной опоры должно исключать ее самопроизвольное отсоединение от основания.
5.2.10 Каждая колесная опора должна иметь одинаковую несущую способность. Несущая способность колесной опоры должна составлять не менее 30 % от суммарной максимальной нагрузки от массы тележки и номинальной массы груза.
5.2.11 Не допускается крепление колесных опор к раме при помощи неразъемных соединений.
5.2.12 Требования к колесным опорам указаны в приложении А, для тележек, предназначенных для использования на пассажирских конвейерах, - в приложении Г.
5.2.13 Конструкция тележек должна учитывать наличие неровностей поверхности пола на месте эксплуатации не более 5 мм.
5.2.14 Конструкция и требования к откидной стенке с опорной поверхностью в соответствии с приложением Б.
5.2.15 Тележки могут быть оборудованы платформой для размещения дополнительных грузов в соответствии с рисунком 5.

Рисунок 5 - Место для размещения платформы
5.2.16 Свободное пространство между полом и нижней точкой платформы должно быть не менее 45 мм.
5.2.17 Применяемые сварочные материалы и технология сварки должны обеспечивать прочность сварного соединения не ниже нормативного значения временного сопротивления основного металла. Сварные швы должны быть выполнены в соответствии с требованиями ГОСТ 5264, ГОСТ 11533, ГОСТ 11534, ГОСТ 14771, ГОСТ 15878, ГОСТ 23518. Качество сварных швов проверяют по ГОСТ 3242.
5.2.18 Требования к форме корзины, платформы и рамы тележек не регламентируются данным стандартом и определяются предприятием-изготовителем.
5.3 Требования к применению защитно-декоративных покрытий
5.3.1 Покрытия должны удовлетворять гигиеническим требованиям к безопасности товаров, находящихся в корзине. Все металлические части должны быть защищены от коррозии нетоксичным покрытием.
5.3.2 Покрытие должно сохраняться на протяжении гарантийного срока, определенного предприятием-изготовителем.
5.3.3 Гальваническое покрытие выполняется по ГОСТ 9.301. Лакокрасочное покрытие по класс IV по ГОСТ 9.032.
Примечание - Цвет, при необходимости, определяется по [1].
5.4 Требования к сырью и материалам
5.4.1 Материалы, применяемые для изготовления тележек, должны удовлетворять гигиеническим требованиям к безопасности товаров, находящихся в корзине.
5.4.2 Конструкция корзины и рамы должна быть выполнена из металла.
5.4.3 Части тележки, не влияющие на несущую способность, могут быть выполнены из неметаллических материалов.
5.4.4 Все используемые материалы и сырье должны пройти входной контроль в порядке, определенном на предприятии-изготовителе, исходя из требований ГОСТ 24297.
5.5 Физико-механические свойства
5.5.1 Тележки должны сохранять работоспособность и исправность в течение их гарантийного срока, а также соответствовать критериям приемки по результатам испытаний, указанных в приложении В.
5.6 Комплектность
5.6.1 Комплектность тележек определяется условиями заказа и требованиями технической документации.
5.6.2 Каждая партия тележек должна сопровождаться руководством по эксплуатации, каждая тележка должна сопровождаться этикеткой в соответствии с ГОСТ 2.601.
5.7 Маркировка
5.7.1 На каждую единицу изделия должна быть нанесена маркировка, включающая следующую информацию:
- наименование предприятия-изготовителя;
- адрес предприятия-изготовителя;
- обозначение тележки по документации предприятия-изготовителя;
- номинальный объем корзины;
- номинальная масса груза в килограммах;
- указание о соответствии настоящему стандарту;
- месяц и год изготовления тележки;
- максимальная масса груза на опорной поверхности.
5.8 Упаковка
5.8.1 Необходимо применять упаковку, обеспечивающую сохраняемость изделий при их транспортировании и хранении.
6.1 На тележках не должно быть каких-либо открытых необработанных краев, кромок, заусенцев, являющихся достаточно острыми, чтобы нанести раны или ссадины. Тележки, предполагающие размещение ребенка, не должны содержать каких-либо деталей, которые могут защемить, порезать или ранить ребенка.
6.2 В случае установки дополнительных комплектующих на тележки они не должны ухудшать потребительские свойства и характеристики тележки, указанные в настоящем стандарте.
6.3 Любая деталь тележки не должна повреждаться и/или терять свою работоспособность при приложении к ней в любом направлении усилия, равного 90 Н.
6.4 Вертикальные ребра передней части корзины тележки должны иметь внешний радиус изгиба не менее 20 мм.
6.5 Тележки являются малоопасными изделиями и по степени воздействия на организм человека относятся к IV классу опасности согласно ГОСТ 12.1.007.
6.6 Тележки в нормальных условиях эксплуатации не должны выделять вредных продуктов в концентрациях, опасных для организма человека.
7.1 Тележки в поставляемом виде и в условиях эксплуатации должны быть экологически безопасны.
7.2 Материалы и покрытие тележки не должны обладать способностью образовывать токсичные соединения.
7.3 Отходы, образующиеся в процессе производства, должны собираться предприятием-изготовителем в специальные емкости и утилизироваться.
Все испытания в соответствии с настоящим разделом проводятся на предприятии-изготовителе.
8.1 Квалификационные и периодические испытания
8.1.1 При постановке на производство тележки должны пройти квалификационные испытания в соответствии с приложением В.
8.1.2 Периодические испытания должны проводиться предприятием-изготовителем не реже одного раза в 24 мес в объеме приложения В.
8.2 Приемо-сдаточные испытания
8.2.1 Готовые тележки должны пройти приемо-сдаточные испытания в соответствии с технической документацией на тележки.
8.2.2 Показатели, которые проверяются в процессе приемо-сдаточных испытаний:
- комплектность;
- маркировка;
- отсутствие видимых дефектов конструкции и покрытия;
- визуальный контроль отсутствия видимых дефектов сварных соединений: непровары, трещины, наплывы, раковины.
9.1 Тележки должны транспортироваться в условиях, обеспечивающих сохранность изделий в соответствии с действующими правилами перевозки грузов, установленными для используемых видов транспорта.
9.2 При транспортировании и хранении должны быть предусмотрены меры, не допускающие возможность деформации и коррозии тележек.
9.3 Условия транспортирования и хранения изделий в части воздействия климатических факторов внешней среды - по группе условий хранения 6 по ГОСТ 15150.
10.1 Производитель должен предоставить точную информацию относительно правил эксплуатации, технического обслуживания, ремонта и утилизации в соответствии с требованиями настоящего стандарта, в т.ч. указания по обучению персонала предприятия торговли, эксплуатирующего тележки.
В эксплуатационной документации производитель должен определить параметры недопустимых дефектов и повреждений.
10.2 Указания по применению
10.2.1 Предприятие торговли, использующее тележки, обязано эксплуатировать тележки в соответствии с требованиями настоящего стандарта и документации производителя и доводить указания по эксплуатации до посетителей торгового зала.
10.2.2 Предприятие торговли должно назначить сотрудника, ответственного за эксплуатацию тележек.
10.2.3 Не допускается:
- использовать тележки, имеющие повреждения или дефекты, влияющие на нормальную эксплуатацию. Такие тележки должны быть выведены из эксплуатации;
- перевозить детей любым способом, кроме размещения сидя на опорной поверхности;
- при нахождении ребенка на опорной поверхности терять визуальный контроль над тележкой и перемещать тележку иным способом, кроме как держась за рукоятку;
- загружать тележку свыше номинальной нагрузки;
- ударное воздействие на тележку, в т.ч. на колесные опоры при наезде на препятствие высотой более 5 мм;
- опираться на стенки корзины, либо перемещать тележку, держась за стенки корзины;
- перевозить животных в корзине;
- нахождение товаров и детей в корзине во время горизонтального штабелирования.
10.2.4 Временное размещение тележек допускается только в специально отведенных местах. Временное размещение вне помещений допускается только под навесом.
Для перемещения и временного размещения в процессе эксплуатации следует осуществлять горизонтальное штабелирование.
10.3 Техническое обслуживание
10.3.1 Ежедневный контроль
Сотрудник, ответственный за эксплуатацию тележек на предприятии торговли, должен организовывать ежедневный визуальный контроль и проверку:
- комплектности;
- откидной стенки с опорной поверхностью, их крепление;
- состояния и надежного закрепления колесных опор;
- состояния рукоятки;
- целостности рамы и корзины;
- целостности защитного покрытия и наличие коррозии на элементах конструкции.
При обнаружении дефектов и неисправностей тележка должна быть выведена из эксплуатации.
10.3.2 Периодическое техническое обслуживание
Периодическое обслуживание должно проводиться не реже одного раза в месяц, в зависимости от условий эксплуатации, и включает в себя:
- все действия, проводимые при ежедневном контроле;
- влажную очистку тележек (при необходимости);
- очистку колесных опор от посторонних предметов и проверку их работоспособности;
- проверку состояния защитно-декоративного покрытия.
Результаты технического обслуживания должны документироваться.
10.4 Ремонт
10.4.1 Ремонт тележек должен производиться путем замены пришедших в негодность элементов конструкции на новые, предусмотренные предприятием-изготовителем.
10.4.2 Колесные опоры не подлежат восстановлению и ремонту и должны заменяться аналогичным узлом в сборе.
Предприятие-изготовитель должно гарантировать соответствие изделий требованиям настоящего стандарта при условии соблюдения потребителем правил эксплуатации, транспортирования и хранения.
Срок гарантии наступает с даты передачи тележек потребителю и должен составлять не менее 12 мес.
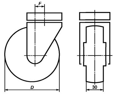
Приложение А
(обязательное)
Для оснащения тележек должны использоваться колесные опоры с диаметром колеса не менее 100 мм.
Ширина колеса должна быть не менее 30 мм (см. рисунок А.1).
В таблице А.1 указаны минимальные и максимальные значения смещения оси F для поворотных колесных опор, соответствующих диаметру колеса D, как показано на рисунке А.1.

Рисунок А.1 - Схема колесных опор
|
Диаметр колеса D, мм |
Смещение оси F, мм | |
|
Минимум |
Максимум | |
|
От 100 до 125 |
20 |
60 |
|
От 125 (включительно) |
25 |
70 |
|
Примечание - Для амортизирующих колесных опор смещение оси может отличаться от указанных размеров. | ||
Допуск на диаметр колеса D составляет ± 1 %.
Производитель тележек должен применять колесные опоры, которые должны обеспечивать заявленные характеристики тележек и положительные результаты испытаний тележек в соответствии с настоящим стандартом.
Примечание - Другие технические требования приведены в [2]-[4].
Приложение Б
(обязательное)
Откидная стенка с опорной поверхностью должна располагаться внутри корзины.
Угол между опорной поверхностью и откидной стенкой должен составлять от 90° до 120°.
Опорная поверхность не должна иметь острых краев и выступов.
В рабочем положении (см. рисунок Б.1) опорная поверхность должна иметь следующие размеры:
- ширина не менее 240 мм;
- глубина не менее 130 мм, измеренная между плоскостью задней стенки и плоскостью откидной стенки.

Рисунок Б.1 - Рабочее положение опорной поверхности
Откидная стенка имеет следующие размеры (см. рисунок Б.2):
- высота не менее 200 мм;
- ширина не менее 300 мм.

Рисунок Б.2 - Откидная стенка
Если в откидной стенке имеются отверстия и щели, то размеры таких отверстий должны быть не более 60 мм.
В элементах корзины, контакт которых возможен с ребенком, не должно быть отверстий более 5 мм и менее 12 мм.
В задней створке тележки должны быть предусмотрены два отверстия для ног ребенка со следующими размерами (см. рисунок Б.3):
- высота не менее 110 мм;
- ширина не менее 110 мм.
Разделяющая перегородка между этими двумя отверстиями должна быть шириной от 20 до 40 мм.

Рисунок Б.3 - Проходные отверстия для ног
Приложение В
(обязательное)
Все испытания должны выполняться на новых и комплектных тележках в условиях, соответствующих условиям эксплуатации.
В.1 Измерение объема корзины
Измерение объема корзины проводится с целью подтверждения 5.2.7 (все размеры представлены в мм).
Объем тележки определяется (см. рисунок В.1):
- внутренними поверхностями корзины;
- плоскостью, образованной верхними краями стенок корзины;
- плоскостью, образованной задними краями боковых стенок.

Рисунок В.1 - Эскиз корзины
Примечание - Для измерения объема корзина рассматривается как усеченная призма с параллельными верхними и нижними гранями передней и задней стенки и с соединительными радиусами менее 20 мм.
Объем корзины должен рассчитываться следующим образом (если корзина не является укороченной призмой согласно вышеприведенному определению, то должен применяться другой подходящий метод для определения объема корзины):
а) измерение длин h1, h2, h3 и h4 (см. рисунок В.1);
б) измерение длины е от переднего верхнего края до заднего нижнего края средней плоскости корзины (рисунки В.1 и В.2);
в) измерение m и n перпендикулярно к е и к соответствующему заднему верхнему углу и переднему нижнему углу средней плоскости корзины;
г) вместимость корзины V должна быть равна:
V=S·(hсеч),
(1)
где S - площадь сечения корзины в средней плоскости;
hсеч - среднеарифметическое длин граней передней и задней стенок, которое определяется по формуле
.
(2)
Площадь сечения корзины S, определяется по формуле
.
(3)
Или вместимость корзины V можно определить по формуле
.
(4)

Рисунок В.2 - Сечение корзины
В.2 Испытание тележек статической нагрузкой
Испытание тележек статической нагрузкой проводится с целью подтверждения работоспособности после приложения нагрузки.
При проведении испытаний нагрузка должна быть в 1, 5 раза больше номинальной.
Испытательный груз, используемый для проведения испытания, должен иметь среднюю плотность (1, 5 ± 0, 1) кг/дм3.
Верхняя поверхность испытательного груза должна быть параллельна плоскости, образованной верхними краями боковых стенок корзины.
При наличии платформы, она должна быть загружена испытательным грузом, превышающим номинальную нагрузку на платформу не менее чем на 10 %.
При проведении испытания размеры А и В должны быть измерены в среднем сечении тележки (см. рисунок В.3).

Рисунок В.3 - Измерение размеров А и В
Нагрузка во время испытания должна прикладываться не менее чем в течение 60 мин.
После испытания тележка должна быть разгружена и должны быть измерены размеры А и В. Разность размеров, зафиксированных до и после испытания, является остаточной деформацией.
Остаточная деформация тележки должна составлять не более 7 мм для размеров А и В и тележка должна сохранить работоспособность.
Платформа после испытания не должна иметь повреждений и/или остаточную деформацию.
В.3 Испытание на устойчивость
Испытание тележек на устойчивость проводится с целью подтверждения способности конструкции тележек обеспечить нормальную эксплуатацию без опрокидывания в продольном и/или поперечном направлениях.
Испытание на устойчивость должно проводиться для тележек типа А с пустой корзиной и для тележек типа В с пустой корзиной и грузом, имитирующим массу ребенка, расположенного на опорной поверхности.
Груз, имитирующий ребенка, должен представлять собой образец массой 18 кг, с основанием (200 ± 1) х (100 ± 1) мм и высотой (114 ± 1) мм. Груз следует располагать по центру опорной поверхности.
Платформа при данном испытании должна быть не загружена.
Испытательное устройство должно состоять из наклоняемой платформы, предусматривающей наличие планки высотой (20 ± 1) мм, которая установлена параллельно оси наклона и служит в качестве упора для колесных опор тележки.
Колесные опоры должны быть установлены в наименее устойчивое положение.
Устойчивость в поперечном направлении должна быть проверена наклоном тележки в обе стороны на угол (10° ± 30').
Устойчивость в продольном направлении должна быть проверена наклоном на угол (10° ± 30') вперед и назад.
Если тележка во время испытания не опрокидывается, то она соответствует требованиям настоящего стандарта.
В.4 Испытание на ударное воздействие стенок корзины
Испытание на ударное воздействие проводится с целью подтверждения способности конструкции тележек воспринимать ударные воздействия.
Под ударным воздействием падающей с высоты не менее 1 м массы 10 кг остаточная деформация передней и боковых стенок корзины не должна превысить 40 мм.
Испытание должно проводиться на двух идентичных тележках: на одной тележке на передней стенке, на другой тележке на боковой стенке.
Испытательным грузом является цилиндр из стали диаметром (100 ± 1) мм, ударная сторона которого имеет сферическую форму с радиусом (200 ± 1) мм (см. рисунок В.4).

Рисунок В.4 - Испытательный груз
Испытываемая тележка одной из ее сторон должна быть уложена на неподвижную жесткую поверхность из материала, исключающего деформацию или изгиб, которые исказят результаты испытания.
Испытательный груз должен быть отпущен в свободное падение с высоты не менее 1 м на другую стенку корзины в точку пересечения двух прямых соединительных линий, проведенных к средним точкам противолежащих сторон, которые эту стенку ограничивают (см. рисунок В.5).

Рисунок В.5 - Определение точки удара
В точке удара должна быть измерена остаточная деформация, размер которой вычисляют по разнице размеров до и после удара.
Вторая тележка должна быть уложена на испытательном оборудовании передней частью вверх. Испытание должно быть проведено на передней стенке.
Если остаточные деформации на боковых стенках и на передней стенке в обоих случаях не превышают 40 мм и отсутствуют разрушения сварных соединений, то тележка соответствует требованиям настоящего стандарта.
В.5 Испытание рамы тележки статической нагрузкой
Испытание рамы на прочность проводят с целью подтверждения способности рамы выполнять требуемые функции при возможных нагрузках, приложенных к колесным опорам в процессе эксплуатации.
После приложения усилия 500 Н размеры, указанные на рисунке В.6, не должны иметь отклонения более 5 мм:
- ширина колеи передних колесных опор D1, измеренная по осям крепления колесных опор;
- ширина колеи задних колесных опор D2, измеренная по осям крепления колесных опор;
- расстояние между колесными опорами D3, измеренное между передним и задним креплением колесных опор.
Примечание - Для этого испытания может применяться тележка, указанная в разделе В.4.
Применяя соответствующее испытательное устройство, к креплениям колесных опор должно быть приложено усилие не менее 500 Н на 5 мин последовательно следующим образом (согласно схемам, указанным на рисунке В.6).
Если остаточная деформация для всех размеров D1, D2 и D3 менее 5 мм, то тележка соответствует требованиям настоящего стандарта.
В.6 Испытание на долговечность
Испытание на долговечность проводят с целью подтверждения способности отдельных элементов тележек сохранять исправное состояние и обеспечивать работоспособность конструкции тележек в целом с гарантированной вероятностью безотказной работы в нормальных условиях эксплуатации.
При испытании на долговечность тележка должна перемещаться возвратно-поступательно со скоростью не менее 2, 2 км/ч по полу из листового металла. В середине испытательного пути должны быть расположены 16 прутков диаметром не менее 5 мм поперек к направлению движения тележки, на расстоянии (40 ± 1) мм друг от друга.
Полный путь пробега при возвратно-поступательном движении за один цикл должен быть не менее 6, 5 м.
Привод и перемещение тележки должны осуществляться на высоте ручки. Приводная часть имеет форму вилки с длиной паза не менее 360 мм и отверстием, позволяющим введение ручки с зазором не менее 5 мм (см. рисунок В.7).
Корзина должна быть нагружена равномерно и в соответствии с разделом В.2, 1/3 испытательной нагрузки для корзины и полной номинальной нагрузкой для платформы.
Перед каждым изменением направления движения тележка должна постепенно тормозить, чтобы на участке 100 мм она остановилась.
Тележка должна пройти не менее 6000 циклов перемещения.
Диаметры колес должны быть измерены до и после испытания с точностью до 0, 1 мм.
После выполнения испытания на долговечность:
- не должно быть поврежденных элементов тележки или сборочных узлов и колесных опор;
- продольное усилие, необходимое для приведения в движение тележки, не должно превышать 78 Н (испытание аналогично разделу В.7);
- диаметр колеса должен составлять не менее 90 % от исходного диаметра.

Рисунок В.6 - Схемы испытания рамы на прочность

Рисунок В.7 - Схема испытания на долговечность
В.7 Измерение усилия, необходимого для приведения тележек в движение
Измерение усилия, необходимого для приведения тележек в движение проводится с целью подтверждения соответствия пункту 5.1.7.
Тележка должна быть нагружена половиной ее номинальной нагрузки согласно разделу В.2 для корзины и номинальной нагрузкой для платформы (при ее наличии) и установлена на горизонтальную поверхность.
Поворотные колесные опоры должны быть установлены в направлении движения тележки (установка колесных опор назад, как указано на рисунке В.8).

Рисунок В.8 - Схема испытания усилия, необходимого для приведения тележек в движение
Тележка должна быть зафиксирована соответствующим стопорным устройством.
Для поступательного движения тележки должно быть приложено горизонтальное усилие не более 65 Н. Точкой приложения силы должна быть середина верхней кромки передней стенки корзины (см. рисунок В.8).
Если тележка после освобождения от стопорного устройства приходит в движение, то она соответствует требованиям настоящего стандарта.
В.8 Испытание передней части тележки
Испытательное оборудование должно состоять из испытательной пластины толщиной (10 ± 1) мм с цилиндром диаметром (50 ± 1) мм и высотой (190 ± 1) мм, который вертикально закреплен на пластине (см. рисунок В.9).
Испытание должно проводиться внутри пространства, которое определяется следующими границами, указанными на рисунках В.10 и В.11:
- плоскостью фронтальной части корзины;
- плоскостью, параллельной ей на расстоянии (100 ± 1) мм в направлении задней части корзины;
- расстоянием до высоты (200 ± 1) мм (например, высота испытательного оборудования).

Рисунок В.9 - Испытательное оборудование

Рисунок В.10 - Пространство для испытания

Рисунок В.11 - Положение испытательного оборудования
Испытательное оборудование, размещенное на полу, не должно войти в контакт с какой-либо поверхностью рамы или колесной опоры с радиусом менее 5 мм.
В.9 Испытание на ударное воздействие крепления колесных опор
Испытание на ударное воздействие крепления колесных опор проводится с целью подтверждения способности колесных опор и конструкции крепления сохранять работоспособность при возможных ударных нагрузках в процессе эксплуатации.
Тележка должна быть нагружена массой (30 ± 0, 5) кг и установлена передней стороной вперед на наклонную плоскость с углом наклона (12° ± 30') к горизонтали, так чтобы тележка могла катиться не менее 3 м вперед от передних колесных опор до нижнего конца наклонной плоскости.
У нижнего края наклонной плоскости должно быть установлено неподвижное стопорное устройство высотой от 75 до 80 мм.
Тележка должна съехать шесть раз по наклонной плоскости в направлении стопорного устройства до удара.
Если не произойдет разрушения колесных опор, мест крепления колесных опор или сварных соединений, то тележка соответствует требованиям настоящего стандарта.
В.10 Испытание на коррозионную стойкость и внешний вид покрытия
Испытание на коррозионную стойкость и внешний вид покрытия проводятся с целью подтвердить способность покрытия защитить от коррозии металлические части тележки в течение гарантийного срока.
В.11 Испытания покрытий
Испытания покрытий проводятся с целью подтвердить способность покрытий защитить от коррозии металлические части тележки в течение гарантийного срока.
В.11.1 Испытания лакокрасочного покрытия
Оценку внешнего вида лакокрасочного покрытия проводят визуальным методом по ГОСТ 9.032, ГОСТ 9.302.
Адгезия - метод испытаний по ГОСТ 15140, ГОСТ 31149.
Прочность при ударе (прямой/обратный) - метод испытаний по ГОСТ 4765, ГОСТ Р 53007.
Толщина покрытия - метод испытаний по ГОСТ 31993.
Твердость по карандашу - метод испытаний по ГОСТ Р 54586.
Примечание - Твердость по карандашу - метод испытаний по [5].
В.11.2 Испытания цинкового (гальванического) покрытия
Оценку внешнего вида цинкового покрытия проводят визуальным методом по ГОСТ 9.301.
Испытания на стойкость к воздействию солевого тумана по ГОСТ 9.401.
Изделие должно выдерживать:
-180 до красной коррозии для рамы (корзина, основание и откидная полка).
- 48 до красной коррозии для заменяемых деталей тележки (колеса, крепеж и т.д.).
Приложение Г
(обязательное)
Приложение устанавливает дополнительные требования к конструкции, рабочим и техническим характеристикам тележек, предназначенных для использования на пассажирских конвейерах изготовленных в соответствии с ГОСТ 33966.1 и ГОСТ Р 55968.
Г.1 Общие требования
Тележки, используемые на пассажирских конвейерах, должны соответствовать приложению В ГОСТ 33966.1.
Максимальная допустимая масса тележки вместе с покупками на пассажирском конвейере - 160 кг.
Г.2 Методика испытания и критерии приемки на устойчивость
Тележки не должны опрокидываться при столкновении с гребенкой при съезде с пассажирского конвейера.
Г.2.1 Испытание на устойчивость
Поворотные колесные опоры должны быть установлены в наименее устойчивом положении.
Загрузка тележки в соответствии с разделом В.3.
Испытательное устройство должно состоять из наклоняемой платформы с расположенной параллельно оси наклона планкой высотой (20 ± 1) мм, выступающей в качестве упора для колесных опор тележки.
Г.2.2 Испытание на продольную устойчивость
Наклон тележки на испытательном устройстве в направлении движения вверх и вниз должен быть увеличен до 16° включительно.
Если тележка не опрокидывается при увеличении угла наклона до 16° включительно, то она соответствует требованиям настоящего стандарта.
Г.2.3 Испытание на поперечную устойчивость
Наклон тележки на испытательном устройстве в любую сторону должен составить не менее 10° включительно.
Если тележка во время испытания не опрокидывается при угле наклона до 10° включительно, то она соответствует требованиям настоящего стандарта.
Г.2.4 Испытание на удержание тележки на пассажирском конвейере
Испытательная платформа должна быть оснащена удерживающим приспособлением - четырьмя алюминиевыми опорными планками, как показано на рисунках Г.1 и Г.2, под углом (12° ± 30').
Шероховатость поверхности 1 опорных планок Ra должна составлять от 0, 4 до 1, 6 мкм.

Рисунок Г.1 - Сечение опорной планки
Опорные планки с пазами должны быть выровнены параллельно направлению наклона.
При испытании тележка должна быть помещена на опорные планки в направлении движения вниз и наполнена грузом, соответствующим номинальной нагрузке.
Тележка под нагрузкой на платформе в указанном положении должна пробыть не менее 3 мин.
Если тележка во время испытания остается неподвижной на испытательной платформе, то она соответствует требованиям настоящего стандарта.
Г.2.5 Испытание на устойчивость при съезде с пассажирского конвейера
При испытании груз должен быть длиной (400 ± 1) мм, шириной (300 ± 1) мм и высотой (300 ± 1) мм, иметь однородную структуру и массу (24 ± 0, 5) кг и должен быть размещен в корзине тележки в наиболее неблагоприятном положении, то есть центр тяжести груза должен быть как можно ближе к передней части тележки.
Испытательное устройство должно состоять из наклоняемой платформы с расположенной параллельно оси наклона планкой высотой (20 ± 1) мм, выступающей в качестве упора для колесных опор тележки.
На испытательной платформе тележка должна быть расположена так, чтобы колесные опоры были установлены в направлении движения.
Испытание проводится путем наклона тележки с платформой в направлении движения вниз, увеличивая угол до 18° включительно.
Если тележка во время испытаний не опрокидывается при увеличении угла наклона до 18° включительно, то она соответствует требованиям настоящего стандарта.

Рисунок Г.2 - Положение тележки на испытательной платформе
Г.3 Указания по эксплуатации
Производитель должен предоставить точную информацию относительно правил эксплуатации, технического обслуживания, ремонта и утилизации в соответствии с требованиями настоящего стандарта, в т.ч. указания по обучению персонала предприятия торговли, эксплуатирующего тележки, с учетом следующего:
Г.3.1 Перед первым использованием на месте эксплуатации
Сотрудник, ответственный за эксплуатацию тележек (см. 10.2.2), должен обеспечить проведение осмотра и испытаний вместе с сотрудником, ответственным за безопасность эксплуатации пассажирского конвейера.
Осмотр и испытания включают в себя:
- общий визуальный осмотр пассажирского конвейера на предмет сломанных зубьев гребенки и загрязнений;
- общий визуальный осмотр тележек;
- стабильность фиксации (стопорения) нагруженных и пустых тележек на пассажирском конвейере;
- стабильность фиксации (стопорения) нагруженных и пустых тележек на пассажирском конвейере при аварийной остановке;
- подтверждение способности загруженных и пустых тележек свободно заезжать на конвейер и съезжать с него.
Г.3.2 Периодическое техническое обслуживание
Периодическое техническое обслуживание в соответствии с настоящим стандартом для тележек, используемых на пассажирских конвейерах, должно быть дополнено осмотрами и испытаниями в соответствии с Г.3.1 как минимум один раз в шесть месяцев и включать проверку состояния роликов всех тележек.
Испытания в соответствии с Г.3.1 должны быть проведены повторно после существенных изменений. Существенные изменения:
- для пассажирских конвейеров в соответствии с ГОСТ 33966.1;
- для тележек в соответствии с эксплуатационной документацией производителя.
Примечание - Замена деталей на детали такой же конструкции, предусмотренные производителем в рамках технического обслуживания, не является существенным изменением.
Г.3.3 Документирование результатов периодического технического обслуживания
Взаимосвязь между пассажирскими конвейерами и тележками должна документироваться с первого дня использования тележек.
Журнал должен включать следующее:
- запись о дате первого использования тележек и данные, особенно касающиеся допустимой общей нагрузки, значительных изменений и замены запасных деталей;
- дату составленных отчетов об испытаниях, осмотрах, техобслуживании и проверке, вместе с замечаниями, а также отчеты о каждой аварии.
Предприятие торговли должно определить сотрудника, ответственного за ведение журнала.
Журнал должен быть предоставлен подразделению предприятия торговли, проводящему техническое обслуживание пассажирского конвейера, и сотруднику, отвечающему за безопасность.
Г.4 Таблички с обозначениями, инструкции по эксплуатации
Предприятие-изготовитель должно предоставить покупателю письменные указания по прикреплению видимых и несъемных знаков рядом со входом на конвейер.
Эти указания включают, по крайней мере, следующие положения:
- белая пиктограмма на зеленом фоне, представленная в стандарте на знаки безопасности [6], в соответствии с рисунком Г.3, минимальный размер которой 100 х 100 мм, должна быть прикреплена рядом со входом на пассажирский конвейер и сопровождаться надписью: "Не отпускайте ручку тележки";
- максимальная допустимая масса груза.
Инструкции должны быть написаны легко читаемыми буквами на языке региона, в котором тележки будут эксплуатироваться.
Непосредственно на тележках должны приводиться дополнительные указания доступным для понимания пользователя способом:
- максимальная допустимая масса груза;
- пиктограмма в соответствии с рисунком Г.3, указанная, как правило, на рукоятке тележек.

Рисунок Г.3 - Пиктограмма
Библиография
|
[1] |
Каталог цветов RAL | |
|
[2] |
ЕН 12527 |
Колеса и ролики для грузовых тележек. Методы испытаний и аппаратура (Castors and wheels - Test methods and apparatus) |
|
[3] |
ЕН 12530 |
Колеса и ролики. Ролики для оборудования с ручным управлением (Castors and wheels - Castors and wheels for manually propelled institutional applications) |
|
[4] |
ЕН 12532 |
Колеса и ролики. Колеса и ролики для тележек, движущихся со скоростью до 1, 1 м/с (4 км/час) (Castors and wheels - Castors and wheels for applications up to 1, 1 m/s (4 km/h) |
|
[5] |
АСТМ Д3363-05(2011) |
Стандартный метод испытаний для определения твердости пленки по карандашной шкале (Standard Test Method for Film Hardness by Pencil Test) |
|
[6] |
ИСО 3864-1:2011 |
Символы графические. Сигнальные цвета и знаки безопасности. Часть 1. Принципы проектирования знаков и сигнальной разметки (Graphic symbols. Safety colours and safety signs. Part 1: Design principles for safety signs and safety markings) |


