ГОСТ Р 58227-2018 (ИСО 602:2015) ТОПЛИВО ТВЕРДОЕ МИНЕРАЛЬНОЕ. МЕТОД ОПРЕДЕЛЕНИЯ МИНЕРАЛЬНОГО ВЕЩЕСТВА
Solid mineral fuel. Method for determination of mineral matter
ОКС 75.160.10
Предисловие
1 Подготовлен Федеральным государственным унитарным предприятием "Всероссийский научно-исследовательский институт стандартизации материалов и технологий" (ФГУП "ВНИИ СМТ") на основе собственного перевода на русский язык англоязычной версии стандарта, указанного в пункте 4
2 Внесен Техническим комитетом по стандартизации ТК 179 "Твердое минеральное топливо"
3 Утвержден и введен в действие Приказом Федерального агентства по техническому регулированию и метрологии от 18 сентября 2018 г. N 607-ст
4 Настоящий стандарт является модифицированным по отношению к международному стандарту ИСО 602:2015 "Уголь. Определение минерального вещества" (ISO 602:2015 "Coal - Determination of mineral matter", MOD) путем изменения его структуры для приведения в соответствие с правилами, установленными в ГОСТ 1.5-2001 (подразделы 4.2 и 4.3); путем изменения содержания раздела 9, который выделен вертикальной линией, расположенной на полях напротив соответствующего текста; путем включения в текст стандарта дополнительных слов, фраз, показателей, ссылок, а также путем исключения дополнительного элемента примененного международного стандарта "Библиография" в связи с нецелесообразностью его применения.
При этом оригинальный текст измененного структурного элемента примененного международного стандарта и объяснение причин внесения технических отклонений приведены в дополнительном приложении ДА. Оригинальный текст невключенного элемента примененного международного стандарта приведен в дополнительном приложении ДБ. Потребности национальной экономики и/или особенности межгосударственной стандартизации учтены в дополнительном разделе 3, который выделен путем заключения текста в рамки, а информация с объяснением причин включения этого раздела приведена после текста раздела в виде примечания. Дополнительные слова, фразы, показатели, ссылки, включенные в текст настоящего стандарта для учета потребностей национальной экономики и/или особенностей межгосударственной стандартизации, выделены курсивом.
Международный стандарт ИСО 602:2015 разработан Техническим комитетом ISO/TC 27 "Твердые минеральные топлива", подкомитетом SC 5 "Методы анализа".
Наименование настоящего стандарта изменено относительно наименования указанного международного стандарта для приведения в соответствие с ГОСТ Р 1.5-2012 (пункт 3.5).
Сопоставление структуры настоящего стандарта со структурой примененного в нем международного стандарта приведено в дополнительном приложении ДВ
5 Введен впервые
Настоящий стандарт распространяется на все виды ископаемых углей (бурые и каменные угли, антрациты), включая лигниты, и устанавливает метод определения в углях массовой доли минерального вещества (минеральной массы).
В настоящем стандарте использованы нормативные ссылки на следующие стандарты:
ГОСТ 1770 (ИСО 1042-83, ИСО 4788-80) Посуда мерная лабораторная стеклянная. Цилиндры, мензурки, колбы, пробирки. Общие технические условия
ГОСТ 3118 Реактивы. Кислота соляная. Технические условия
ГОСТ 6709 Вода дистиллированная. Технические условия
ГОСТ 9326 (ИСО 587-97) Топливо твердое минеральное. Методы определения хлора
ГОСТ 10484 Реактивы. Кислота фтористоводородная. Технические условия
ГОСТ 10742 Угли бурые, каменные, антрацит, горючие сланцы и угольные брикеты. Методы отбора и подготовки проб для лабораторных испытаний
ГОСТ 17070 Угли. Термины и определения
ГОСТ 27313-2015 Топливо твердое минеральное. Обозначение показателей качества и формулы пересчета результатов анализа на различные состояния топлива
ГОСТ 30404 (ISO 157:1996) Топливо твердое минеральное. Определение форм серы
ГОСТ 33503 (ISO 11722:2013, ISO 5068-2:2007) Топливо твердое минеральное. Методы определения влаги в аналитической пробе
ГОСТ Р 55661 (ИСО 1171:2010) Топливо твердое минеральное. Определение зольности
Примечание - При пользовании настоящим стандартом целесообразно проверить действие ссылочных стандартов в информационной системе общего пользования - на официальном сайте Федерального агентства по техническому регулированию и метрологии в сети Интернет или по ежегодному информационному указателю "Национальные стандарты", который опубликован по состоянию на 1 января текущего года, и по выпускам ежемесячного информационного указателя "Национальные стандарты" за текущий год. Если заменен ссылочный стандарт, на который дана недатированная ссылка, то рекомендуется использовать действующую версию этого документа с учетом всех внесенных в данную версию изменений. Если заменен ссылочный стандарт, на который дана датированная ссылка, то рекомендуется использовать версию этого стандарта с указанным выше годом утверждения (принятия). Если после утверждения настоящего стандарта в ссылочный стандарт, на который дана датированная ссылка, внесено изменение, затрагивающее положение, на которое дана ссылка, то это положение рекомендуется применять без учета данного изменения. Если ссылочный стандарт отменен без замены, то положение, в котором дана ссылка на него, рекомендуется применять в части, не затрагивающей эту ссылку.
|
В настоящем стандарте применены термины по ГОСТ 17070, а также обозначения показателей и индексов к ним по ГОСТ 27313. |
Примечание - Раздел включен для учета требований ГОСТ Р 1.5-2012 (подраздел 3.8).
Метод определения количества минерального вещества в пробе угля состоит из двух этапов. На первом этапе навеску пробы частично деминерализуют путем последовательной обработки соляной и фтористоводородной кислотами. При этом органическая масса угольного вещества остается неизменной. Массу растворившихся при этом минеральных веществ определяют по разности масс исходной и деминерализованной навески пробы с учетом поправки на поглощение хлористого водорода.
На втором этапе оставшиеся в частично деминерализованной навеске пробы минеральные вещества определяют путем озоления. В массу зольного остатка вносят поправку, обусловленную превращением пирита в оксид железа при озолении.
Для определения необходимых поправок и проведения расчетов в исходной пробе определяют массовую долю влаги и зольность, в частично деминерализованной пробе - массовые доли влаги, хлора, пиритного железа и зольность.
При анализе используют только реактивы, степень чистоты которых не ниже ч. д. а, и только дистиллированную воду по ГОСТ 6709 или воду эквивалентной чистоты.
5.1 Кислота соляная (HCl) концентрированная, плотностью ρ20 = 1, 18 г/см3 по ГОСТ 3118.
5.2 Кислота соляная, раствор концентрацией c(HCl) = 5 моль/дм3: 425 см3 соляной кислоты (5.1) помещают в мерную колбу вместимостью 1 дм3 и приливают дистиллированную воду при периодическом перемешивании раствора. После охлаждения раствора до комнатной температуры добавляют дистиллированную воду до метки и тщательно перемешивают.
5.3 Кислота фтористоводородная (HF) концентрированная, плотностью ρ20 = 1, 13 г/см3 по ГОСТ 10484.
Предупреждение - Фтористоводородная кислота очень токсична при попадании внутрь, при вдыхании паров и при контакте с кожей. Вызывает сильные ожоги. Герметично закрытый контейнер с фтористоводородной кислотой хранят в хорошо проветриваемом помещении. При попадании кислоты в глаза следует немедленно промыть глаза большим количеством воды и обратиться за медицинской помощью. Работая с фтористоводородной кислотой, используют защитную одежду и перчатки. При несчастном случае или ощущении недомогания следует немедленно обратиться за медицинской помощью (если это возможно, следует показать врачу этикетку вещества, с которым работали).
5.4 Фильтр беззольный бумажный с малым размером пор (синяя лента или плотнее).
Аппаратура, контактирующая с фтористоводородной кислотой (6.1-6.6), должна быть устойчива к этой среде. Подходящим материалом для работы с фтористоводородной кислотой является поливинилхлорид (ПВХ).
6.1 Стакан химический вместимостью 200 см3 с крышкой.
6.2 Чехол для термометра: трубка, запаянная с одного конца, в которую вставляют термометр.
6.3 Емкость мерная для работы с фтористоводородной кислотой.
6.4 Палочка для перемешивания.
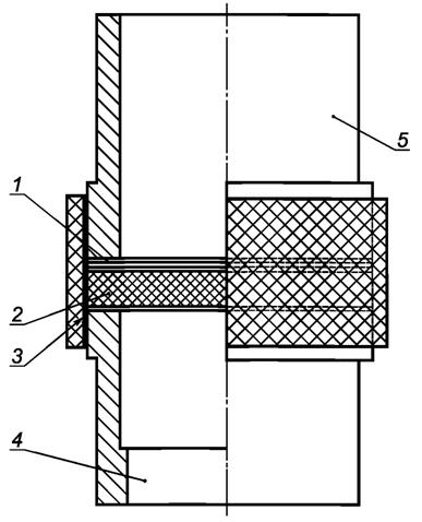
6.5 Устройство для фильтрования с пластиной из спекшегося алюминия (см. рисунок 1).
6.6 Колба для фильтрования под вакуумом.
6.7 Промывалка.
6.8 Весы аналитические с ценой деления 0, 1 мг.
6.9 Шкаф сушильный вакуумный, обеспечивающий в сушильной камере температуру 50 °С и остаточное давление 3, 5 кПа (10 мбар).
6.10 Термометр для измерения температуры в диапазоне от 55 °С до 60 °С.
6.11 Колба мерная вместимостью 1 дм3 и цилиндры мерные различной вместимости по ГОСТ 1770.
6.12 Насос вакуумный или водоструйный.

1 - бумажный фильтр, присоединяемый к верхнему цилиндру с помощью клейкого вещества; 2 - фильтрующая пластина из спекшегося алюминия; 3 - резиновое уплотнительное кольцо; 4 - нижний цилиндр из кислотоустойчивого материала (например, ПВХ); 5 - верхний цилиндр из кислотоустойчивого материала (например, ПВХ)
Рисунок 1 - Устройство для фильтрования (левая половина показана в разрезе)
Отбор и подготовку пробы проводят по ГОСТ 10742. Для определения минеральной массы используют аналитическую пробу угля, измельченную до прохождения через сито с размером отверстий 200 мкм. Перед началом испытания пробу доводят до воздушно-сухого состояния. С этой целью ее раскладывают тонким слоем на минимальное время, необходимое для достижения равновесия между влажностью пробы и влажностью окружающей атмосферы.
Перед отбором навесок для испытания воздушно-сухую пробу тщательно перемешивают не менее 1 мин, преимущественно механическим способом.
Одновременно с определением минерального вещества в пробе определяют массовую долю влаги по ГОСТ 33503 и зольность по ГОСТ Р 55661.
Примечание - Альтернативно перед началом испытания проба угля может быть высушена при температуре от 105 °С до 110 °С.
8.1 Частичная деминерализация навески пробы путем обработки кислотами
8.1.1 В стакан (6.1) помещают навеску пробы приблизительно 6 г, взвешенную на весах с ценой деления 0, 1 мг (6.8), и добавляют 40 см3 раствора соляной кислоты (5.2). Погружают в раствор палочку для перемешивания (6.4) и трубку (6.2) с термометром и накрывают стакан крышкой.
Примечание - При анализе реакционно способных углей, включая бурые угли и лигниты, в стакан сначала помещают кислоту, а затем пробу, чтобы избежать локальных перегревов.
Переносят стакан в водяную баню, которая поддерживает температуру содержимого стакана от 55 °С до 60 °С. Выдерживают стакан в водяной бане в течение 45 мин, перемешивая содержимое через каждые 5 мин, после чего вынимают стакан из бани и дают угольной суспензии осесть в течение 10 мин.
Осветленный раствор сливают на фильтр устройства для фильтрования (6.5), отсасывая жидкость вакуумным или водоструйным насосом. Уголь на фильтре промывают водой и после отсасывания воды переносят обратно в стакан, смывая его с фильтра водой из промывалки в количестве не более 5 см3. Эту операцию следует проводить осторожно, чтобы избежать брызг и, как следствие, потери угля.
Примечание - Первичная обработка раствором соляной кислоты проб с массовой долей диоксида углерода менее 0, 5 % не обязательна.
8.1.2 В стакан с пробой приливают 40 см3 фтористоводородной кислоты (5.3), переносят его в водяную баню и повторяют процедуры нагрева и фильтрования по 8.1.1.
8.1.3 Добавляют в стакан 50 см3 соляной кислоты (5.1), переносят его в водяную баню и нагревают, как описано выше.
8.1.4 Осветленный раствор сливают на фильтр устройства для фильтрования. Уголь в стакане трижды промывают водой, давая каждый раз угольной суспензии отстояться и сливая на фильтр осветленный раствор. После этого весь уголь переносят на фильтр и 20 раз промывают порциями горячей воды по 25 см3. Прилипший к стенкам стакана уголь удаляют с помощью палочки с резиновым наконечником и переносят на фильтр. Отсасывание воды из угля на фильтре продолжают в течение 5-10 мин.
8.1.5 Демонтируют устройство для фильтрования, отсоединяя верхний цилиндр с приклеенным к нему фильтром. Разрыхляют влажный уголь на фильтре и сушат цилиндр с фильтром и углем в вакуумном сушильном шкафу (6.9) при температуре 50 °С и остаточном давлении 3, 5 кПа в течение 1, 5 ч. Извлекают фильтр с углем из сушильного шкафа, охлаждают на воздухе в течение приблизительно 1 ч до достижения равновесия и взвешивают вместе с верхним цилиндром устройства для фильтрования.
8.1.6 Уголь снимают с фильтра настолько тщательно, насколько это возможно, и переносят в стеклянную, хорошо закрывающуюся емкость. Бумажный фильтр тщательно очищают от остатков угля и вновь взвешивают вместе с верхней частью устройства для фильтрования, которую предварительно протирают чистой сухой фильтровальной бумагой или тканью. Массу частично деминерализованного угля вычисляют как разность результатов взвешивания по 8.1.5, 8.1.6.
8.2 Определение зольности частично деминерализованной пробы и других показателей, необходимых для обработки результатов
Частично деминерализованный уголь тщательно перемешивают и определяют в нем зольность по ГОСТ Р 55661, массовую долю влаги по ГОСТ 33503 и хлора по ГОСТ 9326, а также железа по ГОСТ 30404.
Массовую долю влаги исходной и частично деминерализованной пробы используют для пересчета показателей на сухое состояние топлива. По массовой доле хлора в частично деминерализованной пробе вычисляют эквивалентное количество хлористого водорода, поглощенное пробой. Массовую долю железа в частично деминерализованной пробе используют для вычисления эквивалентного количества пирита (FeS2) и эквивалентного этому пириту количества оксида железа (Fe2O3) в золе.
Все характеристики, используемые в расчетных формулах, должны быть вычислены на сухое состояние топлива. Пересчет зольности, массовой доли хлора и железа на сухое состояние топлива проводят по ГОСТ 27313-2015 (таблица 2).
Массовую долю минерального вещества (минеральной массы) на сухое состояние топлива MMd, %, вычисляют по формуле
,
(1)
где m1 - масса навески пробы, отобранной для анализа, г, пересчитанная на сухое состояние топлива по формуле
,
(2)
где m0 - масса навески исходной воздушно-сухой пробы, отобранной для анализа (см. 8.1.1), г;
Wa - массовая доля влаги в исходной воздушно-сухой пробе, %;
m2 - масса пробы после обработки кислотами (частично деминерализованной пробы), г, пересчитанная на сухое состояние по формуле
,
(3)
где mдм - масса частично деминерализованной пробы, рассчитываемая по 8.1.6, г;
Wdдм - массовая доля влаги в частично деминерализованной пробе, %;
m3 - масса хлористого водорода (HCl) в частично деминерализованной сухой пробе, г, рассчитываемая по формуле
,
(4)
где 1, 028 - коэффициент пересчета массы хлора на массу хлористого водорода;
Cldдм - массовая доля хлора в частично деминерализованной пробе, пересчитанная на сухое состояние, %;
m4 - масса пирита (FeS2) в частично деминерализованной сухой пробе, г, рассчитываемая по формуле
,
(5)
где 2, 148 - коэффициент пересчета массы железа на массу пирита;
Fedдм - массовая доля пиритного железа в частично деминерализованной пробе, пересчитанная на сухое состояние, %;
m5 - масса золы частично деминерализованной сухой пробы, г, рассчитываемая по формуле
,
(6)
где Adдм - зольность частично деминерализованной пробы, пересчитанная на сухое состояние, %;
m6 - масса оксида железа (Fe2O3) в золе частично деминерализованной пробы, эквивалентная массе пиритного железа в частично деминерализованной пробе, г, рассчитываемая по формуле
,
(7)
где 1, 43 - коэффициент пересчета массы железа на массу оксида железа;
Fedдм - см. пояснение к формуле (5).
Фактор минеральной массы FMM вычисляют по формуле
,
(8)
где Ad - зольность исходной пробы, пересчитанная на сухое состояние, %.
Пример вычислений приведен в приложении А.
Окончательный результат, представляющий собой среднеарифметическое значение результатов двух определений, округляют до десятых долей процента.
Примечания
1 Для получения значения массовой доли минеральной массы расчетным путем, исходя из зольности пробы, используют формулу по ГОСТ 27313.
2 Коэффициент 1, 1 в формуле (1) позволяет в некоторой степени учесть гидратную влагу, связанную с алюмосиликатами в частично деминерализованной пробе. В большинстве случаев эта поправка очень мала, и можно использовать коэффициент, равный единице.
Результаты параллельных определений, проведенных не одновременно в одной лаборатории одним оператором с использованием одной и той же аппаратуры на навесках одной и той же аналитической пробы, не должны отличаться более чем на значение, указанное в таблице 1.
Значение предела воспроизводимости не установлено из-за недостаточности данных о результатах определения в разных лабораториях.
|
Максимально допускаемые расхождения результатов, полученных | |
|
в одной лаборатории (повторяемость) |
в разных лабораториях (воспроизводимость) |
|
0, 4 % абс. |
(См. 10.2) |
Протокол испытаний должен содержать:
a) идентификацию пробы;
b) ссылку на метод определения;
c) результаты определения с указанием состояния пробы, на которое они выражены;
d) особенности, замеченные в ходе анализа;
e) операции, не включенные в настоящий стандарт или считающиеся необязательными.
Приложение А
(обязательное)
Следующий пример иллюстрирует способ обработки результатов. Все параметры представлены на сухое состояние топлива.
|
% масс. |
г | |||
|
1 |
Масса навески исходной пробы |
= |
6, 836 |
(m1) |
|
2 |
Зольность исходной пробы |
= 52, 8 |
(Ad) | |
|
3 |
Масса пробы после обработки кислотами |
= |
3, 205 |
(m2) |
|
4 |
Зольность пробы после обработки кислотами |
= 6, 03 |
(Adдм) | |
|
5 |
Массовая доля соляной кислоты в пробе после обработки кислотами |
= 1, 06 |
(1, 028 Cldдм) | |
|
6 |
Массовая доля железа в пробе после обработки кислотами |
= 2, 94 |
(Fedдм) | |
|
7 |
Массовая доля оксида железа в золе угля, обработанного кислотами |
= 4, 2 |
(1, 43 Fedдм) | |
|
8 |
Потеря массы пробы при частичной деминерализации (обработке кислотами) |
= |
3, 631 |
(m1 - m2) |
|
g |
Масса соляной кислоты, абсорбированной углем (1, 028 Cldдм m2/100) |
= |
0, 034 |
(m3) |
|
10 |
Масса пирита в угле, обработанном кислотами (2, 148 Fedдм m2/100) |
= |
0, 202 |
(m4) |
|
11 |
Масса золы пробы после обработки кислотами за вычетом оксида железа [1, 1m2(Adдм -1, 43Fedдм)/100] |
= |
0, 065 |
[1, 1 (m1 - m6)] |
|
12 |
Общая масса минерального вещества [m1 - m2 + m3 + m4 + 1, 1 (m5 - m6)] |
= |
3, 932 | |
|
13 |
Массовая доля минерального вещества (минеральной массы) <[m1 - m2 + m3 + m4 + 1, 1 (m5 - m6)]100/m1> |
= 57, 5 |
(MMd) | |
|
14 |
Фактор минеральной массы (MMd/Ad) |
= 1, 09 |
(FMM) |
Приложение ДА
(справочное)
[Для удобства пользования настоящим стандартом в раздел "Обработка результатов" внесены дополнительные формулы с соответствующими пояснениями для расчета всех показателей, входящих в основную формулу (1)].
8 Обработка результатов
Все характеристики, используемые в расчетных формулах, должны быть вычислены на сухое состояние топлива. Массовую долю минеральной массы MM, выраженную в процентах, вычисляют по формуле (1) (см. примечания)
,
(1)
где m1 - масса навески пробы, взятая для анализа, г;
m2 - масса пробы после обработки кислотами (частично деминерализованной пробы), г;
m3 - масса пирита в частично деминерализованной пробе, г;
m4 - масса хлористого водорода в частично деминерализованной пробе, г;
m5 - масса золы за вычетом оксида железа, эквивалентного количеству пирита в частично деминерализованной пробе, г.
Фактор минеральной массы FMM вычисляют по формуле (2)
,
(2)
где А - зольность исходной пробы, %.
Пример вычислений приведен в приложении А.
Окончательный результат (предпочтительно среднеарифметическое значение результатов двух определений, см. раздел 9) записывают с точностью до 0, 1 %.
Примечание 1 Для получения значения массовой доли минеральной массы расчетным путем, исходя из зольности пробы, используют формулу по ISO 1170.
Примечание 2 Коэффициент 1, 1 позволяет в некоторой степени учесть гидратную влагу, связанную с алюмосиликатами в частично деминерализованной пробе. В большинстве случаев эта поправка очень мала, и ее можно не принимать во внимание.
Приложение ДБ
(справочное)
Приложение ДВ
(справочное)
Таблица ДВ.1
|
Структура настоящего стандарта |
Структура международного стандарта ISO 602:2015 |
|
3 Термины и обозначения (-) |
3 Сущность метода |
|
4 Сущность метода (3) |
4 Реактивы |
|
5 Реактивы и материалы (4) |
5 Аппаратура |
|
6 Аппаратура (5) |
6 Подготовка пробы |
|
7 Подготовка пробы (6) |
7 Проведение испытания |
|
8 Проведение испытания (7) |
8 Обработка результатов |
|
9 Обработка результатов (8) |
9 Прецизионность метода |
|
10 Прецизионность метода (9) |
10 Протокол испытаний |
|
11 Протокол испытаний (10) |
Приложение А (обязательное) Пример расчетов |
|
Приложение А Пример расчетов |
Библиография |
|
Приложение ДА Оригинальный текст модифицированных структурных элементов примененного международного стандарта |
- |
|
Приложение ДБ Оригинальный текст невключенных структурных элементов примененного международного стандарта |
- |
|
Приложение ДВ Сопоставление структуры настоящего стандарта со структурой примененного в нем международного стандарта |
- |
|
Примечания 1 Сопоставление структуры стандартов приведено начиная с раздела 3, т.к. предыдущие разделы (за исключением предисловия) идентичны. 2 После заголовков разделов (подразделов) настоящего стандарта в скобках приведены номера аналогичных им разделов (подразделов, пунктов) международного стандарта. | |
Библиография
|
[1] |
ИСО 157 |
Уголь. Определение форм серы |
|
ISO 157 |
Coal - Determination of forms of sulfur | |
|
[2] |
ИСО 587 |
Твердые минеральные топлива. Определение хлора с использованием смеси Эшка |
|
ISO 587 |
Solid mineral fuels - Determination of chlorine using Eschka mixture | |
|
[3] |
ИСО 1170 |
Уголь и кокс. Пересчет результатов анализа на различные состояния топлива |
|
ISO 1170 |
Coal and coke - Calculation of analyses to different bases | |
|
[4] |
ИСО 1171 |
Твердые минеральные топлива. Определение зольности |
|
ISO 1171 |
Solid mineral fuels - Determination of ash | |
|
[5] |
ИСО 11722 |
Твердые минеральные топлива. Уголь каменный. Определение влаги в аналитической пробе высушиванием в токе азота |
|
ISO 11722 |
Solid mineral fuels - Hard coal - Determination of moisture in the general analysis test sample by drying in nitrogen |


