ГОСТ EN 71-1-2014 ИГРУШКИ. ТРЕБОВАНИЯ БЕЗОПАСНОСТИ. Часть 1. МЕХАНИЧЕСКИЕ И ФИЗИЧЕСКИЕ СВОЙСТВА
Toys. Safety requirements. Part 1. Mechanical and physical properties
Предисловие
Цели, основные принципы и основной порядок проведения работ по межгосударственной стандартизации установлены в ГОСТ 1.0-2015 "Межгосударственная система стандартизации. Основные положения" и ГОСТ 1.2-2015 "Межгосударственная система стандартизации. Стандарты межгосударственные, правила и рекомендации по межгосударственной стандартизации. Правила разработки, принятия, обновления и отмены"
Сведения о стандарте
1 Подготовлен научно-производственным республиканским унитарным предприятием "Белорусский государственный институт стандартизации и сертификации" (БелГИСС)
2 Внесен Государственным комитетом по стандартизации Республики Беларусь
3 Принят Межгосударственным советом по стандартизации, метрологии и сертификации (протокол от 5 декабря 2014 г. N 46)
За принятие проголосовали:
|
Краткое наименование страны по МК (ИСО 3166) 004-97 |
Код страны по МК (ИСО 3166) 004-97 |
Сокращенное наименование национального органа по стандартизации |
|
Беларусь |
BY |
Госстандарт Республики Беларусь |
|
Казахстан |
KZ |
Госстандарт Республики Казахстан |
|
Киргизия |
KG |
Кыргызстандарт |
|
Молдова |
MD |
Молдова-Стандарт |
|
Россия |
RU |
Росстандарт |
|
Таджикистан |
TJ |
Таджикстандарт |
|
Узбекистан |
UZ |
Узстандарт |
4 Приказом Федерального агентства по техническому регулированию и метрологии от 22 сентября 2016 г. N 1198-ст межгосударственный стандарт ГОСТ EN 71-1-2014 введен в действие в качестве национального стандарта Российской Федерации с 1 июля 2017 г.
5 Настоящий стандарт идентичен европейскому стандарту EN 71-1:2011+А3:2014 "Безопасность игрушек. Часть 1. Механические и физические свойства" ("Safety of toys - Part 1: Mechanical and physical properties", IDT).
Европейский стандарт разработан Техническим комитетом по стандартизации CEN/TC 52 "Безопасность игрушек" Европейского комитета по стандартизации (CEN).
Европейский стандарт, на основе которого подготовлен настоящий стандарт, реализует существенные требования Директивы ЕС 2009/48/ЕС, приведенные в приложении ZA.
Официальные экземпляры европейского стандарта, на основе которого подготовлен настоящий межгосударственный стандарт, и стандартов, на которые даны ссылки, имеются в Федеральном агентстве по техническому регулированию и метрологии.
Наименование настоящего стандарта изменено относительно наименования европейского стандарта в связи с особенностями построения межгосударственной системы стандартизации.
В стандарт внесены следующие редакционные изменения:
- исключено примечание раздела 7, содержащее справочную информацию по СЕ-маркировке, которая не является исчерпывающей (подробную информацию см. в Директиве 2009/48/ЕС [13]);
- исключено приложение В "Существенные технические отличия настоящего европейского стандарта от предыдущей редакции", все отличия учтены.
В разделе "Нормативные ссылки" и тексте стандарта ссылки на европейские и международные стандарты актуализированы.
Сведения о соответствии ссылочных европейских стандартов межгосударственным стандартам приведены в дополнительном приложении ДА
6 Введен впервые
Введение
Настоящий стандарт разработан с целью уменьшения скрытых опасностей, при этом он не распространяется на специфические опасности некоторых игрушек (например, отсутствие равновесия мотороллера, острие иглы, находящейся в ящичке для шитья), которые дети или присматривающие за ними взрослые могут распознать. Игрушки конкретного вида не должны представлять опасность для детей, для которых они предназначены (в Директиве 2009/48/ЕС формулировка "предназначено для использования" означает, что лицо(а), присматривающее(ие) за детьми, должно быть ознакомлено с информацией о работе, размерах и характеристиках игрушки, предназначенной для определенной возрастной группы). Требованиями настоящего стандарта предусмотрено, что при пользовании конкретной игрушкой дети не могут проявить такую же осмотрительность, как взрослые.
Свойства, конструкция, способ, метод изготовления и характеристики игрушек должны быть ориентированы на конкретный возраст и уровень развития ребенка.
Несчастные случаи часто имеют место тогда, когда игрушкой пользуется ребенок, для которого эта игрушка не предназначена или она используется не по назначению. Выбор игрушек или игр следует осуществлять с большой осмотрительностью и с учетом умственного и физического развития ребенка.
Требования настоящего стандарта не снимают с родителей и воспитателей ответственности за безопасность детей во время игры.
EN 71 состоит из следующих частей, имеющих групповой заголовок "Безопасность игрушек":
- часть 1: Механические и физические свойства;
- часть 2: Воспламеняемость;
- часть 3: Миграция элементов;
- часть 4: Наборы для химических опытов и аналогичных занятий;
- часть 5 Игровые комплекты (наборы), включающие химические вещества и не относящиеся к наборам для проведения химических опытов;
- часть 7: Краски для рисования пальцем. Требования и методы испытаний;
- часть 8: Игрушки для активного отдыха для домашнего использования;
- часть 9: Органические химические соединения. Требования;
- часть 10: Органические химические соединения. Подготовка проб и экстракция;
- часть 11: Органические химические соединения. Методы анализа;
- часть 12: N-нитрозамины и вещества, преобразуемые в N-нитрозамины.
Определения терминов, выделенных курсивом, приведены в разделе 3. Дополнительная информация о значении и применении данных терминов приведена в приложении А.
Настоящий стандарт распространяется на игрушки, изготовленные из различных материалов.
Настоящий стандарт распространяется на игрушки, которые сконструированы или изготовлены для игр детей в возрасте до 14 лет. Стандарт распространяется на вновь разрабатываемые игрушки с учетом их назначения, сроков службы (эксплуатации) и предполагаемого поведения ребенка.
Настоящий стандарт устанавливает особые требования к игрушкам для детей до 36 мес, в том числе и для "совсем маленьких детей", которые еще не могут самостоятельно сидеть.
В соответствии с Директивой 2009/48/ЕС термин "предназначена для использования" означает то, что лицо, присматривающее за ребенком, должно быть ознакомлено с информацией об игровой функции, размерах и характеристиках игрушки, предназначенной для определенной возрастной группы. В соответствии с настоящим стандартом, например мягконабивные игрушки, простой формы, позволяющие ребенку их держать и прижимать к себе, предназначены для детей в возрасте до 36 мес.
Примечание - Информация, относящаяся к возрастным категориям относительно использования игрушек для детей в возрасте до 36 мес и больше, содержится в Отчете CEN CR 14379, в [10], относящихся к определению возрастных категорий, рекомендациях CEN/CENELEC N 11 и рекомендациях европейской комиссии.
Настоящий стандарт также устанавливает требования к упаковке, предупредительной информации и маркировке, наносимой на игрушки и упаковку.
Требования настоящего стандарта не распространяются на музыкальные инструменты, спортивное оборудование и аналогичные изделия, за исключением игрушек, которые являются моделями этих изделий.
Настоящий стандарт не распространяется на следующие игрушки:
- оборудование для детских игровых площадок;
- игровые автоматы (монетные или нет);
- игрушечные транспортные средства, с двигателями внутреннего сгорания (см. А.2);
- игрушечные машины с паровыми двигателями;
- катапульты и устройства для метания.
Летающие игрушки, запускаемые ребенком с помощью резинового шнура (например ракеты и самолеты), рассматриваются как катапульты (см. пятое перечисление).
Настоящим стандартом не охвачены требования к электрической безопасности игрушек, они устанавливаются в IEC 62115.
Кроме того, настоящий стандарт не распространяется на изделия, не относящиеся к игрушкам:
- декоративные изделия, предназначенные для праздников и торжественных мероприятий;
- масштабные модели для коллекционирования, при условии, если на изделии или на его упаковку нанесена информация о том, что оно предназначено для использования лицами старше 14 лет. Например:
- масштабные модели для коллекционирования (см. А.2);
- наборы для сборки масштабных моделей;
- фольклорные и декоративные игрушки, а также аналогичные игрушки;
- исторические репродукции;
- точные копии огнестрельного оружия;
- спортивный инвентарь, включая роликовые коньки, роллеры, скейтборды, предназначенные для занятий спортом детей с массой более 20 кг;
- велосипеды с максимальной высотой сиденья более 435 мм (при измерении по вертикали от уровня земли до верхней кромки поверхности седла; при этом седло должно находиться в горизонтальном положении, а стойка сиденья в максимально выдвинутом положении);
- самокаты и другие средства передвижения, предназначенные для спорта или для движения по дорогам общего пользования и тротуарам;
- транспортные средства с электрическим приводом, предназначенные для движения по дорогам общего пользования и тротуарам;
- подводный инвентарь, средства обучения детей плаванию, например плавательные сиденья и надувные средства;
- головоломки, содержащие более 500 деталей;
- ружья и пистолеты, использующие сжатый газ, за исключением водяных ружей и пистолетов;
- луки для стрельбы, длина которых превышает 120 см;
- фейерверки, включая пистоны, которые не предназначены для игрушек;
- изделия и игры, в которых используются снаряды для метания типа дротиков с металлическими наконечниками;
- функциональные образовательные изделия, такие как электропечи, утюги или иные функциональные изделия по [12], работающие при напряжении 24 В и предназначенные для использования в учебном процессе под наблюдением взрослых;
- средства обучения, т.е. изделия, для использования в учебном процессе под наблюдением взрослых в школах и в иных образовательных целях;
- электронное оборудование, такое как персональные компьютеры и игровые приставки, используемые для доступа к интерактивному программному обеспечению и соответствующему периферийному оборудованию, если только электронное оборудование или соответствующее периферийное оборудование специально не предназначено для использования детьми в качестве специальных персональных компьютеров, клавиатуры, джойстика или рулевого колеса;
- интерактивное программное обеспечение, предназначенное для отдыха и развлечения, такое как компьютерные игры и средства записи, например CD;
- соски-пустышки;
- светильники для детей;
- трансформаторы для игрушек;
- модные аксессуары для детей, не используемые в играх (см. А.2);
- средства защиты, включая водные спасательные средства в виде нарукавников и матрасов (см. А.23); очки для плавания, солнечные очки и другие средства защиты глаз, а также шлемы для скейтборда (см. А.19).
Для применения настоящего стандарта необходимы следующие ссылочные стандарты. Для недатированных ссылок применяют последнее издание ссылочного стандарта (включая все его изменения).
EN 71-8:2011 Safety of toys - Part 8: Swings, slides and similar activity toys for indoor and outdoor family domestic use (Безопасность игрушек. Часть 8. Игрушки для активного отдыха для домашнего использования)
EN 15649-3:2009+А1:2012 Floating leisure articles for use on and in the water - Part 3: Additional specific safety requirements and test methods for Class A devices (Приспособления плавательные для отдыха на воде и в воде. Часть 3. Дополнительные специальные требования безопасности и методы испытаний устройств класса А)
EN 50332-1:2013 Sound system equipment: Headphones and earphones associated with portable audio equipment - Maximum sound pressure level measurement methodology and limit considerations - Part 1: General method for one package equipment (Оборудование акустических систем. Головные телефоны и наушники, связанные с музыкальными проигрывателями индивидуального пользования. Методика измерения уровня максимального звукового давления. Часть 1. Общий метод для комплектного оборудования)
EN 60318-4:2010 Electroacoustics - Simulators of human head and ear - Part 4: Occluded ear simulator for the measurement of earphones coupled to the ear by ear inserts (IEC 60318-4) Электроакустика. Имитаторы головы и уха человека. Часть 4. Имитатор внутреннего уха для калибровки головных телефонов, подсоединенных к уху посредством ушных вкладышей
EN 61672-1:2013 Electroacoustics - Sound level meters - Part 1: Specifications (IEC 61672-1:2002) (Электроакустика. Измерители уровня звука. Часть 1. Требования)
EN ISO 868:2003 Plastics and ebonite - Determination of indentation hardness by means of a durometer (Shore hardness) (ISO 868:2003) (Пластмассы и эбонит. Определение твердости при вдавливании с помощью дюрометра (твердость по Шору))
EN ISO 3744:2010 Acoustics - Determination of sound power levels and sound energy levels of noise sources using sound pressure - Engineering methods for an essentially free field over a reflecting plane (ISO 3744:2010) (Акустика. Определение уровней звуковой мощности и уровней звуковой энергии источников шума по звуковому давлению. Технические методы в условиях свободного звукового поля над отражающей поверхностью)
EN ISO 3745:2012 Acoustics - Determination of sound power levels and sound energy levels of noise sources using sound pressure - Precision methods for anechoic rooms and hemi-anechoic rooms (ISO 3745:2012) (Акустика. Определение уровней звуковой мощности и уровней звуковой энергии источников шума по звуковому давлению. Прецизионные методы для заглушенных и полузаглушенных камер)
EN ISO 3746:2010 Acoustics - Determination of sound power levels and sound energy levels of noise sources using sound pressure - Survey method using an enveloping measurement surface over a reflecting plane (ISO 3746:2010) (Акустика. Определение уровней звуковой мощности и уровней звуковой энергии источников шума по звуковому давлению. Ориентировочный метод с использованием охватывающей измерительной поверхности над звукоотражающей плоскостью)
EN ISO 4287:1998 Geometrical product specifications (GPS) - Surface texture: Profile method - Terms, definitions and surface texture parameters (ISO 4287:1997) (Технические требования к геометрическим параметрам продукции (GPS). Структура поверхности. Профильный метод. Термины, определения и параметры шероховатости поверхности)
EN ISO 6508-1:2005 Metallic materials - Rockwell hardness test - Part 1: Test method (scales A, B, C, D, E, F, G, H, K, N, T) (ISO 6508-1:2005) (Материалы металлические. Определение твердости по Роквеллу. Часть 1. Метод испытания (шкалы A, D, С, D, Е, F, G, Н, K, N, Т))
EN ISO 11201:2010 Acoustics - Noise emitted by machinery and equipment - Determination of emission sound pressure levels at a work station and at other specified positions in an essentially free field over a reflecting plane with negligible environmental corrections (ISO 11201:2010) Акустика. Шум от машин и оборудования. Определение уровня звукового давления излучения на рабочем месте и в других установленных положениях в условиях свободного звукового поля над отражающей поверхностью с незначительными поправками на внешние воздействующие факторы
EN ISO 11202:2010 Acoustics - Noise emitted by machinery and equipment - Determination of emission sound pressure levels at a work station and at other specified positions applying approximate environmental corrections (ISO 11202:2010) (Акустика. Шум от машин и оборудования. Определение уровня звукового давления излучения на рабочем месте и в других установленных положениях с введением приближенной поправки на внешние воздействующие факторы)
ISO 4593:2011 Plastics - Film and sheeting - Determination of thickness by mechanical scanning (Пластмассы. Пленка и листы. Определение толщины механическим сканированием)
ISO 7619-2:2010 Rubber, vulcanized or thermoplastic - Determination of indentation hardness - Part 2: IRHD pocket meter method (Каучук, вулканизированный или термопластичный. Определение твердости вдавливанием. Часть 2. Метод с применением карманного твердомера в единицах IRHD)
IEC/TS 60318-7:2011 Electroacoustics - Simulators of human head and ear - Part 7: Head and torso simulator for acoustic measurement of hearing aids (Электроакустика. Имитаторы головы и уха человека. Часть 7. Имитатор головы и туловища для калибровки слуховых аппаратов)
В настоящем стандарте применяют следующие термины с соответствующими определениями:
3.1 доступность (accessible): Возможность прикасания ребенка ко всей детали или к ее части, установленная по результатам испытаний по 8.10.
3.2 игрушка для игры на воде (aquatic toy): Игрушка (надувная или ненадувная), несущая нагрузку массы тела ребенка при плавании и/или предназначенная для игр на мелководье.
3.3 удушье (asphyxiation): Недостаточное поступление воздуха в дыхательные пути.
Примечание - Недостаточное поступление воздуха может быть связано, например с перекрытием потока воздуха в результате внутреннего либо наружного удушья или при нахождении в невентилируемом замкнутом помещении.
3.4 основа (backing): Материал, плотно прилегающий с внутренней стороны к гибкой полимерной пленке.
3.5 шар; мячик (ball); Круглый, овальный или эллипсообразной формы предмет, сконструированный и предназначенный для бросания, толкания, удара ногой, катания или отскакивания.
Примечание - Термин шар также включает многогранные предметы, состоящие из не менее 48 соединяющих плоских деталей, образующих круглую, овальную, эллипсообразную или подобную форму.
3.6 заусенец (burr): Острая неровность, образующаяся на кромках материала при его некачественной резке или обработке.
3.7 игрушка с пистонами (cap-firing toy): Игрушка, издающая звук в результате разряда пистона.
Примечание - Примерами игрушек с пистонами являются пистолеты с пистонами.
3.8 цепь (chain): Последовательность соединенных между собой звеньев или колец.
3.9 закупорка дыхательных путей (choking): Перекрытие воздушного потока в результате удушья.
Примечание - Удушье может быть вызвано, например, вдыханием предмета, застрявшего в ротовой полости или в глотке, или в верхнем дыхательном пути.
3.10 околоушная игрушка (close-to-the-ear toy): Игрушка, предназначенная для воспроизведения звука и применяющаяся на расстоянии около 2, 5 см от уха.
Примечание - Примерами околоушных игрушек, являются игрушечные телефоны и игрушечные ружья с акустической системой в комплекте.
3.11 складывание (collapse): Непреднамеренное или внезапное самопроизвольное изменение расположения частей игрушки.
3.12 шнур (cord): Отрезок гибкого текстильного или нетекстильного материала, включая упругий материал, мононить, тканую или нетканую ленту, веревку, тесьму, плетеные или крученные материалы, шпагат, а также слабые и длинные пружины.
Примечание - Шнур электропитания игрушки не рассматривается как шнур.
3.13 трещина (crack): Частичный разрыв материала по всей его толщине.
3.14 сдавливание (crushing): Повреждение части тела в результате сжатия между двумя плоскостями.
3.15 приводной механизм (driving mechanism): Устройство, состоящее из соединенных между собой частей или деталей, хотя бы одна из деталей которых является подвижной и приводится в движение посредством вала коробки передач, ременной передачи, заводного механизма, деталей с электрическим, пружинным или другим механическим приводом.
3.16 кромка (edge): Линия, образованная двумя соприкасающимися плоскостями длиной более 2, 0 мм.
3.17 упругий материал (elastic material): Материал или деталь, которые могут растягиваться и сжиматься при воздействии на нее внешнего усилия, и которые способны восстанавливать свою первоначальную длину или форму при прекращении действия этого усилия.
3.18 шнур электропитания (electrical cable): Гибкий изолированный провод, используемый для подсоединения игрушки к источнику электропитания или к электронному оборудованию, и не являющийся игрушкой или ее частью.
Примечание - Электронное оборудование включает в себя компьютеры и телевизоры, которые сами по себе не относятся к игрушкам.
3.19 уровень звукового давления излучения (emission sound pressure level): Уровень звукового давления, измеренного в заданной точке, находящейся рядом с источником звука, когда источник работает при заданных условиях и установленной на или над отражающей плоской поверхности; за исключением эффектов от фонового шума, а также кроме эффектов отражений от плоскости или плоскостей, которые допускаются при проведении испытаний.
3.20 набухающий материал (expanding material): Материал, объем которого под воздействием воды увеличивается.
3.21 средство крепления (fastening): Механический элемент, предназначенный для соединения двух или более составных частей игрушки (например, крепежные детали).
3.22 наполнитель (filling): Материал, предназначенный для наполнения мягкой набивной игрушки или мягких набивных деталей игрушки.
3.23 жесткий привод (fixed drive): Привод без механизма свободного хода.
Примечание - В жестком приводе привод не может быть отсоединен от ведомого вала. Примером служит велосипед, педали которого приводятся в движение задним колесом, когда велосипед едет под уклон.
3.24 жесткая петля (fixed loop): Петля из шнура, периметр которой закреплен любым надежным способом, включая узел или узлы.
Примечание - Жесткая петля может охватывать часть или части игрушки (см. рисунок 1).

Рисунок 1 - Пример жесткой петли
3.25 механизм свободного хода (free-wheeling mechanism): Передача, в которой приводной механизм отсоединяется от ведомого вала, когда частота вращения последнего превышает частоту вращения приводного механизма.
Примечание - Примером использования механизма свободного хода является велосипед, который катится под уклон без вращения педалей. Без механизма свободного хода заднее колесо вызывало бы вращение педалей.
3.26 функционально обоснованная кромка; функционально обоснованные острые концы (functional edge or point): Кромки или концы деталей игрушки, обеспечивающие выполнение основной ее функции (например, предметное стекло, электрические провода, иголки).
3.27 функциональный магнит, установленный в электрических или электронных деталях игрушек (functional magnet in electrical or electronic components of toys): Магнит, предназначенный для работы моторов, реле, динамиков и других электрических или электронных деталей игрушки, в случае, если магнитные свойства не относятся к игровым характеристикам игрушки.
3.28 функциональное изделие (functional product): Изделие, являющееся масштабной моделью изделия или устройства, предназначенного для эксплуатации взрослыми, с тем же назначением и теми же функциями.
3.29 функциональная игрушка (functional toy): Игрушка, являющаяся уменьшенной копией изделия или устройства, предназначенного для взрослых, которая используется аналогичным образом (например, игрушечная кухонная плита, на которой можно готовить, швейная машинка, на которой можно шить).
Примечание - Примерами игрушек, которых держат в руке, являются: щелкающие игрушки, игрушечные инструменты и игрушечные пистолеты.
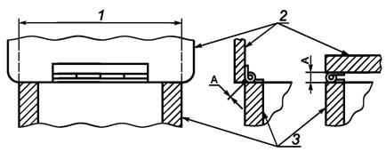
3.32 линия шарнира (hinge line): Линия, проходящая через ось вращения шарнира или параллельная ей (см. рисунок 2).

1 - линия шарнира; 2 - крышка; 3 - ящик; А - расстояние между краями деталей, соединенных шарниром
Рисунок 2 - Обозначение элементов шарнирной линии
3.33 крупногабаритная игрушка (large and bulky toy): Игрушка с основанием площади более 0, 26 м2 или объемом более 0, 08 м3 и массой более 4, 5 кг (без учета массы дополнительных принадлежностей).
Примечание - Площадь основания игрушек с прочно прикрепленными ножками определяется как площадь между наружными краями ножек.
3.34 магнитный элемент (magnetic component): Часть игрушки, включающая в себя прикрепленный магнит или полностью или частично вставленный магнит.
3.35 набор для опытов по магнетизму и электричеству (magnetic/electrical experimental set): Игрушка, содержащая один или более магнитов, предназначенных для проведения опытов по магнетизму и электричеству.
3.36 максимальный уровень звукового давления излучения (maximum emission sound pressure level): Наибольший уровень звукового давления излучения, измеренный в течение заданного периода времени при использовании заданной коррекции по частоте и времени.
Примечание - В настоящем стандарте применяется корректированный по частотной характеристике А уровень звукового давления излучения с временной характеристикой F - обозначается как LAFmax.
3.37 максимальная высота сиденья (maximum saddle height): Расстояние по вертикали между уровнем пола (земли) и поверхностью сиденья, находящегося в горизонтальном, максимально поднятом положении.
3.38 затягиваемая петля (noose): Петля, образуемая шнуром, когда тянут за него (см. рисунок 3).

Рисунок 3 - Затягиваемая петля
3.39 перекрытие внахлест (overlap joint): Место соединения, в котором кромка перекрывает параллельную поверхность, однако при этом механическое соединение по всей длине необязательно.
3.40 упаковка (packaging): Средства или материалы, которые поставляются вместе с игрушкой, но не предназначены для игры.
3.41 бумага (paper): Материал на основе растительных волокон, максимальная масса 1 м2 не более 400 г/м2.
3.42 картон (paperboard): Материал на основе растительных волокон, максимальная масса не более 400 г/м2, за исключением древесно-волокнистой плиты средней плотности (МДФ), низкосортного картона и материалов со схожими свойствами.
Примечание 1 - Термин картон включает такие материалы, как прямоугольные отрезки или картон, масса которых на единицу площади составляет более 400 г/м2.
3.43 пиковый уровень звукового давления излучения (peak emission sound pressure level): Наибольшее мгновенное значение уровня звукового давления излучения, зарегистрированное шумомером по временной характеристике.
Примечание - Пиковый уровень звукового давления излучения корректированный по С - обозначается как LpCpeak.
3.44 игрушечный музыкальный ударный инструмент (percussion toy): Игрушка, предназначенная для извлечения звуков при ударе по ней, например, барабанной палочкой или рукой.
3.45 полимерная пленка (plastic sheeting): Гибкий материал небольшой толщины, являющийся составной частью игрушки или упаковки.
3.46 снаряд (projectile): Предмет, предназначенный для выстрела в воздух для свободного полета по траектории.
3.47 игрушка со снарядом и накопителем энергии (projectile toy with stored energy): Игрушка со снарядом, выпускаемым при помощи пускового механизма, способного накапливать и высвобождать накопленную энергию.
3.48 игрушка со снарядом без накопителя энергии (projectile toy without stored energy): Игрушка со снарядом, который запускается с помощью силы рук, приложенной ребенком.
3.49 игрушка тяни-толкай (pull-along or push toy): Игрушка, которую пользователь приводит в действие, например, натянув ее при помощи шнура или толкнув ее в результате жесткого растяжения.
3.50 погремушка (rattle): Игрушка, предназначенная для детей грудного возраста и конструкция которой позволяет применять ее ребенком или лицом, присматривающим за ним.
3.51 съемная часть (removable component): Составная часть или деталь игрушки, которую можно снять без применения инструмента.
3.52 тесьма (ribbon): Узкий отрезок ткани или текстильного материала, длина которой значительно превышает ее ширину.
3.53 мягконабивная игрушка (soft-filled toy): Игрушка с каркасом или без него, имеющая мягкую поверхность и наполнитель из мягкого материала, которую можно легко сжать в руке.
3.54 осколок (splinter): Остроконечный фрагмент.
3.55 пружина (spring).
3.55.1 винтовая пружина (helical spring): Пружина в форме спирали, которая может быть пружиной сжатия или пружиной растяжения (см. рисунок 4).

Рисунок 4 - Винтовая пружина
3.55.2 пружина сжатия (compression spring): Пружина, которая после сжатия возвращается в исходное положение.
3.55.3 пружина растяжения (extension spring): Пружина, которая после растяжения возвращается в исходное положение.
3.55.4 спиральная пружина (spiral spring): Пружина, свернутая в форме плоской спирали, например часовая пружина (см. рисунок 5).

Рисунок 5 - Спиральная пружина
3.56 игрушка-пищалка (squeeze toy): Гибкая игрушка, способная издавать звук, приводимая в действие путем принудительного пропускания воздуха через отверстие и предназначенная для детей младше 36 мес.
3.57 ремешок (strap): Полоска гибкого материала, используемая в качестве средства крепления, а также как средство переноски или удержания.
3.58 вакуумная присоска (suction cup): Изделие для временного крепления игрушки на гладкой поверхности, изготовленное из мягкого, эластичного полимерного материала, обычно состоящее из круглого основания, которое при надавливании присасывается к поверхности в результате образования вакуума.
3.59 наружное удушье (suffocation): Перекрытие воздушного потока в результате возникновения внешнего по отношению ко рту и носу препятствия.
3.60 настольная и напольная игрушка (table-top or floor toy): Игрушка, четко спроектированная издавать звук и предназначенная для использования на столе, полу или другой большой поверхности.
Примечание - Примерами настольных и напольных игрушек являются игрушечные автомобили, механические животные, крупногабаритные игрушки.
3.61 перевитая петля (tangled loop): Петля, образованная путем изгибания или зацепления шнура или шнуров с помощью различных приспособлений, узлов или жестких петель.
Примечание - Перевитая петля может включать части игрушки (см. рисунок 6).

Рисунок 6 - Перевитая петля
3.62 нетканая лента (tape): Узкая полоска из нетканого материала, ширина которого значительно превышает ее толщину.
3.63 зубное кольцо (teether): Игрушка, которую ребенок грызет при прорезывании зубов, предназначенная для облегчения состояния ребенка.
3.64 эквивалентный уровень звукового давления излучения (time-averaged emission sound pressure level): Десятичный логарифм отношения квадрата звукового давления, измеренного со средним значением временной характеристики к квадрату эталонного звукового давления, выраженный в децибелах, при этом звуковое давление скорректировано по частоте.
Примечание - Эквивалентный уровень звукового давления излучения обычно является средним по энергии - обозначается как LpA.
3.65 инструмент (tool): Отвертки или другие инструменты, предназначенные для завинчивания крепежных деталей, средств крепления и др.
3.66 детская сумка (toy bag): Сумка, предназначенная для использования в играх, и имеющая характеристики, позволяющие использовать ее в игровой деятельности.
Примечание - Сумки, используемые в качестве упаковки, могут быть привлекательными для детей, например, если они имеют яркую окраску или обладают качествами, привлекательными для детей. Однако наличие этих характеристик не определяет их как детские сумки.
3.67 игрушечный велосипед (toy bicycle): Игрушка, предназначенная для передвижения детей, имеющая два и более колеса, а также дополнительные опорные колеса (или без них), с максимальной высотой сиденья менее 435 мм, приводимая в движение при помощи рук или ног (в основном при помощи педалей), имеющая механизм свободного хода или жесткий привод.
3.68 игрушечный самокат (toy scooter): Игрушка (складная или нескладная), которая передвигается посредством приложения мускульной силы ребенка, предназначенная для детей с массой тела не более 50 кг и состоящая как минимум из одной опорной поверхности, двух колес и системы управления, имеющей поворотный или жесткий стержень руля.
3.69 голосовая игрушка (voice toy): Игрушка, предназначенная издавать звук посредством электронного усилителя или искажения голоса, и у которой сила выходного звука зависит от входной силы голоса.
Примечание - Примерами голосовых игрушек являются телефоны, уоки-токи, звукозаписывающие игрушки, микрофоны и электронные громкоговорители (игрушечные мегафоны).
3.70 духовые игрушки (wind toy): Игрушки, предназначенные издавать звук, когда в них дует ребенок или лицо, присматривающее за ним.
Примечание - Примерами духовых игрушек являются игрушечные трубы и свистки.
3.71 мячик на резинке (уо-уо ball): Игрушка, изготовленная из упругого материала, состоящая из резинки с петлей на одном конце для удержания ее пальцем и упругого объекта на другом конце.
4.1 Материал (см. А.3)
Игрушки и материал, используемый в игрушке, должны быть чистыми и неинфицированными. Отсутствие загрязнения проверяют визуально без применения увеличительных приборов.
4.2 Сборка (см. А.4)
Если игрушка предназначена для сборки ребенком, то требования настоящего стандарта распространяются как на собранную игрушку, так и на ее составные части и детали, которые ребенок будет держать в руках в процессе сборки. Требования к собранной игрушке не распространяются на игрушки, у которых сборка является определяющей частью игрового процесса.
Если игрушка предназначена для сборки взрослым, то на нее распространяются те же требования, что и к собранной игрушке.
Игрушка, предназначенная для сборки, должна быть снабжена подробной инструкцией. В инструкции должно быть указано, собирает ли игрушку взрослый или он должен только контролировать правильность сборки.
4.3 Гибкая полимерная пленка (см. А.5 и А.16)
Игрушки, снабженные полимерной пленкой, должны соответствовать следующим требованиям:
Пленка без основы, имеющая размеры более 100 х 100 мм:
a) средняя толщина не менее 0, 038 мм по результатам испытаний по 8.25.1 (толщина полимерной пленки);
b) должна быть перфорирована следующим образом: на любом участке поверхности размером 30 х 30 мм суммарная площадь отверстий (места, где удален материал) должна составлять не менее 1 %.
На шары и мячи из полимерных материалов распространяются требования 4.3, перечисление а), для двойного слоя гибкой полимерной пленки (это означает, что толщина измеряется у сдутых мячей без разрушения).
4.4 Пакеты для игрушек
Пакеты для игрушек, имеющие входное отверстие более 380 мм в окружности и закрывающиеся с помощью стягивающего шнура, должны:
a) быть изготовлены из воздухопроницаемого материала или
b) соответствовать требованиям, указанным в 4.14.2, перечисление а) (защитные маски и шлемы).
4.5 Стекло (см. 5.7 и А.6)
Доступное стекло может применяться в игрушках для детей старше 36 мес в случаях, если это:
a) функционально обосновано (например для оптических игрушек, лампочек, стекла, применяемого в наборах для опытов);
b) стекловолокно, укрепляющее ткань;
c) изделия изготовлены из массивного стекла в форме шаров или глаз для кукол;
d) используется для других стеклянных элементов (например, в стеклянных бусах), которые после испытания согласно 8.5 (испытание падением) и 8.7 (ударное испытание) не имеют доступных и опасных острых кромок (см. 8.11, острые кромки) или доступных и опасных острых концов (см. 8.12, острота концов).
4.6 Набухающий материал (см. А.7)
Настоящее требование не распространяется на семена в формах, предназначенные для выращивания.
Игрушки и детали игрушек из набухающего материала, которые полностью входят в цилиндр по 8.2 (цилиндр для мелких деталей), не должны по результатам испытаний по 8.3 (испытание крутящим моментом), 8.4.2.1 (испытание растяжением, общие положения), 8.5 (испытание падением), 8.7 (испытание ударом) и 8.8 (испытание давлением) при испытании согласно 8.14 (набухающий материал) увеличиваться в размерах в разных направлениях более чем на 50 %.
В том случае, если набухающий материал заключен в оболочку, разрушаемую в процессе набухания, указанные требования также должны быть выполнены, при этом испытание проводится после удаления разрушаемого материала.
4.7 Кромки (см. А.8)
Доступные кромки не должны представлять чрезмерной опасности или травмирования.
a) Кромки металлических или стеклянных игрушек рассматриваются как потенциально опасные острые кромки, если они установлены как острые по 8.11 (острые кромки). Если кромки не выдерживают испытание, то следует провести дополнительную экспертизу игрушки для оценивания ее опасности с точки зрения способности нанесения травмы. Кромки должны подвергаться испытаниям по 8.11 независимо от технологии их обработки.
Примечание - Кромки следует обрабатывать: загибать, заворачивать, завальцовывать или защищать полимерным покрытием или аналогичным материалом.
b) Если при перекрытии внахлест между металлической пластиной толщиной не более 0, 5 мм и находящейся под ней поверхностью образуется зазор более 0, 7 мм, то кромка металлической пластины должна соответствовать требованиям, изложенным в 4.7, перечисление а).
c) Металлические кромки (включая средства крепления, например головки болтов) и кромки твердых полимерных материалов не должны иметь заусенцев, о которые можно пораниться.
Заусенцы, образующиеся при прессовании гибких полимерных материалов (например, полиолефинов), к числу острых не относятся.
d) Допускается наличие функционально обоснованных кромок у игрушек, предназначенных для детей старше 36 мес, если это необходимо для выполнения игрушкой своего функционального назначения. Пользователь должен быть проинформирован об опасности, которую представляют острые кромки (см. 7.6). Кромки таких составных частей, как электропровод, предметного и покровного стекла, рассматриваются как функционально обоснованные кромки и для них предупредительная информация не требуется.
4.8 Острые концы и металлическая проволока (см. А.9)
Металлическая проволока и доступные острые концы составных частей и деталей не должны представлять потенциальной опасности.
a) Концы игрушки считаются потенциально опасными острыми концами, если они при испытании по 8.12 (острые концы) классифицируются как острые. Если концы не выдерживают испытание, то следует провести оценку их опасности при надлежащем обращении с игрушкой (см. 5.1, перечисление с).
Концы карандашей, ручек и подобных канцелярских принадлежностей для письма и рисования острыми концами не считаются.
b) Допускается наличие функционально обоснованных острых концов у игрушки, если это необходимо для выполнения ею своего функционального назначения, и предназначенной для детей старше 36 мес. Пользователь должен быть проинформирован об опасности, которую представляют острые концы (см. 7.6).
При наличии острых концов у электропроводящих деталей предупредительная информация не требуется.
c) Игрушки, содержащие металлическую проволоку или другие металлические детали, предназначенные для сгибания с целью изменения формы или положения игрушки (например в мягконабивной игрушке), не должны ломаться так, чтобы при испытании по 8.13.2 (металлическая проволока и другие сгибающиеся металлические детали) образовались острые концы проволоки или эти острые концы выступили наружу.
d) Металлическая проволока, не предназначенная для сгибания, но которую можно случайно согнуть во время игры, не должна ломаться так, чтобы при испытании по 8.13.3 (металлическая проволока, которая может сгибаться) образовались острые концы проволоки или эти острые концы выступили наружу.
e) Осколки и доступные кромки игрушек не должны представлять необоснованного риска причинения травмы, учитывая предполагаемую область использования игрушки.
4.9 Выступающие части (см. А.10)
Выступающие жесткие детали и части игрушек, представляющие опасность для ребенка из-за возможности нанесения травмы, должны быть снабжены защитными устройствами.
При проведении испытания по 8.4.2.3 (защитные детали, испытание растяжением) не допускается снимать эти защитные устройства.
Концы спиц игрушечных зонтов должны быть защищены колпачками. Если во время проведения испытания по 8.4.2.3 (защитные детали, испытание растяжением) защитные колпачки снимают, то каркасные ребра зонта не должны иметь острых кромок и концов, не соответствующих 8.11 (острые кромки) и 8.12 (острые концы). Если во время проведения вышеуказанных испытаний защитные колпачки спадают, то диаметр каркасных ребер зонта должен быть более 2 мм, а на концах не должно быть заусенцев. Концы должны быть гладкими, закругленными, а их форма приближена к сферической.
4.10 Части игрушек, находящиеся в движении относительно друг друга
4.10.1 Механизмы складывания и скольжения (см. А.11)
Требования 4.10.1 не распространяются на игрушки с сиденьями шириной менее 140 мм.
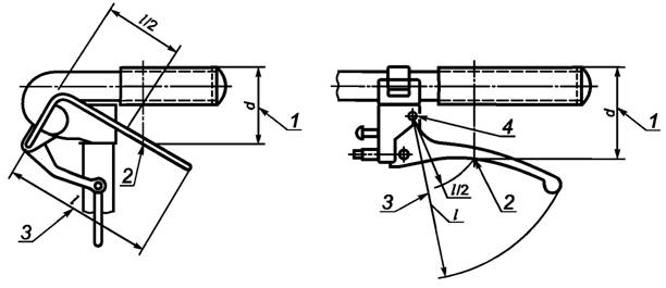
Игрушка с механизмом складывания и скольжения должна отвечать следующим требованиям:
а) Игрушечные кресла и коляски с ручкой или другим конструктивным элементом, нажатие на который может привести к складыванию конструкции, должны быть снабжены не менее чем одним основным и одним дополнительным фиксирующими и устройствами, которые должны непосредственно сдерживать механизм складывания. При раскладывании хотя бы одно из фиксирующих устройств должно автоматически защелкиваться.
При проведении испытания по 8.18.2, перечисление а) (игрушечные кресла и коляски), игрушка не должна складываться, а все фиксирующие устройства должны функционировать и надежно защелкиваться.
В качестве фиксирующих устройств должны использоваться два однотипных устройства (например, фиксирующие кольца: одно с левой стороны игрушки, другое - с правой).
Если конструкцией предусмотрена возможность раскладывания игрушечного кресла или коляски не полностью, а так, чтобы фиксирующее устройство не сработало, то следует провести испытания по 8.18.2, перечисление а) (игрушечные кресла и коляски).
Пример, поясняющий 4.10.1, перечисление а), приведен на рисунке 7.
Примечание - Частичное раскладывание означает приведение игрушки в такое положение, которое пользователь может ошибочно принять за положение, соответствующее полностью разложенной игрушке.
b) Игрушечные кресла и коляски, которые не представляют опасности для ребенка в случае, когда ручка или другая деталь могут сложиться или захлопнуться, должны быть снабжены хотя бы одним фиксирующим или упорным устройством, которое приводится в действие при помощи силы руки.
При проведении испытания по 8.18.2, перечисление b) (игрушечные кресла и коляски), игрушка не должна складываться, а фиксирующее устройство должно нормально функционировать и надежно защелкиваться.
Если конструкцией предусмотрена возможность раскладывания игрушечного кресла или коляски не полностью, а так, чтобы фиксирующее устройство не сработало, то следует провести испытание по 8.18.2, перечисление b) (см. также примечание 4.10.1, перечисление а).
Примеры, поясняющие 4.10.1, перечисление b), приведены на рисунке 8.

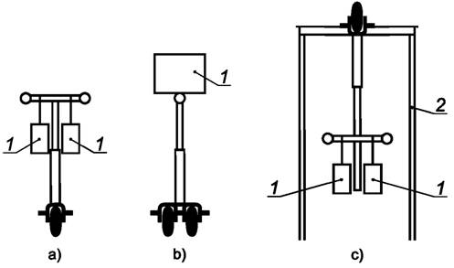
1 - движение ручки; 2 - перемещение колесиков
Рисунок 7 - Игрушечные кресла или коляски, описанные в 4.10.1, перечисление а)

1 - движение ручки; 2 - перемещение колесиков
Рисунок 8 - Игрушечные кресла и коляски, описанные в 4.10.1, перечисление b)
c) Механизм складывания, имеющийся на других складывающихся игрушках (например, гладильные доски, складные стулья и столы и т.д.), которые функционируют по принципу ножниц, должны иметь:
1) предохраняющий упор или фиксирующее устройство. При проведении испытания по 8.18.3 (игрушки, складывающиеся другим способом) игрушка не должна складываться, а фиксирующее устройство должно нормально функционировать и надежно защелкиваться;
2) предохранительное расстояние между подвижными частями механизма "ножниц" должно быть не менее 12 мм.
d) Игрушки, не указанные в 4.10.1, перечисления а), b) или с), но имеющие механизмы складывания или скольжения и по своему назначению способные выдерживать массу ребенка, представляют опасность тем, что могут повредить пальцы. Конструкция таких игрушек должна обеспечивать безопасное расстояние между подвижными частями не более 5 мм или не менее 12 мм.
4.10.2 Приводные механизмы (см. А.12)
Требования, приведенные в перечислениях а) и b) настоящего пункта, не распространяются на приводные механизмы, мощность которых недостаточна для того, чтобы травмировать пальцы рук или другие части тела, а также на передачи игрушек, предназначенных для удержания ребенка определенной массы согласно 4.15.1.6.
Приводные механизмы и заводные ключи должны соответствовать следующим требованиям:
a) приводные механизмы должны быть размещены в корпусе таким образом, чтобы не выступали доступные острые кромки (см. 8.11, острые кромки), или концы составных частей, или деталей (см. 8.12, острые концы) и не появлялась опасность сдавливания пальцев или других частей тела при испытании по 8.5 (испытание падением) и 8.7 (испытание ударом);
b) приводные механизмы крупногабаритных игрушек должны быть размещены в корпусе таким образом, чтобы не выступали наружу доступные острые кромки (см. 8.11, острые кромки) или концы (см. 8.12, острые концы) и не появлялась опасность травмирования пальцев или других частей тела при испытании по 8.6 (испытание опрокидыванием);
c) форма и размеры заводных ключей или рычагов для пуска должны обеспечивать наличие зазора, чтобы между ключом или рычагом и корпусом игрушки расстояние составляло не более 5 мм или не менее 12 мм. Все отверстия, имеющиеся в ключах или рычагах, должны позволять вставить стержень диаметром 5 мм.
4.10.3 Шарниры (см. А.13)
Требование не распространяется на шарнирные соединения, у которых масса хотя бы одной из соединяемых частей менее 250 г.
Конструкция игрушки должна быть такой, чтобы при соединении двух частей игрушки одним или несколькими шарнирами, между кромками соединенных частей вдоль шарнирной линии в любых положениях соединенных частей щель (зазор) между ними должна быть или не более 5 мм или не менее 12 мм.
4.10.4 Пружины (см. А.14)
Пружины должны соответствовать следующим требованиям.
a) Спиральные пружины не должны быть доступными, если расстояние между двумя соседними витками во всех положениях более 3 мм.
Требование 4.10.4, перечисление b), не распространяется на пружины, которые после их отпускания не возвращаются в исходное положение (т.е. те, у которых нарушается упругость).
b) Пружины растяжения не должны быть доступными, если при воздействии усилия растяжения 40 Н расстояние между двумя соседними витками более 3 мм.
Требование 4.10.4, перечисление с), не распространяется на пружины, которые под воздействием усилия 40 Н не возвращаются в исходное положение, а также на пружины, которые обвивают другую деталь (например направляющий стержень) игрушки так, что при проведении испытания палец типа А не может проникнуть между соседними витками пружины более чем на 5 мм.
c) Пружины сжатия не должны быть доступными, если в расслабленном положении расстояние между двумя соседними витками более 3 мм, и к ним при пользовании игрушкой может быть приложено усилие более 40 Н.
4.11 Игрушки, предназначенные для контакта со ртом ребенка (см. А.15)
Требования 4.11, перечисления а), b) и d), не распространяются на игрушки или детали игрушек, изготовленные из материалов, исключенных из 5.1 (общие требования).
Игрушки, предназначенные для контакта со ртом, должны соответствовать следующим требованиям:
a) игрушки, предназначенные для контакта со ртом, съемные мундштуки и другие съемные элементы игрушек не должны при проведении испытания по 8.2 (цилиндр для мелких деталей) полностью входить в цилиндр;
b) несъемные в процессе игры мундштуки и другие детали, предназначенные для контакта со ртом ребенка, за исключением игрушек со снарядом типа духового ружья, должны быть отделены от игрушки для проведения испытания и испытаны по 8.9 (испытание намачиванием), а затем совместно с игрушкой по 8.3 (испытание крутящим моментом), 8.4.2.1 (испытание растяжением, общие положения), не должны полностью помещаться в цилиндр при испытании по 8.2 (цилиндр для мелких деталей);
c) у игрушек, предназначенных для контакта со ртом ребенка, содержащих незакрепленные детали (например, шарики со свистком или металлические язычки в звуковой игрушке), при проведении испытания по 8.17.2 (другие игрушки, предназначенные для контакта со ртом ребенка) не должны высвобождаться какие-либо детали, полностью помещающиеся в цилиндр при проведении испытаний по 8.2 (цилиндр для мелких деталей);
d) мундштуки для шаров должны соответствовать требованиям, приведенным в 4.11, перечисления а) и b);
e) игрушки со снарядами, приводимыми в действие ртом, (например, игрушечные трубки для стрельбы) или включающие в себя снаряд, должны иметь мундштук, который не позволяет проходить снарядам насквозь при проведении испытания по 8.17.1 (снаряды, предназначенные для контакта со ртом) и после этого не отделяться при проведении испытаний по 8.3 (испытание крутящим моментом) и 8.4.2.1 (испытание растяжением, общие положения).
4.12 Мячи (см. 4.3 и А.16)
На упаковке мячей из латекса должна быть нанесена предупредительная информация (см. 7.3).
Если при изготовлении мячей применялся натуральный латекс, то на упаковке должно быть указано, что мяч изготовлен из натурального латекса (см. 7.3).
4.13 Шнуры для воздушных змеев и других летающих игрушек (см. А.17)
Шнуры, предназначенные для удержания ребенком воздушного змея и других летающих игрушек, длиной более 2 м, изготавливают из материала, удельное электрическое сопротивление которого должно быть более 100 МОм/см, измеренное по 8.19 (удельное электрическое сопротивление шнуров).
Пользователь должен быть проинформирован о потенциальной опасности запуска воздушного змея вблизи линий высокого напряжения, а также во время грозы (см. 7.9).
4.14 Устройства, вмещающие ребенка
4.14.1 Игрушки, внутри которых может поместиться ребенок (см. А.18)
Игрушки, внутри которых может поместиться ребенок, должны соответствовать следующим требованиям:
a) В каждой игрушке с внутренним объемом более 0, 03 м3 и внутренними размерами более 150 мм, снабженной дверцей, крышкой или аналогичными деталями, должно быть предусмотрено наличие двух вентиляционных отверстий на расстоянии не менее 150 мм друг от друга, каждое площадью не менее 650 мм2. Такая же суммарная вентиляционная площадь должна быть предусмотрена в случае, если игрушка устанавливается на пол в любом положении и прислоняется к двум вертикальным ровным стенкам, расположенным по отношению друг к другу под прямым углом.
В случае если общее внутреннее пространство разделяется стационарной перегородкой или двумя или более опорами, а наибольший внутренний размер не превышает 150 мм, наличие вентиляционных поверхностей не обязательно.
b) Игрушка, снабженная дверцами, крышками или аналогичными деталями, должна открываться изнутри усилием не более 50 Н.
Примечание - Исключено применение в дверцах, крышках и других аналогичных деталях пуговиц, замков-молний или аналогичных запорных средств.
c) Игрушечные сундучки с открывающейся вверх откидной крышкой должны иметь поддерживающее устройство, исключающее непреднамеренное внезапное захлопывание или падение крышки. Это устройство должно обеспечивать, чтобы дуга открывания, начинающаяся на высоте 50 мм от полного закрытого положения на угол не более 60° (от полного закрытого положения), не позволяло крышке падать более чем на 12 мм под воздействием собственной массы, кроме последних 50 мм траектории. Испытание должно проводиться по 8.31.2 (прочность открывающихся откидных крышек).
Поддерживающее устройство крышки должно соответствовать этим требованиям как до, так и после того, как оно будет подвергнуто 7 000 циклам открывания и закрывания крышки по 8.31.2 (прочность открывающихся откидных крышек).
Поддерживающее устройство крышки должно обеспечивать опору крышке при длительной нагрузке без дополнительной фиксации пользователем. После проведения испытаний по 8.31.2 (прочность открывающихся откидных крышек) для поддерживающего устройства крышки не должна предусматриваться дополнительная фиксация.
Крышка и ее поддерживающее устройство должны соответствовать требованиям 4.10.3 (шарниры).
Игрушечные сундучки с открывающейся откидной крышкой должны быть снабжены руководством по сборке и уходу.
4.14.2 Защитные маски и шлемы (см. А.19)
Маски и шлемы должны соответствовать следующим требованиям:
а) Маски и шлемы из непроницаемого материала, полностью покрывающие голову, должны иметь не менее двух отверстий для вентиляции, расположенных на расстоянии не менее 150 мм друг от друга, или же одно альтернативное вентиляционное пространство, которое должно создавать суммарное вентиляционное пространство площадью не менее 1300 мм2.

1 - суммарное вентиляционное пространство площадью не менее 1300 мм2; 2 - одно альтернативное вентиляционное пространство площадью не менее 1300 мм2
Рисунок 9 - Пример различных вентиляционных пространств
b) Все жесткие материалы, покрывающие лицо (например защитные очки, шлемы космонавтов или маски), после проведения испытаний по 8.3 (испытание крутящим моментом), 8.4.2.1 (испытание растяжением, общие положения), 8.5 (испытание падением), 8.7 (испытание ударом) и 8.8 (испытание давлением) не должны иметь острых кромок (8.11, острые кромки), концов (8.12, острые концы) или незакрепленных частей, которые могут попасть в глаза.
Требование распространяется как на игрушки из жесткого материала с отверстиями для глаз, так и на игрушки, закрывающие глаза.
c) Игрушки, представляющие собой модели настоящих защитных масок и шлемов (например мотоциклетный шлем, защитные строительные и пожарные каски), должны быть снабжены предупредительной информацией (см. 7.8).
4.15 Игрушки, несущие на себе массу ребенка (см. А.20)
4.15.1 Игрушки, приводимые в движение ребенком или другим способом
4.15.1.1 Общие положения
Требования распространяются на следующие игрушки, несущие на себе массу ребенка и приводимые в движение ребенком или другим способом:
- роликовые коньки, роллеры и скейтборды для детей с массой тела менее 20 кг;
- трехколесные велосипеды, карты, колесницы-скутера, джамперы и другие устройства на колесах для катания детей.
Требования 4.15.1.2 и 4.15.1.5 не распространяются на игрушечные велосипеды, требования к которым установлены в 4.15.2, а также не распространяются на игрушечные самокаты, требования к которым установлены в 4.15.5.
4.15.1.2 Руководство по эксплуатации и предупредительная информация
Роликовые коньки, роллеры и скейтборды для детей, которые реализуются в качестве игрушек, должны иметь соответствующую предупредительную информацию, касающуюся защитных средств (см. 7.10.1).
Игрушки, приводимые в движение ребенком, которые не содержат механизма свободного хода или жесткого привода, имеющие массу более 30 кг, предназначенные для перевозки двух или более детей, должны иметь соответствующую предупредительную информацию, указывающую на отсутствие жесткого привода (см. 7.10.2).
Игрушки, приводимые в движение электрическим приводом, которые не содержат механизма свободного хода или устройства торможения по 4.15.1.5, имеющие массу более 30 кг, предназначенные для перевозки двух или более детей, должны иметь соответствующую предупредительную информацию, указывающую на отсутствие жесткого привода (7.10.2).
Для роликовых коньков, роллеров и скейтбордов для детей и игрушек с электрическим приводом, в которых электромотор обеспечивает надежное торможение [4.15.1.5, перечисление а)], не требуется наличия предупредительной информации, указанной выше.
Игрушки с электрическим приводом и/или их упаковка, а также руководство по эксплуатации должны иметь предупреждение, касающееся защитных устройств (см. 7.10.3). Для игрушек с электрическим приводом, в которых имеется седло (4.15.1.4), которые имеют максимальную расчетную скорость менее 8, 2 км/ч при проведении испытания по 8.29 (определение максимальной скорости игрушек с электрическим приводом), данное предупреждение не требуется.
Игрушки с электрическим приводом должны иметь соответствующую предупредительную информацию, касающуюся указания возрастной адресованности при эксплуатации игрушки (см. 7.10.3).
Упаковка и руководство по эксплуатации игрушек с электрическим приводом должны иметь соответствующую предупредительную информацию, касающуюся указания места безопасного катания (см. 7.10.3).
Игрушки, несущие на себе массу ребенка, должны быть снабжены руководством по эксплуатации, сборке и уходу. Для пользователя должны быть указаны потенциальные опасности при использовании игрушки и соответствующие меры предосторожности (см. 7.10.4).
Игрушка, не предназначенная по своему конструктивному исполнению прочностным данным, дизайну или другими факторами для детей до 36 мес, должна иметь соответствующую предупредительную информацию (см. 7.16).
4.15.1.3 Прочность
У игрушек после испытаний по 8.21 (статическая прочность) и 8.22 (динамическая прочность) не должны:
a) появляться доступные острые кромки (8.11, острые кромки);
b) появляться доступные острые концы (8.12, острые концы);
c) становиться доступными приводные механизмы, в результате чего появляется опасность зажатия пальцев или других частей тела;
d) наблюдаться разрушения, после чего они не будут соответствовать требованиям настоящего стандарта.
4.15.1.4 Устойчивость
Требования 4.15.1.4 не распространяются:
- на роликовые коньки, роллеры, игрушечные скейтборды;
- на игрушки, конструкцией которых не предусмотрено наличие опорных поверхностей (например, колесницы-скутера, джамперы);
- на игрушки для детей до 36 мес, у которых устойчивость обеспечивается ногами ребенка (например, игрушка, у которой движение в сторону не ограничено) и высота сиденья регулируется таким образом, чтобы ребенок данной возрастной группы сидя мог достать пол обеими ногами (при сохранении вертикальной устойчивости);
- на игрушки с колесами, расположенными на одной оси. Если расстояние между наиболее удаленными друг от друга колесами не более 150 мм, то такие колеса испытывают как одно колесо.
Такие игрушки при проведении испытания по 8.23.1 (устойчивость игрушек, несущих на себе массу ребенка) не должны опрокидываться.
4.15.1.5 Тормозное устройство
Требование 4.15.1.5 не распространяется:
- на роликовые коньки и скейтборды;
- на игрушки, у которых приводное колесо или колеса приводятся в движение посредством усилия с помощью рук или ног;
- на игрушки с электрическим приводом и сиденьем высотой менее 300 мм, когда ноги не касаются пола, а максимальная скорость без нагрузки составляет 1 м/с (3, 6 км/ч) при проведении испытания по 8.29 (определение максимальной скорости игрушек с электрическим приводом).
а) Игрушка с механическим или электрическим приводом и с механизмом свободного хода должна быть обеспечена тормозным механизмом. На игрушках, имеющих массу более 30 кг, должна быть предусмотрена возможность блокировки хотя бы одного тормозного устройства.
В результате испытания по 8.26.1 (характеристика тормозного устройства в игрушках, за исключением игрушечных велосипедов) игрушка не должна продвинуться более чем на 5 см.
Требование распространяется на все тормоза по 4.15.1.5, независимо от того, требуется наличие тормоза или нет, согласно настоящему стандарту.
Требование, изложенное в 4.15.1.5, перечисление а), не применимо к игрушкам с электрическим приводом, в которых электромотор обеспечивает надежное торможение. Мотор обеспечивает надлежащее торможение в том случае, если:
- средняя скорость средства передвижения меньше или равна 0, 36 м/с (1, 3 км/ч) при испытании по 8.26.1.2 (характеристика тормозного механизма, измерение линейной скорости), или
- при испытании по 8.26.1.3 (характеристика тормозного устройства, горизонтальное испытание)
FT1≥1, 7(m+25) или
(1)
FT2≥1, 7(m+50),
(2)
где FT1 - максимальное тяговое усилие игрушки для детей младше 36 мес, Н;
FT2 - максимальное тяговое усилие игрушки для детей старше 36 мес, Н;
m - масса игрушки, кг.
b) Игрушка с электрическим приводом должна иметь выключатель, который отключает привод автоматически без резкого торможения и опрокидывания игрушки. Приведение в действие тормозного механизма также должно автоматически выключать привод.
4.15.1.6 Передача и расположение колес
Механизм передачи и расположение осей должны удовлетворять следующим требованиям.
a) Цепная и ременная передачи должны быть закрыты защитным щитком, включая ведущую и ведомую звездочки (шкивы) с той стороны, где нога ребенка ближе всего находится к цепи или ремню, а с противоположной стороны - защитным щитком может быть закрыта только ведущая звездочка (см. рисунок 10, сторона А). Также должны быть закрыты цепная и ременная передачи защитным щитком с той стороны, где нога ребенка отстает на некоторое расстояние (например, при наличии рамы у велосипеда) от передачи (см. рисунок 10, сторона В).
В игрушках, приводимых в движение ребенком, где цепная и ременная передачи находятся в пределах досягаемости ноги ребенка при движении, защитные щитки должны находиться с двух сторон и соответствовать стороне А (см. рисунок 10).
Допускается в защитном щитке цепи наличие щелей или отверстий, при условии, если они имеют диаметр не более 5 мм.
Защитный щиток должен сниматься только при помощи инструмента.
b) Колеса, приводимые в действие непосредственно нажатием на педали, не должны иметь щелей и отверстий размером более 5 мм.

1 - размер защитного щитка на внутренней стороне; 2 - передняя цепная звездочка; 3 - цепь; А - сторона, где цепь расположена ближе всего к ноге ребенка; В - сторона, где цепь или ремень наиболее удалены от ноги ребенка
Рисунок 10 - Защитные щитки от цепной передачи
c) Зазоры между колесами и корпусом велосипеда или частями корпуса (например, брызговики) должны составлять не более 5 мм или не менее 12 мм. Данное требование не распространяется на поверхности трения тормозных механизмов скейтбордов или роликовых коньков.
d) Конструкцией трехколесных велосипедов, которые снабжены специальной штангой для подталкивания сидящего на велосипеде ребенка, должна быть исключена возможность захвата ног педалями при толкании (например, механизм свободного хода или подножка).
4.15.1.7 Метки минимальной высоты седлодержателя и глубины стержня руля
На опоре сиденья и на стержне руля должна быть нанесена постоянная метка, указывающая минимальную глубину посадки в корпус. Метка должна быть расположена на расстоянии, составляющем два с половиной диаметра седлодержателя или стержня руля от нижнего его торца, при этом ниже метки должен оставаться участок цилиндрического тела стержня длиной, равной не менее одного диаметра стержня (см. рисунок 11).
Требование к метке минимального ввода не применяется, если
- имеется одно или несколько положений регулировки, удовлетворяющих требованиям к размерам, или
- минимальная длина ввода определяется и ограничивается конструкцией.

1 - постоянная метка
Рисунок 11 - Требования к расположению метки ввода
4.15.1.8 Игрушки с электрическим приводом
Игрушки с электрическим приводом, предназначенные для детей в возрасте младше 6 лет, должны иметь седло.
Игрушки с электрическим приводом должны иметь максимальную расчетную скорость, не превышающую значений при проведении испытаний по 8.29 (определение максимальной скорости игрушек с электрическим приводом):
- игрушки, предназначенные для детей в возрасте старше 3 лет, но младше 6 лет, - 6 км/ч или 8, 2 км/ч. Скорость 8, 2 км/ч применима только в том случае, если в конструкции игрушки имеется устройство, ограничивающее максимальную расчетную скорость не более 6 км/час в одном положении и 8, 2 км/ч в другом положении. Регулировка устройства может производиться только взрослым лицом с использованием инструмента при нахождении переключателя скорости в положении минимальной скорости, в месте реализации игрушки;
- игрушки, предназначенные для детей в возрасте 6 лет и выше: 16 км/ч.
4.15.2 Игрушечные велосипеды (см. А.20)
4.15.2.1 Общие положения
В дополнение к требованиям раздела 4 игрушечные велосипеды должны также соответствовать требованиям 4.15.2.2 и 4.15.2.3.
4.15.2.2 Руководство по эксплуатации
Игрушечные велосипеды должны иметь соответствующую предупредительную информацию относительно их эксплуатации на дорогах и к средствам защиты. Игрушечные велосипеды должны быть обеспечены руководством по эксплуатации, содержащим инструкцию по сборке и уходу, а также рекомендуемыми мерами предосторожности. Лица, присматривающие за детьми, должны быть проинформированы о потенциальной опасности при езде на велосипеде со свободным ходом и о необходимых мерах предосторожности (см. 7.15).
Игрушечные велосипеды, не предназначенные по своему конструктивному исполнению прочностным данным, дизайну или другим факторам для детей старше 36 мес, должны иметь соответствующую предупредительную информацию (см. 7.16).
4.15.2.3 Требования к тормозам
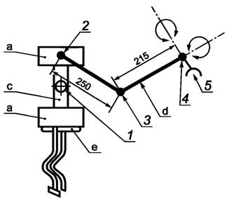
Игрушечные велосипеды с механизмом свободного хода должны быть оборудованы двумя независимыми тормозными механизмами, один из которых воздействует на переднее колесо, а другой - на заднее.
У ручного тормоза расстояние захвата ручки d, измеренное в центре рычага (рисунок 12), не должно быть более 60 мм. У регулируемого тормозного рычага диапазон регулирования должен обеспечивать соблюдение этого размера. Длина тормозного рычага должна быть не менее 80 мм.
При проведении испытания по 8.26.2 (характеристика тормозного устройства у игрушечных велосипедов) игрушка не должна переместиться более чем на 5 см. Данное требование распространяется на игрушечные велосипеды с жестким приводом, в том случае если они укомплектованы тормозом, однако это и не требуется настоящим стандартом.

1 - расстояние захвата ручки d; 2 - центр рычага; 3 - длина рычага l; 4 - ось вращения.
Рисунок 12 - Размеры рычага ручного тормоза
4.15.3 Игрушки "качалки-лошадки" и аналогичные игрушки (см. А.21)
Игрушки "качалки-лошадки" и аналогичные игрушки должны соответствовать следующим требованиям:
a) качающиеся основания (полозья) игрушки "качалки-лошадки" или аналогичной игрушки должны иметь ограничители угла наклона. Контроль этого требования проводится визуально;
b) при испытании по 8.23.1 (устойчивость игрушки, несущей на себе массу ребенка) игрушка не должна опрокидываться;
c) при испытании по 8.21 (статическая прочность) игрушка не должна складываться, а должна соответствовать требованиям настоящего стандарта;
d) игрушки, не предназначенные по своему конструктивному исполнению, дизайну или другим факторам для детей старше 36 мес, должны иметь соответствующую предупредительную информацию (см. 7.16);
e) игрушки, в которых предполагаемая поверхность сиденья располагается на уровне более 600 мм от земли, должны иметь соответствующую предупредительную информацию (см. 7.19).
4.15.4 Игрушки, не приводимые в действие ребенком
Игрушки, несущие на себе массу тела ребенка, но не приводимые в действие ребенком (кроме игрушек, на которые распространяется EN 71-8), должны соответствовать следующим требованиям:
a) при испытании по 8.21 (статическая прочность) игрушка не должна складываться;
b) при испытании по 8.23.1 (игрушки, несущие на себе массу ребенка, устойчивость) игрушка не должна опрокидываться. Данное требование не распространяются на игрушки, не обладающие устойчивостью (большие мячи и крупногабаритные мягконабивные игрушки);
c) игрушка, несущая на себе массу ребенка, должна быть обеспечена руководством по эксплуатации, содержащим инструкции по сборке и по уходу;
d) игрушка, предназначенная для детей до 36 мес, должна сопровождаться соответствующей предупредительной информацией (см. 7.16).
4.15.5 Игрушечные самокаты (см. А.49)
4.15.5.1 Общие положения
Игрушечные самокаты в соответствии с требованиями настоящего стандарта делятся на две группы - для детей с массой тела менее или равной:
- 20 кг;
- 50 кг.
Игрушечные самокаты должны соответствовать требованиям 4.15.5.
4.15.5.2 Инструкция по эксплуатации и предупредительная информация
Игрушечные самокаты должны быть обеспечены инструкцией по эксплуатации, в которой указывают массу ребенка, для которого предназначена игрушка. Кроме того, в инструкции по применению должны быть приведены указания по эксплуатации и рекомендуемые меры предосторожности. Родители или лица, присматривающие за ребенком, должны быть предупреждены об опасности катания ребенка на игрушечных самокатах (см. 7.18).
4.15.5.3 Прочность
a) Игрушечные самокаты должны соответствовать требованиям 4.15.1.3 (прочность).
b) При проведении испытаний по 8.27 (прочность стержня руля игрушечного самоката) следует учитывать:
- стержень руля не должен складываться таким образом, чтобы он не соответствовал требованиям настоящего стандарта;
- стержень руля не должен разъединяться на две или более частей;
- металлические стержни руля не должны иметь видимых трещин;
- зажимное устройство не должно ломаться или ослабляться.
4.15.5.4 Регулируемые и складные стержни руля
a) Для того, чтобы предотвратить самопроизвольное изменение высоты, стержень руля, регулируемый по высоте, должен:
- регулироваться только при использовании инструмента;
- иметь основное и дополнительное блокирующие устройства, одно из которых должно автоматически фиксироваться при установке на необходимой высоте.
Непреднамеренное отсоединение стержня руля от игрушечного самоката не допускается, если только это предусмотрено.
b) Складной стержень руля должен иметь блокирующее устройство на механизме складывания игрушечного самоката.
c) Зазор между подвижными частями, способными травмировать пальцы, должен быть не более 5 мм и не менее 12 мм.
Доступные зазоры в движущихся элементах, способных травмировать пальцы рук, должны быть менее 5 мм.
4.15.5.5 Тормозное устройство
У игрушечных самокатов, имеющих маркировку "для детей массой менее 20 кг", не требуется наличие тормозного устройства.
Другие игрушечные самокаты должны иметь, как минимум, одно тормозное устройство, установленное на заднее колесо, для плавного снижения скорости без резкой остановки.
При испытании по 8.26.3 (характеристика тормозного устройства у игрушечных самокатов) усилие остановки игрушечного самоката на наклонной плоскости должно составлять менее 50 Н.
4.15.5.6 Размеры колес
Диаметр передних колес у игрушечных самокатов должен быть не менее 120 мм.
4.15.5.7 Выступающие детали
Диаметр ручек управления игрушечных самокатов должен быть не менее 40 мм.
4.16 Тяжелые неподвижные игрушки
Неподвижные напольные игрушки массой более 4, 5 кг, не несущие на себе массу тела ребенка, не должны опрокидываться при проведении испытания по 8.23.2 (устойчивость тяжелых неподвижных игрушек).
4.17 Игрушки со снарядами (см. А.22)
4.17.1 Общие положения
Снаряды и игрушки со снарядами должны соответствовать следующим требованиям:
a) все жесткие снаряды должны иметь на конце закругления радиусом не менее 2 мм;
b) эластичный материал, используемый в качестве защитного амортизатора на ударной поверхности снарядов, не должен отсоединяться при испытании по 8.4.2.3 (испытание на растяжение защитных деталей) за исключением ситуации, когда возникают в результате отсоединения фрагменты эластичного материала, соответствующие требованиям настоящего раздела.
Если защитный амортизатор является вакуумной присоской, которая полностью проходит через шаблон Е при проведении испытания по 8.32.1 (маленькие шары и вакуумные присоски), вакуумная присоска не должна отделяться при проведении испытания по 8.3 (испытание на скручивание) и 8.4.2.1 (испытание растяжением, общие положения);
c) для снижения опасности травматизма лопасти и пропеллеры вертолетов, запускаемые при помощи пружины или аналогичного механизма, которые могут свободно взлетать вертикально, должны быть снабжены кольцом, ограничивающим зону их вращения, с целью минимизации риска нанесения травмы;
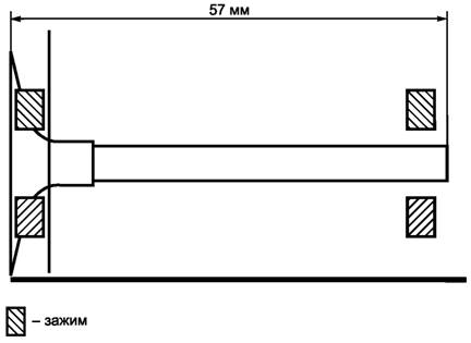
d) длина снарядов с вакуумной присоской должна быть не менее 57 мм, измеренная в положении, когда они свободно опираются на ровную поверхность под действием собственной массы (рисунок 13), и не должно воздействовать никакое усилие, за исключением собственной массы. Допускается удерживать снаряд при проведении измерений.
Требование 4.17.1, перечисление d), применяется до и после проведения испытания по 8.3 (испытание крутящим моментом) и 8.4.2.1 (испытание растяжением, общие положения). Требование, указанное в 4.17.1, перечисление d), не применяется в том случае, если вакуумная присоска не проходит полностью через шаблон Е при проведении испытания по 8.32.1 (маленькие шары и вакуумные присоски).
Требование 4.17.1, перечисление d), применяется как к снарядам с вакуумной присоской, так и к снарядам, в которых вакуумная присоска надежно прикреплена к ним.

Рисунок 13 - Измерение длины снаряда с вакуумной присоской
4.17.2 Игрушки со снарядом без накопителя энергии
Игрушка со снарядом без накопителя энергии должна соответствовать следующему требованию:
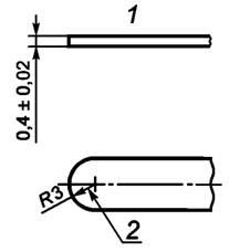
Снаряды в виде дротиков должны быть тупыми или с покрытием из эластичного материала (например, резиной) и иметь площадь ударной поверхности не менее 3 см2.
4.17.3 Игрушки со снарядом и накопителем энергии
Снаряды, запускаемые с помощью пускового механизма, должны соответствовать следующим требованиям:
а) при проведении испытания по 8.24.1 (кинетическая энергия снарядов) максимальная кинетическая энергия снарядов должна быть не более:
1) 0, 08 Дж - для жестких снарядов без эластичных наконечников;
2) 0, 5 Дж - для эластичных снарядов или снарядов с эластичными наконечниками (например, резина);
b) наконечники снарядов в форме стрел, обладающие максимальной кинетической энергией более 0, 08 Дж, должны иметь защитное покрытие из эластичного материала (например, резины). При проведении испытания по 8.24.1 (кинетическая энергия снарядов) максимальная кинетическая энергия из расчета на единицу поверхности эластичного наконечника не должна превышать 0, 16 Дж/см2;
c) в том случае, если игрушка способна стрелять не предназначенным для нее снарядом, или же способна выпустить снаряд с кинетической энергией, превышающей 0, 08 Дж, то пользователь должен быть проинформирован о потенциальной опасности (см. 7.7.1);
d) если для игрушки предусмотрена возможность запуска снаряда с кинетической энергией свыше 0, 08 Дж, то пользователь должен быть проинформирован о потенциальной опасности (см. 7.7.2).
Примечание - Для уменьшения риска травматизма глаз изготовителям игрушки рекомендуется проектировать такие игрушки, которые исключают возможность использования не предназначенных для них снарядов.
4.17.4 Лук и стрелы
В настоящем стандарте рассматривается лук, реализуемый вместе со стрелами, как игрушка.
Стрела, выпускаемая из лука, должна соответствовать следующим требованиям:
a) наконечники стрел не должны быть металлическими. Допускается наличие на конце стрелы магнитного кружочка площадью не менее 3 см2;
b) максимальная кинетическая энергия стрелы, выпущенной из лука, не должна превышать значений, установленных в 4.17.3, перечисление а), при проведении испытания по 8.24.2 (кинетическая энергия стрел и лука);
c) наконечники стрел, у которых максимальная кинетическая энергия превышает 0, 08 Дж, должны соответствовать требованиям, установленным в 4.17.3, перечисление b). Ребенок должен быть информирован о потенциальной опасности при стрельбе такими стрелами (см. 7.7.2).
4.18 Игрушки для игры на воде (см. А.23)
Игрушки для игры на воде должны соответствовать следующим требованиям:
a) отверстия во всех надувных игрушках должны закрываться прочными пробками. Если при проведении испытания по 8.3 (испытание крутящим моментом) и 8.4.2.1 (испытание растяжением, общие положения) пробка вынимается, то при испытании по 8.2 (цилиндр для мелких деталей) она не должна полностью помещаться в цилиндр;
b) в игрушку для игр на воде пробки должны вставляться таким образом, чтобы исключалось их выступание над поверхностью игрушки более чем на 5 мм;
c) пользователь должен быть информирован о потенциальной опасности при обращении с игрушкой для игры на воде (см. 7.4).
Кроме того, игрушки для игры на воде, несущие нагрузку массы тела ребенка при катании на ней, с максимальным размером более 1, 2 м (например, крупные надувные животные), должны удовлетворять требованиям к плавучим изделиям, предназначенным для отдыха (EN 15649-3, устройства класса А2).
4.19 Пиротехнические и запальные устройства, предназначенные для игрушек, и игрушки с пистонами (см. А.24)
При использовании по назначению игрушки с пиротехническими и запальными устройствами не должны быть источником возникновения пламени и искр, а также не должны образовывать тлеющие частицы и осколки, способные повредить глаза или тело ребенка и вызвать возгорание игрушки и окружающих предметов.
На упаковку пиротехнических и запальных устройств должна быть нанесена предупредительная информация (см. 7.13).
На игрушке, предназначенной для использования с пистонами, должно быть указано, с какой маркой и моделью пистонов ее можно безопасно использовать, а также нанесена предупредительная информация (см. 7.14).
4.20 Акустические характеристики (см. А.25)
4.20.1 Категории воздействия эквивалентных уровней звукового давления, определенных по времени
Игрушки, предназначенные издавать звук, делятся на три категории в зависимости от фактического времени звукового излучения во время эксплуатации игрушки, которое может колебаться значительно.
Игрушки, подпадающие под отдельные категории, относятся к традиционным видам данных игрушек. Игрушки нетрадиционного дизайна могут относиться к другой категории воздействия. В том случае если игрушка не подходит к конкретной категории, к ней применяют ближайшую самую точную категорию (т.е. с более низким номером):
Категория воздействия 1:
- игрушки, издающие звук, как правило, в течение более 30 с после каждого включения;
- околоушные игрушки, издающие звук в течение более 30 с после каждого включения;
- игрушки с накладными или вставными наушниками;
- другие игрушки, издающие звук, как правило, в течение 1/3 игрового времени.
Категория воздействия 2:
- игрушки, издающие звук в течение менее 30 с, но более 5 с после каждого включения;
- околоушные игрушки, которые во время воспроизведения звука удерживают вблизи от уха в течение, как правило, менее 30 с, но более 5 с;
- погремушки и игрушки-пищалки;
- духовые игрушки, которые являются имитациями музыкальных инструментов;
- другие игрушки, издающие звук в течение менее 1/3, но более 1/10 игрового времени.
Категория воздействия 3:
- игрушки, издающие звук в течение менее 5 с после каждого включения;
- игрушки, в которых для поддержания воспроизведения звука требуются значительные физические усилия;
- околоушные игрушки, которые во время воспроизведения звука удерживают вблизи уха в течение менее 5 с;
- игрушки с пистонами;
- духовые игрушки, например свистки;
- другие игрушки, издающие звук в течение менее 1/10 игрового времени.
Примечание - Примером игрушки, для которой поддержание выхода звука требует значительного физического усилия, является электронное игрушечное ружье, у которого на одно нажатие на спусковой крючок приходится один залп. Хотя для одного залпа требуется небольшое усилие, большое количество однократных залпов с высокой частотой потребует значительного усилия при повторении в течение нескольких минут.
4.20.2 Пределы уровней звукового давления излучения
4.20.2.1 Общие положения
Игрушки оценивают на соответствие подпунктам, которые наиболее подходят для их звукового режима или звуковой функции. Игрушки с одной или несколькими звуковыми функциями можно оценивать на соответствие нескольким подпунктам. Игрушки или звуковые функции игрушек, которые явно не подпадают ни под один подпункт, оценивают как игрушки, которые держат в руке, или настольные и напольные игрушки, в зависимости от того, какое определение больше подходит.
При испытании по 8.28 (определение уровней звукового давления) игрушки, которые предназначены издавать звук, должны соответствовать требованиям подраздела 4.20.2.
4.20.2.2 Околоушные игрушки
Эквивалентный уровень звукового давления излучения, определенный по времени, LpA, полученный при испытаниях по 8.28.2.1 на расстоянии 50 см околоушными игрушками, не должен превышать 60 дБ для игрушек категории воздействия 1, 65 дБ - для игрушек категории воздействия 2, и 70 дБ - для игрушек категории воздействия 3. Корректированный по С пиковый уровень звукового давления излучения LpCpeak, полученный при испытаниях по 8.28.2.1 на расстоянии в 50 см, не должен превышать 110 дБ.
4.20.2.3 Настольные или напольные игрушки
Эквивалентный уровень звукового давления излучения LpA, полученный при испытаниях по 8.28.2.2 на расстоянии 50 см настольными или напольными игрушками, не должен превышать 80 дБ для игрушек категории воздействия 1, 85 дБ - для игрушек категории воздействия 2, и 90 дБ - для игрушек категории воздействия 3. Корректированный по С пиковый уровень звукового давления излучения LpCpeak, полученный при испытаниях по 8.28.2.2 на расстоянии 50 см, не должен превышать 110 дБ.
4.20.2.4 Игрушки, которые держат в руке
Эквивалентный уровень звукового давления излучения LpA, полученный при испытаниях по 8.28.2.3 на расстоянии 50 см, игрушками, которые держат в руке, не должен превышать 80 дБ для игрушек категории воздействия 1, 85 дБ - для игрушек категории воздействия 2, и 90 дБ - для игрушек категории воздействия 3. Корректированный по С пиковый уровень звукового давления излучения LpCpeak, полученный при испытаниях на расстоянии 50 см, не должен превышать 110 дБ.
4.20.2.5 Игрушки с головными телефонами и наушниками
Эквивалентный уровень звукового давления излучения LpA, полученный при испытаниях по 8.28.2.4, измеренный в имитаторе уха и после корректированный по эквивалентному уровню звукового давления свободного поля, не должен превышать 85 дБ. Корректированный по С пиковый уровень звукового давления излучения LpCpeak, полученный при испытаниях 8.28.2.4, измеренный в имитаторе уха и после корректированный по уровню звукового давления эквивалента поля в свободном пространстве, не должен превышать 135 дБ.
4.20.2.6 Погремушки
Эквивалентный уровень звукового давления излучения LpA, полученный при испытаниях по 8.28.2.5 на расстоянии 50 см погремушками, не должен превышать 85 дБ. Корректированный по С пиковый уровень звукового давления излучения LpCpeak, полученный при испытаниях 8.28.2.5 на расстоянии 50 см, не должен превышать 110 дБ.
4.20.2.7 Игрушки-пищалки
Эквивалентный уровень звукового давления излучения LpA, полученный при испытаниях по 8.28.2.6 на расстоянии 50 см игрушками-пищалками, не должен превышать 85 дБ. Корректированный по С пиковый уровень звукового давления излучения LpCpeak, полученный при испытаниях по 8.28.2.6 на расстоянии 50 см, не должен превышать 110 дБ.
4.20.2.8 Игрушки тяни-толкай
Эквивалентный уровень звукового давления излучения LpA, полученный при испытаниях по 8.28.2.7, на расстоянии 50 см игрушками тяни-толкай, предназначенными издавать звук только при движении, передаваемом на игрушку, измеряют, используя измеритель с временной характеристикой F, LAFmax, и он не должен превышать 80 дБ для игрушек категории воздействия 1, 85 дБ - для игрушек категории воздействия 2 и 90 дБ - для игрушек категории воздействия 3. Корректированный по С пиковый уровень звукового давления излучения LpCpeak, полученный при испытаниях по 8.28.2.7 на расстоянии 50 см, не должен превышать 110 дБ.
Примечание - Примерами игрушек тяни-толкай, предназначенными издавать звук только при движении, передаваемом на игрушку, преднамеренно механически издающие звук, когда оси/колеса вращаются. Игрушки тяни-толкай, которые издают звук, не зависящий от энергии, переданной пользователем, например, электронный звук, проверяются как игрушки, которые держат в руке, или настольные или напольные игрушки (см. 8.28.1.3).
4.20.2.9 Игрушечный музыкальный ударный инструмент
Эквивалентный уровень звукового давления излучения LpA, полученный при испытаниях по 8.28.2.8 на расстоянии 50 см игрушечным музыкальным ударным инструментом, не должен превышать 85 дБ. Корректированный по С пиковый уровень звукового давления излучения LpCpeak, полученный при испытаниях по 8.28.2.8 на расстоянии 50 см, не должен превышать 130 дБ.
Если корректированный по С пиковый уровень звукового давления излучения LpCpeak, полученный при испытаниях игрушечным музыкальным ударным инструментом, превышает 110 дБ, то должна быть приведена предупреждающая информация о потенциальной опасности (см. 7.14).
4.20.2.10 Духовые игрушки
Эквивалентный уровень звукового давления излучения LpA, полученный при испытаниях по 8.28.2.9 на расстоянии 50 см духовыми игрушками, не должен превышать 85 дБ - для игрушек категории воздействия 2 и 90 дБ - для игрушек категории воздействия 3. Корректированный по С пиковый уровень звукового давления излучения LpCpeak, полученный при испытаниях по 8.28.2.9 на расстоянии 50 см, не должен превышать 110 дБ.
4.20.2.11 Игрушки с пистонами
Эквивалентный уровень звукового давления излучения, LpA, полученный при испытаниях по 8.28.2.10 на расстоянии 50 см игрушками с пистонами, не должен превышать 90 дБ. Корректированный по С пиковый уровень звукового давления излучения, LpCpeak, полученный при испытаниях по 8.28.2.10 на расстоянии 50 см, не должен превышать 125 дБ.
Если корректированный по С пиковый уровень звукового давления излучения, LpCpeak, полученный при испытаниях игрушки с пистонами, превышает 110 дБ, то должна быть приведена предупреждающая информация о потенциальной опасности (см. 7.14).
4.20.2.12 Голосовые игрушки
Эквивалентный уровень звукового давления излучения LpA, полученный при испытаниях по 8.28.2.11 на расстоянии 50 см голосовыми игрушками, не должен превышать 80 дБ для игрушек категории воздействия 1, 85 дБ - для игрушек категории воздействия 2 и 90 дБ - для игрушек категории воздействия 3. Корректированный по С пиковый уровень звукового давления излучения LpCpeak, полученный при испытаниях по 8.28.2.11 на расстоянии 50 см, не должен превышать 110 дБ.
Обзор требований приведен в таблицах 1 и 2.
|
Тип игрушки |
Категория воздействия (номер) |
Предполагаемое расстояние использования, см |
Расстояние измерения, см |
Предел на расстоянии измерения, дБ |
|
Пункт 4.20.2.2 Околоушные игрушки |
1 |
2, 5 |
50 |
60 |
|
2 |
2, 5 |
50 |
65 | |
|
3 |
2, 5 |
50 |
70 | |
|
Пункт 4.20.2.3 Настольные или напольные игрушки |
1 |
25 |
50 |
80 |
|
2 |
25 |
50 |
85 | |
|
3 |
25 |
50 |
90 | |
|
Пункт 4.20.2.4 Игрушки, которые держат в руке |
1 |
25 |
50 |
80 |
|
2 |
25 |
50 |
85 | |
|
3 |
25 |
50 |
90 | |
|
Пункт 4.20.2.5 Игрушки с головными телефонами и наушниками |
1 |
а) |
а) |
85а) |
|
Пункт 4.20.2.6 Погремушки |
2 |
25 |
50 |
85 |
|
Пункт 4.20.2.7 Игрушки-пищалки |
2 |
25 |
50 |
85 |
|
Пункт 4.20.2.8 Игрушки тяни-толкай |
1 |
25 |
50 |
80b) |
|
2 |
25 |
50 |
85b) | |
|
3 |
25 |
50 |
90b) | |
|
Пункт 4.20.2.9 Игрушечный музыкальный ударный инструмент |
2 |
25 |
50 |
85 |
|
Пункт 4.20.2.10 Духовые игрушки |
2 |
25 |
50 |
85 |
|
3 |
25 |
50 |
90 | |
|
Пункт 4.20.2.11 Игрушки с пистонами |
3 |
25 |
50 |
90 |
|
Пункт 4.20.2.12 Голосовые игрушки |
1 |
25 |
50 |
80 |
|
2 |
25 |
50 |
85 | |
|
3 |
25 |
50 |
90 | |
|
a) Измеряется с использованием устройства "искусственное ухо" и преобразуется в эквивалент поля в свободном пространстве. b) Это предельное значение относится к максимальному уровню звукового давления излучения с временной характеристикой F, LAFmax. | ||||
|
Тип игрушки |
Наихудшее расстояние использования, см |
Расстояние измерения, см |
LpCpeak на расстоянии измерения, дБ |
|
Пункт 4.20.2.2 Околоушные игрушки |
2, 5 |
50 |
110 |
|
Пункт 4.20.2.3 Настольные или напольные игрушки |
2, 5 |
50 |
110 |
|
Пункт 4.20.2.4 Игрушки, которые держат в руке |
2, 5 |
50 |
110 |
|
Пункт 4.20.2.5 Игрушки с головными телефонами и наушниками |
а) |
а) |
135а) |
|
Пункт 4.20.2.6 Погремушки |
25 |
50 |
110 |
|
Пункт 4.20.2.7 Игрушки-пищалки |
25 |
50 |
110 |
|
Пункт 4.20.2.8 Игрушки тяни-толкай |
25 |
50 |
110 |
|
Пункт 4.20.2.9 Игрушечный музыкальный ударный инструмент |
25 |
50 |
130 |
|
Пункт 4.20.2.10 Духовые игрушки |
25 |
50 |
110 |
|
Пункт 4.20.2.11 Игрушки с пистонами |
25 |
50 |
125 |
|
Пункт 4.20.2.12 Голосовые игрушки |
25 |
50 |
110 |
|
а) Измеряется с использованием устройства искусственное ухо и преобразуется в эквивалент поля в свободном пространстве. | |||
4.21 Игрушки с неэлектрическим источником тепла
Требования не распространяются на горелки в наборах и аналогичные изделия.
a) Игрушки, содержащие источник тепла, при проведении испытания по 8.30 (измерение изменения температуры) не должны воспламеняться при максимально потребляемой тепловой мощности.
b) При испытании по 8.30 (измерение изменения температуры) превышение температуры на ручках, головках и других деталях, соприкасающихся с рукой, не должно быть больше:
- 25 °С - для металлических деталей;
- 30 °С - для деталей из стекла или фарфора;
- 35 °С - для деталей из пластика или дерева.
c) При испытании по 8.30 (измерение изменения температуры) превышение температуры на других доступных деталях игрушки не должно быть больше:
- 45 °С - для металлических деталей;
- 50 °С - для деталей из стекла или фарфора;
- 55 °С - для деталей из других материалов.
Примечание - Требования к игрушкам, имеющим электрический источник тепла, приведены в [5].
4.22 Маленькие шары (см. 5.10 и А.48)
Данные требования не распространяются на мягконабивные игрушки в виде мячей.
Маленький шар - это шар, который при испытании по 8.32.1 (испытание для маленьких шаров) свободно проходит через испытательный шаблон Е (рисунок 36).
Маленький шар, свободно прикрепленный к игрушке с помощью шнура, рассматривается как шар небольших размеров в том случае, если он проходит через отверстие испытательного шаблона Е таким образом, что расстояние А превышает 30 мм при проведении испытания по 8.32.2 (шары небольших размеров, прикрепленные к игрушке с помощью шнура).
Игрушка, являющаяся маленьким шаром или содержащая съемные маленькие шары или маленькие шары, крепление которых при испытании по 8.3 (испытание крутящим моментом), 8.4.2.1 (испытание растяжением, общие положения), 8.5 (испытание падением), 8.7 (испытание ударом) и 8.8 (испытание давлением) ослабевает, что приводит к их отделению, должна содержать предупредительную информацию (см. 7.2). Для крупногабаритной игрушки, содержащей маленькие шары, испытание падением заменяется испытанием по 8.6 (испытание опрокидыванием).
4.23 Магниты (см. А.51)
4.23.1 Общие положения
Требование, изложенное в 4.23.2, не распространяется на функциональные магниты, установленные в электрических или электронных деталях игрушек.
Требование, изложенное в 4.23.3, не распространяется на наборы для опытов по магнетизму и электричеству, в которых все магниты имеют показатель магнитного потока менее 0, 5 Тл2мм2 [50 (кГс)2мм2] при испытании по 8.35 (показатель магнитного потока) или не входят полностью в цилиндр при испытании по 8.2 (цилиндр для мелких деталей).
4.23.2 Игрушки, не относящиеся к наборам для опытов по магнетизму и электричеству, предназначенных для детей старше 8 лет
a) Незакрепленные магниты и магнитные элементы должны иметь показатель магнитного потока менее 0, 5 Тл2мм2 [50 (кГс)2мм2] при проведении испытаний по 8.35 (показатель магнитного потока) и не полностью помещаться в цилиндр при проведении испытания по 8.2 (цилиндр для мелких деталей).
b) Магниты и магнитные элементы, отделяемые от игрушки или не закрепленные на игрушке, при проведении испытаний по 8.3 (испытание на скручивание), 8.4.2.1 (испытание растяжением, общие положения), 8.4.2.2, перечисление а) (испытание растяжением, швы и материалы), 8.5 (испытание падением), 8.7 (ударное испытание) и 8.8 (испытания давлением), а также доступные магниты, но не захватываемые (согласно 8.4.2.1), при проведении испытания по 8.34 (испытание на отрыв для магнитов), должны или иметь показатель магнитного потока менее 0, 5 Тл2мм2 [50 (кГс)2мм2] при проведении испытания по 8.35 (показатель магнитного потока), или не полностью помещаться в цилиндр при проведении испытания по 8.2 (цилиндр для мелких деталей). Для крупногабаритных игрушек испытание на сбрасывание должно быть заменено испытанием по 8.6 (испытание опрокидыванием).
Примечание - Примером магнита, который является доступным, но не захватываемым, является магнит, установленный в углублении.
c) Деревянные игрушки, игрушки для игр в воде, а также игрушки, предназначенные для контакта со ртом, должны испытываться по 8.9 (испытание намачиванием) перед испытанием по 4.23.2, перечисление b), указанным выше.
4.23.3 Наборы для опытов по магнетизму и электричеству, предназначенные для детей старше 8 лет
Наборы для опытов по магнетизму и электричеству, предназначенные для детей в возрасте старше 8 лет, должны сопровождаться соответствующей предупреждающей информацией (7.20).
Наборы для опытов по магнетизму и электричеству, в которых все магниты имеют показатель магнитного потока менее 0, 5 Тл2мм2 [50 (кГс)2мм2] при испытании по 8.35 (показатель магнитного потока), или не полностью помещаются в цилиндр при испытании по 8.2 (цилиндр для мелких деталей), не требуют предупредительной информации.
4.24 Мячики на резинке (см. А.52)
Начальная длина l0 мячика на резинке, измеренная по 8.37.1, не должна превышать 370 мм.
Отношение массы m (в граммах) к модулю упругости к мячика на резинке, по 8.37.2, должно быть не выше чем 2, 2 по формуле
,
(1)
где m - общая масса мяча и шнура из упругого материала, г;
k - модуль упругости мячика на резинке, измеренный по 8.37.2.
4.25 Игрушки, закрепляемые на пищевых продуктах (см. А.55)
Игрушки, закрепляемые на пищевых продуктах, должны соответствовать следующим требованиям:
Перед проведением испытаний согласно перечислениям а) и b), следует удалить пищевые продукты, чтобы не привести к повреждению игрушки.
a) Игрушки и съемные элементы игрушек должны быть непосредственно закреплены на пищевых продуктах таким образом, чтобы нужно было сначала съесть пищевой продукт, чтобы добраться до игрушки, не должны полностью помещаться в цилиндр при испытании по 8.2 (цилиндр для мелких деталей) или (если игрушка, или съемный элемент игрушки является шаром) полностью проходить через шаблон Е при испытании по 8.32.1 (маленькие шары и вакуумные присоски),
b) При испытаниях по 8.3 (испытание крутящим моментом), 8.4.2.1 (испытание растяжением, общие положения), 8.5 (испытание падением), 8.7 (испытание ударом) и 8.8 (испытания давлением) игрушки, на которые распространяются требования 4.25, перечисление а), не должны приводить к образованию каких-либо деталей, которые, независимо от положения игрушки, могут полностью помещаться в цилиндр при испытании по 8.2 (цилиндр для мелких деталей) или, если игрушка или съемный элемент игрушки является шаром, полностью пройти через шаблон Е при испытании по 8.32.1 (маленькие шары и вакуумные присоски).
Примечание - Директива 2009/48/ЕС включает в себя дополнительные требования безопасности игрушек, непосредственно закрепленных на пищевых продуктах, находящихся внутри пищевых продуктов или смешанных с пищевыми продуктами. Согласно Директиве, запрещено изготовление игрушек, непосредственно закрепляемых на пищевом продукте таким образом, что, пищевой продукт должен быть потреблен, чтобы добраться до игрушки (т.е. ни одна часть игрушки не является доступной до тех пор, пока продукт не будет употреблен).
Кроме этого, Директива устанавливает, что игрушки, входящие в состав пищевых продуктов или смешиваемые с ними, должны иметь собственную упаковку. Согласно Директиве, эта упаковка, кроме дополнительных требований, не должна полностью помещаться в цилиндр для мелких деталей. Наружная упаковка пищевого продукта, в соответствии с Директивой, должна содержать следующее предупреждение: "Предупреждение! Содержит игрушку. Рекомендуется наблюдение взрослых"*.
──────────────────────────────
* Указанная информация не является полной, см. Директиву 2009/48/ЕС, и соответствующие требования нуждаются в дальнейшем детальном рассмотрении.
К игрушкам, предназначенным для детей до 36 мес, дополнительно к требованиям раздела 4 должны предъявляться требования, изложенные в настоящем разделе:
Примечание - Согласно Директиве 2009/48/ЕС применяются требования безопасности к чистке и стирке: "Игрушка, предназначенная для детей в возрасте до 36 мес, должна быть спроектирована и изготовлена таким образом, чтобы допустить возможность чистки. С этой целью игрушка из текстильного материала должна иметь возможность стирки, за исключением тех случаев, когда она содержит механизм, который может быть поврежден при стирке в жидкой среде. Игрушка должна удовлетворять требованиям безопасности после чистки в соответствии с данным разделом и инструкциями изготовителя". Изготовитель, если это применимо, должен предоставить инструкции относительно чистки игрушки. Указанная информация не является полной, см. Директиву 2009/48/ЕС, и соответствующие требования нуждаются в дальнейшем детальном рассмотрении.
5.1 Общие требования (см. А.26)
Требования 5.1 не распространяются на:
- бумагу, ткань (включая войлок и трикотажное полотно), пряжу, шпагат и волокно;
- на фломастеры, мел, карандаши и подобные принадлежности для письма и рисования без съемных частей;
- на надувные шары;
- на пластилин и аналогичные изделия.
Хорошо уплотненные мягконабивные детали, изготовленные из ткани и/или пряжи, не исключаются из требований 5.1.
Общие требования к игрушкам для детей до 36 мес:
а) игрушка и ее съемные части, независимо от их расположения, не должны помещаться в цилиндр согласно 8.2 (цилиндр для мелких деталей) (см. А.26).
В дополнение, прикрепленные картонные детали игрушек, которые отделяются после испытания по 8.4.2.1 (испытание растяжением, общие положения), не должны помещаться в цилиндр согласно 8.2 (цилиндр для мелких деталей).
Требование 5.1, перечисление b), не распространяется на картонные игрушки или картонные части игрушек;
b) при испытаниях по 8.3 (испытание крутящим моментом), 8.4 (испытание растяжением), 8.5 (испытание падением), 8.7 (испытание ударом) и 8.8 (испытание давлением) в игрушке не должны быть обнаружены части, которые, независимо от их расположения, полностью помещаются в цилиндр согласно 8.2 (цилиндр для мелких деталей), а также части с острыми кромками (см. 8.11, острые кромки) или доступными острыми концами (см. 8.12, острые концы). Игрушка с пружинами должна также соответствовать требованиям, установленным в 4.10.4 (пружины).
К игрушкам, содержащим магниты или магнитные элементы, дополнительно к требованиям 4.23.2, перечисления b) и с), предъявляются требования о недопустимости отделения магнитов или магнитных элементов с показателем магнитного потока менее 0, 5 Тл2мм2 [50 (кГс)2мм2], если отделенные магниты полностью помещаются в цилиндр согласно 8.2 (цилиндр для мелких деталей);
c) металлические концы и проволока с сечением до 2 мм2, которые согласно 8.12 острыми не считаются, могут представлять потенциальную опасность. Поэтому эти концы должны быть подвергнуты проверке для оценивания опасности нанесения травм при надлежащем пользовании игрушкой (см. А.9);
d) крупногабаритные игрушки должны быть подвергнуты испытаниям по 5.1, перечисление b), при этом испытание 8.5 (испытание падением) должно быть заменено на испытание 8.6 (испытание опрокидыванием).
Требование 5.1, перечисление е), не распространяется на крупногабаритные игрушки и на игрушки и детали игрушек, изготовленные из бумаги и картона;
e) деревянные клееные игрушки и игрушки с полимерными наклейками испытывают сначала на соответствие 8.9 (испытание намачиванием), а затем на соответствие 5.1, перечисление b). Цветные чешуйки, которые отклеились от разрисованной игрушки, не требуется испытывать по 8.2 (цилиндр для мелких деталей). Однако деревянные клееные игрушки и игрушки с пластиковыми наклейками подвергаются испытаниям как игрушки, имеющие лакокрасочное покрытие;
f) на корпусе игрушек для грудных детей не должны образовываться трещины при проведении испытания по 5.1, перечисление b). Допускается наличие трещины, если она не может привести к созданию опасной ситуации (А.26);
g) при испытании игрушек из пеноматериала и игрушек, содержащих доступные детали из пеноматериала, по 8.3 (испытание крутящим моментом) и 8.4.2.1 (испытание растяжением, общие положения) конструкции захватов и средств крепления, необходимых для проведения испытания, не должны повреждать игрушку и влиять на результат испытаний.
5.2 Мягконабивные игрушки и мягконабивные детали игрушки (см. А.27)
a) Наполнитель не должен содержать твердых или острых инородных тел (например, кусочков металла, гвоздей, иголок и осколков).
b) Мягконабивная игрушка и мягконабивные детали игрушки, содержащие мелкие детали (например, гремящие шары, колокольчики или измельченный пенопласт), каждая из которых полностью помещается в цилиндр согласно 8.2 (цилиндр для мелких деталей), или материал для наполнителя, от которого могут быть откусаны или оторваны мелкие кусочки, полностью помещающиеся в цилиндр по 8.2 (цилиндр для мелких деталей), должны быть обтянуты так, чтобы после испытания по 8.4.2.2, перечисление а) (испытание растяжением, швы и материалы), передняя часть испытательного зонда А согласно 8.10 не могла без усилия проникнуть через отверстие в шве или обивочном материале. Допускается наличие отверстий, не создающих опасности.
Примечание - К материалу наполнителя, от которого можно легко откусить или оторвать кусочки, относится пенопласт, но не относится бумага, ткани, резина, пряжа, ошнуры и волокно.
c) Мягконабивные игрушки и мягконабивные детали игрушки, содержащие волокнистый наполнитель, должны иметь такую оболочку, чтобы, после испытания по 8.4.2.2, перечисление b) (испытание растяжением, швы и материал), передняя часть испытательного пальца диаметром 12 мм, полностью закругленного по радиусу, не могла проникнуть через любое отверстие в зоне шва или покрытия более чем на 6 мм.
5.3 Полимерная пленка (см. А.28)
Полимерная пленка, которая отделяется и рвется при испытаниях игрушки по 8.25.2 (полимерная пленка, прочность крепления) и по 8.4.2.1 (испытание растяжением, общие положения), с размерами поверхности более 100 х 100 мм, должна при испытании по 8.25.1 (полимерная пленка, толщина) иметь среднюю толщину не менее 0, 038 мм.
5.4 Шнуры, цепи и шнуры электропитания игрушек (см. А.29)
Требования настоящего раздела не распространяются на канаты и цепи, которые соответствуют требованиям к диаметру согласно EN 71-8 (например, канаты для лазания или раскачивания).
Требования настоящего раздела не распространяются на тесьму, предназначенную для ношения вокруг шеи полностью или частично (5.14), к игрушечным поясам безопасности, наплечной тесьме игрушечных рюкзаков или к ручкам игрушечных сумок/ведер/коробок.
Требования 5.4, перечисления а)-е), не распространяются на:
- игрушки, предназначенные для подвешивания над колыбелями, кроватками или колясками. Однако любые элементы, свисающие в таких игрушках и находящиеся в пределах досягаемости детей, должны удовлетворять требованиям 5.4, перечисления а)-е);
- шнуры игрушек, предназначенных для подвешивания над колыбелями, кроватками или колясками; находящиеся вне пределов досягаемости детей.
a) Шнуры, подсоединенные к механизму самовтягивания, и шнуры игрушек, которые можно тянуть за собой, должны иметь толщину (средний диаметр поперечного сечения) не менее 1, 5 мм при испытании по 8.20 (толщина шнуров).
b) Шнуры и цепи, которые способны образовывать перевитую петлю или затягиваемую петлю, должны:
- иметь длину не более 220 мм (для игрушек, предназначенных для детей в возрасте до 18 мес), или иметь длину не более 300 мм (для остальных игрушек) при испытании по 8.40 (длина шнуров, цепей и шнуров электропитания),
- состоять из отрезков длиной не более 220 мм (для игрушек, предназначенных для детей в возрасте до 18 мес), или не более 300 мм (для остальных игрушек) при испытании по 8.38 (испытание на отделение отрывного элемента). При этом должна существовать возможность соединения отрезков после их разделения, без изменения характеристик в местах соединения (см. рисунок 14). Длина отрезков должна измеряться согласно 8.40 (длина шнуров, цепей и шнуров электропитания).
Игрушки, предназначенные для детей в возрасте от 18 до 36 мес, имеющие шнуры или цепи длиной более 220 мм (состоят из одного или нескольких отрезков длиной не более 220 мм), которые способны образовывать перевитую или затягиваемую петлю, должны сопровождаться предупредительной информацией (7.22), заметной на месте реализации и нанесенной или на саму игрушку, или на ее упаковку.

Рисунок 14 - Пример соединения шнуров
с) Жесткие петли шнуров или цепей должны:
- иметь периметр, не превышающий 380 мм при испытании по 8.36.2.1 (шнуры и цепи с одной точкой крепления или с точками крепления, разнесенными на расстояние менее 94 мм), или расстояние "d", не превышающее 96 мм при испытании по 8.36.2.2 (шнуры и цели, прикрепляемые к игрушке в точках, удаленных друг от друга на расстояние более 94 мм);
- разделяться на отрезки длиной не более 220 мм (для игрушек, предназначенных для детей в возрасте до 18 мес), или не более 300 мм (для остальных игрушек) при испытании по 8.38 (испытание на отделение отрывного элемента). Длина разделенных отрезков должна испытываться по 8.40 (длина шнуров, цепей и шнуров электропитания).
Игрушки, предназначенные для детей в возрасте от 18 до 36 мес и имеющие жесткую петлю, которая отделяется в виде одной или нескольких отрезков длиной более 220 мм, должны иметь соответствующее предупреждение (7.22), заметное на месте реализации и нанесенное или на саму игрушку, или на ее упаковку.
В тех случаях, когда расстояние между точками фиксации шнуров и цепей может меняться при игре в связи с гибкостью игрушки (например, при наличии шнуров в мягконабивных игрушках или в гибких игрушках без жестких деталей), периметр должен измеряться по 8.36.2.1, независимо от расстояния между точками фиксации в состоянии покоя.
d) Периметр затягиваемых петель:
- не должен превышать 380 мм при испытании по 8.36.2.1 или
- расстояние d не должно быть более 96 мм при испытании по 8.36.2.2.
e) Усилие механизма самовтягивания для шнуров в игрушках не должно приводить к втягиванию шнура при испытании по 8.39 (самовтягивающиеся шнуры).
f) Игрушки со шнурами, подвешиваемые над колыбелькой, кроваткой или коляской, должны сопровождаться предупреждающей информацией (7.11). Это требование применимо также к игрушкам со шнурами, предназначенными для подвешивания над колыбелькой, кроваткой или коляской, в тех случаях, когда шнуры таких игрушек находятся вне пределов досягаемости ребенка, если длина их шнуров составляет более 220 мм и шнуры могут образовывать перевитую или затягиваемую петлю.
g) Шнуры и цепи со свободным концом (т.е. без их закрепления), прикрепленные к игрушкам (за исключением игрушек, которые можно тянуть за собой), предназначенным для детей младше 18 мес, должны иметь свободную длину не более 300 мм при испытании по 8.40 (длина шнуров, цепей и шнуров электропитания).
Игрушки (за исключением игрушек, которые можно тянуть за собой), предназначенные для детей от 18 до 36 мес, имеющие шнуры или цепи со свободным концом, при свободной длине свыше 300 мм должны сопровождаться предупредительной информацией (7.22).
h) Шнуры и цепи со свободным концом (т.е. без закрепления), прикрепленные к игрушкам (за исключением игрушек, которые можно тянуть за собой), предназначенным для детей младше 36 мес, должны иметь свободную длину не более 800 мм при испытании по 8.40 (длина шнуров, цепей и шнуров электропитания).
i) Игрушки со шнуром электропитания, длина которого более 300 мм при испытании по 8.40 (длина шнуров, цепей и шнуров электропитания), должны сопровождаться предупредительной информацией (7.21).
5.5 Игрушки с жидким наполнителем (см. А.30)
После проведения испытания по 8.15 (герметичность игрушек с жидким наполнителем) игрушки, заполненные жидкостью, должны соответствовать требованиям разделов 4 и 5, при этом жидкость не должна вытекать, а в корпусе не должны появляться разрывы или трещины, которые могут привести к вытеканию жидкости.
Зубные кольца с жидким наполнителем должны сопровождаться предупредительной информацией о том, что их не допускается помещать в морозильную камеру (7.12).
5.6 Ограничение скорости игрушек с электрическим приводом
Максимально возможная скорость игрушки с сиденьем, имеющей электрический привод, при проведении испытания по 8.29 (определение скорости игрушек с электрическим приводом), не должна превышать 8 км/ч.
5.7 Стекло и фарфор (см. 4.5 и А.6)
В игрушках для детей до 36 мес не должно быть доступных для детей составных частей и деталей из стекла и фарфора.
5.8 Форма и размеры игрушек (см. А.31)
Требования 5.8, перечисления а) и b), не распространяются на мягконабивные игрушки или составные части игрушки с мягким наполнителем, а также на элементы игрушек из ткани.
Форма и размеры игрушек для детей грудного возраста, должны соответствовать требованиям, приведенным в 5.8, перечисления а) и b).
К игрушкам, предназначенным для детей грудного возраста, относятся:
- погремушки и игрушки-пищалки с элементами, воспроизводящими звук, или без них;
- зубные кольца, игрушки или их части, предназначенные для кусания;
- игрушки, приводимые в действие руками;
- книги и строительные кубики с покрытием из текстиля или полимерного материала;
- съемные части игрушек, натягивающиеся над коляской, кроваткой или манежем;
- съемные части гимнастических снарядов для маленьких детей;
- ножки гимнастических снарядов для маленьких детей. Требования, изложенные в 5.8, перечисления а) и b), не зависят от массы гимнастических снарядов.
Примечание - Перечень не носит ограничительный характер.
a) У игрушек массой не более 0, 5 кг при испытании по 8.16 (геометрическая форма игрушек) ни одна из частей не должна выступать над основанием испытательного шаблона А.
b) У игрушек в форме шара, полушара или имеющих круглые кромки и массу не более 0, 5 кг при испытании по 8.16 (геометрическая форма игрушек) ни одна из частей не должна выступать за плоскость основания испытательного шаблона В.
5.9 Игрушки с волокнами из мононитей (см. А.32)
Игрушки, содержащие волокна из мононитей, прикрепленные к ткани, в том случае, если длина нитей в распущенном состоянии превышает 50 мм, сопровождаются предупредительной информацией (см. 7.17).
5.10 Маленькие шары (см. 4.22 и А.48)
Настоящие требования не распространяются на мягконабивные игрушки.
Маленький шар - это шар, который при испытании по 8.32 (испытание для маленьких шаров) свободно проходит через испытательный шаблон Е.
Шар, закрепленный на игрушке при помощи шнура таким образом, чтобы он был подвешен свободно, считается маленьким шаром, если он полностью проходит через шаблон Е, и при этом расстояние А превышает 30 мм при испытании по 8.32.2 (маленькие шары, прикрепляемые к игрушке шнуром).
a) Игрушки не должны быть в виде маленьких шаров или содержать съемные маленькие шары.
b) Маленькие шары не должны отделяться при испытании по 8.3 (испытание крутящим моментом), 8.4.2.1 (испытание растяжением, общие положения), 8.5 (испытание падением), 8.7 (испытание ударом), 8.8 (испытание давлением), а также при испытании склеенной деревянной игрушки по 8.6 (испытание опрокидыванием).
Примечание - См. также требования, изложенные в разделе 6, перечисление с), в отношении упаковки, являющейся маленьким шаром.
5.11 Фигурки для игр
Настоящие требования не распространяются на мягконабивные игрушки.
Фигурки для игр должны иметь:
a) закругленный, сферический и полусферический конец с конусообразной шеей, прикрепленный к простому цилиндру без конечностей;
b) длину не более 64 мм (см. рисунок 15).
Фигурки для игр должны быть сконструированы так, чтобы при испытании по 8.33 (испытание фигурок для игр) закругленный конец не выступал наружу на нижней стороне испытательного шаблона В. Настоящее требование также распространяется на фигурки с соединенными в паз или формованными элементами, такими как: шляпа или волосы, придающие концу фигурок закругленную форму.

Рисунок 15 - Примеры фигурок для игр
5.12 Игрушки с полусферической формой (см. А.50)
Настоящие требования распространяются на чашеобразные, яйцеобразные или полусферические игрушки с круглой, овальной или эллипсообразной формой отверстия, имеющие наименьший и наибольший радиусы в диапазоне 64-102 мм, объем не более 177 мл и глубину более 13 мм.
Настоящие требования не распространяются:
- на герметичные сосуды, содержимое которых должно сохранять свои функциональные свойства (например, сосуды с клеем для моделирования);
- на составные элементы крупных изделий (например труба, прочно прикрепленная к игрушке, или плавательный бассейн, вмонтированный в игровой ландшафт), которые не отделяются при проведении испытаний по 8.3 (испытание крутящим моментом), 8.4.2.1 (испытание растяжением, общие положения), 8.5 (испытание падением), 8.7 (испытание ударом) и 8.8 (испытание давлением), а также склеенные деревянные игрушки при проведении испытания по 8.9 (испытание намачиванием). Для крупногабаритных игрушек испытание падением заменяется испытанием по 8.6 (испытание опрокидыванием).
Игрушки чашеобразной, яйцеобразной или полусферической формы должны соответствовать одному из требований, установленных в 5.12, перечисления а), b), с) или d):
a) игрушка должна иметь не менее двух отверстий, которые находятся на расстоянии не менее 13 мм от наружной кромки. Расстояние измеряется от наружной кромки:
- если отверстия находятся на опорной поверхности основания чашеобразной игрушки, то расстояние между двумя отверстиями должно быть не менее 13 мм, см. рисунок 16 а);
- если отверстия не находятся на опорной поверхности игрушки, то два или более отверстия должны быть смещены не менее чем на 30°, но не более чем на 150°, см. рисунок 16 b);
b) при необходимости плоскость отверстия игрушки чашеобразной формы должна быть разделена по центру так, чтобы разделительный элемент был углублен в плоскости отверстия не менее чем на 6 мм. Пример разделения, предусматривающий наличие поперечной перегородки, проходящей через середину отверстия чашеобразной формы, см. на рисунке 16 с);
c) при наличии в игрушке трех или более отверстий они должны быть удалены от верхней кромки на расстояние 6-13 мм и смещены относительно друг друга не менее чем на 100°. Измерение производится вдоль наружной кромки;
d) у игрушки может быть на всей наружной кромке повторяющийся фигурный рисунок контура. Максимальное расстояние между серединами находящихся рядом вершин элементов рисунка должно быть 25 мм, а минимальная глубина - 6 мм, см. рисунок 16 d).
По аналогии с вышеприведенными требованиями отверстие с внутренним диаметром 2 мм определяется как отверстие любой формы.
Указанные требования должны обеспечиваться после проведения испытаний по 8.3 (испытание крутящим моментом), 8.4.2.1 (испытание растяжением, общие положения), 8.5 (испытание падением), 8.7 (испытание ударом) и 8.8 (испытание давлением), а для склеенной деревянной игрушки - по 8.9 (испытание намачиванием). Для крупногабаритных игрушек испытание падением заменяется испытанием 8.6 (испытание опрокидыванием).
Примечание - См. также требования, изложенные в разделе 6, перечисление е), в отношении упаковки, имеющей форму полусферы.

а) Отверстия в чашеобразном основании

b) Расположение отверстий на боковой поверхности

с) Поперечная перегородка по середине чашеобразного основания

d) Фигурный рисунок контура
Рисунок 16 - Примеры игрушек, имеющих полусферическую форму
5.13 Вакуумные присоски (А.54)
а) Незакрепленные вакуумные присоски, удаляемые вакуумные присоски и вакуумные присоски, закрепленные на предмете эластичной лентой или другим способом, во время испытания по 8.32.1 (маленькие шары и вакуумные присоски), 8.4.2.1 (испытание растяжением, общие положения), 8.5 (испытание падением), 8.7 (ударное испытание) и 8.8 (испытания давлением), не должны полностью проходить сквозь испытательный шаблон Е и соответствовать требованиям настоящего стандарта. Для крупногабаритных игрушек испытание на сбрасывание заменено испытанием по 8.6 (испытание опрокидыванием).
b) Игрушка с закрепленной на ней вакуумной присоской не должна полностью проходить через шаблон Е при проведении испытания по 8.32.1 (маленькие шары и вакуумные присоски).
Примечание - Вакуумная присоска, которая вместе со шнуром отделилась от игрушки, не соответствует требованию 5.13, перечисление а), в том случае, если она вместе с присоединенным элементом проходит через шаблон Е.
5.14 Тесьма, предназначенная для ношения вокруг шеи полностью или частично (см. А.53)
Тесьма, предназначенная для ношения вокруг шеи полностью или частично и способная образовывать жесткую петлю, должны иметь отрывной элемент, который рвется при испытании по 8.38 (испытание на отделение отрывного элемента).
Требование раздела 6, перечисление а), не распространяется:
- на разрывающуюся термоусадочную упаковочную пленку, которая обычно разрушается при снятии ее ребенком;
- на пакеты из перфорированной пленки, соответствующие требованиям 4.3, перечисление b);
- полимерную пленку на основе или имеющую поверхность не более 100 x 100 мм;
- сумки, изготовленные из полимерного материала площадью не более 100 x 100 мм, измеренные в нераскрытом состоянии.
Упаковка игрушек должна соответствовать следующим требованиям:
a) полимерная пленка и сумки, изготовленные из полимерного материала, применяемые для наружной или внутренней упаковки, должны иметь среднюю толщину не менее 0, 038 мм при проведении испытания по 8.25.1 (полиэтиленовая пленка, толщина);
b) пакеты для игрушек, изготовленные из гибкой полимерной пленки, имеющие входные отверстия более 380 мм по периметру, не должны закрываться с помощью стягивающей ленты или шнура;
c) требования, изложенные в разделе 5.10 (маленькие шары), распространяются на упаковку и элементы упаковки в виде маленьких шаров, независимо от предполагаемой возрастной адресованности, для которой предназначена данная игрушка;
d) независимо от предполагаемой возрастной адресованности, для которой изготовлена игрушка, любой отдельный элемент упаковки, который представляет собой маленький шар или элемент цилиндрической формы с закругленной торцевой частью, не должен полностью проходить через шаблон Е при испытании по 8.32.1 (маленькие шары и вакуумные присоски). Это требование не распространяется на элементы, максимальный размер которых составляет более 64 мм, или на элементы упаковки, которые крепятся друг с другом средством, которое не ломается при испытании по 8.3 (испытание крутящим моментом) и 8.4.2.1 (испытание растяжением, общие положения).
e) Требования, изложенные в разделе 5.12 (игрушки полусферической формы), распространяются на контейнеры полусферической формы, которые являются частью упаковки для игрушек, предназначенных для детей в возрасте до 36 мес.
7.1 Общие положения
Предупредительная информация, нанесенная на игрушку, должна быть понятной и корректной. Игрушки, предназначенные для детей младше 36 мес, должны соответствовать требованиям раздела 5. Предупредительная информация, нанесенная на игрушку или на ее упаковку изготовителем или уполномоченным изготовителем лицом, должна в обязательном порядке быть выполнена.
На игрушку не должна наноситься предупредительная информация, которая вступает в противоречие с предполагаемым использованием игрушки, определяемым ее назначением, размерами и характеристиками.
Предупредительной информации должно предшествовать слово "Предупреждение" или "Предупреждения", в зависимости от ситуации (т.е. вместо повторения слова "Предупреждение" перед каждым предупреждением, когда их несколько из указанных в разделе 7, допускается однократное использование слово "Предупреждения"). За словами "Предупреждение" или "Предупреждения" может следовать знак пунктуации, например, восклицательный знак.
Изготовитель должен наносить предупредительную информацию на игрушку, этикетку или на упаковку таким образом, чтобы она была доступной, легкочитаемой и достоверной, а предупреждения указывать в инструкции по применению.
Исходя из этого, в следующих подразделах будет указано место расположения предупреждений (на самой игрушке, на упаковке, в инструкциях по применению, в рекламных проспектах). Предупреждения, оказывающие влияние на принятие решения о покупке игрушки, должны наноситься на потребительскую упаковку или, в других случаях, должны быть отчетливыми и доступными для потребителя до совершения покупки.
Игрушки небольших размеров, которые продаются без потребительской упаковки (например, из демонстрационной коробки или из автомата для продажи), должны иметь соответствующие предупреждения, прикрепленные к ним. Во всех случаях предупреждение должно быть легко читаемым на месте реализации. Недостаточно наносить предупреждение(ия) только на демонстрационную коробку.
Примечание - Требование, указывающее на то, что предупреждения должны быть доступны для потребителя во время совершения покупки, применимо также и в тех случаях, когда совершаются онлайн покупки (например, по интернету), по каталогу или иным способом, и при этом покупатель не имеет доступа к игрушке в момент совершения покупки.
В следующих подразделах требование о том, что игрушка должна снабжаться предупреждением, означает то, что предупреждение наносится на саму игрушку.
7.2 Игрушки, не предназначенные для детей младше 36 мес (см. 4.22 и А.34)
Требования, содержащиеся в 7.2, не распространяются на игрушки, которые по своим функциям, размерам, характеристикам, свойствам или другим параметрам, явно не предназначены для детей младше 36 мес. Игрушки, которые не предназначены, но могут быть опасными для детей младше 36 мес, должны иметь предупредительную информацию: "Предупреждение. Не предназначена для детей младше 36 месяцев" или "Предупреждение. Не предназначена для детей младше трех лет", совместно с краткой информацией на конкретную опасность, требующую такого ограничения. Опасность является потенциальным источником нанесения ущерба здоровью. Под нанесением ущерба здоровью понимается причинение телесного повреждения или любого другого ущерба здоровью, включая длительные последствия воздействия на здоровье.
При наличии нескольких опасностей должна быть указана хотя бы одна из основных опасностей.
Если опасность (потенциальный источник нанесения ущерба здоровью) не может рассматриваться потребителем как очевидная, указание на опасность должно сопровождаться понятным описанием ущерба здоровью, поясняющим предупреждение в целом (например, "Длинный шнур электропитания. Опасность удушья" или "Маленький шар. Опасность закупорки дыхательных путей").
На возможность нанесения ущерба здоровью можно указать, используя, например, термины "Опасность удушья" или "Опасность закупорки дыхательных путей", так как они являются общепринятыми. Однако, недостаточно указать только вид ущерба здоровью (как, например, "закупорка дыхательных путей", "удушье" и т.д.). В тех случаях, когда такой вид ущерба здоровью может быть причинен в связи с той или иной характеристикой изделия (например, тот факт, что "мелкие детали" могут привести к закупорке дыхательных путей), достаточно указать только саму опасность. Может быть указана опасность, а также вид ущерба здоровью (например, "Мелкие детали. Опасность закупорки дыхательных путей").
Ниже приводятся примеры допустимых предупреждений совместно с кратким указанием на конкретную опасность; при этом во втором примере приводится описание вида ущерба здоровью:
"Предупреждение! Не предназначена для детей младше 36 месяцев. Мелкие детали"
"Предупреждение! Не предназначена для детей младше 36 месяцев. Длинный шнур электропитания. Опасность удушения"
Изготовитель должен предоставить соответствующую информацию об имеющейся(ихся) опасности(ях) при помощи примеров, указанных выше, или при помощи других предупреждений, достигающих того же результата.
Предупреждение, относящееся к определенной группе, должно быть легко читаемым на месте реализации изделия, и должно наноситься либо на саму игрушку, либо на ее упаковку.
Указание на конкретную опасность может содержаться в проспекте или в инструкциях по применению, а не на игрушке или на ее упаковке.
Фраза "Не предназначена для детей младше 36 месяцев" или "Не предназначена для детей младше трех лет" может быть заменена условным графическим обозначением, показанным на рисунке 17.

Рисунок 17 - Условное графическое обозначение для маркировки с предупреждающим указанием возрастной группы
Условное графическое обозначение для маркировки с предупреждающим указанием возрастной группы, должно сопровождаться словом "Предупреждение".
Элементы условного графического обозначения должны быть выполнены:
- окружность и пересекающая линия - красного цвета или черного цвета;
- фон круга - белого цвета;
- возрастная группа, для которой игрушка не предназначена, и контуры лица - черного цвета;
- минимальный диаметр условного графического обозначения должен быть не менее 10 мм, а пропорции между отдельными элементами должны соответствовать рисунку 17.
Во избежание ошибочного истолкования условного графического обозначения он должен использоваться только для указания возрастной группы от 0 до 3 лет, а не любой другой возрастной группы.
7.3 Мячи из латекса (см. 4.12 и А.16)
На упаковке мячей, изготовленных из натурального латекса, должна быть приведена предупредительная информация:
"Предупреждение! Для детей младше восьми лет существует опасность закупорки дыхательных путей или удушья в результате проглатывания ненадутого или лопнувшего мяча. Необходим контроль взрослых. Храните ненадутые мячи вдали от детей. Сразу же избавляйтесь от лопнувших мячей".
На упаковке мячей, изготовленных из натурального латекса должна быть надпись "Изделия из натурального латекса".
При отсутствии упаковки, данная информация должна содержаться на самих мячах и/или в эксплуатационных документах, прилагаемым к мячам.
7.4 Игрушки для игры на воде (см. 4.18 и А.23)
Игрушка для игры на воде и ее упаковка должны иметь предупредительную информацию:
"Предупреждение. Игрушки предназначены только для использования на мелководье только под присмотром взрослых".
Предупредительная информация должна быть долговечной и иметь цвет, контрастный цвету игрушки. Высота букв должна быть не менее 3 мм, а на надувных игрушках для игр на воде предупреждающая информация должна располагаться на расстоянии не более 100 мм от клапана.
Рекламные проспекты не должны вводить в заблуждение, что ребенок, играя с этой игрушкой в воде без присмотра, находится в безопасности.
7.5 Функциональные игрушки (см. А.35)
Функциональная игрушка или ее упаковка должны иметь предупредительную информацию:
"Предупреждение! Пользоваться только под непосредственным присмотром взрослых".
Кроме того, к такой игрушке должны быть приложены инструкция по применению и информация о мерах предосторожности. Следует обращать внимание на то, что при несоблюдении мер предосторожности могут возникать опасные ситуации, которые необходимо указать. Ситуации, как правило, связаны с изделиями, аналогом которых является игрушка. Необходимо предупреждать также о том, что игрушку следует хранить в местах, недоступных маленьким детям.
7.6 Функционально доступные острые кромки и концы (см. 4.7 и 4.8)
Игрушка, имеющая острые функционально обоснованные кромки (см. 8.11, острые кромки) или функционально обоснованные концы (см. 8.12, острые концы), должна содержать на упаковке и в приложенной инструкции по применению информацию об опасности, исходящей от острых концов и кромок.
7.7 Снаряды [см. 4.17.3, перечисление с) и 4.17.4, перечисление с)]
7.7.1 Игрушки, содержащие снаряды, и способные запускать элементы, отличные от входящих в комплект игрушки
Игрушки, содержащие снаряды, и способные запускать элементы, отличные от входящих в комплект игрушки, должны сопровождаться инструкциями по использованию, в которых должно быть указано об опасности применения снарядов, не рекомендуемых для использования или не поставляющихся изготовителем.
7.7.2 Игрушки, способные запускать снаряды с кинетической энергией более 0, 08 Дж
Игрушки, способные запускать снаряды с кинетической энергией более 0, 08 Дж, должны иметь предупредительную информацию, нанесенную на игрушку и/или на ее упаковку, а также содержащуюся в инструкциях по применению:
"Предупреждение! Не целиться в лицо или глаза".
7.8 Защитные маски и шлемы (см. 4.14.2 и А.19)
Игрушки, имитирующие защитные маски и шлемы (например, мотоциклетные шлемы, строительные и пожарные каски), а также их упаковка, если таковая имеется, должны иметь предупредительную информацию:
"Предупреждение! Игрушка не является средством защиты".
7.9 Воздушные змеи (см. 4.13)
Воздушные змеи и другие летающие игрушки со шнурами, длина которых превышает 2 м, должны иметь предупредительную информацию:
"Предупреждение! Не использовать вблизи высоковольтных линий электропередач или во время грозы".
7.10 Роликовые коньки, роллеры и скейтборды для детей и аналогичные игрушки для катания (см. 4.15.1.2 и А.20)
7.10.1 Роликовые коньки, роллеры и скейтборды для детей
Роликовые коньки, роллеры и скейтборды для детей, продающиеся как игрушки, должны иметь предупредительную информацию:
"Предупреждение! Рекомендуется надевать средства защиты. Не предназначены для детей с массой тела более 20 кг".
7.10.2 Игрушки без тормозного устройства
Игрушки без тормозных устройств, соответствующие требованиям 4.15.1.2, должны иметь предупредительную информацию:
"Предупреждение! Игрушка не имеет тормоза".
7.10.3 Игрушки с электрическим приводом
Игрушки с электрическим приводом, соответствующие требованиям 4.15.1.2, и/или их упаковка, а также прилагаемые инструкции по эксплуатации должны иметь следующее предупреждение:
"Предупреждение! Необходимо надевать средства защиты. Не использовать на дорогах".
Игрушки для катания с электрическим приводом и/или их упаковка, а также прилагаемые инструкции по эксплуатации, должны содержать следующие предупреждения, которые должны быть доступны для потребителя на местах реализации:
- предупреждение, предшествующее слову "Предупреждение", которое привлекает внимание к потенциальным опасностям, связанным с использованием игрушки в местах, не являющимися частными земельными владениями;
- предупреждение, касающееся определенной возрастной группы, для которой предназначена игрушка, в отношении ограничений, указанных в 4.15.1.8:
"Предупреждение! Эта игрушка не предназначена для детей младше 3 лет в связи с ее максимальной скоростью", или
"Предупреждение! Эта игрушка не предназначена для детей младше 6 лет в связи с ее максимальной скоростью".
7.10.4 Инструкции по эксплуатации
Дополнительная и предупреждающая информация для игрушек, предназначенных для катания ребенка с определенной массой и отличающихся от детских велосипедов и самокатов, соответствующих требованиям 4.15.1.2, указанные в инструкции по эксплуатации, должна содержать:
- безопасные зоны для катания;
- рекомендацию по нахождению детей младшего возраста под присмотром взрослых;
- инструкции для детей, касающиеся надлежащей эксплуатации игрушки, в частности по использованию тормозного устройства;
- напоминание о том, что игрушкой можно пользоваться с соблюдением необходимых мер безопасности, так как, во избежание падений и столкновений, приводящих к травмам пользователя или третьего лица, необходимо иметь определенные навыки.
Если игрушка содержит предупреждающую информацию относительно средств защиты, в инструкциях по эксплуатации должны быть приведены соответствующие указания по эксплуатации, касающиеся рекомендованных средств защиты (шлема, перчаток, наколенников, налокотников и т.д.).
7.11 Игрушки, предназначенные для подвешивания над колыбелью, кроватью или коляской, или поперек них [см. 5.4, перечисление f)]
Игрушки, на которые распространяются требования 5.4, перечисление f), и их упаковка, должны иметь предупредительную информацию:
"Предупреждение! Убрать игрушку, как только ребенок начнет ползать, чтобы избежать опасности травмирования шнуром, образующим петлю".
7.12 Зубные кольца с жидким наполнителем (см. 5.5)
Зубные кольца с жидким наполнителем и их упаковка должны иметь предупредительную информацию: "Предупреждение! Охлаждать только в холодильнике. Не помещать в морозильную камеру".
7.13 Пиротехнические и запальные устройства, предназначенные для игрушек (см. 4.19)
Упаковка этих устройств должна содержать предупредительную информацию: "Предупреждение! Не применять в помещении и вблизи глаз и ушей. Не носить в карманах без упаковки".
7.14 Акустические характеристики (см. 4.19 и 4.20)
Игрушечный музыкальный ударный инструмент и игрушки с пистонами, издающие высокий импульсный звук, или их упаковка, должны иметь предупреждающую информацию:
"Предупреждение! Не использовать вблизи уха! Неправильная эксплуатация может стать причиной повреждения слуха".
Для игрушек с пистонами, дополнительно должна иметь следующую предупреждающую информацию:
"Не стрелять внутри помещений! Допускается использовать только пистоны, рекомендованные изготовителем".
7.15 Игрушечные велосипеды (см. 4.15.2.2)
Игрушечные велосипеды и их упаковка должны иметь предупредительную информацию:
"Предупреждение! Надевать средства защиты. Не использовать на дорогах общего пользования".
Инструкции по эксплуатации должны содержать указание о том, что игрушкой можно пользоваться с соблюдением необходимых мер безопасности, например, во избежание падений и столкновений, приводящих к травмам пользователя или третьего лица, необходимо иметь определенные навыки. Инструкции по эксплуатации должны также содержать указание по эксплуатации, касающееся применения рекомендованных средств защиты, а также информацию, которую необходимо объяснить ребенку:
- инструкции для детей, касающиеся правильного использования тормозных устройств;
- напоминание о том, что велосипед не предназначен для эксплуатации на дорогах общего пользования.
7.16 Игрушки, несущие на себе массу ребенка (см. 4.15.1.2, 4.15.2.2, 4.15.3 и 4.15.4)
Игрушки, не предназначенные по своей конструкции прочности дизайну или другим причинам для детей старше 36 мес, а также их упаковка должны содержать предупредительную информацию: "Предупреждение! Не пользоваться детям старше 36 мес".
Данное предупреждение дополняется кратким разъяснением конкретной причины ограничения (например "недостаточная прочность").
Предупредительная информация, относящаяся к возрастной адресованности, должна быть также доведена до покупателя по месту реализации игрушки.
7.17 Игрушки с волокнами из мононитей (см. 5.9)
Игрушки с волокнами из мононитей, прикрепленные к ткани, должны иметь следующую предупредительную информацию в том случае, если длина волокон в распущенном состоянии более 50 мм: "Предупреждение! Игрушка не предназначена для детей младше 10 мес".
7.18 Игрушечные самокаты (см. 4.15.5.2)
Игрушечные самокаты, предназначенные для детей с массой тела менее 20 кг, должны сопровождаться предупредительной информацией:
"Предупреждение! Необходимо надевать средства защиты. Не использовать на дорогах общего пользования. Максимальная масса 20 кг".
Игрушечные самокаты, предназначенные для детей с массой тела менее 50 кг, и их упаковка должны сопровождаться предупреждающей надписью:
"Предупреждение! Необходимо надевать средства защиты. Не использовать на дорогах общего пользования. Максимальная масса 50 кг".
Инструкции по эксплуатации должны содержать указание о том, что игрушкой можно пользоваться с соблюдением необходимых мер безопасности, например во избежание падений и столкновений, приводящих к травмам пользователя или третьего лица, необходимо иметь определенные навыки. Инструкции по эксплуатации должны также содержать указание по эксплуатации, касающееся рекомендованных средств защиты, а также информацию, которую необходимо объяснить ребенку:
- пояснения к предупредительной информации;
- рекомендации по безопасному раскладыванию и складыванию игрушечных самокатов;
- рекомендации о необходимости контроля за блокировкой всех фиксирующих устройств;
- предупреждения об опасности использования на дорогах общего пользования;
- рекомендации об использовании средств защиты: шлема, защитных перчаток для рук и запястий, наколенников и налокотников.
7.19 Игрушки "качалки-лошадки" и аналогичные игрушки (см. 4.15.3 и А.21)
Игрушки "качалки-лошадки" и аналогичные игрушки, в которых поверхность сиденья располагается на уровне более 600 мм от земли, должны иметь следующую предупредительную информацию:
"Предупреждение! Опасность падения. Дети младше 36 мес. не должны сидеть или играть без присмотра взрослых".
Предупреждение должно быть легко читаемым на местах реализации.
7.20 Наборы для опытов по магнетизму и электричеству (см. 4.23.3 и А.51)
Упаковка и инструкции по эксплуатации наборов для опытов по магнетизму и электричеству, предназначенных для детей старше 8 лет, должны иметь следующую предупредительную информацию:
"Предупреждение! Не подходит для детей младше 8 лет. Данное изделие содержит небольшой(ие) магнит(ы). В случае проглатывания магниты могут притянуться друг к другу и привести к серьезным травмам. Если магнит(ы) был(и) проглочен(ы), немедленно обратитесь за медицинской помощью".
Данное предупреждение не требуется для наборов для опытов по магнетизму и электричеству, в которых все магниты имеют показатель магнитного потока менее 0, 5 Тл2мм2 (50 кгс2мм2) при испытании по 8.35 (показатель магнитного потока) или полностью не помещаются в цилиндр при испытании по 8.2 (цилиндр для мелких деталей).
7.21 Игрушки со шнуром электропитания, длина которого превышает 300 мм [см. 5.4, перечисление i)]
Игрушки, со шнуром электропитания, длина которого превышает 300 мм, предназначенные для детей младше 36 мес. и их упаковка должны иметь следующую предупредительную информацию:
"Предупреждение! Длинный шнур электропитания. Опасность удушья".
7.22 Игрушки, содержащие шнуры или цепи и предназначенные для детей от 18 до 36 мес. [см. 5.4, перечисления b), с) и g)]
Игрушки, предназначенные для детей в возрасте от 18 до 36 мес, соответствующие требованиям раздела 5.4, и их упаковка должны иметь следующую предупредительную информацию:
"Предупреждение! Не подходит для детей младше 18 мес. Длинный шнур/Длинная цепь. Опасность удушения".
Предупреждение, относящееся к возрастной группе, должно быть легко читаемым на местах реализации.
8.1 Общие требования
В настоящем разделе установлены значения усилий и/или нагрузки, применяемые при проведении испытаний игрушек для детей различных возрастных групп. Если возрастная группа не установлена или игрушку можно применять для различных возрастных групп, а также если возникают сомнения, для какой возрастной группы она предназначена, то в этом случае игрушку подвергают испытаниям в наиболее жестких условиях.
Испытания должны проводиться в установленной последовательности. Если при проведении испытаний материал игрушки поврежден испытательным устройством, то последующие испытания(ие) следует проводить на другой игрушке.
8.2 Цилиндр для мелких деталей (см. 4.6, 4.11, 4.18, 4.23.2, 4.23.3, 4.25, 5.1, 5.2 и А.36)
Игрушку или детали игрушки в любом положении помещают в цилиндр, размеры которого указаны на рисунке 18. Игрушку помещают без нажима.
Требуется определить, помещается ли игрушка или детали игрушки в цилиндр полностью.

Рисунок 18 - Цилиндр для мелких деталей
8.3 Испытание крутящим моментом (см. 4.6, 4.11, 4.14.2, 4.17, 4.18, 4.22, 4.23.2, 4.25, 5.1, 5.10, 5.12, 5.13 и раздел 6)
Если конструкция игрушки позволяет, то проверяемую деталь необходимо зажать между большим и указательным пальцем, а затем в течение 5 с медленно поворачивать, постепенно раскручивая по часовой стрелке до тех пор, пока:
a) не будет достигнут поворот на 180° относительно исходной позиции, или
b) не будет достигнут крутящий момент - 0, 34 Н·м.
Максимальное вращательное движение или требуемый крутящий момент необходимо сохранять в течение 10 с. После этого испытуемую игрушку останавливают. Данный процесс повторяют в направлении против часовой стрелки.
Выступающие части, а также другие детали и элементы, которые неподвижно прикреплены к доступному стержню или валу, вместе с которым они вращаются, должны пройти испытание, при котором стержень или вал стопорят, чтобы прекратить вращение.
Если во время достижения требуемого крутящего момента происходит ослабление крепления детали, то вращение продолжают до полного отсоединения детали и до тех пор, пока при превышении требуемого крутящего момента станет очевидным, что деталь не отсоединится.
8.4 Испытание растяжением (см. А.37)
8.4.1 Оборудование для испытания
8.4.1.1 Машина для испытания на растяжение или устройство для приложения нагрузки, позволяющие прикладывать усилие не менее 90, 0 Н с точностью до 2 Н.
8.4.1.2 Зажимы и ремни крепления
8.4.1.3 Щуп толщиной (0, 40 ± 0, 02) мм и радиусом скругления около 3 мм (см. рисунок 19).

1 - кромки не показаны; 2 - радиус вставляемой кромки
Рисунок 19 - Щуп
8.4.2 Проведение испытания
8.4.2.1 Общие положения (см. 4.6, 4.11, 4.14.2, 4.17, 4.18, 4.22, 4.23, 4.25, 5.1, 5.3, 5.10, 5.12, 5.13 и раздел 6)
Если предусмотрены испытания по 8.3 (испытание крутящим моментом) и 8.4 (испытание растяжением), то испытание растяжением проводят после испытания крутящим моментом, при этом обоим испытаниям подвергают одну и ту же деталь.
Если испытуемую деталь нельзя взять большим и указательным пальцами, то определяют, поддается ли испытуемая деталь натяжению, если ввести щуп между деталью и подставкой или корпусом игрушки под углом от 0° до 10° к поверхности игрушки с приложением усилия (10 ± 1) Н. Если щуп вводится глубже чем на 2 мм, то считается, что деталь поддается натяжению.
Если деталь поддается натяжению, то к ней прикрепляют зажим таким образом, чтобы не повредить крепление или игрушку.
Фиксируют игрушку в испытательной установке и прилагают к компоненту растягивающее усилие, используя при этом зажим или другое устройство.
Игрушку закрепляют в испытательном устройстве, после чего при помощи зажима или другого устройства к испытуемой детали прикладывают усилие растяжения:
При испытании снарядов с вакуумной присоской, как зоной удара, при помощи зажима или другого устройства закрепляют вакуумную присоску с одной стороны и торец снаряда с другой (см. рисунок 20). Расстояние между вакуумной присоской и передней кромкой зажима должно быть (57 ± 1) мм или, если снаряд короткий, то зажимы устанавливаются на максимальном расстоянии друг от друга. Данное расстояние измеряется, когда вакуумная присоска находится в нормальном состоянии. Такое расстояние позволяет крепить зажимы к снарядам, имеющим минимальную допустимую длину (57 мм), а также позволяет обнаружить все слабые точки на стержне (т.е. такие слабые точки, которые при воздействии растягивающего усилия могут привести к деформации детали стержня, имеющей длину менее 57 мм). При испытании снарядов, в которых вакуумная присоска и стержень не являются литой деталью, следует добиться того, чтобы вакуумная присоска не была прикреплена к стержню при выполнении испытания.

Рисунок 20 - Пример прикрепления зажимов при испытании снарядов с вакуумными присосками
Прикладывают усилие растяжения:
- (50, 0 ± 2) Н, если самый большой размер доступной части игрушки составляет не более 6 мм;
- (90, 0 ± 2) Н, если самый большой размер доступной части игрушки составляет более 6 мм;
- (25 ± 2) Н, если зажимаемая деталь состоит полностью из картона.
Значение усилия увеличивают постепенно в течение 5 с. Игрушку выдерживают под действием приложенного усилия в течение 10 с, после чего проверяют - отсоединилась ли деталь.
Определяют, не была ли отделена деталь или вакуумная присоска, и не был ли сломан стержень снаряда.
Определяют, соответствует ли снаряд требованиям настоящего стандарта.
Если зажим или другое устройство привело к повреждению снаряда, то либо прижимают вакуумную присоску и прикладывают к ней крутящий момент и растягивающее усилие (например, путем прикрепления груза к зажиму при удерживании стержня между большим и указательным пальцами), или приклеивают клеем вакуумную присоску к ровной поверхности, а затем проводят испытание на кручение и испытание на разрыв, как это описано выше. Следует проявлять осторожность, чтобы растворители, которые могут выделиться из клея, не изменили бы свойства материала вакуумной присоски или детали, фиксирующей ее на стержне, и не привели бы к ложным результатам испытания.
8.4.2.2 Швы и материалы (см. 4.23.2 и 5.2)
а) Мягконабивные игрушки, имеющие мелкие детали
Применяются зажимы для испытаний на растяжение с колодками, к которым прикрепляются подкладочные шайбы диаметром 19 мм.
Перед испытанием одежда, находящаяся в комплекте с игрушкой, должна быть снята. Зажимы для испытаний на растяжение прикрепляют к наиболее ненадежному месту покрытия (например, шов между ногой и туловищем), на одинаковом расстоянии от него, которое не должно быть менее 30 мм.
К материалу, из которого одежда изготовлена, прикрепляют зажимы для испытаний на растяжение. Их обычно прикрепляют в любом месте тканого или ворсового покрытия. Количество материала должно быть достаточным для осуществления его надежного закрепления в 19-миллиметровых колодках, к которым прикладывается растягивающее усилие.
Если материала не хватает для осуществления его надежного закрепления в 19-миллиметровых колодках, к которым прикладывается растягивающее усилие, то испытание на разрыв должно проводиться не поперек шва, а на другой подходящей детали (например, конечности).
Растягивающее усилие между двумя зажимами увеличивают постепенно в течение 5 с до значения усилия (70, 0 ± 2) Н. Время выдержки под воздействием усилия - 10 с.
На этом участке поверхности материала или шва испытание проводят только один раз.
Определяют, может ли передняя часть испытательного пальца типа А проникнуть через шов или материал при максимальном приложенном усилии 10 Н.
b) Другие мягконабивные игрушки
Процедура испытаний должна соответствовать, описанной в первых четырех абзацах 8.4.2.2. Определяют, может ли передняя часть испытательного пальца 12+0, 1 мм с полностью скругленным торцом проникнуть через шов или материал при максимально приложенном усилии 10 Н.
8.4.2.3 Защитные детали (см. 4.9 и 4.17.1)
К испытуемой детали прикладывают усилие (60, 0 ± 2) Н постепенно в течение около 5 с. Время выдержки под действием усилия - 10 с.
Устанавливают, не произойдет ли отсоединение частей или деталей игрушки.
8.5 Испытание падением (см. 4.5, 4.6, 4.10.2, 4.14.2, 4.22, 4.23.2, 4.25, 5.1, 5.10, 5.12 и 5.13)
Игрушку с высоты (850 ± 50) мм пять раз роняют на стальную пластину толщиной 4 мм, лежащую на неподвижной горизонтальной подставке, имеющую полимерное покрытие толщиной 2 мм с твердостью по Шору А (75 ± 5), измеренное по EN ISO 868 или ISO 7619-2.
Перед падением игрушку ориентируют так, чтобы в результате падения ее на стальную плиту удар приходился бы на ее наиболее уязвимое место.
Проверяют, возникли ли трещины или разрушения на поверхности корпуса игрушки, предназначенной для грудных детей, которые еще не могут самостоятельно сидеть, и не становятся ли доступными, имеющиеся в них мелкие детали (8.2, цилиндр для мелких деталей), острые кромки (8.11, острые кромки), острые концы (8.12, острые концы) или опасные приводные механизмы (4.10.2, приводные механизмы).
8.6 Испытание опрокидыванием (см. 4.10.2, 4.22, 4.23.2, 5.1, 5.10, 5.12 и 5.13)
Игрушку устанавливают на горизонтальную подставку, описанную в 8.5 (испытание падением), и трижды медленно толкают игрушку так, чтобы она теряла равновесие и опрокидывалась, при этом толчок должен приходиться на наиболее неустойчивое место. Усилие при опрокидывании постепенно прикладывается в горизонтальном направлении до значения не более 120 Н. Точка приложения усилия должна находиться на высоте 1500 мм от горизонтальной подставки или у верхней кромки игрушки высотой менее 1500 мм. Для предотвращения соскальзывания или покачивания игрушки применяется жесткая ступенька высотой (25 ± 2) мм.
Во время проведения испытания следует удерживать точку приложения усилия к игрушке в одном и том же месте, а прилагаемое усилие должно сохраняться в горизонтальной плоскости.
Испытание прекращают, если игрушка соскальзывает с жесткой ступеньки или качается, но не опрокидывается.
Если для потери равновесия игрушки требуется усилие более 120 Н, или если точка приложения усилия относительно горизонтальной плоскости превышает 1800 мм, то испытание опрокидыванием не проводят.
Примечание - Размер 1800 мм соответствует росту 95 % детей в возрасте 14 лет.
Игрушки, оснащенные крепежными устройствами и предназначенные для жесткого крепления (например в бетоне) в соответствии с инструкциями изготовителя, не должны подвергаться испытанию опрокидыванием.
Следует определить, не становятся ли доступными мелкие детали (8.2, цилиндр для мелких деталей), острые кромки (8.11, острые кромки), острые концы (8.12, острые концы) или опасные приводные механизмы (4.10.2, приводные механизмы) и не были ли отделены маленькие шары (4.22 и 5.10, маленькие шары) или игрушки полусферической формы (5.12, игрушки полусферической формы).
8.7 Испытание ударом (см. 4.5, 4.6, 4.10.2, 4.14.2, 4.22, 4.23.2, 4.25, 5.1, 5.10, 5.12, 5.13 и А.38)
Игрушку устанавливают на ровную горизонтальную стальную поверхность в неблагоприятном положении. С высоты (100 ± 2) мм роняют на нее металлический груз массой (1 ± 0, 02) кг, который равномерно распределяется по поверхности диаметром (80 ± 2) мм.
Испытание проводят один раз.
Проверяют, возникли ли трещины или разрушения на поверхности корпуса игрушки для грудных детей, которые еще не могут самостоятельно сидеть, и не становятся ли доступными имеющиеся в них мелкие детали (8.2, цилиндр для мелких деталей), острые кромки (8.11, острые кромки), острые концы (8.12, острые концы) или опасные приводные механизмы (4.10.2, приводные механизмы).
8.8 Испытание давлением (см. 4.6, 4.14.2, 4.22, 4.23.2, 4.25, 5.1, 5.10, 5.12, 5.13 и А.39)
Каждая доступная часть поверхности игрушки, не соприкасающаяся с опорной поверхностью во время испытания падением (8.5) или во время испытания опрокидыванием (8.6), должна пройти испытание давлением.
Игрушку устанавливают на ровную неподвижную поверхность таким образом, чтобы испытуемая часть игрушки была повернута вверх. Через металлическую шайбу диаметром (30 ± 1, 5) мм к испытуемой поверхности прикладывают усилие (110 ± 5) Н. Наружный контур шайбы должен быть обязательно круглым. Значение усилия увеличивают постепенно до заданного в течение 5 с. Время выдержки под действием усилия - 10 с.
Проверяют, возникли ли трещины или разрушения на поверхности корпуса игрушки, предназначенной для грудных детей и не стали ли доступными имеющиеся в них мелкие детали (8.2, цилиндр для мелких деталей), острые кромки (8.11, острые кромки), острые концы (8.12, острые концы) или опасные приводные механизмы (4.10.2, приводные механизмы).
8.9 Испытание намачиванием (см. 4.11, 5.1, 5.10 и 5.12)
Игрушку или испытуемую деталь в течение 4 мин полностью погружают в емкость с водой температурой (20 ± 5) °С, не содержащей минеральных веществ. Игрушку вынимают и оставляют на 10 мин при комнатной температуре, после чего стряхивают остатки воды.
Испытательный цикл повторяется 4 раза.
После последнего испытательного цикла определяют, можно ли будет отсоединившуюся часть игрушки полностью поместить в цилиндр по 8.2 (цилиндр для мелких деталей).
8.10 Доступность составных частей или деталей (см. 4.5, 4.7, 4.8, 4.10.2, 4.10.4, 4.15.1.3, 4.21, 5.2 и 5.7)
8.10.1 Общие положения
Испытательный палец подводят к испытуемой части или детали. Если происходит касание, то данная часть или деталь считается доступной.
8.10.2 Испытательное устройство
Испытательное устройство согласно рисунку 21 представляет собой испытательный палец, изготовленный из твердого материала, размеры которого соответствуют приведенным в таблице 3. Предельные отклонения для размеров f и g составляют ± 1 мм, а для всех остальных размеров - ± 0, 1 мм.
8.10.3 Проведение испытания
С игрушки снимают все детали, которые возможно снять без помощи инструмента.
Примечание - Если для игрушки предусмотрено применение инструмента, то все отсоединяемые детали следует снять при помощи этого инструмента.
Испытательный палец конкретного типа подводят в соответствии с 8.10.3, перечисления а), b) и с), к обследуемой части или детали игрушки в наиболее удобном для контакта положении. Для улучшения этой возможности палец следует поворачивать на разные углы с помощью шарниров.
Примечание
1 Каждый шарнир испытательного пальца можно поворачивать только до 90°, имитируя движения сустава.
2 Если деталь, соприкасающаяся с испытательным пальцем, является концом, граничащим с ровной поверхностью и отстающим от нее на расстоянии не более 0, 5 мм, то этот конец считается недоступным и испытание по 8.10.3, перечисление b), проводить не требуется.

1 - шарниры; 2 - закругление в форме полусферы радиусом (Ra); 3 - кольцо; 4 - удлинитель
Рисунок 21 - Испытательный палец
|
Возрастная группа |
Тип испытательного пальца |
Размеры испытательного пальца, мм | ||||||
|
Ra |
b |
с |
d |
е |
f |
g | ||
|
Игрушки для детей до 36 мес. |
А |
2, 8 |
5, 6 |
25, 9 |
14, 7 |
44, 0 |
25, 4 |
464, 3 |
|
Игрушки для детей от 36 мес. до 14 лет |
В |
4, 3 |
8, 6 |
38, 4 |
19, 3 |
57, 9 |
38, 1 |
451, 6 |
|
Игрушки для детей обеих возрастных групп |
А и В (следует применять оба испытательных пальца) |
То же | ||||||
a) Если минимальный размер отверстий, углублений или канавок (см. примечание 4) меньше, чем диаметр кольца испытательного пальца, то в этом случае используется вся доступная поверхность проникновения и палец вводят до упора в кольцо.
Примечание - Минимальный размер отверстия - диаметр самого большого шара, который можно поместить в отверстие.
b) Если минимальный размер отверстий углублений или канавок больше, чем диаметр кольца испытательного пальца:
- но меньше 187 мм (испытательный палец типа А) или
- меньше 230 мм (испытательный палец типа В), то доступная глубина проникновения определяется путем введения удлинителя испытательного пальца, приведенного на рисунке 21, в произвольном направлении на глубину, кратную 2, 25 минимального размера отверстия (углубления или вмятины). При этом глубину измеряют в любой точке отверстия.
c) Если минимальный размер отверстий, углублений или канавок составляет:
- не менее 187 мм (испытательный палец типа А) или
- не менее 230 мм (испытательный палец типа В),
то глубина проникновения не ограничена, если внутри этих отверстий, углублений или канавок не будут установлены еще другие отверстия, размеры которых соответствуют перечислениям а) или b). В этом случае следует руководствоваться требованиями, указанными в а) или b). Если используются оба испытательных пальца, то определяется неограниченный доступ, причем исходят из минимального размера в 187 мм.
Устанавливают, может ли расположенный перед кольцом элемент испытательного пальца коснуться испытуемой части или детали игрушки для определения доступности (см. примечание 4).
8.11 Острые кромки (см. 4.7, 4.9, 4.10.2, 4.14.2, 4.15.1.3 и 5.1)
8.11.1 Общие положения
Шпинделем, обернутым самоклеящейся лентой, проводят по испытуемой доступной кромке, совершая при этом один поворот на 360°. После этого измеряют длину надреза на ленте.
8.11.2 Испытательное устройство
8.11.2.1 Требования
Испытательное устройство изображено на рисунке 22.

1 - переносное или стационарное устройство, воздействующее на шпиндель с определенным усилием и обеспечивающее его поворот; 2 - усилие, действующее на ось шпинделя, (6, 0 ± 0, 5) Н; 3 - самоклеящаяся лента, обернутая вокруг шпинделя в один слой; 4 - направление испытательного усилия по отношению к шпинделю - (90° ± 5°); 5 - диапазон регулирования угла для поиска неблагоприятного положения кромки; 6 - шпиндель, осуществляющий при испытании полный оборот
Рисунок 22 - Устройство для испытания остроты кромок
8.11.2.2 Стальной шпиндель
На испытательной поверхности стального шпинделя не должно быть царапин, зазубрин и заусенцев. Шероховатость поверхности Ra должна быть не более 0, 40 мкм при измерении по EN ISO 4287. Испытательная поверхность при измерении по EN ISO 6508-1 должна иметь твердость по Роквеллу С 40 HRC. Диаметр стального шпинделя должен составлять (9, 53 ± 0, 12) мм.
8.11.2.3 Устройство для вращения стального шпинделя
Устройство должно обеспечивать вращение стального шпинделя с постоянной тангенциальной скоростью (23 ± 4) мм/с в среднем на 75 % угла поворота на 360° так, чтобы движение было плавным. Устройство может быть переносным или стационарным, со свободной конструкцией, однако необходимо, чтобы прилагаемое к стальному шпинделю усилие (6, 0 ± 0, 5) Н было направлено под прямым углом к его оси.
8.11.2.4 Самоклеящаяся лента
Самоклеящаяся лента должна быть изготовлена из высокотемпературного, чувствительного к давлению политетрафторэтилена (PTFE).
Толщина основы из политетрафторэтилена должна быть от 0, 066 до 0, 090 мм. Клеящий слой должен быть изготовлен из чувствительного к давлению силиконового полимера с номинальной толщиной 0, 08 мм. Минимальная ширина ленты должна составлять 6 мм. При испытании температура ленты должна быть (20 ± 5) °С.
8.11.3 Проведение испытания
В соответствии с методом по 8.10 (доступность составных частей или деталей) следует определить, являются ли испытуемые кромки доступными.
Игрушку закрепляют так, чтобы испытуемая доступная кромка под воздействием шпинделя (8.11.2.3) не прогибалась и не сдвигалась. Необходимо, чтобы игрушка закреплялась в месте, находящемся на расстоянии не более 15 мм от испытуемой доступной кромки.
Если для испытания конкретной кромки необходимо снять или демонтировать часть игрушки, что может повлиять на жесткость кромки, то эту кромку следует закрепить так, чтобы ее жесткость удовлетворяла жесткости кромки собранной игрушки.
На стальной шпиндель наматывают слой самоклеящейся ленты (8.11.2.4) так, чтобы образовалась достаточная испытательная поверхность.
Стальной шпиндель с самоклеящейся лентой размещают так, чтобы его ось образовала угол в (90 ± 5)° к прямой кромке, или, если кромка кривая, размещают по касательной к испытуемой точке. Таким образом, при повороте стального шпинделя самоклеящаяся лента соприкасается с самой острой частью кромки (неблагоприятный случай) (см. рисунок 22).
К шпинделю в середине ленты прикладывают усилие (6 ± 0, 5) Н. При повороте на 360° вокруг своей оси шпиндель одновременно прижимают к кромке так, чтобы во время поворота кромка и шпиндель были неподвижны относительно друг друга. Если при этом кромка прогибается, то усилие уменьшают настолько, чтобы прогиба не образовывалось.
При снятии ленты со стального шпинделя необходимо проследить за тем, чтобы размеры ни одного из надрезов в ленте не увеличивались и ни один из заусенцев не превратился бы в надрез. Длину надрезов в ленте вычисляют с учетом длины прерванных надрезов. Затем измеряют длину той части ленты, которая при испытании соприкасалась с кромкой. На основании полученных результатов вычисляют процент длины ленты, надрезанной во время испытания. Если общая длина надрезов более 50 % длины ленты, которая соприкасалась с кромкой, то кромка считается острой.
8.12 Острые концы (см. 4.5, 4.8, 4.9, 4.10.2, 4.14.2, 4.15.1.3, 5.1 и А.40)
8.12.1 Общие положения
Устройство для испытания остроты концов предназначено для выявления доступных концов. Проверяется, может ли испытуемый конец определенного размера войти в испытательное устройство.
8.12.2 Испытательное устройство
Устройство для испытания остроты концов (пример конструкции приведен на рисунке 23).
На фронтальной поверхности устройства находится прямоугольная калибровочная щель с номинальными размерами: ширина (1, 02 ± 0, 02) мм и длина (1, 15 ± 0, 02) мм, которые являются двумя контрольными размерами. Измерительная головка располагается на расстоянии (0, 38 ± 0, 02) мм позади фронтальной поверхности.
Расстояние между измерительной головкой и возвратной пружиной, действующей с усилием 2, 5-0, 3 Н, составляет (0, 12 ± 0, 02) мм.

1 - калибровочная щель; 2 - калибровочный колпачок и микрометр; 3 - измерительная головка; 4 - возвратная пружина; 5 - запорное кольцо; 6 - измерительный барабан; 7 - контрольная метка; 8 - шкала в микрометрах; 9 - элемент питания; 10 - пружина электрического контакта; 11 - индикаторная лампочка с накидной гайкой; 12 - испытуемый острый конец; 13 - данное расстояние уменьшается до нуля при введении достаточно острого конца, который при проходе через калибровочную щель сжимает измерительную головку на 0, 12 мм. При этом цепь тока замыкается и лампочка загорается. Результат испытаний считается неудовлетворительным
Рисунок 23 - Устройство для испытания острых концов
8.12.3 Проведение испытания
В соответствии с 8.10 (доступность составных частей или деталей) следует установить, является ли испытуемый конец доступным.
Игрушку закрепляют так, чтобы испытуемый доступный конец во время испытания был неподвижен. В большинстве случаев нет необходимости в непосредственном закреплении конца. С другой стороны, игрушка должна быть закреплена в месте, находящемся на расстоянии не менее 6 мм от испытуемой точки.
Если для испытания конкретного конца необходимо снять или демонтировать часть игрушки, что может повлиять на его жесткость, то этот конец следует закрепить так, чтобы его жесткость удовлетворяла жесткости конца в собранной игрушке.
Устройство для испытания острых концов (8.12.2) должно быть отрегулировано путем ослабления запорного кольца и поворота по направлению к индикаторной лампочке до тех пор, пока не будет видна на барабане эталонная мерка шкалы микрометра.
Калибровочный колпачок вращают по часовой стрелке, пока не загорится индикаторная лампочка. Затем его вращают против часовой стрелки до тех пор, пока измерительная головка не приблизится к элементу питания на расстояние (0, 12 ± 0, 02) мм, как показано на рисунке 23.
Примечание - Если на калибровочном колпачке расположена шкала микрометра, то расстояние устанавливают при помощи вращения калибровочного колпачка против часовой стрелки до тех пор, пока соответствующая отметка микрометра не совпадет с основным штрихом. Затем при помощи запорного кольца калибровочный колпачок закрепляют в этом положении.
Испытуемый конец вводится в калибровочную щель испытательного устройства в направлении наибольшей жесткости, а возвратная пружина сжимается с усилием 4, 5 Н, при этом испытуемый конец не вдавливается в калибровочную щель и не скользит по ее краям.
Контролируют, загорится ли индикаторная лампочка.
Если испытуемый конец проникнет не менее чем на 0, 50 мм в калибровочную щель в результате чего загорится индикаторная лампочка, а конец под воздействием усилия 4, 5 Н сохранит прежнюю форму, то этот конец считается острым.
8.13 Гибкость металлической проволоки (см. 4.8 и А.41)
8.13.1 Общие положения
Металлическая проволока с покрытием или без него подвергается испытанию в том состоянии, в котором она находится в игрушке (т.е. она не вынимается из игрушки).
Металлическую проволоку закрепляют между двумя металлическими цилиндрами диаметрами (10, 0 ± 1) мм, зажимают круглогубцами или аналогичным металлическим инструментом. На расстоянии 50 мм от места крепления проволоки или на ее конце, если проволока выступает менее чем на 50 мм от места закрепления, прикладывают усилие (70, 0 ± 2) Н, направленное под прямым углом к проволоке. Если проволока сгибается более чем на 60°, то следует поступать следующим образом.
Проволоку из исходного вертикального положения сгибают под углом 60°, а затем - на 120° в другую сторону и вновь возвращают в исходное положение. Этот процесс составляет один цикл.
8.13.2 Металлическая проволока и другие сгибающиеся металлические детали
Испытание включает 30 циклов при продолжительности одного цикла 2 с, приведенные в 8.13.1 (общие положения). После каждых 10 циклов делают паузу 60 с. Для гарантии, что проволока сгибается непосредственно у места закрепления, во время испытания она должна быть натянутой.
Проволоку проверяют на наличие изломов или острых концов (8.12). Имеющееся покрытие может быть удалено для обеспечения достоверности проверки.
8.13.3 Металлическая проволока, которая может сгибаться
Проводят один цикл испытаний, приведенный в 8.13.1 (общие положения). Проволоку проверяют на наличие изломов или острых концов (8.12). Имеющееся покрытие может быть удалено для обеспечения достоверности проверки.
8.14 Набухающие материалы (см. 4.6)
Перед началом испытания игрушку или ее съемную деталь выдерживают не менее 7 ч при температуре (20 ± 5) °С и относительной влажности воздуха от 40 % до 65 %. Штангенциркулем измеряют наибольшие размеры игрушки или съемных деталей по направлениям х, у и z. Игрушку или ее детали погружают в емкость с водой, не содержащей минеральных веществ, при температуре (37 ± 3) °С на (24 ± 0, 5) ч. Требуется такое количество воды, чтобы игрушка или детали оставались под водой по окончании проведения испытания.
Игрушку или ее съемную деталь щипцами (пинцетом) вынимают из емкости, количество воды должно быть достаточным. Если из-за недостаточной механической прочности они полностью не вынимаются, то испытание считается положительным.
Излишкам воды дают стечь в течение 1 мин, после чего вновь измеряют испытываемую игрушку или ее детали.
После повторного проведения измерений повторяют указанную процедуру дважды, начиная с момента, когда игрушка или ее съемная деталь были погружены в деминерализованную воду, не содержащую минеральных веществ, измерения производят после погружения через 24 ч, 48 ч и 72 ч.
Размеры х, у, z вычисляют в процентах по отношению к первоначальным размерам и определяют, превысило ли набухание величины 50 % в любом их направлений через 24 ч, 46 ч или 72 ч.
Если игрушка не удовлетворяет требованиям 4.6 через 24 ч, 46 ч или 72 ч, дальнейшее испытание не проводится.
8.15 Герметичность игрушек с жидким наполнителем (см. 5.5 и А.42)
Игрушку выдерживают не менее 4 ч при температуре (37 ± 1) °С.
В течение 30 с после кондиционирования при помощи стальной иглы диаметром (1, 0 ± 0, 5) мм и радиусом закругления конца (0, 5 ± 0, 05) мм к внешней поверхности игрушки прикладывают усилие 5+0, 5 Н.
Значение усилия увеличивают постепенно до заданного в течение 5 с. Время выдержки под действием усилия - 5 с.
После завершения воздействия игрушку проверяют визуально на наличие вытекания жидкости. Дополнительное испытание на герметичность проводят наложением на место, подвергающееся воздействию усилия, бумаги с хлоридом кобальта и вновь прикладывают усилие 5+0, 5 Н, не применяя иглу.
После кондиционирования игрушки не менее 4 ч при температуре (5 ± 1) °С испытание повторяют.
Примечание - После испытания при 5 °С не следует применять бумагу с хлоридом кобальта, так как появление конденсата может исказить результаты испытания.
После проведения испытания игрушку проверяют визуально на наличие вытекающей жидкости.
8.16 Геометрическая форма игрушек (см. 5.8, 5.11 и А.43)
Испытательный шаблон, изображенный на рисунке 24, устанавливают и закрепляют так, чтобы ось отверстия была расположена вертикально, а верхний и нижний доступы к нему были свободными.
![]() | ![]() |
|
Рисунок 24 - Испытательный шаблон А |
Рисунок 25 - Испытательный шаблон В |
Игрушку выпрямляют, чтобы ее можно было пронести через отверстие испытательного шаблона А, и помещают в него без усилия так, чтобы на перемещение игрушки действовала только ее собственная масса.
Определяют, проходит ли игрушка свободно через отверстие или за уровень нижнего основания испытательного шаблона А выступает только ее часть.
Для испытания игрушек со сферическими, полусферическими или закругленными сторонами применяют испытательный шаблон В, изображенный на рисунке 25.
8.17 Износостойкость игрушек, предназначенных для контакта со ртом ребенка (см. 4.11 и А.44)
8.17.1 Игрушки, приводимые в действие ртом, со снарядами или включающие в себя снаряд
Игрушки, приводимые в действие ртом, со снарядами или включающие в себя снаряд, следует заряжать предназначенным для этого снарядом и в течение 5 с оказывать на нее давление в 13, 8 кПа ± 5 % в направлении мундштука.
Испытание повторяют 10 раз.
8.17.2 Другие игрушки, предназначенные для контакта со ртом
К мундштуку игрушки присоединяют поршневой насос, нагнетающий или выталкивающий более 300 см3 воздуха не более чем за 3 с. Предохранительный клапан регулируют так, чтобы насос не допускал превышения или падения давления более чем 13, 8 кПа. Игрушку подвергают попеременно 10 циклам нагнетания и выталкивания, продолжительность каждого цикла 5 с, и воздействуют воздухом объемом (295 ± 10) см3, включая объем воздуха, который может быть вытолкнут через предохранительный клапан. Если выход (выпускное отверстие) внутреннего объема оказывается доступным в ходе испытаний, необходимо обеспечить, чтобы он также удовлетворял вышеуказанным условиям.
Если в результате испытаний появляются отсоединившиеся детали, то их испытывают по 8.2 (цилиндр для мелких деталей).
8.18 Механизмы складывания и скольжения (см. 4.10.1 и А.45)
8.18.1 Нагрузки
Игрушки для использования детьми в возрасте старше 36 мес. нагружают грузом массой (50, 0 ± 0, 5) кг.
Игрушки для использования детьми в возрасте до 36 мес. нагружают грузом массой (25, 0 ± 0, 2) кг.
Испытательные грузы приведены на рисунке 26.

1 - масса 25 кг для детей в возрасте до 36 мес, масса 50 кг для детей в возрасте старше 36 мес; 2 - центр тяжести
Рисунок 26 - Испытательные грузы для определения прочности и устойчивости
8.18.2 Игрушечные кресла и коляски
Игрушку предварительно 10 раз раскладывают и складывают.
a) Игрушечные кресла и коляски, описанные в 4.10.1, перечисление а).
Игрушку с защелкнутыми фиксирующими устройствами устанавливают на горизонтальной поверхности. При этом фиксирующие устройства должны быть в рабочем состоянии. Загружают ее соответствующей массой. Обеспечивается условие, при котором нагрузка передается через раму. При необходимости, чтобы не повредить материал сиденья применяют закрепляющее устройство. Испытательный груз размещают так, чтобы он воздействовал на раму в неблагоприятном положении относительно складывающихся частей. Действие нагрузки должно продолжаться в течение 5 мин.
Следует определить, существует ли возможность частичного раскладывания игрушки без применения какого-либо из фиксирующих устройств. Если это возможно, то испытание проводят для частично разложенной игрушки.
Если сиденье можно снять с корпуса, то испытание проводят также и на корпусе при соответствующем закреплении испытательного груза.
После проведения испытания проверяют, складывается ли игрушка, защелкнуты ли фиксирующие устройства и могут ли функционировать устройства упора.
b) Игрушечные кресла и коляски, описанные в 4.10.1, перечисление b).
Игрушку устанавливают на горизонтальную поверхность и нагружают соответствующим грузом. При этом фиксирующие устройства должны быть в рабочем состоянии. Обеспечивается условие, при котором нагрузка передается через раму. При необходимости, чтобы не повредить материал сиденья применяют закрепляющее устройство. Груз размещают так, чтобы он воздействовал на раму в неблагоприятном положении относительно складывающихся частей. Действие нагрузки должно продолжаться в течение 5 мин.
Следует определить, существует ли возможность частичного раскладывания игрушки без применения какого-либо из фиксирующих устройств. Если это возможно, то испытание проводят для частично разложенной игрушки.
После проведения испытания проверяют, складывается ли игрушка, защелкнуты ли фиксирующие устройства и могут ли функционировать устройства упора.
8.18.3 Игрушки, складывающиеся другим способом (см. 4.10.1, перечисление с)
а) Игрушку раскладывают. Наблюдают, происходит ли отпирание фиксирующих устройств игрушки под углом (30 ± 1)° к горизонтальной поверхности.
в) Игрушку раскладывают под углом (10 ± 1)° в положение, являющееся наиболее неблагоприятным для складывающего устройства. Все фиксирующие устройства защелкивают. В течение 5 мин игрушку подвергают воздействию нагрузки соответствующей массой. Груз размещают на места возможного сидения ребенка и в положении, наиболее неблагоприятном для складывающегося механизма. Обеспечивают передачу нагрузки рамой. При необходимости используют закрепляющее устройство для избежания повреждения материала сиденья (см. А.45).
После проведения испытания проверяют, складывается ли игрушка и произошло ли отпирание фиксирующего устройства.
8.19 Удельное электрическое сопротивление шнуров (см. 4.13)
Испытуемые образцы выдерживают в течение 7 ч при температуре (25 ± 3) °С и относительной влажности воздуха от 50 % до 65 %. Испытание проводится при этих же условиях.
Удельное электрическое сопротивление определяют соответствующим электроизмерительным прибором.
8.20 Толщина шнуров (см. 5.4)
Размер поперечного сечения шнура (см. рисунок 27) определяют при помощи приложения растягивающего усилия (25, 0 ± 2) Н между тремя или пятью точками по длине, применяя при этом измерительный инструмент с погрешностью измерения более 0, 1 мм. Определяют средний размер поперечного сечения с погрешностью до 0, 1 мм. Для шнуров толщиной около 1, 5 мм применяют метод, при котором шнур не сжимается (например, с использованием оптического проектора).

1 - поперечное сечение шнура; 2 - размер поперечного сечения
Рисунок 27 - Пример измерения размера поперечного сечения шнура
8.21 Статическая прочность (см. 4.15.1.3, 4.15.1.5, 4.15.3, 4.15.4 и А.46)
Поверхность игрушки для сидения или стояния подвергают воздействию нагрузки массой (50, 0 ± 0, 5) кг в наиболее неблагоприятном положении в течение 5 мин.
Игрушку, предназначенную для использования детьми до 36 мес, нагружают массой (25, 0 ± 0, 2) кг.
Испытательный груз приведен на рисунке 26.
Если игрушка предназначена для использования детьми различных возрастных групп, то одновременно испытывают все поверхности, предназначенные для сидения или стояния.
Если игрушка по своей конструкции является неустойчивой (например, джамперы), то во время проведения испытания ее следует закрепить.
Если по своей конструкции игрушка неустойчива, и масса ребенка распределятся на различные ее части, то при испытании нагрузку распределяют соответственно. В этом случае применяют испытательные грузы, при которых должно учитываться число точек распределения.
Для игрушечных самокатов испытательная нагрузка должна прилагаться в центре платформы (см. рисунок 28).
У игрушечных самокатов, предназначенных для детей с массой тела менее 20 кг, испытательный груз массой (50, 0 ± 0, 5) кг располагают в центре платформы.
Для других игрушечных самокатов масса испытательного груза должна быть, равна (100, 0 ± 1) кг.
Ориентировочно диаметр опорной поверхности приложения испытательного груза должен составлять 150 мм (см. рисунок 26).

1 - испытательный груз
Рисунок 28 - Испытание статической прочности у игрушечных самокатов
8.22 Динамическая прочность (см. 4.15.1.3)
8.22.1 Общие положения
Испытательный груз надежно закрепляют на игрушке. Шарнирные рычаги нагрузки закрепляют на рулевом колесе или на поручнях, если игрушка соответственно оснащена. Игрушка должна трижды наехать на жесткую ступеньку.
Проверяют, соответствует ли игрушка требованиям настоящего стандарта.
8.22.2 Нагрузки
Должны применяться нагрузки, указанные на рисунке 29 и оснащенные двумя шарнирными рычагами и одной съемной подушкой с ремнями.
Для игрушки, предназначенной для использования детьми в возрасте старше 36 мес, должна применяться нагрузка А массой (50, 0 ± 0, 5) кг.
Для игрушки, предназначенной для использования детьми в возрасте до 36 мес, должна применяться нагрузка В массой (25, 0 ± 0, 2) кг.
Масса шарнирного рычага должна составлять (2, 0 ± 0, 02) кг.
Масса подушки, включая наполнитель из песка и ремни, должна составлять (0, 50 ± 0, 01) кг.
Суммарная масса двух шарнирных рычагов и масса подушки прибавляется к массе груза, что составляет 54, 5 кг для нагрузки А и 29, 5 кг для нагрузки В.
Шарнирные рычаги с шаровыми шарнирами в верхней части игрушки, расположенные непосредственно напротив друг друга, закрепляют так, чтобы рычаги можно было перемещать в любом направлении.
Шарниры на "локтях" двигаются в одном направлении и должны быть фиксируемыми. Шарниры на "запястье" должны двигаться в двух направлениях и быть фиксируемыми. Концы рычагов имеют клеммы, используемые для безопасного крепления рычагов на игрушке.
8.22.3 Проведение испытания
8.22.3.1 Общие положения
К игрушке прикладывают нагрузку с использованием груза с соответствующей массой, воздействуя при этом на поверхность, предназначенную для нахождения в положении стоя или сидя.
При этом игрушка должна находиться в положении, соответствующем ее нормальной эксплуатации. Нагрузку надежно закрепляют на игрушке ремнями. Для избежания непреднамеренного повреждения игрушки в результате применения испытательной нагрузки, должна использоваться подушка, но если очевидно, что никаких повреждений не возникнет, подушку можно не применять.
Клеммы шарнирных рычагов закрепляют ее на рулевом колесе или на поручнях игрушки. При этом игрушка должна находиться в положении, которое соответствует нормальной эксплуатации. Шарниры фиксируют на "локтях" и на "запястье".
Обеспечивают плавное ускорение игрушки, направленное на удар с жесткой ступенькой три раза.
Игрушку с нагрузкой с плавным ускорением и одинаковой конечной скоростью (2, 0 ± 0, 2) м/с, ударяют под прямым углом. Высота ступеньки при этом составляет (50 ± 2) мм. Непосредственно после столкновения с препятствием груз приподнимают, чтобы предотвратить падение игрушки и таким образом избежать ее повреждений, не связанных с целью испытания.
Для игрушек с электрическим приводом скорость в ходе испытания должна составлять либо (2, 0 ± 0, 2) м/с, либо достигать максимальной скорости при испытании по 8.29 (определение максимальной скорости игрушек с электрическим приводом); при этом выбирается меньшее значение скорости.
Примечание
1 При подготовке и проведении испытания должны приниматься соответствующие меры безопасности при использовании испытательного груза массой 50 кг.
2 Для безопасного проведения испытаний рекомендуется закреплять нагрузку посредством каната по тому же принципу, как, например, на подвесной канатной дороге или аналогичном сооружении.
3 Для того чтобы колесо(а) прокатывалось(ись) и ударялось(ись) под прямым углом о жесткую ступеньку, могут использоваться направляющие устройства.
4 Для удержания игрушки и нагрузки во время испытания в вертикальном положении могут использоваться стабилизирующие устройства.
У игрушки, предназначенной для того, чтобы одновременно нести массу нескольких детей, испытаниям одновременно подвергают все места для сидения и стояния.
![]() | ![]() |
|
а) Испытательная нагрузка А - для игрушки, предназначенной для использования детьми в возрасте старше 36 мес. |
b) Испытательная нагрузка В - для игрушки, предназначенной для использования детьми в возрасте до 36 мес. |
|
Места приложения испытательных нагрузок для определения динамической прочности | |||
|
Часть |
Масса, кг |
Диаметр, мм |
Высота, мм |
|
а |
10, 42 |
150 ± 2 |
75 ± 2 |
|
b |
14, 58 |
178 ± 2 |
75 ± 2 |
|
с |
4, 16 |
- |
- |
|
d (любой) |
2, 00 |
- |
- |
|
е |
0, 50 |
- |
- |
1 - центр тяжести; 2 - шаровой шарнир; 3 - шарнир, двигающийся в одном направлении; 4 - шарнир, двигающийся в двух направлениях; 5 - клемма; d - шарнирные рычаги; е - подушка с ремнями (съемными)
Рисунок 29 - Примеры нагрузок для определения динамической прочности
8.22.3.2 Игрушка, предназначенная для использования ребенком в сидячем положении
Клеммы шарнирных рычагов закрепляют на рулевом колесе или на поручнях игрушки. При этом игрушка должна находиться в положении, соответствующем нормальной эксплуатации игрушки. Шарниры фиксируют на "локтях" и на "запястье".
Испытание проводят согласно 8.22.3.1.
Проверяют, соответствует ли игрушка требованиям настоящего стандарта.
8.22.3.3 Игрушка, предназначенная для использования ребенком в стоячем положении
Поверхность игрушки подвергают нагрузке соответствующей массы с использованием платформы высотой (250, 0 ± 25) мм, перемещающей центр тяжести нагрузки на 400 мм выше поверхности для стояния. Нагрузку и платформу надежно закрепляют на игрушке ремнями.
Масса платформы должна составлять (4, 8 ± 0, 2) кг.
Клеммы шарнирных рычагов закрепляют на рулевом колесе или на поручнях.
При этом игрушка должна находиться в положении, соответствующем нормальной эксплуатации игрушки. Шарниры фиксируются на "локтях" и на "запястье".
Испытание проводят согласно 8.22.3.1.
Проверяют, соответствует ли игрушка требованиям настоящего стандарта.
8.22.3.4 Роликовые коньки или игрушка без рулевого колеса или поручней
У роликовых коньков и игрушек без рулевого колеса или поручней шарнирные рычаги должны быть надежно закреплены по сторонам нагрузки. Испытание роликовых коньков должно проводиться парами при помощи платформы, обеспечивающей поддержание нагрузки.
Испытание проводят согласно 8.22.3.1.
Проверяют, соответствует ли игрушка требованиям настоящего стандарта.
8.23 Устойчивость
8.23.1 Игрушки, несущие на себе массу ребенка (см. 4.15.1.4, 4.15.3 и 4.15.4)
Поверхности игрушки для сидения и стояния нагружают грузом массой (50, 0 ± 0, 5) кг в наиболее неблагоприятном положении.
Игрушку, предназначенную для использования детьми в возрасте до 36 мес, нагружают грузом массой (25, 0 ± 0, 2) кг.
Применяют испытательные грузы согласно рисунку 26.
Игрушку с грузом проверяют на устойчивость в наиболее неблагоприятном положении на поверхности с углом наклона (10 ± 1)°.
Если предусмотрено, что игрушка предназначена одновременно нести массу более чем одного ребенка, то одновременно испытывают все места для сидения и стояния ребенка.
Игрушка считается выдержавшей испытания, если она не опрокинулась.
8.23.2 Тяжелые неподвижные игрушки (см. 4.16)
Игрушку в наиболее неблагоприятном положении размещают на поверхности с углом наклона (5 ± 1)°. Каждую подвижную часть приводят в наиболее неблагоприятное положение и проверяют на устойчивость.
Игрушка считается выдержавшей испытания, если она не опрокинулась.
8.24 Определение кинетической энергии (см. А.47)
8.24.1 Кинетическая энергия снарядов (см. 4.17.3)
Кинетическая энергия игрушки определяется при обычных условиях с погрешностью измерения 0, 005 Дж. Проводят пять измерений. Результат испытаний - максимальное значение из пяти полученных измерений. Следует проверить, что получен именно максимальный результат.
Если для игрушки предусмотрено более одного типа снарядов, то измеряется кинетическая энергия для снарядов каждого типа.
8.24.2 Кинетическая энергия лука и стрел (см. 4.17.4)
Для лука применяют соответствующие стрелы, а тетиву натягивают с максимальным усилием 30 Н настолько, насколько позволяет лук, но не более 70 мм.
Измеряют кинетическую энергию согласно 8.24.1.
8.25 Полимерная пленка
8.25.1 Толщина пленки (см. 4.3, 5.3 и раздел 6)
8.25.1.1 Устройство для испытания
Устройство для измерения толщины пленки по ISO 4593 с погрешностью до 1 мкм.
8.25.1.2 Проведение испытания
Пакеты из полимерной пленки следует надрезать вдоль шва, не растягивая их при этом настолько, чтобы образовались две отдельные пленки.
Толщину каждой отдельной пленки измеряют в 10 точках, равномерно распределенных по диагонали поверхности 100 х 100 мм. Из полученных значений вычисляют среднее.
8.25.2 Прочность крепления (см. 5.3)
8.25.2.1 Устройство для испытания
Измерительный щуп толщиной (0, 4 ± 0, 02) мм и радиусом скругления вводимого конца около 3 мм (см. рисунок 15).
8.25.2.2 Проведение испытания
Измерительный щуп вводят между деталью и подставкой или между деталью и основным корпусом игрушки под углом от 0° до 10° к поверхности игрушки с усилием (25, 0 ± 2) Н. Измерительный щуп вводят в любом месте отдельного элемента, однако в одно и то же место он не должен вводиться более пяти раз.
Испытание повторяют 30 раз.
Проверяют, может ли щуп проникнуть на глубину более чем на 2 мм.
8.26 Характеристика тормозного устройства
8.26.1 Характеристика тормозного устройства в игрушках, за исключением игрушечных велосипедов (см. 4.15.1.5)
8.26.1.1 Общие положения
Игрушку подвергают воздействию нагрузки по 8.21 (статическая прочность) и устанавливают на поверхность с углом наклона (10 ± 1)°, покрытую шлифовальной бумагой (оксид алюминия Р60). При этом продольная ось игрушки должна была параллельна наклону. В направлении движения рычага тормоза прикладывают усилие (50, 0 ± 2) Н при наличии рычагов, приводимых в действие кистью руки или ногой, или усилие - (30 ± 2) Н при наличии рычагов, приводимых в действие только кистью.
Усилие к рычагу тормоза следует прилагать на удалении 25 мм от торца рычага.
Усилие должно прикладываться к рычагу тормоза в точке действия усилия при эксплуатации.
Если у средства передвижения есть несколько тормозов, то испытанию подвергается каждый тормоз в отдельности.
Проверяют, продвинется ли игрушка больше чем на 5 см.
8.26.1.2 Характеристика тормозного устройства, изменение линейной скорости
Игрушку подвергают воздействию нагрузки по 8.21 (статическая прочность) и устанавливают на поверхность с углом наклона (10 ± 1)°, покрытую шлифовальной бумагой (оксид алюминия Р60). При этом продольная ось игрушки должна быть параллельна наклону. Игрушка должна скатиться по наклону. Измеряют среднюю скорость на участке длиной два метра, начиная измерение после того, как игрушка проехала один метр своей начальной точки.
8.26.1.3 Характеристика тормозного устройства, горизонтальное испытание
Игрушку подвергают воздействию нагрузки по 8.21 (статическая прочность). Измеряют усилие, необходимое для того, чтобы тянуть игрушку по горизонтальной плоскости, покрытую шлифовальной бумагой (оксид алюминия Р60), с постоянной скоростью, равной (2 ± 0, 2) м/с.
8.26.2 Характеристика тормозного устройства у игрушечных велосипедов (см. 4.15.2.3)
Игрушечный велосипед подвергают воздействию груза массой (50, 0 ± 0, 5) кг, вертикально установив его на сиденье, см. рисунок 26. Игрушечный велосипед устанавливают на ровную поверхность, с углом наклона (10 ± 1)°. При этом продольная ось должна быть параллельна наклонной плоскости.
У ручного тормоза прикладывают усилие (30, 0 ± 2) Н к центру рычага под прямым углом к его оси.
У ножного тормоза прикладывают усилие (50, 0 ± 2) Н к педали в направлении воздействия на тормоз.
Каждый тормоз должен быть проверен по отдельности.
Проверяют, может ли игрушечный велосипед продвинуться больше чем на 5 см.
8.26.3 Характеристика тормозного устройства игрушечных самокатов (см. 4.15.5.5)
8.26.3.1 Игрушечные самокаты с ручным тормозом
Игрушечный самокат должен подвергаться согласно 8.22.3.3 испытанию с нагрузкой А, в соответствии с рисунком 29 а), при этом номинальная масса груза должна составлять 54, 5 кг.
На платформе устанавливают шарнирные рычаги, позволяющие сохранять игрушечному самокату вертикальное положение при испытании; когда игрушечный самокат находится в вертикальном положении, нагрузка на них будет отсутствовать.
Игрушечный самокат устанавливают на поверхность с углом наклона (10 ± 1)°, покрытую шлифовальной бумагой (оксид алюминия Р60). При этом продольная ось должна быть параллельна наклону. К центру рычага под прямым углом к его оси должно прилагаться усилие (30, 0 ± 2) Н.
Усилие к рычагу тормоза следует прилагать на удалении 25 мм от торца рычага.
При помощи динамометра устанавливают, что усилие, необходимое для удержания игрушечного самоката на наклонной плоскости, составляет менее 50 Н.
Примечание - Общая испытательная нагрузка с использованием груза массой 59, 3 кг (масса платформы 4, 8 кг, масса груза на платформе 50 кг, масса шарнирных рычагов 4 кг, масса подушки 0, 5 кг).
8.26.3.2 Игрушечные самокаты с ножным тормозом
Игрушечный самокат должен подвергаться испытанию по 8.22.3.3 с нагрузкой В, в соответствии с рисунком 29 b); при этом номинальная масса груза должна составлять 29, 5 кг. Прикладывают к ножному тормозу дополнительную нагрузку массой (25 ± 0, 5) кг, в соответствии с рисунком 30. На платформе устанавливают шарнирные рычаги, которые позволяют сохранять игрушечному самокату вертикальное положение при испытании; когда игрушечный самокат находится в вертикальном положении, нагрузка на них будет отсутствовать.
Игрушечный самокат устанавливают на поверхность с углом наклона (10 ± 1)°, покрытую шлифовальной бумагой (оксид алюминия Р60). При этом продольная ось должна быть параллельна наклону (см. рисунок 30).
При помощи динамометра устанавливают, что усилие, необходимое для удержания игрушечного самоката на наклонной плоскости, составляет менее 50 Н.
Примечание - Общая испытательная нагрузка с использованием груза массой 59, 3 кг (масса платформы 4, 8 кг, масса груза на платформе 50 кг, масса шарнирных рычагов 4 кг, масса подушки 0, 5 кг).

1 - испытательная нагрузка, с шарнирным рычагом - (25 ± 0, 5) кг на каждый рычаг; 2 - динамометр; 3 - испытательная нагрузка, (25 ± 0, 5) кг; 4 - платформа и стабилизирующее устройство высотой 250 мм и массой (4, 8 ± 0, 2) кг
Рисунок 30 - Характеристика тормозного устройства у игрушечных самокатов с ножным тормозом
8.27 Прочность стержня руля игрушечного самоката (см. 4.15.5.3)
8.27.1 Сопротивление усилию, направленному вниз
Игрушечный самокат устанавливают на горизонтальной поверхности и закрепляют так, чтобы во время проведения испытания он оставался в вертикальном положении. Проверяют, правильность установки фиксирующего устройства.
a) К игрушечным самокатам с двумя ручками управления прилагают в центр каждой ручки груз массой (50, 0 ± 0, 5) кг, см. рисунок 31 а). Нагрузку удерживают в течение 5 мин.
Проверяют, вышел ли из строя стержень руля и способен ли он к дальнейшему функционированию, а также находится ли в зацеплении фиксирующее зажимное устройство.
Груз массой 50 кг удаляют. В состоянии, когда основное фиксирующее устройство разъединяют, а второе фиксирующие устройство остается в зацеплении, на каждую ручку прикладывают груз массой (25, 0 ± 0, 2) кг. Нагрузку удерживают в течение 5 мин.
Проверяют, является ли второе фиксирующее устройство работоспособным и зафиксированным.
b) У игрушечных самокатов с трубчатым стержнем руля без ручек испытание проводят согласно а), причем прикладывают груз массой (100, 0 ± 1) кг, а груз массой (50, 0 ± 0, 5) кг прикладывают на верхнюю часть трубчатого стержня руля, см. рисунок 31 b).
8.27.2 Стойкость к воздействию усилий, направленных вверх
Игрушечный самокат переворачивают колесами вверх и располагают на испытательном столе, см. рисунок 31 с). Проверяют, правильно ли вошло в зацепление фиксирующее устройство.
a) К игрушечным самокатам с двумя ручками прилагают в центре каждой ручки груз массой (25, 0 ± 0, 2) кг. Нагрузку удерживают в течение 5 мин.
b) К игрушечным самокатам без ручек прилагают на конце трубчатого стержня руля груз массой (50, 0 ± 0, 5) кг. Нагрузку удерживают в течение 5 мин.
Проверяют, ослаблен ли стержень руля и является ли фиксирующее устройство работоспособным и зафиксированным.

1 - испытательный груз; 2 - испытательный стол
Рисунок 31 - Испытание трубчатого стержня руля
8.28 Определение уровней звукового давления излучения (см. 4.20)
8.28.1 Общие сведения
8.28.1.1 Принцип
Принцип заключается в определении уровня звукового давления, как это было бы в условиях, не допускающих всех отражений от стен и потолка. Рабочее условие должно быть таким, которое дает самый высокий корректированный по А эквивалентный уровень звукового давления LpA, а также наивысший корректированный по С пиковый уровень звукового давления LpCpeak, соответственно, и положение микрофона должно быть одним из указанного набора позиций, дающих наивысший уровень звукового давления.
Примечание - Для игрушек тяни-толкай эквивалентный корректированный по А уровень звукового давления LpА заменяется на максимальный корректированный по А уровень звукового давления, LAFmax.
8.28.1.2 Методика основного испытания
Применяют EN ISO 11201 или EN ISO 11202 и стремятся к неопределенности измерений степени точности 2 (технический метод). В случае возникновения спорных вопросов, следует использовать степень точности 1 по EN ISO 11201. При применении EN ISO 11202, локальная поправка на внешние воздействующие факторы K3 рассчитывается с использованием фактического расстояния между источником и микрофоном d, а не минимального расстояния в 1 м, как указано в приложении А. Игрушки с наушниками и шлемофоном испытывают в соответствии с EN 50332-1.
Система приборов, в том числе микрофона и кабеля, должны соответствовать требованиям, установленным для приборов степени точности 1 по EN 61672-1. При измерении пиковых уровней звукового давления, например от игрушек с пистонами, микрофон и все остальные приборы должны быть способны обрабатывать линейные пиковые уровни, превышающие как минимум на 10 дБ корректированный по С пиковый уровень звукового давления излучения.
8.28.1.3 Условия испытаний
Испытания должны проводиться на новой игрушке.
Игрушки на батарейках испытывают с использованием новых не аккумуляторных батареек или полностью заряженных аккумуляторов, что менее благоприятно.
Примечание - Полностью заряженный аккумулятор или новая щелочная батарейка считаются наименее благоприятной батареей.
Трансформаторные игрушки вместе испытывают с трансформатором, поставляемым вместе с игрушкой. Если игрушка поставляется без трансформатора, то ее испытывают с трансформатором, рекомендованным в руководстве по эксплуатации.
Игрушки, работающие как с трансформатором, так и батареей, испытывают с наименее благоприятным элементом питания, допускаемым конструкцией, тип питания оценивается для каждого испытания.
Игрушки с ручным заводом должны быть полностью заведены.
Игрушки, которые издают звук при перемещении, вызванный в результате движения, переданного на игрушку, испытывают, как игрушки тяни-толкай. Если звук движущейся игрушки вызван не движением, то игрушку испытывают как игрушки, которые держат в руке или настольные или напольные игрушки.
Примечание - Примерами движущихся игрушек, где звук вызван не в результате движения, являются вращающиеся игрушки, свисающие с потолка или рельсовые поезда, излучающие электронный звук.
Отражения звука, вызванные используемыми испытательными стендами, или оператором, должны быть сведены к минимуму.
Примечание - Отражения звука могут быть минимизированы с помощью элементов испытательного стенда (желательно без плоских, непокрытых поверхностей), размерами меньше половины длины волны доминирующих частот и, по возможности, расположив оператора боком к приемнику опорного сигнала, а не лицом.
Испытывают с игрушкой в режиме прямого или возможного функционирования, в котором она производит наивысший уровень звукового давления в зависимости от положения микрофона. Нормальное время измерения составляет (15 ± 1) с. Если игрушка издает звук в течение более короткого времени, чем время измерения, звук должен быть повторен как можно быстрее с учетом устойчивой продолжительности в течение времени измерения. При необходимости, временем измерения должно быть целое число звуковых циклов игрушки. Для игрушек с различными режимами работы, каждый длительностью менее 15 с, их объединяют в один длинный операционный цикл. Если выбирают рабочие условия случайным образом, то увеличивают количество условий, пока не будет получено повторяемое значение измерения.
Нормальный режим(ы) работы должны быть достигнуты до проведения испытания.
Не должны использоваться положения микрофонов, которые делают невозможным или нецелесообразным функционирование игрушки.
8.28.1.4 Методы испытаний
Методы испытаний должны соответствовать требованиям EN ISO 11201 или EN ISO 11202. Эквивалентную площадь звукопоглощения в испытательной камере оценивают или измеряют в соответствии с требованиями EN ISO 3744 или EN ISO 3746. Рисунок 32 применяют для оценки коррекции на акустические условия K2А или K3А, чтобы удостовериться, что она находится в пределах, указанных в таблице 4.

- K3 - локальная коррекция на акустические условия в соответствии с EN ISO 11202;
- K2FF - коррекция на акустические условия K2A в свободном поле в соответствии с EN ISO 3746;
- K2FF - коррекция на акустические условия K2A в свободном поле выше отражающей плоскости в соответствии с EN ISO 3746
Рисунок 32 - Коррекция на акустические условия как функция эквивалентной площади звукопоглощения режима испытаний
|
Стандарт |
Степень точности |
Требования |
|
EN ISO 11201 |
Класс 1 (точный) |
см. EN ISO 3745 |
|
EN ISO 11201 |
Класс 2 (технический) |
K2А ≤ 2, 0 дБ |
|
EN ISO 11202 |
Класс 2 (технический) |
KЗА ≤ 4 дБ |
Примечание - Если при испытаниях очень громких игрушек присутствует оператор, то рекомендуется использовать средство защиты органов слуха.
8.28.1.5 Размещение микрофонов
Несколько положений микрофонов предписаны. Все положения микрофонов должны быть оценены относительно расположения в местах с наивысшими уровнями звукового давления, но полные измерения требуются только для положения, где фиксируются эти уровни. В качестве альтернативы существует возможность изменения положения испытуемого предмета вместо перемещения микрофона. При этом необходимо выдерживать установленное расстояние измерения.
Выбирают шесть положений микрофона, находящихся на измерительной поверхности в форме параллелепипеда на расстоянии 50 см от огибающего параллелепипеда по EN ISO 3746 (см. рисунок 33). Микрофоны располагают в центральных точках боковых граней измерительной поверхности на расстоянии (50 ± 1) см от огибающего параллелепипеда.
Положения микрофонов, которые делают невозможным или нецелесообразным функционирование игрушек, не принимаются во внимание.

А - измерительная поверхность; В - огибающий параллелепипед; 1-6 - положения микрофонов
Рисунок 33 - Положения микрофонов для коробчатой измерительной поверхности в свободном поле
Примечание
1 Часто удобнее поворачивать испытываемый объект, а не перемещать микрофон.
2 Многие расстояния определяются по отношению к огибающему параллелепипеду. Части игрушки, не излучающие значительного звука, следует, если это возможно, оставить вне этого параллелепипеда. Примерами таких типичных деталей являются ручки и подставки.
Конкретные процедуры отбора положений микрофонов приведены в 8.28.2.
8.28.1.6 Неопределенность измерения
Общая стандартная неопределенность задается формулой:
,
где σR0 - среднеквадратическое отклонение воспроизводимости метода испытаний, дБ;
σomc - среднеквадратическое отклонение стабильности, описывающее неустойчивость условий эксплуатации и монтажа испытываемой игрушки, дБ.
Для расчета σR0 необходимо использовать Руководство по выражению неопределенности измерения (GUM). В качестве руководства приведены следующие значения:
1) σR0 = 0, 7 дБ по EN ISO 11201, без метеорологической коррекции на высотах ниже 500 м и в испытательной камере, в соответствии с требованиями EN ISO 3745;
2) σR0 = 1, 2 дБ, класс 2 по EN ISO 11201 при использовании испытательной камеры класса 2;
3) σR0 =
дБ, по EN ISO 11202 при K3A ≤ 4.
Приведенные выше цифры предполагают для приборов класс точности 1, измеряется фоновый шум не менее, чем на 10 дБ ниже уровня звука. Нет никакой разницы между измерениями пика и Leq.
Значение σomc является более сложным, поскольку оно варьируется от игрушки к игрушке.
В общем, σomc = 2, 0 ± 1, 6 дБ (95 % вероятности) является рациональной характеристикой. Внутренние проверки повторяемости не дадут истинной повторяемости круговых сличений, но могут быть использованы в качестве руководства, в частности для игрушек, приводимых в действие детьми, таких как игрушечные музыкальные ударные инструменты и погремушки, где используются три разных оператора. Для других игрушек при проверке повторяемости, вероятно, недооцениваются циклические отклонения условий эксплуатации.
В общем, нет существенной разницы в неопределенности между игрушками, приводимыми в действие ребенком, и другими игрушками. Нет также существенной разницы в неопределенности между измерениями LpCpeak и LpA.
8.28.2 Методы испытаний
8.28.2.1 Околоушные игрушки
8.28.2.1.1 Условия крепления
Околоушные игрушки размещают на испытательном стенде не ниже 100 см над отражающей плоскостью или оператор может удерживать ее на вытянутой руке.
8.28.2.1.2 Положения микрофонов
Используют коробчатую форму измерительной поверхности, см. рисунок 33, с микрофоном(ами) на расстоянии (50 ± 1) см.
8.28.2.1.3 Условия эксплуатации и измерения
Если игрушка имеет четко определенный рабочий цикл, измеряют эквивалентный уровень звукового давления излучения LpA, в каждом положении микрофона в течение не менее одного полного цикла. Время измерения должно быть (15 ± 1) с. Если рабочий цикл длится менее 15 с, то цикл нужно повторять как можно быстрее, и время измерения должно быть адаптировано к целому числу рабочих циклов. Если игрушка имеет более одного цикла, то каждый цикл работы может быть измерен последовательно в течение одного испытания. Альтернативно может быть использован один цикл (или комбинация нескольких циклов), который дает самый высокий результат.
Измеряют пиковый уровень звукового давления излучения, корректированный по С, в трех циклах, применяя цикл(ы), который(ые) дает(ют) самые высокие результаты.
Повторяют процедуру измерения в каждом положении микрофона по 8.28.2.1.2.
8.28.2.1.4 Результаты измерений
Регистрируют корректированный по А эквивалентный уровень звукового давления излучения, определенный по времени LpA, дБ, как среднее значение всех измерений с положения микрофона с наивысшим средним значением.
Регистрируют максимальный корректированный по С пиковый уровень звукового давления излучения LpCpeak, дБ.
8.28.2.2 Настольные или напольные игрушки
8.28.2.2.1 Условия крепления
Настольные или напольные игрушки размещают на отражающей поверхности испытательного стенда так, чтобы они могли функционировать на полную мощность, но при этом свободно не перемещаться. Если удержание игрушки в этом положении препятствует нормальному функционированию игрушки, например, из-за невозможности вращения колес, то игрушки должны быть закреплены над отражающей поверхностью, но не более, чем на 5 мм.
Примечание - В качестве альтернативы игрушки могут быть размещены на стандартном испытательном стенде по EN ISO 11201.
8.28.2.2.2 Положения микрофонов
Выбирают пять положений микрофонов на коробчатой измерительной поверхности на расстоянии (50 ± 1) см от огибающего параллелепипеда игрушки, см. рисунок 34. Для игрушки длиной или шириной больше 100 см - то девять положений микрофонов, в верхних четырех углах коробчатой измерительной поверхности. Боковые грани измерительной поверхности с высотой Н должны быть удалены от боковых граней огибающего параллелепипеда на (50 ± 1) см, за исключением дна, который лежит в той же плоскости. Все положения микрофонов находятся на измерительной поверхности. Положения микрофонов, которые делают невозможной или нецелесообразной функционирование игрушки, не учитываются.

А - измерительная поверхность; В - огибающий параллелепипед; 1-5 - основные положения микрофонов; 6-9 - дополнительные положения микрофонов для крупногабаритных игрушек; Н - высота измерительной поверхности
Рисунок 34 - Положения микрофонов огибающего параллелепипеда для настольных и напольных игрушек
8.28.2.2.3 Условия эксплуатации и измерения
Если игрушка имеет четко определенный рабочий цикл, измеряют эквивалентный уровень звукового давления излучения LpA, в каждом положении микрофона в течение не менее одного полного цикла. Время измерения должно быть (15 ± 1) с. Если рабочий цикл длится менее 15 с, то цикл нужно повторять как можно быстрее, и время измерения должно быть адаптировано к целому числу рабочих циклов. Если игрушка имеет более одного цикла, то каждый цикл работы может быть измерен последовательно в течение одного испытания. Альтернативно может быть использован один цикл (или комбинация нескольких циклов), который дает самый высокий результат.
Измеряют пиковый уровень звукового давления излучения, корректированный по С, в трех циклах, применяя цикл(ы), который(ые) дает(ют) самые высокие результаты.
Повторяют процедуру измерения в каждом положении микрофона по 8.28.2.2.2.
8.28.2.2.4 Результаты измерений
Регистрируют корректированный по А эквивалентный уровень звукового давления излучения LpA, дБ, как среднее значение всех измерений с положения микрофона с наивысшим средним значением.
Регистрируют максимальный корректированный по С пиковый уровень звукового давления излучения LpCpeak, дБ.
8.28.2.3 Игрушки, которые держат в руках
8.28.2.3.1 Условия крепления
Игрушки, которые держат в руках, размещают на испытательном стенде не ниже 100 см над отражающей плоскостью или оператор может удерживать ее на вытянутой руке.
8.28.2.3.2 Положения микрофонов
Используют коробчатую форму измерительной поверхности, см. рисунок 33, с микрофоном(ами) на расстоянии (50 ± 1) см.
8.28.2.3.3 Условия эксплуатации и измерения
Если игрушка имеет четко определенный рабочий цикл, измеряют эквивалентный уровень звукового давления излучения LpA, в каждом положении микрофона в течение не менее одного полного цикла. Время измерения должно быть (15 ± 1) с. Если рабочий цикл длится менее 15 с, то цикл нужно повторять как можно быстрее, и время измерения должно быть адаптировано к целому числу рабочих циклов. Если игрушка имеет более одного цикла, то каждый цикл работы может быть измерен последовательно в течение одного испытания. Альтернативно может быть использован один цикл (или комбинация нескольких циклов), который дает самый высокий результат.
Измеряют пиковый уровень звукового давления излучения, корректированный по С, в трех циклах, применяя цикл(ы), который(ые) дает(ют) самые высокие результаты.
Повторяют процедуру измерения в каждом положении микрофона по 8.28.2.3.2.
8.28.2.3.4 Результаты измерений
Регистрируют корректированный по А эквивалентный уровень звукового давления излучения LpA, дБ, как среднее значение всех измерений с положения микрофона с наивысшим средним значением.
Регистрируют максимальный корректированный по С пиковый уровень звукового давления излучения LpCpeak, дБ.
8.28.2.4 Игрушки с головными телефонами и наушниками
8.28.2.4.1 Условия крепления
В качестве альтернативы вставные наушники и наушники, охватывающие ухо, могут быть установлены в имитаторе закрытого уха по EN 60318-4 совместно с ушным вкладышем по IEC/TS 60318-7.
Примечание - Альтернативный способ заключается в менее точной установке и менее точным результатом. Рекомендуется использовать имитатор головы и туловища (HATS).
8.28.2.4.2 Положения микрофона
Используют устройства по 8.28.2.4.1.
8.28.2.4.3 Условия эксплуатации и измерения
Измеряют эквивалентный уровень звукового давления излучения LpA по EN 50332-1.
Если измерение корректированного по С пикового уровня звукового давления излучения, LpCpeak не установлено в EN 50332-1, но его измеряют так же, как эквивалентный уровень звукового давления излучения.
8.28.2.4.4 Результаты измерений
Регистрируют корректированный по А эквивалентный уровень звукового давления излучения, определенный по времени LpA, дБ, как среднее значение всех измерений с положения микрофона с наивысшим средним значением.
Регистрируют максимальный корректированный по С пиковый уровень звукового давления излучения LpCpeak, дБ.
8.28.2.5 Погремушки
8.28.2.5.1 Условия крепления
Погремушки должен приводить в действие оператор, предплечье которого расположено в основном горизонтально на той же высоте, что и микрофон, стоя в профиль к микрофону, с погремушкой на той же высоте, что и микрофон, на расстоянии 50 см.
8.28.2.5.2 Положения микрофона
Размещают на испытательном стенде на высоте 100 см над полом и на расстоянии (50 ± 1) см от ближайшей вертикальной плоскости, в которой трясут погремушкой.
8.28.2.5.3 Условия эксплуатации и измерения
Для погремушек или других аналогичных игрушек, предназначенных для встряхивания, используют движение примерно в 15 см. Приводят в движение погремушку, держа ее там, где необходимо, или, если возникают сомнения, то там, где можно получить самый длинный рычаг между рукой и частью погремушки. Следует убедиться, что захват руки не влияет на излучаемый звук. Встряхивают игрушки резкими рывками вниз. Используют кисть руки, а предплечье держат горизонтально. Стоят в профиль к микрофону, погремушку держат на той же высоте, что и микрофон на расстоянии (50 ± 1) см (то есть погремушку встряхивают на постоянном расстоянии от микрофона, а не к микрофону и от него).
В испытании участвуют трое операторов.
Для измерений пикового уровня звукового давления излучения каждый оператор встряхивает погремушку вниз 10 раз в медленном темпе, который дает для каждого встряхивания самый высокий корректированный по С пиковый уровень звукового давления излучения.
Измерения LpA проводят в течение (15 ± 1) с, используя темп, который дает самый высокий эквивалентный уровень звукового давления излучения. Каждый оператор должен произвести не менее трех образцов предполагаемого звука. При необходимости, для каждого оператора увеличивают число образцов, пока максимальная разница в децибелах между любыми двумя образцами не станет меньше суммы образцов.
8.28.2.5.4 Результаты измерений
Регистрируют корректированный по А эквивалентный уровень звукового давления излучения LpA, дБ, как среднее значение всех измерений. Перед сравнением измеренного значения с предельным значением отнимают 5 дБ от измеренного LpA.
Регистрируют максимальный корректированный по С пиковый уровень звукового давления излучения LpCpeak, дБ.
8.28.2.6 Игрушки-пищалки
8.28.2.6.1 Условия крепления
Игрушки-пищалки должен приводить в действие оператор с вытянутой рукой, стоя прямо перед микрофоном. Отверстие для выхода воздуха должно находиться на расстоянии 50 см от микрофона и направлено в сторону микрофона. Микрофон должен находиться на той же высоте, что и сжимаемая игрушка.
8.28.2.6.2 Положения микрофона
Размещают на испытательном стенде на высоте 100 см над полом и на расстоянии (50 ± 1) см от отверстия для выхода воздуха игрушки-пищалки.
8.28.2.6.3 Условия эксплуатации и измерения
Игрушку сжимают, держа обеими руками с одной стороны там, где необходимо, или, если возникают сомнения, то там, где может быть достигнут наивысший уровень звука. Сжимают, если это возможно, обоими большими пальцами, чтобы достичь максимально возможного уровня звука.
Испытания проводят трое операторов.
Для измерений пикового уровня звукового давления излучения каждый оператор сжимает игрушку 10 раз в темпе, который дает самый высокий пиковый уровень звукового давления излучения, корректированный по С.
Измерения LpA проводят в течение (15 ± 1) с, используя темп, который дает самый высокий эквивалентный уровень звукового давления излучения, определенный по времени. Каждый оператор должен произвести не менее трех образцов предполагаемого звука. При необходимости, для каждого оператора увеличивают число образцов, пока максимальная разница, в децибелах, между любыми двумя образцами не станет меньше суммы образцов.
8.28.2.6.4 Результаты измерений
Регистрируют корректированный по А эквивалентный уровень звукового давления излучения LpA, в децибелах, как среднее значение всех измерений. Перед сравнением измеренного значения с предельным значением отнимают 5 дБ от измеренного LpA.
Регистрируют максимальный пиковый уровень звукового давления излучения, корректированный по С, LpCpeak, дБ.
8.28.2.7 Игрушки тяни-толкай
8.28.2.7.1 Крепление
Игрушки тяни-толкай размещают на испытательном стенде не ниже 100 см над отражающей плоскостью так, чтобы они могли перемещаться по прямой линии, вдоль которой установлены измерительные микрофоны ("измерение внешнего шума") с различной скоростью. Отражающая плоскость должна обеспечивать достаточное трение, чтобы предотвратить скольжение колес.
8.28.2.7.2 Положения микрофонов
Применяют два микрофона, размещенные на 30 см выше отражающей поверхности (40 + w/2) см от оси X, см. рисунок 35.
Размещают игрушку на испытательном стенде или на отражающей плоскости в обычном рабочем положении так, чтобы ее можно было передвигать вдоль оси X расположенных микрофонов.

1-2 - микрофоны; 3 - конец измерения; W - ширина игрушки
Рисунок 35 - Положения микрофонов для измерения игрушек тяни-толкай
8.28.2.7.3 Условия эксплуатации и измерения
Игрушки тяни-толкай приводят в движение со скоростью не более 1 м/с, в зависимости от того, когда получают максимальный уровень звукового давления. Измеряют корректированный по А максимальный уровень звукового давления излучения с временной характеристикой F и корректированным по С пиковым уровнем звукового давления излучения на каждой стороне для каждого из двух измерений внешнего шума.
8.28.2.7.4 Результаты измерений
Регистрируют корректированный по А эквивалентный уровень звукового давления излучения LpA дБ, как среднее значение всех измерений. Перед сравнением измеренного значения с предельным значением отнимают 5 дБ от измеренного LpA.
Регистрируют максимальный пиковый уровень звукового давления излучения, корректированный по С, LpCpeak, дБ.
8.28.2.8 Игрушечный музыкальный ударный инструмент
8.28.2.8.1 Условия крепления
Игрушечный музыкальный ударный инструмент закрепляют, используя наиболее подходящее положение:
- на столе или отражающей поверхности для игрушек, предназначенных для использования на столе;
- на расстоянии вытянутой руки оператора для игрушек, предназначенных для удержания рукой;
- подвешенные на шее/талии оператора для игрушек, предназначенных для подвешивания на шее/талии.
8.28.2.8.2 Положения микрофонов
Для ручных игрушек используют коробчатую форму отражающей поверхности, см. рисунок 33, с микрофоном(ами) на расстоянии (50 ± 1) см. Для настольных или напольных игрушек используют коробчатую форму отражающей поверхности, см. рисунок 34.
8.28.2.8.3 Условия эксплуатации и измерения
Ударяют игрушку одной палочкой, удерживая ее так, чтобы был получен самый длинный рычаг. Ударяют резко сверху вниз по поверхности, предназначенной для нанесения ударов. Если к игрушке палочка не прилагается, то по поверхности игрушки, предназначенной для нанесения ударов, удар производят рукой. Рука должна быть расположена таким образом, чтобы производился максимальный звук. Следует убедиться, что на излучаемый звук после удара не влияет палочка или рука.
Барабаны подвешивают горизонтально и ударяют по верхней поверхности (т.е. поверхности, предназначенной для ударов). У ксилофонов по всем пластинам следует ударять одинаковое количество раз.
Испытания проводят трое операторов.
Для измерений пикового уровня звукового давления излучения каждый оператор наносит удары 10 раз в темпе, который дает самый высокий корректированный по С пиковый уровень звукового давления излучения для каждого удара.
Измерения LpA проводят в течение (15 ± 1) с, используя темп, который дает самый высокий усредненный по времени уровень звукового давления. Каждый оператор должен произвести не менее трех образцов предполагаемого звука. При необходимости, для каждого оператора увеличивают число образцов, пока максимальная разница в децибелах между любыми двумя образцами не станет меньше суммы образцов.
8.28.2.8.4 Результаты измерений
Регистрируют корректированный по А эквивалентный уровень звукового давления излучения, определенный по времени LpA, дБ, как среднее значение всех измерений. Перед сравнением измеренного значения с предельным значением отнимают 5 дБ от измеренного LpA.
Регистрируют максимальный корректированный по С пиковый уровень звукового давления излучения LpCpeak, дБ.
8.28.2.9 Духовые игрушки
8.28.2.9.1 Условия крепления
При испытании духовых игрушек в них дует оператор.
8.28.2.9.2 Положения микрофонов
Используют коробчатую форму отражающей поверхности, см. рисунок 33, с микрофоном(ами) на расстоянии (50 ± 1) см, кроме положения позади оператора.
8.28.2.9.3 Условия эксплуатации и измерения
Испытания проводят трое операторов. Каждый оператор должен стоять перед разными отражающими поверхностями.
Для измерений пикового уровня звукового давления излучения каждый оператор должен произвести не менее трех образцов предполагаемого звука в каждом положении микрофона, выдувая воздух так, чтобы получить самый высокий возможный пиковый уровень звукового давления излучения, корректированный по С.
Для измерений LpA, выдувают воздух так, чтобы получить самый высокий возможный корректированный по А эквивалентный уровень звукового давления излучения. Каждый оператор должен произвести не менее трех образцов предполагаемого звука в каждом положении микрофона. При необходимости, для каждого оператора увеличивают число образцов, пока максимальная разница в децибелах между любыми двумя образцами не станет меньше суммы образцов.
8.28.2.9.4 Результаты измерений
Регистрируют корректированный по А эквивалентный уровень звукового давления излучения LpA, дБ, как среднее значение всех измерений. Перед сравнением измеренного значения с предельным значением отнимают 5 дБ от измеренного LpA.
Регистрируют максимальный пиковый уровень звукового давления излучения, корректированный по С, LpCpeak, дБ.
8.28.2.10 Игрушки с пистонами
8.28.2.10.1 Условия крепления
Игрушки с пистонами размещают на испытательном стенде не ниже 100 см над отражающей плоскостью или оператор может удерживать ее на вытянутой руке.
8.28.2.10.2 Положения микрофонов
Для игрушек с пистонами используют шесть позиций микрофона вокруг игрушки. Помещают основную часть игрушки, излучающую звук, в начале измерительной системы координат в рабочем положении таким образом, чтобы основные оси игрушки совпадали с осями системы координат (см. рисунок 36). Если длина игрушки превышает 50 см, поворачивают игрушку в плоскости XУ на 45° вокруг оси, не меняя расположения микрофонов. Выбирают два положения микрофонов вдоль каждой оси на расстоянии (50 ± 1) см в обе стороны от игрушки.

1-6 положения микрофонов
Рисунок 36 - Положения микрофонов при измерении уровней звукового давления излучения игрушек с пистонами
Для других игрушек используют огибающий параллелепипед, описанный в 8.28.1.5, с микрофоном(ами) на расстоянии 50 см.
8.28.2.10.3 Условия эксплуатации и измерения
Для измерения пикового уровня звукового давления излучения, корректированного по С, стреляют из оружия, по крайней мере, 3 раза в каждом положении микрофона, чтобы найти позицию с самым высоким уровнем пикового уровня звукового давления. Затем стреляют еще 6 раз в положении с самым высоким уровнем пикового уровня звукового давления.
Для измерения корректированного по А эквивалентного уровня звукового давления излучения LpA стреляют из оружия с максимально возможной частотой не менее 10 с. Если оружие должно быть перезаряжено в течение времени измерения для перезарядки при нормальной скорости стрельбы, это время должно быть добавлено ко времени измерения. Повторяют испытание три раза. Испытание проводят в положении с самым высоким корректированным по С пиковым уровнем звукового давления излучения.
8.28.2.10.4 Результаты измерений
Регистрируют корректированный по А эквивалентный уровень звукового давления излучения, LpA, в децибелах, как среднее значение всех измерений. Перед сравнением измеренного значения с предельным значением отнимают 5 дБ от измеренного LpA.
Регистрируют максимальный пиковый уровень звукового давления излучения, корректированный по С, LpCpeak, дБ.
8.28.2.11 Голосовые игрушки
8.28.2.11.1 Условия крепления
Воздействуют на набор голосовых игрушек на максимальном уровне выходного сигнала путем размещения микрофонного капсюля игрушки на наиболее подходящем расстоянии в пределах от 5 до 50 см перед широкополосным громкоговорителем, излучающим моделирующий программу шум по EN 50332-1. Громкоговоритель и шум могут быть ограничены диапазоном частот от 200 до 4000 Гц. Постепенно увеличивают уровень выходного сигнала широкополосного громкоговорителя, пока не перестанет повышаться уровень выходного сигнала игрушки. Если уровень громкоговорителя увеличивается ступенчато, то интервал увеличения не должен быть больше 5 дБ. Возвращающийся звук не считается.
Рации измеряют, используя источник излучения и динамик в одной камере, а приемное устройство в другой камере. Игрушки с возможностью записи измеряют, используя устройство моделирования шума программы, выключенного во время воспроизведения записанного шума. Мегафоны сначала измеряют с выключенным мегафоном, а затем с моделированием шума программы и включенным мегафоном.
8.28.2.11.2 Положения микрофона
Для голосовых игрушек, предназначенных для использования на полу или на столе, используют положения микрофона по 8.28.2.2.2, а для голосовых игрушек, предназначенных для удерживания рукой, используют положения микрофона по 8.28.2.3.2 или используют наиболее подходящие положения микрофона в соответствии с другими типами игрушек.
8.28.2.11.3 Условия эксплуатации и измерения
Воздействуют на голосовые игрушки, поместив микрофонный капсюль игрушки перед широкополосным громкоговорителем, излучающим моделирующий программу шум по EN 50332-1. Постепенно увеличивают уровень выходного сигнала широкополосного громкоговорителя, пока не перестанет повышаться уровень выходного сигнала игрушки. Если уровень громкоговорителя увеличивается ступенчато, то интервал увеличения не должен быть больше 5 дБ. Возвращающийся звук не считается.
8.28.2.11.4 Результаты измерений
Регистрируют корректированный по А эквивалентный уровень звукового давления излучения LpA, дБ, как среднее значение всех измерений. Перед сравнением измеренного значения с предельным значением отнимают 5 дБ от измеренного LpA.
Регистрируют максимальный пиковый уровень звукового давления излучения, корректированный по С, LpCpeak, дБ.
Для мегафонов и других игрушек, которые оценивают с учетом выходного сигнала как от игрушки, так и широкополосного громкоговорителя одновременно, корректированный по А уровень звукового давления излучения LpA, дБ, вычисляют по формуле
,
где L1 - измеренный корректированный по А уровень звукового давления излучения, одновременно как от игрушки, так и громкоговорителя, излучающего моделирующий программу шум;
L2 - измеренный корректированный по А уровень звукового давления излучения, с выключенной игрушкой и работающим громкоговорителем, излучающим моделирующий программу шум.
Если L1 - L2 < 3 дБ, то вычисление LpA невозможно. В этом случае результат представляют как LpA < L1, дБ.
8.29 Определение максимальной скорости игрушек с электрическим приводом (4.15.1.2, 4.15.1.5, 4.15.1.8 и 5.6)
Для игрушки с электроприводом для использования детьми в возрасте до 36 мес, должна применяться нагрузка массой (25 ± 0, 2) кг, устанавливаемая на площадке для сидения или стояния.
Для игрушки с электроприводом для использования детьми в возрасте старше 36 мес, должна применяться нагрузка массой (50 ± 0, 5) кг.
В случае если игрушка предназначена для того, чтобы выдерживать нагрузку, создаваемую сразу массой нескольких детей, груз помещают на место для сидения или стояния водителя.
Испытательный груз приведен на рисунке 26.
Батарея питания должна быть полностью заряжена в соответствии с инструкциями.
Игрушку приводят в действие на горизонтальной поверхности, которая препятствует пробуксовке колес (например, покрытой наждачной бумагой, асфальтом или аналогичным материалом), при нахождении устройств регулировки скорости в положении, соответствующем максимальной скорости. Если игрушка снабжена двухпозиционным устройством, с помощью которого можно изменить максимальную скорость, скорость измеряется при нахождении этого устройства в положениях, соответствующих меньшей и большей скоростей.
Среднюю скорость измеряют с погрешностью ± 10 %.
Испытание проводят три раза и определяют максимальное значение.
При проведении испытаний будет определена максимальная скорость.
8.30 Измерение изменения температуры (см. 4.21)
При температуре окружающей среды (20 ± 5) °С игрушку приводят в действие в соответствии с руководством по эксплуатации и при максимальной входной мощности она должна работать столько времени, сколько необходимо для установления температурного равновесия.
Измеряют значение температуры доступных частей и вычисляют ее увеличение.
Проверяют, является ли игрушка воспламеняющейся.
8.31 Откидные крышки у игрушечных сундучков (см. 4.14.1, перечисление с)
8.31.1 Общие положения
Перед испытанием крышка должна быть собрана в соответствии с руководством по эксплуатации.
8.31.2 Опускание крышек
Крышка должна быть поднята на любое положение, расположенное по дуге траектории открытия-закрытия, начинающейся на высоте 50 мм и заканчивающейся под максимальным углом 60° (отсчитываемом от положения полного закрытия крышки). Затем крышку опускают, и измеряют траекторию движения в середине внешнего края крышки.
Проверяют, опустилась ли крышка более чем на 12 мм.
8.31.3 Испытание на прочность открывающихся откидных крышек
Крышку подвергают испытанию 7 000 циклов открытия-закрытия. Один цикл включает в себя поднимание крышки от положения закрытия до полного открытия и опускание крышки до положения полного закрытия. Для исключения чрезмерной нагрузки на болты или другие средства крепления крышки, необходимо принять меры предосторожности для того, чтобы крышка не открывалась на угол больший, чем она предназначена.
Время проведения одного цикла должно составлять 15 с. 7 000 циклов должны проводиться в течение 72 ч. Затем повторяют испытание согласно 8.31.2 (опускания крышек).
В заключение проверяют соответствует ли крышка и средства крепления крышки требованиям настоящего стандарта.
8.32 Испытание для маленьких шаров и вакуумных присосок (см. 4.17, 4.22, 4.25, 5.10 и 5.13)
8.32.1 Маленькие шары и вакуумные присоски (см. раздел 6)
Испытательный шаблон Е, приведенный на рисунке 37, размещают и закрепляют так, чтобы ось отверстия проходила вертикально, а отверстие испытательного шаблона было доступно сверху и снизу.
Маленький шар или вакуумную присоску располагают в отверстии испытательного шаблона так, чтобы на перемещение игрушки действовала только собственная масса маленького шара или вакуумной присоски.
Проверяют, проходит ли полностью через отверстие испытательного шаблона Е маленький шар или вакуумная присоска.

Рисунок 37 - Испытательный шаблон Е
8.32.2 Маленькие шары, прикрепляемые к игрушке шнуром
Испытательный шаблон Е, приведенный на рисунке 37, размещают и закрепляют так, чтобы ось отверстия проходила вертикально, а отверстие испытательного шаблона было доступно сверху и снизу.
Подвешивают шар, прикрепляемый к игрушке шнуром, эластичной лентой или аналогичным материалом или непосредственно прикрепляемый к игрушке, и опускают шар без нажатия на него так, чтобы он проходил через отверстие под действием собственной массы. Перед тем, как измерить расстояние А шар опускают настолько, насколько позволяет шнур или прикрепленная игрушка (см. рисунок 38).
Проверяют, проходит ли шар через отверстие шаблона Е таким образом, чтобы расстояние А, указанное на рисунке 38, превышало 30 мм. Расстояние А измеряют от верхней части шаблона до точки пересечения осей шара.

1 - игрушка; 2 - шаблон Е; 3 - шнур или аналогичный материал; 4 - точка пересечения осей шара
Рисунок 38 - Пример испытания шара, прикрепляемого в игрушке шнуром
8.33 Испытание игрушечных фигурок (см. 5.11)
Испытательный шаблон В (см. рисунок 20) размещают и закрепляют так, чтобы его отверстие было доступно сверху и снизу, а ось проходила вертикально.
Игрушечную фигурку устанавливают так, чтобы ее закругленный конец с наибольшей вероятностью проходил сквозь отверстие испытательного шаблона. Игрушку в отверстие помещают так, чтобы это происходило только под воздействием ее собственной массы.
Проверяют, выступает ли наружу закругленный конец игрушечной фигурки на нижней стороне испытательного шаблона В.
8.34 Испытание на отрыв для магнитов (см. 4.23.2 и А.51)
8.34.1 Общие положения
По 8.34.3.1 проверяют может ли быть доступным магнит, либо магнитный элемент, либо эталонный диск, а также может ли быть отделен не захватываемый магнит игрушки при воздействии усилия другого магнита.
Данное испытание имитирует предполагаемый или допустимый режим использования игрушки.
Если при испытаниях по 8.34.2 игрушки, имеющей несколько магнитов или магнитных элементов, игрушка будет повреждена, то испытания проводят по 8.34.3 для доступных, но не захватываемых магнитов.
Примечание - Примером, когда испытание по 8.34.2 невозможно провести без разрушения игрушки, может быть фигурка для игр с одним доступным, но не захватываемым магнитом в каждой ноге.
8.34.2 Игрушки, содержащие несколько магнитов или магнитных элементов
Подбирают магнит или магнитный элемент такой, который может отделить от игрушки магнит, подвергаемый испытанию на отрыв.
Не повреждая игрушку, максимально приближают магнит или магнитный элемент к испытываемому магниту. Постепенно увеличивают тянущее усилие, приложенное к магниту/магнитному элементу, пока он не отделится от испытываемого магнита или пока магнит не отделится от игрушки. Испытание проводят 10 раз.
Испытание повторяют для другого магнита, который должен подвергаться испытанию на разрыв для магнитов согласно 4.23.2.
Примечание - Если невозможно определить магнит или магнитный(е) элемент(ы) игрушки, которые с наибольшей вероятностью могут отделяться, подвергаемые испытанию на отрыв, допускается проводить повторное испытание для другого магнита или магнитного элемента игрушки.
8.34.3 Игрушки, содержащие только один магнит
8.34.3.1 Оборудование
Никелевый диск с минимальным содержанием никеля 99 %, имеющий следующие размеры:
- диаметр (30 ± 0, 5) мм;
- длина (10 ± 0, 5) мм.
8.34.3.2 Проведение испытаний
Не повреждая игрушку, максимально приближают никелевый диск к испытываемому магниту.
Увеличивают постепенно тянущее усилие, приложенное к диску, пока он не отделится от магнита, или пока магнит не отделится от игрушки.
Испытание проводят 10 раз.
8.35 Показатель магнитного потока (см. 4.23.2 и 4.23.3)
8.35.1 Общие положения
Показатель магнитного потока вычисляют по результатам, полученным измерением магнитной индукции и площади поверхности полюса.
8.35.2 Испытательное устройство
8.35.2.1 Измеритель магнитной индукции на постоянном токе с погрешностью 5 кгс и способностью определять поле с точностью не более 1, 5 %.
Измеритель должен иметь датчик осевого типа с размерами:
- диаметр активной площадки (0, 76 ± 0, 13) мм;
- расстояние между активной площадкой и кончиком датчика (0, 38 ± 0, 13) мм.
8.35.2.2 Штангенциркуль или аналогичный инструмент погрешностью 0, 1 мм.
8.35.3 Проведение испытаний
8.35.3.1 Измерение магнитной индукции
Подводят датчик измерителя магнитной индукции к поверхности полюса магнита. Датчик измерителя магнитной индукции должен контактировать с поверхностью магнитного элемента (например, когда магнит полностью или частично помещен в деталь игрушки).
Датчик прикладывают перпендикулярно поверхности.
Для установления максимального значения магнитной индукции датчик проводят по поверхности.
Регистрируют максимальное значение магнитной индукции.
8.35.3.2 Измерение и расчет площади поверхности полюса
Если магнит погружен/прикреплен в качестве детали магнитного элемента, необходимо извлечь магнит из элемента, даже если это приведет к повреждению игрушки.
Если полюс имеет сферическую поверхность, измеряют максимальный диаметр магнита перпендикулярно оси, проходящей через полюса магнита (см. рисунок 39) с погрешностью ± 0, 1 мм и вычисляют площадь поперечного сечения.
Если поверхность полюса плоская, измеряют размеры площадки с погрешностью ± 0, 1 мм и вычисляют площадь, используя геометрическую формулу.
Для многополюсных магнитов измеряют и вычисляют площадь наиболее отдельного магнита, который может быть обнаружен с помощью пленки для визуализации магнитного поля или эквивалентного средства.
Примечание - Примером многополюсного магнита является прорезиненный/пластоферритовый магнит, содержащий несколько полосок с полюсами.
8.35.4 Расчет показателя магнитного потока
Показатель магнитного потока (кгс2мм2) рассчитывается путем умножения расчетной площади поверхности полюса магнита (мм2) на квадрат максимальной магнитной индукции (кгс2).

1 - максимальное поперечное сечение перпендикулярное оси; 2 - ось, проходящая через полюса магнита
Рисунок 39 - Максимальный диаметр магнита со сферическим полюсом
8.35 Периметр шнуров и цепей [см. 5.4, перечисления с) и d)]
8.35.3 Испытательное устройство
Испытательные блоки: два прямоугольных испытательных блока, изготовленных из жесткого гладкого материала (возможно применение древесины) с размерами:
(94 ± 1) мм х (25 ± 1) мм х (25 ± 1) мм (см. рисунок 40).

Рисунок 40 - Размеры испытательных блоков
Один из испытательных блоков должен иметь по углам соответствующие средства для фиксации шнура (например, винты с закругленными концами) (см. рисунок 41).

Рисунок 41 - Пример средства фиксации шнура
К испытательному блоку подсоединяют два жестких шнура, как это показано на рисунке 42.

Рисунок 42 - Пример испытательного блока со шнурами
Длина двух шнуров должна быть такой, чтобы, когда они натягиваются в центральной части под воздействием усилия (25 ± 2) Н, то расстояние от центра шнура до верхней поверхности испытательного блока должно составлять приблизительно 0, 1 м (см. рисунки 44 и 45).
8.36.2 Проведение испытаний
8.36.2.1 Шнуры и цепи с одной точкой крепления или с точками крепления менее 94 мм
К центральной части шнура или цепи прикладывают растягивающее усилие (25 ± 2) Н и измеряют периметр петли.
На рисунке 43 периметр петли составляет (а + b + с).

Рисунок 43 - Измерение с точками крепления менее 94 мм
8.36.2.2 Шнуры и цепи, прикрепляемые к игрушке в точках 94 мм и более
Испытательный блок располагают с привязанными жгутами под шнуром или цепью игрушки таким образом, чтобы шнур или цепь была направлена вдоль оси испытательного блока (см. рисунок 44).

А - шнур или цепь игрушки
Рисунок 44 - Положение испытательного блока под шнуром
При помощи динамометра или груза определенной массы, прикрепленного к веревкам испытательного блока, прикладывают усилие (25 ±2) Н, направленное под прямым углом к игрушке.

1 - приблизительно 0, 1 м
Рисунок 45 - Измерение расстояния d для игрушек с плоской поверхностью
Измеряют расстояние d между поверхностью игрушки и стороной испытательного блока, контактирующей со шнуром или цепью (см. рисунок 45).
Для игрушек, поверхность которых не является плоской, второй испытательный блок располагают на поверхности игрушки параллельно первому испытательному блоку так, чтобы его основная ось находилась бы на одной линии с осью первого испытательного блока.
Измеряют расстояние d между стороной второго испытательного блока, контактирующей с поверхностью игрушки, и стороной первого испытательного блока, контактирующей со шнуром или цепью (см. рисунок 46).

1 - приблизительно 0, 1 м
Рисунок 46 - Измерение расстояния d для игрушек с неровной поверхностью
8.37 Измерения для мячиков на резинке (см. 4.24)
8.37.1 Измерение первоначальной длины l0
Неподвижный зажим закрепляют на мячике на резинке так, чтобы резинка свободно свисала вниз (см. рисунок 47).

1 - мячик; 2 - неподвижный зажим; 3 - резинка, изготовленная из упругого материала; 4 - кольцо или другая деталь, изготовленная из упругого материала; 5 - крюк; l0 - расстояние между мячиком и кольцом
Рисунок 47 - Измерение первоначальной длины l0 мячиков на резинке
Груз массой (0, 05 ± 0, 001) кг подвешивают к кольцу на конце резинки, изготовленной из упругого материала, или (при отсутствии кольца) на 5 мм выше конца резинки.
Измеряют начальную длину l0 (см. рисунок 46) в миллиметрах с погрешностью ± 1 мм.
8.37.2 Измерение модуля упругости k
Прикрепляют зажимное приспособление к резинке на расстоянии (15 ± 5) мм от мячика. Располагают резинку вертикально и прикрепляют свободно перемещаемое зажимное приспособление на расстоянии (15 ± 5) мм от кольца на конце резинки или (при отсутствии кольца) на (15 ± 5) мм выше конца резинки (см. рисунок 48).

1 - мячик; 2 - неподвижный зажим; 3 - свободно перемещаемый зажим; 4 - кольцо или другая деталь, изготовленная из упругого материала; 5 - резинка, изготовленная из упругого материала; L - расстояние между двумя зажимами
Рисунок 48 - Расположение зажимов при измерении модуля упругости к мячиков на резинке
Подвешивают груз (включая массу свободно перемещаемого зажимного приспособления) массой (0, 1 ± 0, 005) кг к свободно перемещаемому зажимному приспособлению параллельно оси резинки, изготовленной из упругого материала, и измеряют расстояние L1 между двумя зажимами в миллиметрах с погрешностью ± 1 мм.
После снятия нагрузки с резинки, изготовленной из упругого материала, она должна восстановить свою первоначальную длину.
Подвешивают груз (включая массу свободно перемещаемого зажимного приспособления) массой (0, 2 ± 0, 005) кг к свободно перемещаемому зажимному приспособлению.
Измеряют расстояние L2 между двумя зажимами в миллиметрах с погрешностью ± 1 мм.
Вычисляют k по формуле
.
8.38 Испытание на отделение отрывного элемента [см. 5.4, перечисления b), с) и 5.14]
Фиксируют один конец шнура или ремешка. Прикладывают усилие (25 ± 2) Н в вертикальном направлении к другому концу, вдоль оси шнура или ремешка, таким образом, чтобы отрывной элемент находился бы посередине между точками фиксации. Определяют, не оторвался ли шнур, ремешок или отрывной элемент.
8.39 Самовтягивающиеся шнуры [см. 5.4, перечисление е)]
Располагают игрушку таким образом, чтобы шнур свободно свисал вниз, и механизм самовтягивания не был бы задействован.
Груз массой (1 ± 0, 1) кг прикрепляют к свободному концу шнура. Определяют, способен ли механизм самовытягивания поднять данный груз, путем вытягивания шнура при следующих условиях:
- шнур вытягивается из механизма на расстояние 20 мм;
- шнур вытягивается из механизма на расстояние, равное половине максимальной длины вытягивания;
- шнур вытягивается из механизма на максимально возможное расстояние.
8.40 Длина шнуров, цепей и шнуров электропитания [см. 5.4 перечисления b), с), g), h) и i)]
Фиксируют один конец шнура или цепи и к другому концу прикладывают усилие (25 ± 2) Н, вдоль оси шнура или цепи. Измеряют длину шнура или цепи от точки фиксации до конца шнура или цепи с погрешностью ± 1 мм. Если точка фиксации имеет ту же форму, что и шнур или цепь, то данную часть измеряют как часть всего шнура или цепи (см. рисунок 49).

1 - длина шнура или цепи
Рисунок 49 - Измерение длины шнура или цепи с креплениями той же формы, что и шнур или цепь
Примечание - В соответствии с данным методом испытания, шнур электропитания также рассматривается как обычный шнур.
Приложение А
(справочное)
А.1 Общие положения
Настоящий стандарт разработан с целью прогнозирования опасности применения игрушек и предотвращения возникновения опасных ситуаций, а не для введения конструктивных ограничений. При применении стандарта следует обратить внимание на следующие определения:
- опасность - потенциальный источник телесных повреждений;
- риск - это степень вероятности получения телесных повреждений совместно со степенью тяжести телесного повреждения;
- телесное повреждение - увечье и/или иной ущерб для здоровья, соответственно повреждение имущества.
В настоящем приложении к большинству требований приведены описания сопряженных с ними опасных ситуаций, а также дополнительная информация и логические основы.
А.2 Область применения (см. раздел 1)
В разделе "Область применения" перечислен ряд игрушек, на которые требования настоящего стандарта не распространяются. Такой класс как "катапульты и устройства для метания" включает в себя пращи, а также (согласно информационному письму комиссии Европейского Союза от 1992 г.) игрушки (например, самолеты и ракеты), которые приводятся в состояние свободного полета ребенком при помощи упругой ленты.
В разделе "Область применения" приводят перечень изделий, не относящихся к игрушкам, в рамках настоящего стандарта, однако требующих некоторых разъяснений:
- транспортные средства с двигателем внутреннего сгорания, включающие двигатель, а также запасные части к нему;
- модели для людей, занимающихся коллекционированием, выполненные с точностью оригинала, например модели кораблей, а также сложные конструкторские наборы для моделирования;
- "бижутерия для детей" - не включает украшения, приравниваемые к игрушкам (например, украшения, входящие в комплект карнавального костюма), поделочные наборы для изготовления украшений, предназначенные для детей (классификация детских наборов "Сделай сам" приведена в инструктивном документе Европейской комиссии).
Следует обратить внимание на то, что СЕ-маркировка не наносится на изделия, которые не входят в область распространения настоящего стандарта, если не было выдано свидетельство о проверке образца в соответствии с [12] или если СЕ-маркировка не предусмотрена другим нормативным актом ЕС.
А.3 Материал (см. 4.1)
Требования настоящего стандарта к материалу должны обеспечивать изготовление игрушки из новых материалов, если при изготовлении игрушки используется материал, полученный из отходов собственного производства. Материал не должен быть поражен насекомыми или другими вредителями.
Согласно [12] игрушки должны быть сконструированы и изготавливаться таким образом, чтобы удовлетворять гигиеническим требованиям и быть чистыми для того, чтобы устранить риски, связанные с инфекцией, заболеваниями или загрязнением.
А.4 Сборка (см. 4.2)
Требования настоящего стандарта к сборке игрушек должны предотвращать опасности, возникающие при использовании игрушек, которые собираются перед применением и которые при неправильной сборке могут создать опасные ситуации (например, качели, реализующиеся в разобранном виде).
Требования распространяются только на те игрушки, собирать которые необходимо с соблюдением требований безопасности. Требования настоящего стандарта не распространяются, например на сборку модели из пластмассового набора-конструктора.
Очевидно, что конструкция игрушки, собираемой ребенком самостоятельно (например игрушка, состоящая из кубиков), должна быть безопасна.
А.5 Гибкая полимерная пленка (см. 4.3)
Выполнение этих требований снижает опасность удушья, которая может исходить от тонкой гибкой полимерной пленки, если она покрывает лицо ребенка или вдыхается им.
Тонкая полимерная пленка может закрыть рот или нос ребенка так, что он не сможет дышать. Риск уменьшается при использовании пленки толщиной более 0, 038 мм.
Требования, предъявляемые к воздушным шарам, приведены в разделе А.16.
А.6 Стекло (см. 4.5 и 5.7)
Требования направлены на снижение вероятности повреждения тканей тела о разбитое стекло, например, в результате острых кромок.
Следует избегать наличия в игрушках доступных частей из стекла, если это не требуется для выполнения игрушкой ее функций.
Например, для производства игрушечных чайных сервизов, предназначенных для детей старше 36 мес, может применяться фарфор. Опасность, связанная с разбитым фарфором, хорошо изучена.
А.7 Набухающий материал (см. 4.6)
Требования направлены на уменьшение опасности, исходящей от игрушек, изготовленных из набухающих материалов, которые могут сильно увеличиваться в размерах, если их проглотит ребенок, что может повлечь смерть. Считается, что такие игрушки или детали игрушек при проглатывании могут привести к смертельному исходу, так как они могут вызвать закупорку кишечного тракта.
Если игрушка набухла более, чем на 50 %, в любом направлении спустя 24 ч, 48 ч или 72 ч, считается, что она не прошла испытание.
Примером набухающего материала, заключенного в оболочку из материала, разрушающегося при набухании в процессе впитывания влаги, является "растущее яйцо".
А.8 Кромки (см. 4.7)
Требования направлены на уменьшение опасности получения телесных повреждений, причиной которых может быть наличие у игрушек острых кромок.
Настоящий стандарт распространяется на кромки металлических и стеклянных изделий. Для кромок пластмассовых изделий методы испытаний отсутствуют. Однако изготовители должны по возможности избегать острых кромок в пластмассовых игрушках и инструментах.
Было разработано дополнение метода испытания остроты кромок субъективным мнением о возможной опасности. В конструкции игрушки могут быть кромки, не являющиеся опасными, несмотря на то, что методами испытания они классифицируются как острые.
Наличие на кромке неровностей (зазубрин) устанавливается при проведении по кромке пальцем руки. Считается, что это требование не выполняется, если неровность является ощутимой, испытание с применением испытательных устройств для определения острых кромок не дает положительный результат.
Установлено, что электрические соединения (например, соединение аккумуляторных батарей) не могут быть изготовлены без наличия острых кромок. Однако опасность, которую могут представлять эти кромки, считается незначительной.
А.9 Острые концы и металлическая проволока (см. 4.8)
Требования предусмотрены для снижения возможности создания опасных ситуаций из-за наличия острых концов игрушек, которые могут стать причиной повреждений кожи ребенка. Однако следует обратить внимание на то, что требования не учитывают опасность для глаз, которые являются слишком чувствительными, чтобы использовать средства защиты.
Было разработано дополнение метода испытания концов на заостренность субъективной оценкой для определения фактической опасности. Игрушка может иметь острые концы, классифицированные как острые согласно испытанию, однако они могут представлять незначительную опасность для ребенка. Примером является используемое в качестве игрушки приспособление для чистки трубок, имеющее мягкую щетину, которая может повредить кожу ребенка.
Однако для детей в возрасте до 36 мес опасность могут представлять концы, не считающиеся согласно испытанию острыми. В 5.1, перечисление с) (игрушки для детей в возрасте до 36 мес, общие требования), приведены требования к металлическим концам площадью сечения до 2 мм2.
Металлическая проволока и другие металлические детали с покрытием или без него, предназначенные для сгибания, проходят испытание на гибкость, при этом не должно образовываться острых концов и она не должна ломаться.
Проволоку и другие металлические детали, предназначенные для сгибания, подвергают 30 циклам испытания, а металлическую проволоку, не предназначенную для сгибания, но которую можно случайно изогнуть во время игры - одному циклу испытания.
Проволока часто применяется при изготовлении мягконабивных игрушек, предназначенных для детей в возрасте до 36 мес. Если проволока сломается, то выступающий из игрушки наружу конец может представлять опасность для ребенка. Проволоку и другие металлические детали, предназначенные для сгибания, часто используют в игрушках других типов для придания жесткости или восстановления формы. Например проволока, которая может сгибаться, может применяться в игрушках в виде антенн.
Требования 4.8, перечисление d), не распространяются, например, на U- или L-образные профили, используемые в спицах игрушечных зонтов. Игрушки, в которых проволоку нельзя согнуть без снятия с игрушки, не испытывают.
А.10 Выступающие части (см. 4.9)
Требования направлены на уменьшение опасности того, что незащищенные трубки или жесткие детали (например руль игрушечного велосипеда, рычаг картинга или рама коляски) могут образовывать выступы, которые при падении на них ребенка могут его травмировать. Такие выступающие части должны быть защищены. Размеры и форма защитных устройств не устанавливаются, за исключением игрушечных самокатов, однако они должны иметь значительную поверхность, чтобы исключить травмирование ребенка.
Данные требования относятся только к вертикальным или почти вертикальным выступающим частям, способным создать опасные ситуации в случае падения на них ребенка. Испытание игрушки осуществляют в положении, представляющем наибольшую опасность для ребенка.
Считается, что опасная ситуация не возникает, если выступающая часть имеется на маленькой игрушке, способной опрокидываться, но опасность может возникнуть из-за нажатия на конец выступающей части.
А.11 Механизмы складывания и скольжения (см. 4.10.1)
Данные требования распространяются только на некоторые, а не на все возможные и опасные ситуации, которые могут возникнуть в результате внезапного и непреднамеренного самопроизвольного складывания игрушки, вне зависимости от того, предназначена ли она нести на себе массу ребенка или нет, и которые могут привести к удушью, рваным ранам или ушибам.
Требования настоящего стандарта к механизмам складывания обеспечивают снижение вероятности сдавливания ребенка складывающимся игрушечным креслом или коляской или защемления его пальца во время игры.
Имеющиеся несчастные случаи со смертельным исходом, когда ребенок хотел сесть или взобраться в игрушечное кресло, явились следствием того, что внезапно происходило складывание игрушки, а ручка-трость падала на голову или горло ребенка. Поэтому требование к наличию у игрушечных кресел или колясок, а также у больших кресел и колясок, двух раздельных фиксирующих устройств и/или предохранительных упоров обязательно.
Некоторые игрушечные кресла имеют ручку-трость, падающую при складывании не на игрушку, а в сторону. У игрушки такой конструкции возможность создания опасной ситуации ниже, поэтому нет необходимости снабжать ее двумя раздельными фиксирующими устройствами или предохранительными упорами.
Однако невозможно полностью устранить опасность нанесения травмы, связанной с защемлением пальцев, даже если это предусмотрено эксплуатационными характеристиками. Изготовитель должен обеспечивать снижение этих рисков, соблюдая требования по безопасному расстоянию 12 мм между всеми подвижными частями или применению предохранительных упоров. При конструировании таких игрушек следует стремиться к полному исключению возможности сдвига подвижных частей.
Требования, приведенные в 4.10.1, перечисления а), b) и с), распространяются на складывающиеся игрушки. Требования 4.10.1, перечисление d), охватывают игрушки, имеющие подвижные части (например экскаваторное оборудование для трактора). К ним не относятся маленькие игрушки, так как требован.
А.12 Приводные механизмы (см. 4.10.2)
Выполнение требований снижает степень опасности, возникающей, когда в результате повреждения игрушки наружу выступают острые концы и кромки. Требования направлены также на избежание ушибов и рваных ран, которые могут возникнуть в результате защемления ребенком пальцев в отверстиях приводного механизма или между приводным механизмом и корпусом игрушки.
Приводной механизм должен быть заключен в корпус (кожух) для предотвращения сдавливания, ушиба пальцев или других частей тела ребенка. Игрушку, предназначенную для собирания взрослым, испытывают в собранном виде (см. 4.2, сборка).
К таким приводным механизмам не относятся маленькие приводы, например приводные механизмы для маленьких машинок, не обладающие достаточной мощностью, для сдавливания пальцев. Мощность такого привода проверяется введением в него пальца или карандаша.
Требования раздела считаются недопустимыми, если приводные механизмы являются доступными и вследствие этого остается вероятность ушиба или повреждения пальцев.
А.13 Шарниры (см. 4.10.3)
Выполнение данных требований направлено на уменьшение опасности защемления пальцев рук в случае, если размер щели по шарнирной линии изменяется таким образом, что пальцы могут поместиться между плоскостями только в одном и ни в каком другом положении.
Требования распространяются только на шарнирные соединения, у которых каждая из составных частей имеет массу не более 250 г, а подвижная часть, содержащая шарнир, рассматривается как дверца или крышка. В рамках этого требования дверца или крышка могут быть классифицированы как запирающие устройства с большой поверхностью и длинной шарнирной линией. Детали на шарнирах или шарнирных линях могут быть отнесены к механизмам складывания (см. 4.10.1, механизмы складывания и скольжения).
Требования применимы в случае сдавливания и повреждения пальцев между кромками вдоль шарнирной линии или между поверхностями, расположенными параллельно шарнирной линии, как показано на рисунке 1 (см. 3.30, шарнирная линия, определение), но не распространяется на другие кромки и поверхности соединения. Это требование имеет значение только в случаях, когда для открывания или закрывания дверцы или крышки к кромкам вдоль шарнирной линии необходимо приложить значительное усилие.
Определить вместо шарнирной линии шарнирную зону не всегда предоставляется возможным. Это необходимо учитывать конструкторам и изготовителям, и для снижения опасности повреждения пальцев или других частей тела конструкцией игрушек должно быть предусмотрено наличие щели между подвижными частями соединения вблизи шарнирной линии размером 12 мм.
А.14 Пружины (см. 4.10.4)
Выполнение требований направлено на предотвращение возможности зажатия или ушиба пальцев рук и ног или других частей тела пружиной.
А.15 Игрушки, предназначенные для контакта со ртом ребенка (см. 4.11)
Требования направлены на предотвращение случайного проглатывания игрушек, предназначенных для контакта со ртом ребенка, или их мундштуков, что может привести к удушью, конструкцией таких игрушек должно быть исключено наличие мелких съемных частей или мундштуков (например, мундштук у трубы), которые можно проглотить или вдохнуть.
Требованием является то, что такие игрушки, а также съемные элементы и детали, которые отделяются при испытании, не были бы настолько мелкими, чтобы их можно было случайно проглотить или вдохнуть. Это требование ранее относилось только к съемным или отделяемым мундштукам игрушек, предназначенным для контакта со ртом ребенка, но в соответствии с [12], требование расширено, и теперь оно относится к любым съемным или отделяемым деталям игрушек, в том числе и к игрушкам, предназначенным для контакта со ртом ребенка.
При длительном нахождении во рту мундштук станет незакрепленным ввиду его намокания, для предотвращения этой опасности его подвергают первоначально испытанию на набухание, затем проводят испытание на скручивание и на разрыв. Для летающих игрушек, приводимых в действие ртом, испытание на набухание не проводится, так как они обычно не находятся во рту длительное время.
Для проверки того, что при использовании игрушки, предназначенной для контакта со ртом ребенка, (например, губная гармошка или свисток) не происходит отделение маленьких деталей, проводят испытание на вдувание и выдувание, при котором через игрушку пропускается необходимый объем воздуха под давлением.
Данные требования распространяются на игрушки для детей всех возрастных групп.
А.16 Мячи (см. 4.3, 4.12 и 7.3)
Мячи могут быть изготовлены из натурального латекса или пластика. Мячи из металлизированной пластмассы, как правило, более твердые, чем из латекса, поэтому они представляют меньшую опасность закупорки дыхательных путей и удушья и для них не требуется предоставление предупреждающей информации по 7.3 (мячи из латекса).
Мячи из латекса не рассматриваются в 4.3 (гибкая полимерная пленка), так как они состоят из пластмасс. Пластмассовые мячи, как правило, обладают достаточной прочностью. Толщину полимерной пленки измеряют при двойном слое пленки (чтобы не повредить поверхность мяча).
Изделия, изготовленные с применением натурального латекса, могут вызывать у некоторых детей тяжелую аллергическую реакцию. Поэтому необходимо, чтобы мячи, изготовленные из натурального латекса, имели об этом соответствующую предупредительную информацию (см. 7.3, мячи из латекса).
А.17 Шнуры для воздушных змеев и других летающих игрушек (см. 4.13)
Выполнение этих требований направлено на предотвращение опасности, вызванной использованием игрушек со шнуром при соприкосновении воздушного змея с высоковольтной линией электропередач. Опасной ситуацией является также использование игрушки во время грозы.
А.18 Игрушки, внутри которых может поместиться ребенок (см. 4.14.1)
Выполнение требований позволит снизить опасность удушья в результате того, что ребенок может оказаться запертым внутри игрушки, представляющей закрытое пространство (например, палатки или игрушечные сундучки).
Требование распространяется на игрушки, представляющие собой закрытое пространство, внутри которых может поместиться ребенок, независимо от того, предназначены ли они для нахождения в них ребенка или нет. Конструкцией игрушек даже при наличии вентиляции должна быть предусмотрена возможность ребенку выбраться из нее без посторонней помощи.
Требование 4.14.1, перечисление с), введено относительно игрушечных сундучков для того, чтобы исключить опасность, возникающую для ребенка, если он засовывает голову в игрушечный сундучок и крышка случайно падает на затылок или шею ребенка, в результате чего возникнет опасность удушья. Такие сундучки также относятся к игрушкам.
А.19 Защитные маски и шлемы (см. 4.14.2 и 7.8)
Выполнение требований направлено на обеспечение соответствующей вентиляцией, закрывающих голову масок или шлемов, чтобы избежать возможного удушья в закрывающей голову игрушке (например, шлем для космонавта) в результате недостаточной вентиляции, а также на снижение опасности повреждения глаз в случае поломки очков у игрушечных мотоциклетных шлемов и подобных изделий.
Необходимо, чтобы маски не прилегали плотно к лицу и не затрудняли дыхание.
Требования распространяются также на изделия, представляющие собой копии средств защиты, но для защиты ребенка не предназначенные. Поэтому на такие изделия, как очки для плавания или ныряния, требования настоящего стандарта не распространяются.
Детские очки от солнца к игрушкам не относятся, они относятся к средствам защиты. Однако солнцезащитные очки с элементами игрушки (например украшенные небольшими картинками), также должны соответствовать требованиям настоящего стандарта (например острые кромки). Солнечные очки для кукол, игрушечных медвежат и т.д., если они слишком маленькие, не предназначенные для ношения детьми, относятся к игрушкам.
А.20 Игрушки, несущие на себе массу ребенка (см. 4.15 и 7.10)
Выполнение требований направлено на предотвращение опасных ситуаций вследствие недостаточной прочности и устойчивости игрушки, а также недостаточной надежности тормозных устройств игрушечного транспортного средства.
Требования также направлены на предотвращение опасных ситуаций, связанных с возможностью зажимания пальцев и других частей тела цепями и осями.
Настоящий стандарт содержит требования и методы испытаний велосипедов с максимальной высотой сиденья до 435 мм. Эти велосипеды не предназначены для езды по автомобильным дорогам. EN 14765 содержит требования и методы испытаний велосипедов с высотой сиденья от 435 до 635 мм. Несмотря на то, что это не рекомендуется, дети часто ездят на этих велосипедах по улицам и вблизи транспорта. В отдельных странах законодательством предусмотрены требования к использованию таких велосипедов для детей.
Требования к роликовым конькам, роллерам и скейтбордам для детей распространяются на детей массой тела до 20 кг. Требования к изделиям, предназначенным для использования детьми массой тела более 20 кг, установлены в EN 13613, EN 13843, EN 13899.
Применение средств защиты требуется для роликовых коньков, встроенных роликовых коньков и скейтбордов. Применение средств защиты также требуется для игрушек с электрическим приводом, если только они не предназначены для использования в положении сидя и прошли испытание на устойчивость, а также если они имеют максимальную расчетную скорость не более 8 км/ч, в этом случае средства защиты не требуются.
Прочность игрушки проверяется статическим и динамическим испытаниями, во время которых игрушку нагружают грузом. Установлены две нагрузки массой: 50 кг - для игрушки, предназначенной для использования детьми в возрасте старше 36 мес, и 25 кг - для игрушки, предназначенной для детей в возрасте до 36 мес. Если возникают сомнения относительно возрастных групп, то необходимо применять нагрузку большей массы.
Масса нагрузки определяется после обследования конкретных изделий. Однако у некоторых игрушек, таких как, например, джамперы, груз должен распределяться на обе опорные поверхности, так как невозможно определить вид нагрузки. Для таких игрушек прочность опор является основным критерием, так как от их надежности зависит безопасность ребенка.
Установленные прочностные характеристики основываются на антропометрических данных и учитывают ухудшение свойств игрушки за период эксплуатации.
Требования к устойчивости не распространяются на изделия, которые не могут стоять сами, например, джамперы.
Тележки - это игрушки на колесиках, в которые помещаются от одного до нескольких детей и которые может везти другой ребенок или взрослый.
Игрушка, в которой ноги ребенка остаются свободными, для придания игрушке устойчивости, не подпадает под те же требования, что и игрушка, в которой ребенок помещается полностью. Дети обладают естественной реакцией стабилизировать игрушку ногами, если для этого есть возможность. Требования к устойчивости действуют, тем не менее, для любой игрушки для детей младше 36 мес.
Все игрушки с механизмом свободного хода, несущие на себе массу ребенка, должны иметь тормозные устройства. Исключение составляют игрушки с приводным механизмом на переднее колесо, например трехколесные велосипеды с приводом на переднее колесо, педальные автомобили, а также машины с электрическим приводом с низкой скоростью (т.е. менее 1 м/с), у которых предусмотрено, что ноги ребенка свободны и могут нажимать на тормозное устройство.
Тормоза не требуются в игрушках для катания без механизма свободного хода, т.к. такие транспортные средства не предназначены для эксплуатации на наклонных поверхностях, а также в связи с отсутствием безопасных и легко управляемых систем торможения. Однако, игрушки без механизма свободного хода, которые имеют значительную массу или предназначены для одновременного использования несколькими детьми, должны сопровождаться предупреждением для детей и лица, наблюдающего за ним, о том, что в игрушке отсутствуют тормоза.
Механизм свободного хода, как правило, проверяют, поставив игрушку на ровную наклонную поверхность, и определяют, может ли она по ней двигаться и ускоряться. Проверку проводят в случае, если есть необходимость подтверждения расчетных данных. Формула для расчета свободного хода (М + 25) х g х sin 10°. Sin 10° равен 0, 173 и при умножении на 9, 81 получается значение 1, 70.
Для оценки возможности свободного хода двигателя у игрушек с электрическим приводом, игрушку подвергают одному из двух возможных методов испытаний. Формула для расчета свободного хода (М + 25) х g х sin 10°. Sin 10° равен 0, 173, а после умножения на 9, 81 равен 1, 70.
Предельные значения для максимальной скорости игрушек с электрическим приводом установлены в отношении игрушек, предназначенных для детей старше 6 лет, а также для детей до 6 лет. Игрушки с электрическим приводом, предназначенные для эксплуатации в положении стоя, предназначены для использования детьми старше 6 лет. Ограничение максимальной скорости игрушек, предназначенных для детей до 6 лет, необходимо для того, чтобы облегчить наблюдение за детьми со стороны взрослых во время эксплуатации игрушек. Для детей старше 3 лет, но младше 6 лет, допускается устанавливать максимальную скорость более 6 км/час, при условии, что более высокая скорость (8, 2 км/час) может быть достигнута только, если настройки специального устройства были изменены при помощи инструмента лицом, присматривающим за ребенком.
А.21 Игрушки "качалки-лошадки" и аналогичные игрушки (см. 4.15.3)
Выполнение данных требований направлено на устранения опасностей, связанных с прочностью и устойчивостью игрушки "качалки-лошадки" для исключения внезапного опрокидывания при пользовании.
Целью также является предупреждение лиц, присматривающих за детьми, о том, что детей в возрасте до 36 мес не должны оставлять без присмотра на "качалках-лошадках" при высоте сиденья свыше 600 мм в связи с тем, что возникает вероятность наличия риска падения и получения травмы.
А.22 Игрушки со снарядами (см. 4.17)
Данные требования распространяются на опасные ситуации, которые могут неожиданно возникнуть при использовании игрушек со снарядами, а также самодельных снарядов.
Типичной игрушкой, у которой кинетическая энергия определяется самой игрушкой, а не ребенком, является пистолет или другая игрушка с применением пружины. Трубка с выдуваемым снарядом (горошиной) является игрушкой, кинетическая энергия которой определяется силой легких ребенка.
Игрушки, запускающиеся по направляющим или по другой аналогичной траектории, не относятся к игрушкам со снарядами даже в том случае, если часть движения проходит в свободном полете (например, между направляющими).
Скорость снарядов может быть задана непосредственно или косвенно.
Снаряды с вакуумной присоской могут являться причиной удушья детей. Конструкцией снаряда должна быть предусмотрена возможность его удаления при блокировке дыхательных путей.
В связи с этим вакуумные присоски, должны быть либо больших размеров, либо быть надежно закреплены, а также длина этих снарядов должна быть достаточной для удаления вакуумной присоски при блокировке дыхательных путей.
А.23 Игрушки для игры на воде (см. 4.18 и 7.4)
Данные требования направлены на снижение опасности того, что ребенок может утонуть из-за потери плавучести игрушки для игры на воде, вызванной утечкой воздуха через впускное отверстие. Требованиями должна предусматриваться также необходимость информирования детей и лиц, присматривающих за ними, об опасности применения таких игрушек на глубоководье. Требования, также предназначены для устранения опасности удушья, связанного со случайным проглатыванием пробок, вставленных в отверстия для накачки воздухом.
Настоящий стандарт распространяется на игрушки для игры на воде, которые предназначены выдерживать массу ребенка, и для игр детей на мелководье под присмотром взрослых, а также на другие надувные игрушки, снабженные отверстиями для накачки воздухом с пробками.
Пробки, закрывающие клапаны, для всех типов надувных игрушек не должны отсоединяться.
Пробки на игрушках для игры на воде должны быть защищены от непреднамеренного вытягивания. Пробки, как правило, должны быть оснащены обратными клапанами, облегчающими надувание.
Надувные лодки и матрасы длиной более 1, 2 м не классифицируются как игрушки, а классифицируются как надувные изделия для отдыха, которые подпадают под действие Директивы по безопасности изделий. Игрушки для игры на воде, такие как надувные дельфины и крокодилы, рассматриваются как игрушки, независимо от своих размеров, однако если их размеры превышают 1, 2 м, то к ним должны быть дополнительно установлены требования безопасности, так как они считаются чувствительными под воздействием ветра к дрейфу, что приводит к риску дрейфа на большую глубину. Для таких игрушек необходимо предъявлять требования по настоящему стандарту и EN 15649-3 (включая требования, изложенные в других частях EN 15649, к которому относится EN 15649-3).
Кроме этого, нарукавные надувные повязки классифицируются как средства индивидуальной защиты, а средства обеспечения плавучести классифицируются как плавательное средство, а не как игрушка.
А.24 Пиротехнические и запальные устройства, предназначенные специально для игрушек, и игрушки с пистонами (см. 4.19)
Настоящие требования направлены на снижение опасности повреждения глаз от искр, пламени, тлеющих частиц, когда пороховые заряды при неправильном использовании взрываются вне игрушечного оружия или если используемые пороховые заряды могут произвести непреднамеренный опасный взрыв по причине несовершенства конструкции или некачественного изготовления. Требования настоящего раздела направлены также на снижение опасности получения травм от одновременного действия большого числа пиротехнических устройств.
А.25 Акустические характеристики (см. 4.20)
Настоящие требования предназначены для рассмотрения опасных факторов, связанных с продолжительными и импульсными уровнями звукового давления. Требования относятся только к игрушкам, которые предназначены для воспроизведения звуков, т.е. к звукоиздающим игрушкам, таким как электрические и электронные устройства, игрушечные музыкальные ударные инструменты, звукоиздающие детали и др. Непроизвольный звук, издаваемый игрушкой при работе, не рассматривается настоящими требованиями. Примерами непроизвольных звуков являются звуки конструктора для запуска гоночных шариков, оттягивание назад машинок с натяжным приспособлением, открытия или закрытия крышки или двери, пружинного завершающего автоматического щелчка кнопкой или едва "увеличивающегося" звука мотора радиоуправляемой автомодели, и др.
Проектирование игрушки, воспроизводящей звук, близкий к предельным значениям, является не лучшим вариантом, поскольку наиболее комфортным уровнем громкости звука, для уха слушающего является диапазон от 50 до 70 дБ. Для игрушек, предназначенных для использования в среде с помехами, нет необходимости увеличивать уровень громкости звука. В случае, когда уровень громкости звука увеличивается, слуховая активность уменьшается из-за ограниченной способности улавливать мелкие детали в звуковом сигнале. Кроме того, уровни громкости звука ниже диапазона 75-80 дБ не создают риск для необратимого повреждения человеческого уха, главным образом, не зависящим от времени воздействия.
В настоящее время не существует достоверного доказательства, что восприимчивость детей к громкому звуку значительно отличается от восприимчивости взрослых. Предельные значения, установленные в настоящем стандарте, основываются на более низких показателях, приведенных в Директиве 2003/10/ЕС (общепринятое название "директива, связанная с воздействием физического фактора (шума) на рабочем месте"), где LEX, 8h = 80 дБ при длительном воздействии и LpCpeak = 135 дБ при резком воздействии. Данные значения представляют наивысшие уровни защиты в соответствии с требованиями Директивы 2003/10/ЕС. На рабочих местах, имеющих соответствующий уровень шумов, для наиболее чувствительных людей должна обеспечиваться защита органов слуха. Настоящие предельные значения связаны с обычным(и) положением(ями) головы, которое(ые) принимает человек при воздействии шума. В настоящем стандарте установлена точка отсчета, на расстоянии 2, 5 см от уха ребенка для околоушных игрушек и пиковый уровень звукового давления, корректированный по С, на расстоянии 25 см - для эквивалентного уровня давления звукового излучения, для игрушек, отличающихся от околоушных игрушек. Расстояние 2, 5 см было выбрано на основании исследований [20], которые определили настоящую величину как наименьшее расстояние, на котором дети удерживают игрушки. Расстояние в 25 см было отмечено как безопасное для остальных игрушек в соответствии с [20] как среднестатистическое расстояние, на котором используются игрушки.
Решающим фактором в определении постоянного шума является продолжительность ежедневного воздействия, так как любое удвоение продолжительности звучания соответствует увеличению уровня звукового давления излучения в 3 дБ. Исследования показали, что дети играют в игрушки (звукоиздающие или незвукоиздающие), в компьютерные игры максимально от 2 до 5 ч в день. В настоящем стандарте продолжительность звукового воздействия в течение дня была принята равной 2 ч для игры со звукоиздающими игрушками. Для дальнейшего уточнения продолжительности времени воздействия была отмечена небольшая вероятность существования игрушек, испускающих звук в течение всего периода игры, так как некоторые игрушки приходится повторно включать через короткие промежутки времени. Принимая во внимание данный факт, игрушки были разделены на 3 категории в зависимости от продолжительности времени работы в течение дня: 120 мин (полные 2 ч), меньше 40 мин (одна третья от двух целых часов) и меньше 12 мин (одна десятая от двух целых часов). При использовании расчетного времени равного 2 ч (120 мин), два других эффективных рабочих времени подвергаются коррекции в 5 дБ и 10 дБ, соответственно. Предполагается, что игрушки, которые необходимо включать чаще, чем каждые 5 с для получения звука, или игрушки, к которым следует приложить усилия для получения звука, не могут работать дольше 1/10 от общего времени издания звуков. Если звуковой сигнал длится более 30 с после каждого включения, то предполагается, что игрушка будет работать более 1/3 от времени издания звуков. Для пиковых уровней звукового давления продолжительность воздействия не является характерной, поскольку один единственный случай, при котором произойдет высокое мгновенное звуковое давление, может стать причиной внезапного повреждения слуха. Учитывая данный риск, предельные значения пиковых уровней допускают одно из наиболее неблагоприятных положений околоушной игрушки за исключением случаев с игрушечными музыкальными ударными инструментами такими, как барабан и ксилофон, которые при использовании не располагаются близко к уху.
Данные допущения устанавливают предельное значение для корректированного по А эквивалентного уровня давления звукового излучения - 86 дБ, или, при округлении, 85 дБ, измеренного возле уха и предельное значение для пикового уровня давления звукового излучения, корректированного по С - 135 дБ (так как он не зависит от времени). Закон расстояния (ослабление звука на 6 дБ при каждом удвоении расстояния) используется для подсчета эффективных предельных значений при заданном расстоянии измерения. Применение расстояний 2, 5 см и 50 см вблизи уха, соответствуют разнице в уровне громкости звука в 26 дБ. Таким образом, пиковое предельное значение 110 дБ на расстоянии 50 см соответствует 136 дБ, или, при округлении, 135 дБ на расстоянии 2, 5 см. На практике измеренный уровень в 110 дБ на расстоянии 50 см часто показывает пиковые уровни ниже 135 дБ, при измерении на расстоянии от 2, 5 см, в частности, с рассеянным источником (источник, не являющийся точечным), поскольку данное применение закона расстояния представляет наихудший случай. В качестве дополнительной меры предосторожности, рассчитанные предельные значения были округлены в меньшую сторону. В соответствии с другими стандартами использовался корректированный по А эквивалентный уровень звукового давления излучения, а для пиковых уровней звукового давления, корректированный по С.
Для околоушных игрушек принято установленное среднее расстояние для использования - 2, 5 см от уха. Метод испытания предполагает расположение микрофона на расстоянии 50 см от игрушки. Используя закон расстояния (увеличение расстояния с 2, 5 см до 50 см выражается в ослаблении звука на 26 дБ), предельное значение для околоушных игрушек установлено в 85 дБ (86 дБ до округления) на расстоянии 2, 5 см, и составляет 60 дБ при измерении на расстоянии 50 см. Ребенок не всегда использует игрушки в соответствии с назначением. Например, ребенок может использовать некоторые игрушки как околоушные игрушки (например, игрушки, имеющие форму телефона), если данная игрушка, и не предназначена для данных целей. Данные случаи могут привести к риску чрезмерного воздействия на звуковое давление. Игрушки, которые можно легко перепутать с околоушными игрушками должны испытываться как околоушные игрушки. Случайное воздействие звука в момент расположения игрушки вблизи уха в течение короткого периода времени, относится к пиковым пределам уровня звукового давления излучения. Для околоушных игрушек (для игрушек, которые легко можно перепутать с ними), должны рассматриваться различные категории воздействия. При рассмотрении следует учитывать не только время, в течение которого издается звук, но и время, в течение которого игрушка располагается вблизи уха, так как данные значения должны совпадать для воздействия вблизи уха. Для пикового уровня звука самым нежелательным вариантом расстояния является 2, 5 см, а при использовании закона расстояния предельное значение равняется 110 дБ (135 дБ - 26 дБ при округлении) при измерении на расстоянии 50 см.
Считается, что игрушки, имеющие шлемофоны или наушники, относятся к категории воздействия 1, так как их использование предполагается более 1/3 от общего времени звучания. Данным игрушкам был установлен предел уровня звукового давления излучения, усредненного по времени, в 85 дБ, а пиковый предел уровня звукового давления излучения - 135 дБ. Эти значения в точности соответствуют Директиве 2003/10/ЕС, так как измерение уровней звукового давления излучения происходит в искусственном ухе. При этом результаты измерений в искусственном ухе необходимо преобразовать в эквивалент поля в свободном пространстве, так как предельные значения устанавливались в этих условиях. Преобразование корректированного по А эквивалентного уровня звукового давления излучения, определенного по времени, осуществляется в соответствии с данными изготовителя искусственного уха о коррекции поля в свободном пространстве или, при отсутствии таких данных, преобразование может осуществляться в соответствии с IEC/TS 60318-7 с откликом 0°. Преобразовать пиковый уровень звукового давления излучения более сложно, поскольку данное измерение является мгновенным. Измерение пикового уровня звукового давления излучения является фактически импульсом при длительном звуке. Импульсные звуки, как правило, содержат больше всего энергии при высоких частотных диапазонах, которые отличаются от измерения поля в свободном пространстве. Было установлено, что разница в измерении между искусственным ухом и полем в свободном пространстве могла достигать, по меньшей мере, 10 дБ для более высоких частот импульсных звуков. Приведенные предельные значения поля в свободном пространстве приблизительно равны пределам, установленным для околоушных игрушек.
Если не указано иное, то для игрушек, упомянутых выше, было установлено нормальное рабочее расстояние, равное 25 см, а в самом неблагоприятном случае - 2, 5 см. При расстоянии измерения в 50 см, нормальные расстояния использования соответствуют предельным значениям в 80 дБ для корректированного по А эквивалентного уровня звукового давления излучения, определенного по времени и 110 дБ для корректированного по С уровня звукового давления излучения, соответственно.
Игрушки, которые держат в руке, и настольные или напольные игрушки. Учитывая способ эксплуатации и применения, каждой игрушке должна быть, присвоена наиболее подходящая категория воздействия. Что касается размера измерительного параллелепипеда, то было принято допущение, что игрушки для испытания в свободном звуковом поле не должны быть больше 1 м, а поскольку размер напольных игрушек может превышать данное значение, может потребоваться установить дополнительные положения микрофонов.
Погремушки. Поскольку погремушки вряд ли могут производить звук дольше, чем 1/3 от времени использования, их относят к категории воздействия 2, увеличивая предел с 80 дБ до 85 дБ. Поскольку для издания громкого звука метод испытания для корректированного по А эквивалентного уровня звукового давления излучения требует сильного встряхивания испытываемой игрушки оператором с максимально возможной частотой, метод испытания покажет преувеличенное значение эквивалентного уровня звукового давления излучения. Поскольку, как показали результаты испытаний, это превышает нормальное использование, которое, как правило, составляет примерно 5 дБ, то следует вычесть 5 дБ из измеренного значения, перед тем как сравнивать его с предельным значением в 85 дБ. Измерение корректированного по С пикового уровня звукового давления излучения ставит своей целью получение самого высокого уровня звука при встряхивании в медленном темпе и относится к наихудшей возможной ситуации. Поскольку данная ситуация является наихудшей из возможных, то перед сравнением с предельным значением из измеренного значения ничего не вычитается. Игрушки, которые используются таким же образом, как и погремушки (например, маракас), должны испытываться методом, определенным для погремушек.
Игрушки-пищалки. Поскольку игрушки-пищалки не могут производить звук дольше, чем 1/3 от времени использования, их относят к категории воздействия 2, увеличивая предел с 80 дБ до 85 дБ. Для лучшей воспроизводимости метод испытания требует сильного встряхивания испытываемой игрушки оператором с максимально возможной частотой, метод испытания показывает преувеличенное значение эквивалентного уровня звукового давления излучения. Как показали результаты испытаний, это превышенное относительное нормальное использование, которое, как правило, составляет примерно 5 дБ, то следует вычесть 5 дБ из измеренного значения, перед тем как сравнивать его с предельным значением в 85 дБ. Поскольку пиковые измерения относятся к наихудшей возможной ситуации, из измеренных пиковых уровней звукового давления никакие вычитания не производятся.
Игрушки тяни-толкай предназначены для воспроизведения звука. Метод испытания для данных игрушек представляет собой измерение внешнего шума, поскольку такие игрушки для воспроизведения звука находятся в движении. Из-за движения расстояние до стационарного микрофона будут изменяться, а соответственно, будет меняться и уровень звукового давления. По этой причине измеряют корректированный по А максимальный уровень звукового давления излучения с временной характеристикой F, вместо эквивалентного уровня звукового давления, определенного по времени. Временная характеристика F была выбрана для того, чтобы не рисковать, занижая максимальный уровень звукового давления излучения, исходящего из источника, расположенного на небольшом расстоянии. Вместе с тем предельное значение будет оставаться таким же, как и соответствующее эквивалентное значение, определенное по времени от стационарных источников, поскольку предполагается, что ребенок будет перемещать игрушку на одинаковом расстоянии, создавая максимальный уровень звукового давления излучения. Следовательно, предельные значения устанавливаются на уровне 80 и 110 дБ для корректированного по А максимального уровня звукового давления излучения и корректированного по С уровня звукового давления, соответственно.
Игрушечные музыкальные ударные инструменты. Поскольку, наихудшей ситуацией использования данных игрушек является ситуация, при которой пользователь ударяет игрушку с огромной силой при помощи палочки (или руки), то наихудшим расстоянием было принято 25 см для пиковых уровней звукового давления излучения, так как держать игрушку на более коротком расстоянии от уха, применяя силу, не представляется возможным. Предельное значение для пикового уровня звукового давления излучения установлено в 130 дБ. Поскольку игрушечные музыкальные ударные инструменты с малой вероятностью способны издавать звук дольше 1/3 от времени их использования, им была присвоена 2 категория воздействия, с пределом, увеличенным с 80 до 85 дБ. Для лучшей воспроизводимости метод испытания требует сильного встряхивания испытываемой игрушки оператором с максимально возможной частотой, метод испытания покажет увеличенный эквивалентный уровень звукового давления, определенный по времени. Как показали результаты испытаний, это превышенное относительное нормальное использование, составляет до 10 дБ для игрушечных музыкальных ударных инструментов, то следует вычесть 10 дБ из измеренного значения, перед тем как сравнивать его с предельным значением в 85 дБ. Поскольку пиковые измерения относятся к наихудшей возможной ситуации, из измеренных пиковых уровней звукового давления никакие вычитания не производятся.
Духовые игрушки. Поскольку духовые игрушки с малой вероятностью способны звучать дольше 1/3 от времени их использования, им либо присваивают категорию воздействия 2, например, некоторым игрушечным инструментам, увеличивающие предел с 80 дБ до 85 дБ, либо присваивают категорию воздействия 3, например, свистки, с предельным значением до 90 дБ. Для лучшей воспроизводимости метода испытания должны проводить операторы, которые дуют в духовые инструменты с максимальной силой на протяжении нескольких минут, метод испытания показывает увеличение эквивалентного уровня звукового давления. Показали результатов испытаний, это превышенное относительное нормальное использование, как правило, составляет примерно 5 дБ, то следует вычесть 5 дБ из измеренного значения, перед тем как сравнивать его с предельным значением в 85 дБ. Поскольку пиковые измерения относятся к наихудшей возможной ситуации, из измеренных пиковых уровней звукового давления никакие вычитания не производятся.
Игрушки с пистонами. Поскольку игрушки с пистонами с малой вероятностью способны звучать дольше 1/10 от времени их использования, им присваивают категорию воздействия 3, с увеличением предела с 80 дБ до 90 дБ. Пиковые уровни звукового давления основываются на требованиях к звукам в целом, с пределом 110 дБ. Однако исследования в соответствии с [19] показали, что очень короткие импульсы продолжительностью менее 0, 2 мс не вызывают повреждения слуха при пределах до 151 дБ на ухо, что соответствует 125 дБ при измерении на расстоянии 50 см. Таким образом, был установлен предел пикового уровня звукового давления излучения в 125 дБ, поскольку пистоны воспроизводят звук продолжительностью приблизительно 0, 15 мс.
Голосовые игрушки. Каждая игрушка должна быть установлена соответствующим образом в зависимости от ее назначения. Каждой игрушке должна быть присвоена наиболее подходящая категория воздействия.
А.26 Общие требования игрушек для детей до 36 мес (см. 5.1)
Настоящие требования направлены на устранение опасностей, связанных с недостаточной прочностью и долговечностью игрушек для детей младшего возраста, которые обычно подвержены значительному изнашиванию. Данные требования направлены на уменьшение опасностей, связанных с мелкими деталями, которые могут вызвать закупорку дыхательных путей при вдыхании или проглатывании, а также устранить опасности, связанные с острыми кромками, острыми концами и пружинами, которые могут привести к зажиму пальцев и т.д.
Маленькие дети имеют привычку брать вещи в рот. Поэтому игрушки и их части для данной возрастной группы должны иметь минимальные размеры, предотвращающие возможность закупорки дыхательных путей. Игрушки и детали игрушек должны обладать значительной прочностью, препятствующей возникновению значительного износа.
Требования 5.1 не распространяются на некоторые материалы, например, ткань и пряжу. К хорошо уплотненной набивной детали из этих материалов должны предъявляться те же требования, что и к маленькой твердой детали, изготовленной из подпадающих под эти требования материалов, т.к. она может представлять ту же опасность. Набивную деталь следует считать хорошо уплотненной только в том случае, если ее трудно сжать рукой (зажав между указательным и большим пальцами).
Такая деталь, тем не менее, не может считаться опасной, если она не остается хорошо уплотненной после проведения соответствующих испытаний. Это имеет место, например, когда ткань хорошо уплотненной набивной детали расходится при удалении детали и становится видимым материал набивки.
В 2013 году было выяснено, что исключение термина "ткань" означает исключение также термина "войлок" и "трикотажное полотно". В связи с этим, требования 5.1 не распространяются на эластичный полимер, переплетенный в эластичной ткани, также как и на эластичную нить, вшитую в ткань.
Требования 5.1 не распространяются на бумагу, так как бумажные части не обладают механической прочностью, что может представлять угрозу в виде закупорки дыхательных путей.
Требования 5.1, перечисление b), не распространяются на игрушки, изготовленные полностью из картона и съемные части, изготовленные из картона. Практический опыт показывает, что части, не отделенные от деталей из картона, при попадании в рот при намокании, теряют свою механическую прочность. Освобожденные влажные части не представляют опасности для закупорки дыхательных путей. Информация о несчастных случаях подтвердила данный факт, указав на недостаток серьезных инцидентов, вызванных закупоркой дыхательных путей картоном.
Кусочки картона, представляющие собой отдельные мелкие детали, могут вызывать риск закупорки дыхательных путей в случае проглатывания или вдыхания без предварительного смачивания. В связи с этим мелкие детали из картона должны быть надежно прикреплены. Испытания на разрыв, установленные в 5.1, перечисление а), для деталей из картона являются оценкой конкретных рисков. Испытание на разрыв было добавлено в качестве меры предосторожности для случаев, когда дети могут оторвать неплотно прикрепленные небольшие части деталей из картона. В связи с этим, требования, приведенные в 5.1, перечисление а), являются более жесткими для картона, чем для других материалов.
Если бумага и некоторые детали из картона имеют полимерное покрытие, толстослойное покрытие, например, глянцевое, или другое покрытие, имеющее влагостойкость, что увеличивает опасность закупорки дыхательных путей. Если детали из бумаги или картона (с покрытием или без) имеют те же свойства, что и бумага (например, легко рвутся или обладают свойствами бумаги), на них не распространяются требования 5.1, перечисление b).
Программа испытаний для игрушек для детей до 36 мес, совпадает с испытаниями при условиях нормального и неправильного функционирования, описанными в стандарте по безопасности игрушек [2].
Требования, предъявляемые к металлическим концам и проволоке, изложены в 5.1, перечисление с), см. А.9.
Выполнение требования 5.1, перечисление g), предъявляемого к корпусу игрушки, направлено на обеспечение прочности и износостойкости, например, корпуса колокольчиков, погремушек и т.д., содержащих мелкие детали, острые кромки и концы, которые в результате разрушения корпуса могут представлять опасность для ребенка.
Испытание намачиванием 5.1, перечисление е) для деревянных клееных игрушек направлено на дополнительную проверку прочности соединений. Другие дефекты игрушек, возникающие в результате намачивания (например толстый слой лакокрасочного покрытия, который может отслоиться), не рассматриваются.
Пластиковые наклейки, самоклеящиеся или несамоклеящиеся переводные картинки (см. 5.1, перечисление е), наклеенные на игрушку, отклеиваемые при испытании намачиванием, должны выдержать испытание для полимерной пленки по 4.3 (гибкая полимерная пленка), а также испытание для мелких деталей (8.2).
В деревянных игрушках участки с сучками неодинаковы, поэтому по результатам испытаний одной игрушки с сучками нельзя делать заключение об уровне безопасности изделий из дерева определенного вида. Маленькие сучки в деревянной игрушке могут легко выниматься и их следует рассматривать как мелкие съемные детали.
А.27 Материал наполнителя (см. 5.2)
Выполнение требований, изложенных в 5.2, перечисления а) и b), направлены на устранение опасностей, связанных с объектами, которые могут вызывать порезы или рваные раны, если будут доступными, или могут приводить к закупорке дыхательных путей при вдыхании, или наносить вред здоровью при проглатывании.
Требование, изложенное в 5.2, перечисление b), следовательно, направлено на то, чтобы у ребенка отсутствовала возможность получить доступ к мелким деталям при разрыве шва мягконабивной игрушки или мягконабивной детали игрушки, содержащей мелкие детали или набивку, из которой может выпасть мелкая деталь.
Установлено, что игрушки с мягким наполнителем или игрушки с покрытием, от которого можно оторвать или откусить кусочки (например, игрушки из пеноматериалов), в соответствии с требованием 5.1 (общие требования к игрушкам для детей до 36 мес) подвергают испытаниям на соответствие требованиям по 8.3 (испытание крутящим моментом) и по 8.4 (испытание растяжением).
Требования 5.2, перечисление с) относятся к мягконабивным игрушкам и к мягконабивным деталям игрушки, содержащей волокнистый материал наполнителя без мелких деталей.
Несмотря на неопределенность опасностей, которые связаны с использованием волокнистого наполнителя, швы мягконабивных игрушек должны быть подвергнуты испытанию на разрыв. Требования 5.2, перечисление с) обеспечивают то, чтобы швы таких мягконабивных игрушек не расходились настолько, чтобы позволить ребенку вставить два пальца через шов и вытащить куски наполнителя (что испытывается вводом штыря размером 12 мм на глубину более 6 мм).
А.28 Полимерная пленка (см. 5.3)
Требования направлены на уменьшение опасности удушья ребенка, если он снимет полимерную пленку или полимерные наклейки с игрушки и положит себе на лицо или если он возьмет ее в рот, при этом образуется воздухонепроницаемое уплотнение, что может привести к удушью.
А.29 Шнуры, цепи и шнуры электропитания игрушек (см. 5.4)
Выполнение требований направлено на защиту детей от опасности удушения при возможном стягивании шнура и цепей на шее. Требования также обеспечивают предотвращение опасности запутывания пальцев ребенка или других частей тела в шнуре с автоматическим возвратом, например, в шнурах игрушки с барабанным устройством.
Шнуры электропитания, предназначенные для подсоединения к компьютеру или телевизору, исключаются из определения "шнуры" (следовательно, и из требований к шнурам), так как ограничение длины шнура электропитания может привести к нарушению надлежащего режима эксплуатации игрушки. Телевизоры и компьютеры не являются игрушками, и любой шнур электропитания, используемый для подсоединения и не подключенный постоянно к игрушке (или не входящий в комплект игрушки), должен рассматриваться как принадлежность телевизора/компьютера.
Выполнение требования 5.4, перечисление а), направлено на устранение опасности проскальзывания шнура между рук ребенка, что может привести к ссадинам. Эта опасность в основном присутствует в игрушках, которые ребенок может тянуть за собой, а также в игрушках с механизмом самовтягивания шнура, в связи с особенностями их игровой значимости.
Выполнение требования 5.4, перечисление b), направлено на то, чтобы шнуры не могли намотаться на шею, в результате чего может произойти удушение.
Данная опасность присутствует, когда шнур имеет крепления, узлы или жесткие петли, которые могут привести к заматыванию шнура вокруг шеи ребенка, который не способен самостоятельно снять шнур.
Ссылки, касающиеся классификации игрушек по возрастным группам (например, "предназначенных для детей в возрасте младше 18 месяцев") указаны в рекомендациях Комиссии по безопасности потребительской продукции по определению возрастной категории в [8].
Требования 5.4, перечисления с) и d), направлены на обеспечение того, чтобы жесткая петля или затягиваемая петля не могла бы обвиться вокруг шеи ребенка, приводя к его удушению.
Следует отметить тот факт, что пластиковые наконечники шнурков не рассматриваются как принадлежности, которые могут привести к образованию затягиваемой петли.
Два метода проведения испытаний приведены в 8.36.2. Упругость некоторых шнуров не дает возможность использовать испытательные щупы. Но данная возможность рассматривалась, хотя для разных испытаний были получены несовпадающие результаты.
Целью проведения испытаний было определение возможности проникновения головы ребенка через жесткую петлю. При этом требования CEN/TR 13387:2004 применяются в качестве источника информации о размерах головы ребенка в возрасте до 3 мес (см. рисунок А.1).

а - 96 мм; b - 124 мм; с - 112 мм; d - 42 мм; е - 28 мм; f - главная ось щупа
Рисунок А.1 - Щуп, имитирующий голову (для детей в возрасте младше 3 мес)
Щуп имеет ширину 96 мм, два полукруглых торца с радиусом 48 мм и, короткую боковую поверхность е длиной 28 мм. Общий периметр щупа составляет 357 мм.
Предельное значение 380 мм, установленное в EN 71-1 в виде максимального периметра затягиваемой петли, оказалось эффективным в предотвращении опасности удушения, размеры щупа, показанного на рисунке А.1, были изменены с целью достижения необходимых значений для разработки оптимального метода проверки периметра шнуров и цепей. Для образования периметра длиной приблизительно 380 мм должен быть применен щуп с размерами:
а: 96 мм;
b: 136 мм;
е: 40 мм.
В том случае, если точки крепления шнура находятся рядом друг с другом, легко ввести щуп при направлении его главной оси (см. рисунок А.1) перпендикулярно игрушке. Если периметр шнура превышает 380 мм, щуп может быть введен.
Если точки крепления шнура находятся на большем расстоянии друг от друга, щуп легче ввести при направлении его главной оси параллельно игрушке. В этом случае для того, чтобы ввести щуп, необходимо чтобы расстояние между игрушкой и шнуром составляло не менее 96 мм.
Размеры, при которых ввод щупа становится возможным при направлении щупа параллельно игрушки, являются следующими:
1) периметр щупа: 380 мм;
2) ширина щупа: 96 мм.
Следовательно, если используется прямоугольник с периметром 380 мм и с двумя сторонами по 96 мм, другие две стороны должны иметь длину 94 мм.
Испытание было подготовлено таким образом, чтобы привести к одинаковому результату в том случае, когда периметр шнура, прикрепленный к игрушке в двух точках, разнесенных на расстояние 94 мм, измеряется методом 8.36.2.1 либо методом 8.36.2.2 (см. рисунок А.2).

Рисунок А.2 - Пример для одного и того же шнура на одной и той же игрушке, измерения для которой проводились двумя различными методами
Выполнение требования 5.4, перечисление f), направлено на предотвращение опасности удушения, которая может возникнуть при использовании игрушек, предназначенных для закрепления на колыбели, кровати и коляске. Такие игрушки необходимо удалять, когда ползающий ребенок пытается встать на руки и колени. Игрушка, предназначенная для подвешивания поперек колыбели, кровати или коляски, представляет опасность удушения, если ребенок упадет на подвешенную игрушку, и его шея будет касаться ее; при этом ребенок не способен подняться. Игрушка, предназначенная для закрепления на указанных объектах ухода за ребенком другими способами, и снабженная шнуром (например, "мобильный телефон"), предназначенная для размещения вне пределов досягаемости ребенка, также может представлять опасность удушения, если ребенок сможет дотянуться до шнура, в котором он может запутаться.
Выполнение требования 5.4, перечисление g), направлено на обеспечение устранения опасности удушения детей в возрасте до 18 мес, использующих игрушки со шнурами, прикрепленными к ним, которые при закручивании вокруг ребенка могут привести к удушению.
Выполнение требования 5.4, перечисление h), к шнурам, используемым на игрушках, которые можно тянуть, предназначенных для детей в возрасте до 36 мес, было введено в 2010 году по запросу Европейской комиссии. Рекомендуется, чтобы изготовители ограничивали длину указанных шнуров до минимальной длины, необходимой для нормального функционирования игрушки; при этом такая длина не должна превышать 800 мм. Выбор длины 800 мм основан на том, что расстояние между рукой и полом для трехлетнего ребенка составляет приблизительно 400 мм, и что угол между шнуром и полом при эксплуатации составляет приблизительно 30°.
А.30 Игрушки с жидким наполнителем (см. 5.5 и А.42)
Требования направлены на уменьшение опасности, связанной с тем, что в зубных кольцах с жидким наполнителем или аналогичных игрушках появляются отверстия, и ребенок может контактировать с загрязненными жидкостями.
Следует обратить внимание на то, что требования не распространяются на электролиты в батарейках, акварельные краски, краски для рисования пальцами или другие аналогичные наполнители, содержащиеся в контейнерах.
Требуемая согласно 7.12 информация предупреждает родителей о том, что они не должны давать детям зубные кольца с жидким наполнителем, охлажденные до такой степени, что они могут вызвать переохлаждение.
А.31 Форма и размеры игрушек (см. 5.8 и А.43)
Требования направлены на снижение потенциальной опасности, исходящей от игрушек, способных нанести ушиб ребенку грудного возраста.
Испытание игрушки согласно 8.16 (геометрическая форма игрушек) означает проверка ее "в состоянии, готовом к реализации". Игрушка не должна подвергаться другому испытанию до испытания на соответствие этому требованию.
Игрушки следует подвергать испытаниям с целью проверки соответствия данному требованию перед проведением других испытаний. Тем не менее, детали, которые стали доступными после открытия (например, после открытия застежки на липучке), должны испытываться после своего удаления.
При определении того, какие игрушки могут быть предназначены для детей данной возрастной группы, учитываются следующие критерии: назначение игрушки (как указано на товарном ярлыке), реклама, маркетинг игрушки и то, могут ли игрушки рассматриваться как пригодные для данной возрастной группы.
Следует учитывать, что, как правило, дети начинают садиться без посторонней помощи в возрасте 5-10 мес.
А.32 Игрушки с волокнами из мононитей (см. 5.9)
Изготовление игрушек с волокнами из мононитей, прикрепленных к ткани, не практикуется. Игрушка, изготовленная таким образом, явилась причиной смерти пятимесячного ребенка. Требование не распространяется на волосы из мононитей, прикрепляемые к голове куклы или применяемые при изготовлении мягконабивных игрушек.
А.33 Предупредительная информация, маркировка и инструкции по эксплуатации (см. 7.1)
Нижеперечисленные способы соответствуют ISO/IEC Guide 37 и CEN/CENELEC Guide 11.
Применяемые способы читаемости и доступности
a) Подчеркивание предупредительной информации:
1) подчеркивать предупредительную информацию, например, путем размещения их на видном месте на игрушке и/или на упаковке. Видное место не обязательно обозначает лицевую сторону упаковки. Необходимо обращать внимание, что предупредительная информация с указанием возраста (без слова "Предупреждение") может размещаться отдельно от другой информации, например, на лицевой стороне упаковки при условии, что полная предупредительная информация (включая слово "Предупреждение") размещена на обратной стороне упаковки;
2) избегать большого количества информации;
3) не совмещать информацию по технике безопасности с рекламной информацией;
4) текст предупредительной информации на упаковке должен быть видимым и сочетаться со шрифтом другой печатной информации на упаковке доступностью, читаемостью и размером;
5) в многоязычных текстах четко разделять отдельные языки, например, при помощи флага, интервалов, кода страны и других средств.
b) Контраст, фон и цвета:
1) цвет предупредительной информации должен резко контрастировать с цветом фона. Следует избегать использования схожих цветов для фона и текста как, например, белый текст на желтом фоне. Темная краска на светлой бумаге или светлая краска на темной бумаге создают лучший контраст;
2) при использовании условного графического обозначения с указанием возраста следует выполнять контрастность круга красного цвета или черного цвета и фона, на котором размещена пиктограмма;
3) для фона предупреждения следует избегать насыщенного цвета рисунков или изображений, которые могут помешать читаемости;
4) следует избегать комбинаций цветов красный-зеленый и синий-желтый, т.к. они могут создать проблемы для людей, страдающих нарушением цветового зрения.
c) Отражающая поверхность и затемняющий материал:
1) следует избегать высокоотражающих поверхностей и глянцевой бумаги, которые могут привести к ненадлежащей наглядности предупредительной информации, размещенной на поверхности. Следует избегать прозрачного материала для упаковки, который может затемнять, смазывать или искажать предупредительную информацию.
d) Вид шрифта:
1) предпочтительнее использовать шрифты без засечек. Следует избегать использования различных видов шрифтов в предупредительной информации.
e) Размер шрифта:
1) для минимального размера шрифта рекомендации не установлены. Рекомендации могут устанавливать наименьший выбранный шрифт. Более предпочтительным считается устанавливать рекомендации в отношении других факторов, которые являются важными для доступности и читаемости предупредительной информации. Следует использовать размеры шрифтов, которые позволяют всем пользователям, включая людей, имеющих коррекцию зрения, читать предупредительную надпись и
2) рекомендуется использовать предупредительные символы большого размера шрифта, а не малого, как установлено в 7.1. и 7.2.
f) Логическое направление текста:
1) следует размещать предупредительную информацию в логическом порядке, учитывая расположение информации на упаковке или, если применимо, нормальное положение игрушки.
А.34 Предупреждающая информация для игрушек, не предназначенных для детей до 36 мес (см. 7.2)
Требования подлежат обязательному выполнению. Игрушка, предназначенная по своим свойствам и способу функционирования для детей в возрасте до 36 мес, не должна представлять опасности для детей этого возраста, как установлено в настоящем стандарте (например в результате мелких деталей, маленьких шаров и т.д.). Информация о том, какие игрушки предназначены для детей в возрасте младше 36 мес, представлена в CR 14379.
Предупреждающая информация не должна совмещаться с рекомендациями по использованию. Использование предупреждающей информации на игрушке не освобождает изготовителя или его уполномоченного представителя от обязанности выполнения данного требования.
Следует избегать ненужной предупредительной информации, так как это снижает эффективность предупреждений.
А.35 Предупреждающая информация, относящаяся к функциональным игрушкам (см. 7.5)
Изготовитель должен указать минимальный возраст ребенка, для которого изготовлена игрушка.
А.36 Цилиндр для мелких деталей (см. 8.2)
Конструкция цилиндра для мелких деталей была взята из [1]. Для применения настоящего стандарта дополнительно к размерам указаны допуски.
Исследуемый предмет должен полностью помещаться в цилиндр. При визуальном методе контроля верхняя поверхность цилиндра накрыта прозрачной полимерной пленкой, одновременно препятствующей выступанию над поверхностью цилиндра каких-либо частей предмета. Сжимание исследуемой игрушки недопустимо.
А.37 Испытание растяжением (см. 8.4)
При проведении испытаний мягкого материала натяжные устройства, используемые для закрепления гирь или груза, могут повредить деталь или материал, на котором закреплены гиря или груз, что может повлиять на результаты испытаний. В таком случае последующее(ие) испытание(ия) следует проводить на новой игрушке.
А.38 Испытание ударом (см. 8.7)
Во многих случаях неблагоприятное положение игрушки определяется, например, расположением швов у погремушки и аналогичных игрушек.
А.39 Испытание давлением (см. 8.8)
Данное испытание проводят только на тех частях игрушки, которые независимо от ее размещения при проведении испытания падением не соприкасаются с материалом опорной поверхности (с твердостью А по Шору).
Следует обеспечить расположение металлической шайбы, чтобы она точно находилась на испытуемой части игрушки, иначе усилие будет воздействовать только на ограниченную часть поверхности.
А.40 Острые концы (см. 8.12)
Перед тем как включить в [1] устройство для испытания острых концов, было проведено его исследование. Несмотря на это, устройство может определить острыми те концы, которые при эксплуатации не представляют опасности для ребенка. Настоящий стандарт не устанавливает методы испытаний, позволяющие дать объективную оценку. В связи с этим необходимо давать субъективное заключение.
Испытуемый острый конец помещают в испытательное устройство, действующее с усилием 4, 5 Н. Острый конец игрушки испытывают в вертикальном положении, в то время как устройство для испытания острых концов используется при его обычном положении на опоре.
А.41 Гибкость металлической проволоки (см. 8.13)
Во время проведения испытания необходимо контролировать, чтобы проволока сгибалась непосредственно в месте закрепления и изгибание проволоки на 120° не было принято за движение вследствие гибкости металлической проволоки.
А.42 Герметичность игрушек с жидким наполнителем (см. 8.15 и А.30)
Путем применения во время испытаний бумаги с покрытием из хлорида кобальта необходимо убедиться в том, что появившаяся жидкость действительно является вытекшим наполнителем, а не появившимся на зубном кольце конденсатом. Испытание необходимо проводить только после установленного времени кондиционирования игрушки при температуре (37 ± 1) °С.
А.43 Геометрическая форма игрушек (см. 8.16 и А.31)
При проведении испытания игрушка должна проходить через испытательный шаблон только под воздействием собственной массы.
А.44 Износостойкость игрушек, предназначенных для контакта со ртом ребенка (см. 8.17)
Испытания на износостойкость основаны на положениях [2] (8.17, игрушки, предназначенные для контакта со ртом) и определяют, отделяется ли какая-нибудь деталь, полностью поместившаяся в цилиндр для мелких деталей, при этом объем воздуха направляется сквозь мундштук игрушки и таким образом регулируют максимальное давление, которое может возникнуть.
А.45 Механизмы складывания и скольжения (см. 8.18)
При проведении испытания следует принимать меры, чтобы не повредить грузом сиденья, например, из ткани. При использовании опоры для испытательного груза ее масса должна рассматриваться как часть нагрузки.
А.46 Статическая прочность (см. 8.21)
Если масса ребенка распределена на различные части игрушки, то экспертом должно быть установлено соответствующее распределение нагрузки. Центр тяжести во внимание не принимается. Допускается при проведении испытания применять мешки с песком или аналогичный груз.
А.47 Кинетическая энергия снарядов, луков и стрел (см. 8.24)
Если для пользования игрушкой предназначено более одного снаряда, то следует определить энергию каждого снаряда, так как колебания массы, а в некоторых случаях колебания жесткости снарядов, могут привести к значительным различиям между отдельными снарядами. Кинетическая энергия Eкин снаряда вычисляется по уравнению
Екин=1/2mv2,
где m - масса снаряда, кг;
v - скорость снаряда, м/с.
А.48 Маленькие шары (см. 4.22 и 5.10)
Изделия, относящиеся к предметам, которые из-за их шарообразной конструкции определяется как шар (3.5), являются следующие:
- шарообразная часть складной игрушки;
- удаляемая и съемная часть игрушечного конструктора и
- предназначенный для игры шарообразный футляр.
Игральная кость не относится к этому определению.
Определение, приведенное в 3.5, относится к круглым, овальным или эллипсообразным предметам. В настоящее время отсутствуют данные для точного определения соотношения между большой и малой осями. Однако современное толкование заключается в том, что эти предметы должны, как правило, иметь соотношение между большой и малой осями более 70 %. Цилиндрические предметы и цилиндрические предметы с закругленными концами не подпадают под данное определение. При дальнейшем пересмотре стандарта будет обобщен сбор научных данных, которые обеспечат применение точного соотношения.
Опасности и риски, устраняемые в результате выполнения данных требований, отличаются от тех, что устранены при проведении испытания с применением цилиндра для мелких деталей, указанного в 5.1 (общие требования к игрушкам для детей в возрасте до 36 мес) и 8.2 (цилиндр для мелких деталей) - цилиндр используется для выявления предметов, размеры которых достаточно малы для проникания в нижнюю часть гортани ребенка. Испытательный шаблон Е, показанный на рисунке 37 (см. 8.32, испытание для маленьких шаров и вакуумных присосок), применяется к шарам, которые могут проникать через рот в дыхательные пути и блокировать их. Шарообразные предметы, застревающие за твердым небом, трудно удалить по причине рефлекса, вызывающего мышечное сокращение глотки. Поэтому наличие вентиляционных отверстий не считаются достаточной возможностью избежать опасности, связанной с меленькими шарами, так как шар может застрять в любом месте, поэтому необходимо предусмотреть в конструкции игрушки несколько вентиляционных отверстий во всех направлениях.
Мелкие детали представляют опасность только тогда, когда они отделяются, а маленькие шары представляют опасность закупорки дыхательных путей, даже если они закреплены на игрушке шнуром, когда длина шнура и размеры шара таковы, чтобы шар мог блокировать дыхательные пути ротовой полости и верхних глоточных путей. Эта длина должна составлять 30 мм, в связи с тем, что данная длина соответствует глубине испытательных шаблонов А и В.
Шар считается "свободно подвешенным", если он прикреплен к концу шнура, независимо от того, прикреплен ли шнур к верхней части шара, или проходит через часть шара (см. рисунок 38). К шару, зафиксированному на самой нижней части жесткой петли, прикрепленной к игрушке (см. рисунок А.3), предъявляются указанные требования.

Рисунок А.3 - Шар, прикрепленный к игрушке жесткой петлей
Игрушки с шарами и другими шарообразными объемными предметами диаметром более 44, 5 мм редко приводят к возникновению опасности, так как эти предметы слишком велики, чтобы застрять за твердым небом.
Опасность удушья больше исходит от формы шара, чем от цели его использования.
А.49 Игрушечные самокаты (см. 4.15.5)
Масса тела в 20 кг соответствует примерно (95 %) средней массе 5-летнего ребенка. Масса тела - 50 кг соответствует примерно средней массе 14-летнего ребенка.
Требования безопасности самокатов, считающихся спортивными снарядами, установлены в EN 14619.
Надо иметь в виду, что самокаты, относящиеся к спортивным снарядам, предназначены для пользователей с массой тела более чем 35 кг и менее 100 кг. Поэтому существует два типа самокатов категории 35 и 50 кг - классифицируемые как игрушечные самокаты и как спортивный инвентарь.
Для игрушечных самокатов, предназначенных для очень маленьких детей, не считается необходимым наличие системы торможения, так как они обычно ездят с невысокой скоростью и не могут управлять тормозами.
А.50 Игрушки с полусферической формой (см. 5.12)
Эти требования направлены на предотвращение опасности удушья, возникающей при игре с игрушками определенной формы (например, игрушки чашеобразной, яйцеобразной или полусферической формы), которые могут герметично закрывать нос и рот маленького ребенка. Имеющиеся данные показывают, что погибшие в результате несчастного случая дети были в возрасте 4-24 мес, в то время как дети, ставшие жертвами несчастных случаев, которые могли закончиться летальным исходом, были в возрасте до 36 мес (такая же опасность существует для упаковки той же формы, см. А.56).
Американская Комиссия потребителей по безопасности продукции проанализировала имеющиеся данные и установила следующие параметры размеров игрушек полусферической формы, приведенные в таблице А.1, повлекшие за собой несчастные случаи.
|
Параметры |
Диапазон |
|
Диаметр, мм |
69-97 |
|
Глубина, мм |
41-51 |
|
Объем, мл |
100-177 |
Рабочая группа наблюдала за детьми при игре с чашками диаметром от 51 до 114 мм. На основании наблюдений и размеров чашек, повлекших несчастные случаи, соответствующие размеры были установлены в диапазоне 64-102 мм.
Представленные на рисунках 16 а) и 16 b) две позиции отверстий предусмотрены для снижения вероятности того, что оба отверстия могут быть заблокированы одновременно.
Размер отверстия устанавливается для того, чтобы предотвратить возникновение вакуума. Данные отверстия не предусмотрены в качестве вентиляционных отверстий.
Слова "объектов, предназначенных для питья (например, чашки чайного сервиза)", из 5.12, были исключены в соответствии с решением Европейской комиссии 2007/184/ЕС.
А.51 Магниты (см. 4.23)
Данные требования предназначены для устранения опасностей, связанных с возможностью проглатывания сильных магнитов (например, магниты из ферробора с неодимом), которые могут привести к кишечной перфорации или к закупорке кишечного тракта. Указанные опасности дополняют опасности, связанные с мелкими деталями (закупорка дыхательных путей) (см. А.26). Эти требования применяются независимо от возрастной группы пользователей.
Магниты, найденные детьми, могут быть проглоченными. При проглатывании нескольких магнитов или одного магнита и ферромагнитного объекта (например, железного или никелевого), такие объекты могут притягиваться друг к другу поперек стенок кишечного тракта и вызывать перфорацию или закупорку, что может привести к серьезным травмам и даже к летальному исходу.
Имеются сообщения о нескольких несчастных случаях, связанных с проглатыванием магнитов, что привело к кишечной перфорации или к закупорке кишечного тракта. Большинство несчастных случаев произошло с детьми в возрасте от 10 мес до 8 лет. Большая часть таких случаев связана с сильными магнитами, используемыми в строительных наборах с магнитами. В нескольких случаях для извлечения магнитов из кишечного тракта детей потребовалось хирургическое вмешательство. Медицинские проявления, связанные с перфорацией или закупоркой кишечного тракта, могут быть ложно истолкованы, так как у многих детей симптомы схожи с симптомами гриппа. Такое ложное толкование приводит к запоздалой медицинской помощи, что приводит к нежелательным медицинским последствиям для детей.
В соответствии с требованиями настоящего стандарта, магниты и магнитные элементы, которые могут быть проглочены, идентифицируются с помощью цилиндра для мелких деталей. Цилиндр для мелких деталей был первоначально спроектирован для идентификации мелких деталей игрушек, предназначенных для детей в возрасте до 36 мес. Такие мелкие детали могут привести к закупорке дыхательных путей. Цилиндр для мелких деталей не был спроектирован для идентификации объектов, которые могли быть проглочены старшими детьми. Решение использовать цилиндр для мелких деталей также и для оценки магнитов или магнитных элементов, которые могут быть проглочены, было принято по практическим соображениям. Цилиндр является хорошо известным испытательным шаблоном и обеспечивает необходимые предельные размеры, так все магниты и магнитные элементы, которые привели к несчастным случаям, полностью вошли в цилиндр с большими предельными размерами. Тот же принцип был применен в отношении требований к набухающему материалу.
Риск взаимного притяжения магнитов в направлении поперек стенок кишечного тракта уменьшается с уменьшением силы магнита. По этой причине, для определения достаточно слабого магнита, было введено предельное значение показателя магнитного потока. Данные по всем известным на настоящий момент несчастным случаям, связанных с проглатыванием, указывают на то, что во всех несчастных случаях использовались только сильные магниты. Эти данные также свидетельствуют о том, что проглатывание магнитов не представляло проблемы для пользователей игрушек, до тех пор, пока сильные магниты (такие как магниты из ферробора с неодимом) не стали экономически эффективными и широко используемыми несколько лет назад. Керамические, прорезиненные и ферритовые магниты имеют существенно меньшую силу притяжения. Считается, что предельное значение показателя магнитного потока, равное 0, 5 Тл2мм2 [50 (кГс)2мм2], обеспечивает (в установленных пределах безопасности) выполнение данного условия, что сильные магниты того типа, с которым были связаны несчастные случаи, не будут разрешены к использованию в игрушках, если они полностью входят в цилиндр для мелких деталей. Один известный случай с летальным исходом был связан с использованием магнита из строительного набора с показателем магнитного потока 3, 4 Тл2мм2 [343 (кГс)2мм2]. Введение предельно допустимого показателя магнитного потока от магнита сводит к минимуму риск причинения травмы. Новые данные, которые будут получены в будущем, помогут сделать оценку надлежащего выбора используемых требований.
Более чем 80 % всех несчастных случаев произошло при использовании магнитных строительных наборов. Такие магнитные строительные наборы подпадают под действие требований настоящего стандарта.
Другие аргументы были приняты в расчет при оценке рисков, связанных с проглатыванием магнитов. Перфорация стенок кишечного тракта может произойти, если приток крови к части стенки кишечного тракта будет перекрыт, например, в результате давления со стороны двух магнитов, которые притягиваются друг к другу в поперечном направлении относительно стенок. Согласно теоретическому медицинскому исследованию, давление 0, 0016 Н/мм2 (12 мм рт.ст.) способно (при самых неблагоприятных условиях) вызвать такое перекрытие кровоснабжения. В сущности, все продаваемые магниты способны привести к давлению такого уровня.
Вероятность того, что два слабых магнита [с показателем магнитного потока меньше чем 0, 5 Тл2мм2 [50 (кГс)2мм2]] будут перемещены в кишечном тракте и остановятся на противоположных сторонах стенок кишечного тракта в таком положении, в котором стенка слишком тонкая, считается очень низкой. Такая ситуация потребует не только, чтобы два магнита были проглочены не одновременно, но и того, чтобы содержимое кишечного тракта позволило бы магнитам перемещаться вдоль стенок кишечного тракта до момента случайной остановки на противоположных сторонах стенки. Для сильных магнитов ситуация совершенно иная, т.к. они притягиваются друг к другу на более значительном расстоянии с усилием, которое может преодолеть сопротивление движению со стороны, например, содержимого кишечного тракта.
Для правильного проведения расчета давления со стороны магнитов, необходимо измерить плотность магнитного потока и площадь участка контакта. Расчет давления магнитов осуществляется по формуле:
,
где Р - давление;
α - константа;
В - плотность магнитного потока, Гс или Тл;
Ap - площадь полюса магнита;
Ac - площадь участка контакта между магнитом и какой-либо поверхностью, на которую магнит оказывает давление.
Площадь участка контакта между магнитом или магнитным элементом и объектом, к которому он притягивается, часто очень трудно точно измерить из-за неправильной формы магнита или магнитного элемента.
Показатель магнитного потока, тем не менее, можно рассчитать с использованием площади полюса магнита и плотности магнитного потока на поверхности магнита или магнитного элемента. Поэтому показатель магнитного потока в настоящее время считается лучшей измеряемой характеристикой для классификации опасных магнитов.
Два или больше магнита могут притягиваться друг к другу и образовывать составной магнит с более высоким показателем магнитного потока, чем у одного магнита. Показатель магнитного потока не будет удваиваться, если два одинаково сильных магнита притянутся друг к другу, и рост показателя магнитного потока будет относительно меньше для каждого нового добавляемого магнита и будет зависеть от магнитного материала, формы, поперечного сечения и т.д. Сообщается о проглатывании нескольких магнитов только в отношении сильных магнитов. Данные по несчастным случаям, связанным со слабыми магнитами, показатель магнитного потока которых приблизился к допустимому пределу, с образованием (более сильного) составного магнита, неизвестны. По этой причине дополнительный испытательный метод для проверки составных магнитов введен не был.
Игрушки, которые содержат магниты, и которые могут намокать при нормальной и предсказуемой эксплуатации, подвергаются испытанию на намокание для того, чтобы убедиться в том, что клееные магниты не отделяются, когда игрушка намокает. Кроме этого, деревянные игрушки подвергаются испытанию, так как свойства дерева (например, размер отверстий) могут изменяться даже при изменении влажности воздуха.
В некоторых случаях магниты спрятаны на некоторую глубину, что затрудняет проведение нормального испытания на разрыв и на скручивание. Имеются примеры игрушек, в которых магнит отделялся при воздействии другого магнита. Для таких магнитов было введено испытание на отрыв с тем, чтобы свести к минимуму риск отделения таких магнитов при нормальной эксплуатации игрушки.
Для игрушек, содержащих только один магнитный элемент, осуществляется проверка того, удовлетворяет ли такая игрушка определению термина "магнитный элемент" (см. 3.34).
Считается, что функциональные магниты, установленные в электрических или электронных деталях игрушек, не представляют такого же риска, как магниты, которые являются частью игровой функции. Использование магнитов в таких деталях может быть скрытым, так как они могут быть установлены внутри электромоторов или в реле, расположенных на электронных печатных платах. Ни один из зарегистрированных несчастных случаев не был связан с магнитами, отделенными от электрических или электронных деталей.
В отношении наборов для опытов по магнетизму и электричеству, предназначенных для детей старше 8 лет, требования, изложенные в 4.23.2, не действуют. Вместо этих требований указанные наборы требуется сопровождать предупреждением. Такое исключение действует только в отношении наиболее сложных наборов для проведения опытов, которые включают в себя сборку электромоторов, громкоговорителей, дверных звонков и т.д., т.е. изделий для работы которых требуется использование магнетизма и электричества. Наборы для опытов по магнетизму и электричеству, предназначенные для детей младше 8 лет должны удовлетворять требованиям 4.23.2.
А.52 Мячики на резинке (см. 4.24)
Требование было установлено с учетом обхвата шеи ребенка в возрасте 6 лет (250 мм для девочек).
Считается, что опасность удушения присутствует, если резинка, изготовленная из упругого материала, обвивается вокруг шеи не менее трех раз со следующими характеристиками:
- максимально допустимая длина резинки, изготовленной из упругого материала, при эксплуатации составляет L: 250 мм х 3 = 750 мм.
Это условие может быть достигнуто путем ограничения отношения массы m (в граммах) к модулю упругости k значением 2, 2 (см. формулу А.1)
(m/k)<2, 2,
(А.1)
где m - масса, г
и путем ограничения начальной длины l0 со значением меньше 370 мм (т.е. половина от 750 мм) (см. формулу А.2)
l0<370,
(А.2)
где l0 - начальная длина, мм.
В отношении физических характеристик справедливо следующее:
При вращении мячика на резинке центробежная сила приложена к мячику. Ниже приводится соотношение между этой силой и скоростью вращения:
Fцентробежная=mω2L,
(A.3)
где L - длина резинки, изготовленной из упругого материала;
ω - угловая скорость;
m - общая масса мячика на резинке (общая масса мячика на резинке рассматривается с тем, чтобы упростить измерения, так как обычно масса резинки, изготовленной из упругого материала, гораздо меньше чем масса мячика).
Формула расчета линейной характеристики резинки, изготовленной из упругого материала:
Fупругости=kl,
(А.4)
где k - модуль упругости резинки;
l - длина приращения, связанная с упругостью резинки, изготовленной из упругого материала.
Длина при воздействии силы Fупругости составляет:
L=l0+(Fупругости/k),
(А.5)
где l0 - длина резинки, изготовленной из упругого материала в ненагруженном состоянии.
В состоянии равновесия:
Fупругости=Fцентробежная
(А.6)
и, следовательно:
kl=mω2(l+l0),
(А.7)
где l0 - длина резинки, изготовленной из упругого материала, в ненагруженном состоянии;
l - длина приращения, связанная с упругостью резинки, изготовленной из упругого материала,
и, таким образом, удлинение резинки, изготовленной из упругого материала, при движении, составляет:
,
(А.8)
а общая длина при использовании составляет:
L=l0+mω2l0/(k-mω2)=Zl0,
(А.9)
где Z - коэффициент удлинения, который зависит от массы, угловой скорости и k, равен:
.
(А.10)
Если остальные параметры сохраняются постоянными (например, k = 8 Н/м;ω = 15 рад/с), а масса изменяется, то возникает следующая ситуация (см. рисунок А.4, где по горизонтальной оси откладывается масса, а вертикальной - значение Z).

Рисунок А.4 - График зависимости коэффициента удлинения Z от массы m
Таким образом, до тех пор, пока mω 2 гораздо меньше, чем значение k (например, mω 2 меньше чем половина значения k), увеличение длины из-за вращения будет малым (общая длина не будет превышать удвоенную начальную длину). Тем не менее, когда mω 2 приблизится к k, увеличение длины становится значительным (теоретически длина может стать бесконечной).
На практике L будет < 2 l0 до тех пор, пока mω 2 < 0, 5 х k.
Испытания показали, что взрослый человек может придать мячику на резинке угловую скорость около 2, 4 оборотов в секунду (ω = 15 рад/с).
При такой угловой скорости, длина шнура мячика на резинке при его использовании не превысит удвоенную начальную длину (см. формулу А.11)
m<2, 2×k
(А.11)
где m, г.
Таким образом, определяя требование о том, что
- отношение массы (выраженной в граммах) к модулю упругости k не должно превышать 2, 2, и
- l0 не должно превышать 370 мм,
можно добиться того, что общая длина шнура мячика на резинке при его использовании будет меньше чем 750 мм и, следовательно, шнур не сможет обвиться три раза вокруг шеи девочки в возрасте 6 лет.
А.53 Ремешки, предназначенные для полного или частичного ношения вокруг шеи (см. 5.14)
Требование применяется только к ремешкам, предназначенным для полного или частичного ношения вокруг шеи. Данное требование не распространяется на ремни безопасности, бретельки детских рюкзаков, а также ремешки сумок/ведер/коробок.
Примеры ремешков, к которым относится данное требование: ремешки биноклей, гитар или других игрушек, которые предназначены для полного или частичного ношения вокруг шеи.
А.54 Вакуумные присоски (см. 5.13)
Выполнение требования обеспечивает устранение опасности, связанной с вакуумными присосками, так как они могут войти в дыхательные пути и заблокировать их в задней части рта и верхней части горла.
Известны несчастные случаи с летальным исходом при использовании вакуумных присосок, которые не могли войти в цилиндр для мелких деталей. Следовательно, необходимо, чтобы отделившиеся при проведении испытаний вакуумные присоски, не проходили бы через шаблон Е.
Считается, что вакуумные присоски, прикрепленные к игрушке посредством шнура, не представляют ту же опасность, что маленькие шары, закрепленные на шнурах. Маленькие шары, застрявшие позади края твердого неба, извлечь очень трудно, даже, если они привязаны к шнуру, в связи с рефлексивным сжатием мышц горла. Данное рефлексивное сжатие связано, тем не менее, с формой объекта, и не было замечено при использовании вакуумных присосок. Вакуумные присоски, прикрепленные к игрушке посредством шнура, и не отделяемые при проведении соответствующих испытаний, считаются не представляющими эту опасность. Считается, что шнур облегчает удаление вакуумных присосок в том случае, если они, например, случайно попали в дыхательные пути при вдыхании или проглатывании ребенком, оказавшимся без присмотра взрослого лица.
А.55 Игрушки, закрепляемые на продуктах питания (см. 4.25)
Выполнение требования обеспечивает устранение опасности блокировки дыхательных путей, связанной со случайным заглатыванием или вдыханием игрушек, закрепленных на продуктах питания, но не являющихся продуктами питания.
Изделия, относящиеся к 4.25, могут быть положены в рот. Необходимо, чтобы игрушки или их детали, нельзя было бы проглотить, ввести при вдыхании, положить в рот, ввести в глотку, или ввести в нижнюю часть дыхательных путей.
В 4.25 рассмотрены изделия, в которых игрушка или деталь игрушки прикреплена к продукту питания, полный доступ к игрушке или ее детали может быть осуществлен без употребления продукта питания (например, путем удаления продукта питания при помощи рук), что означает доступность игрушки без необходимости предварительного съедания продукта. Такие игрушки или детали игрушек не допускается использовать в качестве мелких деталей или мячика небольшого размера. Примером такого изделия является деталь игрушки, которая полностью проходит в цилиндр для мелких деталей после удаления продукта питания.
А.56 Упаковка (см. раздел 6)
Выполнение требований обеспечивает устранение опасности удушья, связанной с различными видами упаковки.
Требования, изложенные в разделе 6, перечисления а) и b), относятся к устранению опасности удушья, связанной с использованием полимерной пленки и пластиковых пакетов, так как они могут закрывать рот, нос или голову.
Требования, изложенные в разделе 6, перечисления с) и е), относятся к устранению опасностей, связанных с закупоркой дыхательных путей, так как упаковка изготовлена в виде маленького шара, или опасности удушья в связи с наличием упаковки полусферической формы (см. опасности, описанные в А.48 и А.50). Упаковка полусферической формы может представлять такую же опасность удушья для ребенка младшего возраста, что и игрушка той же формы, к которой предъявляются те же требования, что и к игрушкам полусферической формы.
Требования, изложенные в разделе 6, перечисление d), относятся к устранению опасностей, связанных с закупоркой дыхательных путей в результате отделения деталей упаковки, являющейся либо маленьким шаром, либо цилиндрической деталью со скругленным торцом, в том случае, если указанные предметы застрянут во рту, глотке или перекроют дыхательные пути.
Упаковка, которая не была отделена, и которая не имеет цилиндрической формы со скругленным торцом, не приводила к несчастным случаям. Тем не менее, были зарегистрированы несчастные случаи при использовании деталей такой упаковки, например, в виде половинок капсул. Следовательно, требования к деталям цилиндрической формы со скругленными торцами применимы к деталям (таким как половинки капсул) такой упаковки. Если детали прочно прикреплены друг к другу, то данное условие предотвращает возможность случайного проникновения половинки капсулы в заднюю часть ротовой полости с последующей закупоркой дыхательных путей. Данное требование не распространяется к деталям упаковки цилиндрической формы в том случае, если большая ось имеет размеры не менее 64 мм, так как она может быть отделена и войти в заднюю часть ротовой полости (см. исключение в 5.11 в отношении фигурок для игр с общей длиной не менее 64 мм).
Примером упаковки, имеющей отделяемые друг от друга детали цилиндрической формы, на которые не распространяется данное требование (при условии, если эти детали полностью проходят через шаблон Е) показаны на рисунке А.5.

Рисунок А.5 - Пример несоответствия упаковки цилиндрической формы со скругленными концами
Пример упаковки цилиндрической формы со скругленными концами, на которую распространяется данное требование (при условии, если соединение между обеими деталями не разрушается при проведении соответствующих испытаний) показан на рисунке А.6.

Рисунок А.6 - Пример соответствия упаковки цилиндрической формы со скругленными концами
Требования к упаковке, являющейся маленьким шаром, а также к отделяемым деталям упаковки, которая является, либо маленьким шаром, либо имеет цилиндрическую форму со скругленными концами, применяется для всех возрастных групп. Данное требование основано на том факте, что дети всех возрастных групп могут осуществить попытку открыть такую упаковку с помощью своих зубов, так как открытие ее руками является для них затруднительным. В связи с этим, такой вид упаковки (рассматриваемый с точки зрения возможного риска) считается "предназначенным для контакта со ртом".
См. инструктивный документ Европейской комиссии, имеющий отношение к упаковке, в связи с рассмотрением дальнейших деталей, относящихся к классификации упаковки.
Приложение ZA
(справочное)
Европейский стандарт, на основе которого подготовлен настоящий межгосударственный стандарт, разработан Европейским комитетом по стандартизации (CEN) по поручению Комиссии Европейского сообщества и Европейской ассоциации свободной торговли (EFTA) и реализует существенные требования Директивы 2009/48/ЕС Европейского Парламента и Совета от 18 июня 2009 года, касающейся безопасности игрушек.
Европейский стандарт размещен в официальном журнале Европейского сообщества как взаимосвязанный с этой Директивой и применен как национальный стандарт не менее чем в одной стране - члене сообщества. Соответствие требованиям европейского стандарта, указанным в таблице ZA.1, обеспечивает в пределах области его применения презумпцию соответствия существенным требованиям этой Директивы и соответствующих регламентирующих документов EFTA.
|
Структурные элементы EN 71-1 |
Существенные требования безопасности Директивы 2009/48/ЕС, Приложение II |
Примечания |
|
1 |
Статья 2 | |
|
Введение; 1; 4; 5; 7 |
Статья 10, 2 (Общие требования) | |
|
1 |
Статья 10, 3 (Общие требования) | |
|
7 |
Статья 11 (Общие требования) | |
|
4.15.1.3; 4.15.1.4; 4.15.3; 4.15.4; 4.15.5.3; 4.15.5.4; 4.16 |
Приложение II.I, 1 (Особое требование) | |
|
4.5; 4.7; 4.8; 4.9; 4.10.2; 4.14.2; 4.15.1.3; 4.15.5.7; 4.17; 5.1; 5.2; 5.4; 5.7 |
Приложение II.I, 2 (Особое требование) | |
|
4.10; 4.15.1.3; 4.15.1.6; 4.15.5.4 |
Приложение II.I, 3 (Особое требование) | |
|
4.24; 5.4; 5.14 |
Приложение II.I, 4 а) (Особое требование) | |
|
4.3; 4.4; 4.14; 5.3; 5.12 |
Приложение II.I, 4 b) (Особое требование) | |
|
4.6; 4.12; 4.17; 4.22; 4.25; 5.1; 5.2; 5.8; 5.10; 5.11; 5.13 |
Приложение II.I, 4 с) (Особое требование) | |
|
4.6; 4.11; 4.12; 4.17; 4.18; 4.23; 4.25; 5.1; 5.2; 5.9 |
Приложение II.I, 4 d) (Особое требование) | |
|
6 |
Приложение II.I, 4 е) (Особое требование) | |
|
4.25; 6 |
Приложение II.I, 4 f) (Особое требование) | |
|
6, перечисление d) |
Приложение II.I, 4 g) (Особое требование) | |
|
4.25 |
Приложение II.I, 4 h) (Особое требование) | |
|
4.18 |
Приложение II.I, 5 (Особое требование) | |
|
4.14.1 |
Приложение II.I, 6 (Особое требование) | |
|
4.15.1.5; 4.15.1.8; 4.15.2.3; 5.6 |
Приложение II.I, 7 (Особое требование) | |
|
4.17 |
Приложение II.I, 8 (Особое требование) | |
|
4.19; 4.21 |
Приложение II.I, 9 а) и b) (Особое требование) | |
|
4.20 |
Приложение II.I, 10 (Особое требование) | |
|
4.13 |
Приложение II.IV, 2 | |
|
4.1; 5.5 |
Приложение II.V, 1 | |
|
1 |
Приложение I | |
|
7 |
Приложение V, Часть А (Особое требование) | |
|
7.2 |
Приложение V, Часть В, 1 (Особое требование) | |
|
7.5 |
Приложение V, Часть В, 3 (Особое требование) | |
|
7.10 |
Приложение V, Часть В, 5 (Особое требование) | |
|
7.4 |
Приложение V, Часть В, 6 (Особое требование) | |
|
7.8 |
Приложение V, Часть В, 8 (Особое требование) | |
|
7.11 |
Приложение V, Часть В, 9 (Особое требование) |
ВНИМАНИЕ! К продукции, на которую распространяется европейский стандарт, могут применяться требования других стандартов и Директив ЕС.
Приложение ДА
(справочное)
|
Обозначение ссылочного европейского стандарта |
Степень соответствия |
Обозначение и наименование соответствующего межгосударственного стандарта |
|
EN 71-8:2011 |
IDT |
ГОСТ EN 71-8-2014 "Игрушки. Требования безопасности. Часть 8. Игрушки для активного отдыха для домашнего использования" |
|
В настоящей таблице использовано следующее условное обозначение степени соответствия стандарта: - IDT - идентичный стандарт | ||
|
Обозначение ссылочного европейского стандарта |
Обозначение международного стандарта |
Степень соответствия |
Обозначение и наименование соответствующего межгосударственного стандарта |
|
EN ISO 3744:2010 (ISO 3744:2010) |
ISO 3744:1994 |
MOD |
ГОСТ 31275-2002 (ИСО 3744:1994) "Шум машин. Определение уровней звуковой мощности источников шума по звуковому давлению. Технический метод в существенно свободном звуковом поле над звукоотражающей плоскостью" |
|
EN ISO 11201:2010 |
ISO 11201:1995 |
MOD |
ГОСТ 31172-2003 (ИСО 11201:1995) "Шум машин. Измерение уровней звукового давления излучения на рабочем месте и в других контрольных точках. Технический метод в существенно свободном звуковом поле над звукоотражающей плоскостью" |
|
EN ISO 3745:2012 (ISO 3745:2010) |
ISO 3745:2003 |
MOD |
ГОСТ 31273-2003 (ИСО 3745:2003) "Шум машин. Определение уровней звуковой мощности по звуковому давлению. Точные методы для заглушённых камер" |
|
EN ISO 3746:2010 (ISO 3746:2010) |
ISO 3746:1995 |
MOD |
ГОСТ 31277-2002 (ИСО 3746:1995) "Шум машин. Определение уровней звуковой мощности источников шума по звуковому давлению. Ориентировочный метод с использованием измерительной поверхности над звукоотражающей плоскостью" |
|
EN ISO 4287:1998 (ISO 4287:1997) |
ISO 4287-2:1984 |
MOD |
ГОСТ 27964-88 (ИСО 4287-2-84) "Измерение параметров шероховатости. Термины и определения" |
|
EN ISO 11202:2010 (ISO 11202:2010) |
ISO 11202:1995 |
MOD |
ГОСТ 31169-2003 (ИСО 11202:1995) "Шум машин. Измерение уровней звукового давления излучения на рабочем месте и в других контрольных точках. Ориентировочный метод измерений на месте установки" |
|
EN ISO 11204:2010 (ISO 11204:2010) |
EN ISO 11204:1995 |
MOD |
ГОСТ 30683-2000 (ИСО 11204-95) "Шум машин. Измерение уровней звукового давления излучения на рабочем месте и в других контрольных точках. Метод с коррекциями на акустические условия" |
|
EN 61672-1:2013 (IEC 61672-1:2002) |
IEC 61672-1:2002 |
MOD |
ГОСТ 17187-2010 (IEC 61672-1:2002) "Шумомеры. Часть 1. Технические требования" |
|
В настоящей таблице использовано следующее условное обозначение степени соответствия стандартов: - MOD - модифицированные стандарты. | |||
Библиография
|
[1] |
American Code of Federal Regulations, CFR Title 16 Part 1000 to end, §1501 and §1500.48 (Свод федеральных нормативных актов США (CFR), Документ 16, часть 1000 и до конца, §1501 и §1500.48) | |
|
[2] |
ASTM F963-08 |
Standard Consumer Safety Specification on Toy Safety (Стандартные потребительские требования безопасности к игрушкам) |
|
[3] |
EN 14619 |
Roller sports equipment - Kick scooters - Safety requirements and test methods (Экипировка для роллер спорта. Самокаты. Требования безопасности и методы испытаний) |
|
[4] |
EN 14765 |
Bicycles for young children - Safety requirements and test methods (Велосипеды для детей. Требования безопасности и методы испытаний) |
|
[5] |
EN 62115 |
Electric toys - Safety (IEC 62115:2003+A1:2004, modified) (Игрушки электрические. Безопасность) (IEC 62115+A1.2004) |
|
[6] |
(пробел) | |
|
[7] |
ISO/IEC Guide 37:1995 |
Instructions for use of products of consumer interest (Инструкции по применению продукции потребителями) |
|
[8] |
CEN/CENELEC Guide 11 |
Product information relevant to consumers - Guidelines for standard Developers (Информация о продукте, относящаяся к потребителям. Руководство для разработчиков стандартов) |
|
[9] |
CR 14379:2002 |
Classification of toys - Guidelines (Классификация игрушек. Руководство) |
|
[10] |
CEN/TR 13387:2004 |
Child use and care articles - Safety guidelines (Предметы ухода за детьми раннего возраста. Правила техники безопасности) |
|
[11] |
Age determination guidelines: Relating Children's Ages To Toy Characteristics and Play Behavior, September 2002, CPSC Staff document (Рекомендации по определению возраста, относящиеся к соотношению возраста детей и характеристик игрушек совместно с поведением во время игры, сентябрь 2002 г., документ Комиссии по безопасности потребительской продукции (CPSC)) | |
|
[12] |
Регламент (EC) N 765/2008 |
Регламент Европейского парламента и Совета от 9 июля 2008 г., устанавливающий требования к аккредитации и надзору за рынком относительно размещения продукции в торговой сети и отменяющий Регламент (EEC) N 339/93 |
|
[13] |
The European Commission, An explanatory guidance document (to Directive 2009/48/EC) Рекомендации по применению Директивы 2009/48/EC | |
|
[14] |
EN 13613 |
Roller sports equipment - Skateboards - Safety requirements and test methods (Экипировка для роллер спорта. Скейтборды. Требования безопасности и методы испытаний) |
|
[15] |
EN 13843 |
Roller sports equipment - Inline-skates - Safety requirements and test methods (Экипировка для роллер спорта. Линейные роликовые коньки. Требования безопасности и методы испытаний) |
|
[16] |
EN 13899 |
Roller sports equipment - Roller skates - Safety requirements and test methods (Экипировка для роллер спорта. Коньки роликовые. Требования безопасности и методы испытаний) |
|
[17] |
2007/184/ЕС |
Commission Decision of 23 March 2007 concerning the publication of the reference of the standard EN 71-1:2005 Safety of Toys - Part 1: mechanical and physical properties regarding the technical requirements on hemispheric toys in accordance with Council Directive 88/378/EEC on the safety of toys, OJ L 85, 27.3.2007 (Решение Комиссии от 23 марта 2007 г., касающееся публикации ссылки на стандарт EN 71-1:2005 "Безопасность игрушек. Часть 1. Механические и физические свойства" относительно технических требований к игрушкам полусферической формы согласно Директиве Совета 88/378/ЕЕС по безопасности игрушек) |
|
[18] |
2003/10/ЕС |
2003/10/ЕС on the minimum health and safety requirements regarding the exposure of workers to the risks arising from physical agents (noise) (Директива Европейского парламента и Совета о минимальных требованиях к безопасности и охране здоровья работников от рисков, связанных с воздействием физических факторов (шума)) |
|
[19] |
Прайс Дж.Р. (2007) |
Price G.R. (2007), "Validation of the auditory hazard assessment algorithm for the human with impulse noise data, " J. Acoust. Soc. Am., 122, 2787-2802 "Валидация алгоритма оценки слуховой опасности для человека с использованием данных импульсного шума" Ж. Америк. Акуст. Общ., 122, 2787-2802 |
|
[20] |
"Noise from toys and its effect on hearing", Institute of Sound and Vibration Research University of Southampton, 1997 (URN 97/944, Department of Trade and Industry) "Шум от игрушек и его влияние на слух", Институт звука и вибрации исследовательского университета Саутгемптона, 1997 (URN 97/944, Министерство торговли и промышленности) | |
|
[21] |
ISO/IEC Guide 98-3 |
Uncertainty of measurement - Part 3: Guide to the expression of uncertainty in measurement (GUM:1995) (Неопределенность измерения. Часть 3. Руководство по выражению неопределенности измерения (GUM:1995)) |






