ГОСТ Р 71462-2024 НАНОТЕХНОЛОГИИ. НАНОПОКРЫТИЯ ЭЛЕКТРОХРОМНЫЕ. МЕТОД УСКОРЕННЫХ ИСПЫТАНИЙ НА СТАРЕНИЕ
Утв. и введен в действие Приказом Федерального агентства по техническому регулированию и метрологии от 19 июня 2024 г. N 838-ст
Национальный стандарт РФ ГОСТ Р 71462-2024
"НАНОТЕХНОЛОГИИ. НАНОПОКРЫТИЯ ЭЛЕКТРОХРОМНЫЕ. МЕТОД УСКОРЕННЫХ ИСПЫТАНИЙ НА СТАРЕНИЕ"
Nanotechnology. Electrochromic nanocoatings. Accelerated aging test method
(ISO 18543:2021, NEQ)
ОКС 07.120
Дата введения - 1 января 2025 года
Введен впервые
Предисловие
1 РАЗРАБОТАН Автономной некоммерческой организацией в области технического регулирования и аккредитации "ВНИИНМАШ" (АНО "ВНИИНМАШ")
2 ВНЕСЕН Техническим комитетом по стандартизации ТК 441 "Нанотехнологии"
3 УТВЕРЖДЕН И ВВЕДЕН В ДЕЙСТВИЕ Приказом Федерального агентства по техническому регулированию и метрологии от 19 июня 2024 г. N 838-ст
4 Настоящий стандарт разработан с учетом основных нормативных положений международного стандарта ИСО 18543:2021 "Стекло в строительстве. Электрохромное остекление. Ускоренное испытание на старение и требования" (ISO 18543:2021 "Glass in building - Electrochromic glazings - Accelerated ageing test and requirements", NEQ)
5 ВВЕДЕН ВПЕРВЫЕ
Правила применения настоящего стандарта установлены в статье 26 Федерального закона от 29 июня 2015 г. N 162-ФЗ "О стандартизации в Российской Федерации". Информация об изменениях к настоящему стандарту публикуется в ежегодном (по состоянию на 1 января текущего года) информационном указателе "Национальные стандарты", а официальный текст изменений и поправок - в ежемесячном информационном указателе "Национальные стандарты". В случае пересмотра (замены) или отмены настоящего стандарта соответствующее уведомление будет опубликовано в ближайшем выпуске ежемесячного информационного указателя "Национальные стандарты". Соответствующая информация, уведомление и тексты размещаются также в информационной системе общего пользования - на официальном сайте Федерального агентства по техническому регулированию и метрологии в сети Интернет (www.rst.gov.ru)
1 Область применения
Настоящий стандарт распространяется на электрохромные нанопокрытия (ЭХН), наносимые на поверхность стекла, предназначенного для изготовления стеклопакетов и многослойного стекла, и устанавливает метод ускоренных испытаний на старение.
Метод ускоренных испытаний на старение применяют для контроля пропускания солнечного излучения изделиями с ЭХН, предназначенными для остекления светопрозрачных строительных конструкций (оконных и дверных блоков, витрин, элементов ограждения лоджий, балконов, структурного остекления фасадов и т.д.).
Метод испытаний, установленный в настоящем стандарте, применим только к хромогенным ЭХН, которые можно переключать между различными состояниями пропускания под воздействием электрического напряжения или тока, и не применим к фотохромным и термохромным покрытиям.
Стандарт распространяется на ЭХН и стекла с ЭХН, изготовленные с применением неорганических или органических материалов.
Настоящий стандарт допускается применять для испытаний электрохромных покрытий.
2 Нормативные ссылки
В настоящем стандарте использованы нормативные ссылки на следующие стандарты:
ГОСТ 12.1.004 Система стандартов безопасности труда. Пожарная безопасность. Общие требования
ГОСТ 12.1.019 Система стандартов безопасности труда. Электробезопасность. Общие требования и номенклатура видов защиты
ГОСТ 33560 Стекло и изделия из него. Требования безопасности при обращении со стеклом
ГОСТ EN 410 Стекло и изделия из него. Методы определения оптических характеристик. Определение световых и солнечных характеристик
Примечание - При пользовании настоящим стандартом целесообразно проверить действие ссылочных стандартов в информационной системе общего пользования - на официальном сайте Федерального агентства по техническому регулированию и метрологии в сети Интернет или по ежегодному информационному указателю "Национальные стандарты", который опубликован по состоянию на 1 января текущего года, и по выпускам ежемесячного информационного указателя "Национальные стандарты" за текущий год. Если заменен ссылочный стандарт, на который дана недатированная ссылка, то рекомендуется использовать действующую версию этого стандарта с учетом всех внесенных в данную версию изменений. Если заменен ссылочный стандарт, на который дана датированная ссылка, то рекомендуется использовать версию этого стандарта с указанным выше годом утверждения (принятия). Если после утверждения настоящего стандарта в ссылочный стандарт, на который дана датированная ссылка, внесено изменение, затрагивающее положение, на которое дана ссылка, то это положение рекомендуется применять без учета данного изменения. Если ссылочный стандарт отменен без замены, то положение, в котором дана ссылка на него, рекомендуется применять в части, не затрагивающей эту ссылку.
3 Термины, определения и обозначения
3.1 Термины и определения
В настоящем стандарте применены следующие термины с соответствующими определениями:
3.1.1
|
нанопокрытие: Покрытие, толщина которого находится в нанодиапазоне. [ГОСТ Р 58039-2017, статья 3.2.2.2] |
3.1.2 хромогенное нанопокрытие: Нанопокрытие, нанесенное на стекло и обладающее способностью обратимо изменять пропускание видимого или солнечного света либо того и другого в ответ на внешние воздействия, такие как электрическое напряжение или ток, солнечное излучение или температура.
3.1.3 электрохромное нанопокрытие: Хромогенное нанопокрытие, нанесенное на стекло, в котором приложенное напряжение или ток применяют для обратимого изменения характеристик пропускания видимого или солнечного света либо того и другого.
3.1.4 ускоренное испытание на старение: Испытание образца на старение, при котором скорость ухудшения его свойств увеличивают по сравнению со скоростью старения в фактических условиях эксплуатации продукции.
3.1.5 коэффициент пропускания света: Пропущенная стеклом с ЭХН доля потока света, упавшего на стекло.
3.1.6 состояние наибольшего светопропускания: Состояние стекла с ЭХН при самом высоком значении коэффициента пропускания света.
3.1.7 состояние наименьшего светопропускания: Состояние стекла с ЭХН при самом низком значении коэффициента пропускания света.
3.1.8 время переключения: Время перехода стекла с ЭХН в состояние наибольшего или наименьшего светопропускания или обратно.
Примечание - Следует учитывать, что время переключения стекла с ЭХН из состояния наименьшего светопропускания в состояние наибольшего светопропускания может отличаться от времени, необходимого для обратного переключения.
3.1.9 цикл переключений: Изменение коэффициента пропускания света стекла с ЭХН с одного значения на другое, начинающееся и заканчивающееся в одной и той же точке.
3.1.10 изменчивость однородности облучения: Степень изменения количества излучения в направлениях x и y испытательной плоскости, используемой для экспонирования стекла с ЭХН.
3.2 Обозначения
В настоящем стандарте применены следующие обозначения:
V(λ) - относительная спектральная чувствительность дневного зрения стандартного наблюдателя;
tцикл - полный цикл переключений образца;
τ - коэффициент пропускания света;
τH - коэффициент пропускания света образца в состоянии наибольшего светопропускания;
τH,f - коэффициент пропускания света образца в состоянии наибольшего светопропускания после испытания на старение;
τH,i - коэффициент пропускания света образца в состоянии наибольшего светопропускания перед испытанием на старение;
τL - коэффициент пропускания света образца в состоянии наименьшего светопропускания;
τL,f - коэффициент пропускания света образца в состоянии наименьшего светопропускания после испытания на старение;
τL,i - коэффициент пропускания света образца в состоянии наименьшего светопропускания перед испытанием на старение;
tH - время переключения образца в состояние наибольшего светопропускания;
tH,f - время переключения образца в состояние наибольшего светопропускания после испытания на старение;
tH,i - время переключения образца в состояние наибольшего светопропускания перед испытанием на старение;
tH,85 - время переключения образца на 85% своего динамического диапазона в состояние наибольшего светопропускания;
tL - время переключения образца в состояние наименьшего светопропускания;
tL,f - время переключения образца в состояние наименьшего светопропускания после испытания на старение;
tL,i - время переключения образца в состояние наименьшего светопропускания перед испытанием на старение;
tL,85 - время переключения образца на 85% своего динамического диапазона в состояние наименьшего светопропускания.
4 Сущность метода
В данном методе испытаний сравнивают коэффициенты пропускания света образца с ЭХН до и после его искусственного старения.
Образец подвергают воздействию искусственного солнечного излучения в течение 5000 ч в испытательной камере с регулируемой температурой и влажностью при температурах образца, указанных в таблице 1, с целью циклического изменения состояния его ЭХН и фиксации ухудшения характеристик образца.
Таблица 1 - Условия и температура испытаний
|
Условия испытаний |
Стекло с ЭХН класса 1 |
Стекло с ЭХН класса 2 |
|
Температура поверхности образца |
(85 ± 7) °C |
(65 ± 7) °C |
|
Число циклов переключений |
Не более 50 000 |
Не более 50 000 |
|
Длительность воздействия |
5000 ч |
5000 ч |
|
Примечание - К классу 2 относят стекло с ЭХН, которое не может переключаться при температуре выше 65 °C. | ||
Во время проведения испытаний при воздействии искусственного солнечного излучения образец переключают на 85% его динамического диапазона, т.е. на то значение, которое является разницей между коэффициентами пропускания света в состояниях наибольшего и наименьшего светопропускания, используя цикл переключений минимальной длительности, в соответствии с формулой
τL,85 = τH – 0,85·(τH – τL). (1)
Испытания проводят поэтапно.
На первом этапе определяют исходные характеристики образцов и условия циклирования:
- значения τH,i и τL,i образцов при комнатной температуре;
- значения - tL,i и tH,i при комнатной температуре;
- время переключения образцов в состояния наибольшего и наименьшего светопропускания на 85% их динамического диапазона при выбранной температуре испытания;
- значение tцикл для применения на втором этапе испытаний.
На втором этапе в испытательной камере при выбранной температуре испытаний выполняют цикл переключений образцов и осуществляют воздействие на них искусственного солнечного излучения (циклирование).
На третьем этапе определяют характеристики образцов после испытаний на старение:
- значения τH,f и τL,f образцов при комнатной температуре;
- значения tL,f и tH,f при комнатной температуре.
Затем проводят сравнительную оценку исходных характеристик и характеристик образцов, полученных после проведения испытаний на старение, и проверяют их соответствие требованиям, установленным в разделе 9.
5 Требования безопасности
5.1 При проведении испытаний следует соблюдать требования безопасности по ГОСТ 12.1.004, ГОСТ 12.1.019, ГОСТ 33560.
5.2 При манипуляциях с образцами следует соблюдать осторожность, при необходимости использовать защитные очки и перчатки.
6 Оборудование
6.1 Термошкаф
Термошкаф используют на первом и третьем этапах испытаний.
Термошкаф должен обеспечивать температуру испытания стекол с ЭХН, выбранную для второго этапа испытаний. Для измерения температуры образца в термошкафу применяют термопару.
Конструкция термошкафа должна обеспечивать испытания образцов заданного размера, а также возможность подключения оборудования, указанного в 6.2 и 6.3.
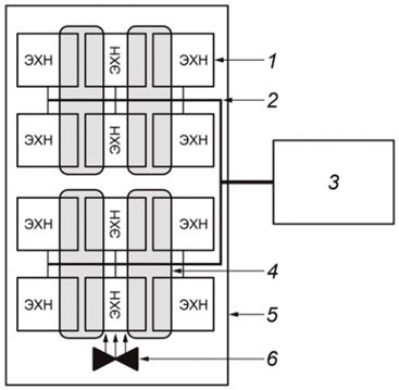
Схема термошкафа приведена на рисунке 1.

1 - термошкаф; 2 - коллимирующие линзы; 3 - источник света; 4 - блок управления переключением; 5 - спектрометр; 6 - оптические кабели; 7 - термопара с электрическими выводами; 8 - образец
Рисунок 1 - Схема термошкафа (вид сверху)
6.2 Спектрометр
Спектрометр используют на первом и третьем этапах испытаний.
Для испытаний применяют спектрометр, обеспечивающий получение и хранение данных о характеристиках образцов, а также возможность измерения в диапазоне длин волн от 380 до 780 нм.
В термошкафу в качестве источников света применяют лампы накаливания с вольфрамовой нитью накала или другие лампы со спектром излучения от 380 до 780 нм.
Оптические кабели должны быть проложены от источника света к образцу и от образца к спектрометру. Один оптический кабель направляет падающий свет от источника света на одну поверхность образца, другой оптический кабель направляет переданный свет на спектрометр, подключенный к компьютеру. Оптические кабели обвязывают оптически и центрируют с узлами коллимирующих линз, прикрепленными к обоим кабелям.
6.3 Блок управления переключением
Блок управления переключением используют на первом и третьем этапах испытаний для обеспечения перехода образца из состояния наибольшего светопропускания в состояние наименьшего светопропускания и обратно.
Для переключения образца из состояния наибольшего или наименьшего светопропускания во время измерений допускается применять многоканальный потенциостат, подключенный к компьютеру, или специальное устройство, поставляемое изготовителем изделия.
6.4 Испытательная камера
Испытательную камеру используют на втором этапе испытаний.
Конструкция испытательной камеры должна обеспечивать испытания образцов заданных числа и размеров.
Для имитации солнечного излучения в ультрафиолетовой, видимой и ближней инфракрасной областях спектра испытательная камера должна быть оснащена источниками света с соответствующими оптическими фильтрами. Для имитации солнечного излучения в качестве источников света рекомендуется применять ксеноновые дуговые лампы в заданном количестве общей мощностью 6500 Вт со спектром излучения от 300 до 900 нм, оснащенные внутренним кварцевым фильтром, для обеспечения соответствия испытательного излучения солнечному излучению для воздушной массы АМ 1,5.
Источники света должны быть оснащены фильтрами для удаления ближнего инфракрасного излучения с целью предотвращения чрезмерного нагрева образцов, который может вызвать тепловую деградацию, не возникающую в условиях эксплуатации изделия.
Для испытаний применяют источники света с водяным или воздушным охлаждением и контролем энергетической освещенности.
В качестве примера на рисунке 2 приведен график сравнения спектральной энергетической освещенности ксеноновой дуговой лампы с соответствующим фильтром и солнечного излучения для воздушной массы АМ 1,5.

X - длина волны излучения, нм; Y – спектральная энергетическая освещенность, Вт·м-2·нм-1; 1 - спектральная энергетическая освещенность солнечного излучения для воздушной массы АМ 1,5; 2 – спектральная энергетическая освещенность ксеноновой дуговой лампы с соответствующим фильтром, применяемой для имитации солнечного излучения
Рисунок 2 - График сравнения спектральной энергетической освещенности ксеноновой дуговой лампы с соответствующим фильтром и солнечного излучения для воздушной массы АМ 1,5
На более длинных волнах излучения энергетическая освещенность ксеноновой дуговой лампы отличается от энергетической освещенности солнечного излучения для воздушной массы АМ 1,5, так как энергетическая освещенность ксеноновой дуговой лампы в ультрафиолетовой/видимой области спектра выше, чем у солнечного излучения (см. рисунок 2). Следует учитывать, что при воздействии на образец излучения данной области спектра не происходит его деградации, вызванной фотолитическим воздействием.
Во время испытаний для предотвращения деградации образцов не следует допускать пиков излучения в диапазоне от 300 до 780 нм.
На рисунке 3 приведена схема испытательной камеры (вид сверху), в том числе образцы и их размещение на испытательной плоскости, источники света и их расположение над испытательной плоскостью и кабели, соединяющие образцы с блоком циклов переключений и автоматизированной системой сбора данных.

1 - образцы; 2 - электрические выводы и кабели термопар; 3 - блок циклов переключений и автоматизированная система сбора данных; 4 - источники света; 5 - корпус испытательной камеры; 6 - система принудительного воздушного нагрева/охлаждения
Рисунок 3 - Схема испытательной камеры (вид сверху)
Образцы размещают на испытательной плоскости под источниками света, расположенными в системе отражателей на потолке испытательной камеры.
Испытательная камера должна быть спроектирована таким образом, чтобы энергетическая освещенность на поверхности образцов, создаваемая источниками света в спектральном диапазоне от 300 нм до 3000 нм, составляла (1000 ± 40) Вт/м2. Изменчивость однородности облучения испытательной плоскости должна быть не более ± 8%.
Для получения заданных значений энергетической освещенности и изменчивости однородности облучения в соответствии с настоящим стандартом следует регулировать энергетическую освещенность образцов, например, регулируя расстояние между образцами и источниками света.
Испытательная камера должна быть сконструирована таким образом, чтобы обеспечивалось необходимое расположение электрических кабелей внутри нее и снаружи, предназначенных для подключения датчиков температуры и блока циклов переключений.
Испытательная камера должна быть оборудована системой принудительного воздушного нагрева/охлаждения и системой регулирования влажности и обеспечивать заданную температуру испытания стекол с ЭХН.
Система воздушного нагрева/охлаждения должна поддерживать температуру в диапазоне, указанную в нормативной документации на изделие. Система регулирования влажности должна поддерживать относительную влажность воздуха в диапазоне, указанном в нормативной документации на изделие.
Внутри испытательной камеры должна быть предусмотрена возможность контроля температуры воздуха в диапазоне от 10 °C до 20 °C. Для предотвращения образования конденсата в испытательной камере относительная влажность воздуха не должна превышать 60%.
6.5 Блок циклов переключений
Блок циклов переключений используют на втором этапе испытаний.
Блок циклов переключений применяют в испытательной камере для подачи на образцы электрического напряжения или тока либо того и другого для поочередного и многократного изменения коэффициента пропускания света образцов.
В качестве блока циклов переключений и блока управления переключением допускается применять одно и то же оборудование, поставляемое изготовителем изделия.
6.6 Датчики температуры
Для измерения температуры образца и температуры в испытательной камере применяют термопары, обеспечивающие измерение с точностью ± 0,1 °C и суммарную погрешность показаний не более 0,3 °C.
Для контроля температуры во время испытаний допускается применять другие устройства, обеспечивающие измерения с заданной точностью.
6.7 Дополнительное оборудование
Для документирования результатов визуального контроля рекомендуется применять цифровую камеру и видеокамеру.
Для определения суммарной энергетической освещенности допускается применять пиранометр чувствительностью к спектральному диапазону от 300 до 3000 нм.
7 Образцы для испытаний
7.1 Описание образцов
Для испытаний используют образцы, представляющие собой однослойное стекло с ЭХН, стеклопакет с ЭХН, многослойное стекло с ЭХН, размерами не менее (250 ± 5) x (250 ± 5) мм.
Число и конструкция испытуемых образцов - в соответствии с нормативной документацией на изделие. При отсутствии таких указаний для испытаний применяют пять образцов из одной партии, при этом на четырех образцах испытания проводят одновременно, пятый образец не подвергают старению и используют его в качестве контрольного образца для проведения сравнительной оценки характеристик.
Для образца, представляющего собой стеклопакет, рекомендуется использовать капиллярные трубки на кромке стеклопакета для обеспечения сброса давления при проведении испытаний.
Если при эксплуатации изделия (стеклопакета или многослойного стекла) кромки у него защищены от солнечного излучения, то во время испытаний для защиты кромок образца от воздействия искусственного солнечного излучения рекомендуется применять соответствующий материал, например алюминиевую ленту или фольгу, которую следует располагать на расстоянии не более 16 мм от края образца.
7.2 Подготовка образцов для испытаний
Перед испытанием проводят визуальный контроль образцов, делают фотографии всех явных дефектов или отклонений образцов в состояниях наибольшего и наименьшего светопропускания. Результаты визуального контроля регистрируют в протоколе.
Термопару диаметром 0,13 мм закрепляют в центре образца, применяя для этих целей алюминиевую ленту размером 8 x 8 мм. Если образец расположен дальше всего от источника света, то должно быть обеспечено надлежащее экранирование от источника света расположенной на нем термопары.
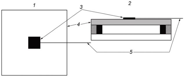
На рисунке 4 приведен пример расположения термопары на образце, представляющем собой стеклопакет. Такое же расположение термопары рекомендуется для образцов, представляющих собой однослойное и многослойное стекло с ЭХН.

1 - образец (вид сверху); 2 - образец (вид сбоку); 3 - алюминиевая лента; 4 - поверхность образца с ЭХН; 5 - электрические выводы термопары
Рисунок 4 - Схема размещения термопары на образце
Электрические выводы термопары допускается закреплять не в центре образца, используя два дополнительных отрезка алюминиевой ленты размером 8 x 8 мм для обеспечения снятия напряжений и предотвращения открепления термопары от поверхности образца.
8 Проведение испытаний
8.1 Определение исходных характеристик образцов (первый этап)
8.1.1 Общие положения
Для испытаний применяют термошкаф.
Характеристики образцов определяют при комнатной температуре и выбранной температуре испытаний с использованием одного и того же оборудования при проведении всех измерений.
8.1.2 Определение исходных характеристик образцов при комнатной температуре
Прокладывают оптические кабели от лампы накаливания к образцу и от образца к спектрометру, который подключен к компьютеру (см. рисунок 2). Оптические кабели обвязывают оптически и центрируют с узлами коллимирующих линз.
Образец устанавливают в держатель в термошкафу. К образцу подключают блок управления переключением. На поверхности образца закрепляют термопару.
В термошкафу устанавливают температуру, соответствующую комнатной температуре, приблизительно 22 °C. Температуру образца контролируют термопарой.
Исходные значения τH,i и τL,i образцов определяют следующим образом.
Перед каждым измерением значений τH,i и τL,i образцов регистрируют эталонные спектры излучения 100% и 0% с шагом не менее 5 нм.
Значения τH,i и τL,i измеряют в одной точке приблизительно в центре образца в диапазоне длин волн от 380 до 780 нм в последовательных интервалах времени при переключении циклов между состояниями наибольшего и наименьшего светопропускания. Измерения проводят в точке образца, расположенной как можно дальше от области экранирования термопары.
Следует учитывать, что интервал времени, составляющий часть полного цикла переключений для получения каждого спектра излучения, достаточен для регистрации значений τH,i и τL,i каждого образца.
Значения τH,i и τL,i образца, представляющего собой многослойное стекло с ЭХН, рассчитывают в соответствии с ГОСТ EN 410 по коэффициентам пропускания света в диапазоне длин волн от 380 нм до 780 нм его отдельных слоев с применением V(λ) в качестве весового коэффициента.
Во время проведения измерений обеспечивают достижение образцом состояний наибольшего и наименьшего светопропускания. Управление переключением образца из состояния наибольшего светопропускания в состояние наименьшего светопропускания и обратно, а также поддержанием этих состояний осуществляют в соответствии с требованиями изготовителя изделия.
Значения τH,i и τL,i регистрируют через 30 мин от начала переключения, когда образец достигнет своего предельного состояния светопропускания или скорость изменения коэффициента пропускания света станет менее 0,4% от значения τ, мин (в зависимости от того, что наступит быстрее).
Типичные коэффициенты пропускания света, зарегистрированные во время полного цикла переключений образца, приведены на рисунке 5, на котором представлен график зависимости коэффициента пропускания света от длины волны излучения.

X - длина волны излучения, нм; Y - коэффициент пропускания света, %; a - направление уменьшения коэффициента пропускания света
Рисунок 5 - График зависимости коэффициента пропускания света от длины волны излучения (типичные коэффициенты пропускания света, зарегистрированные во время полного цикла переключений)
8.1.3 Определение времени переключения образцов в состояния наибольшего и наименьшего светопропускания на 85% их динамического диапазона при выбранной температуре испытания
Каждый образец нагревают в термошкафу при выбранной температуре испытания.
Во время испытаний образец должен переключиться на 85% своего динамического диапазона (где динамический диапазон составляет от τH,i до τL,i), т.е. образец переключают, начиная со значения τH,i, до значения τL,85 в соответствии с формулой
τL,85 = τH,i – 0,85·(τH,i – τL,i). (2)
Время переключения образца для получения значения τL,85, начиная с состояния наибольшего светопропускания и обратно, определяют путем измерения коэффициента пропускания света как функции времени с использованием спектрометра в соответствии с 8.1.2.
Для испытаний применяют:
- самое большое значение tL,85 (изменение состояния образца с τH,i до τL,85), полученное по результатам измерений, выполненных на пяти образцах;
- самое большое значение tH,85 (изменение состояния образца с τL,85 до τH,i), полученное по результатам измерений, выполненных на пяти образцах.
Следует учитывать, что значения tL,85 и tH,85 могут быть разными.
Если с помощью блока управления переключением можно получить разные значения tL,85 и tH,85, то допускается принимать значение tцикл как сумму значений tL,85 и tH,85.
Если такая возможность отсутствует, то значение tцикл должно в два раза превышать сумму максимальных значений τL,85 и τH,85, а время переключения образца из состояния наибольшего светопропускания в состояние наименьшего светопропускания и из состояния наименьшего светопропускания в состояние наибольшего светопропускания будет одинаковым.
Для образца, который может выполнять более 50 000 циклов за 5000 ч, время нахождения в состояниях наибольшего и наименьшего светопропускания должно быть одинаковым, а циклирование выполняют равномерно и непрерывно в течение 5000 ч. В этом случае значения tL,85 и tH,85 будут равны 6 мин.
8.2 Циклирование образцов в испытательной камере (второй этап)
8.2.1 Установка образцов в испытательной камере
Испытания проводят в испытательной камере.
Образцы помещают на испытательную плоскость таким образом, чтобы их поверхность, на которую нанесено ЭХН, была обращена к источнику света. К образцам подключают блок циклов переключения. На поверхности образцов закрепляют термопары.
Испытательная плоскость в камере может быть установлена в горизонтальном или вертикальном положении; при этом энергетическая освещенность на поверхности образцов, создаваемая источниками света, должна составлять (1000 ± 40) Вт/м2, изменчивость однородности облучения испытательной плоскости - не более ± 8%.
Перед циклированием при температуре испытаний образцы подвергают циклу переключений в испытательной камере при комнатной температуре с целью проверки работоспособности блока цикла переключений и автоматизированной системы сбора данных, а также целостности электрических кабелей и выводов термопар.
8.2.2 Установка температуры испытаний
Образцы должны находиться в состоянии наименьшего светопропускания. Температуру в камере регулируют до тех пор, пока поверхность образцов не достигнет заданной температуры испытаний.
Температурой испытаний является температура, измеренная в центре поверхности образца в состоянии наименьшего светопропускания, независимо от расположения образца относительно источника света.
Пример - При температуре воздуха в испытательной камере 60 °C температура в центре поверхности образца, находящегося в состоянии наименьшего светопропускания, будет составлять приблизительно 85 °C в зависимости от размера образца, состояния наименьшего светопропускания, достигаемого во время циклического изменения напряжения, расположения образца на испытательной плоскости и его конструкции.
Следует учитывать, что средняя температура испытаний будет ниже из-за того, что температура образца, находящегося в состоянии наибольшего светопропускания, всегда будет ниже приблизительно на 5 °C.
8.2.3 Процесс циклирования
Образцы должны находиться в состоянии наибольшего светопропускания. Необходимо включить источники света. Условия и температура испытаний должны соответствовать указанным в таблице 1.
Когда температура образцов приблизится к заданной температуре испытаний, необходимо начать циклирование, подавая на образец напряжение и выполняя полный цикл переключений tцикл, определенный в соответствии с 8.1.3.
Значение напряжения устанавливают в нормативном документе или технической документации на изделие.
Во время проведения испытаний температуру воздуха в камере корректируют с учетом того, что температура образцов, находящихся в состоянии наименьшего светопропускания, обязательно повышается.
Температуру образцов и данные о процессе циклирования регистрируют, используя автоматизированную систему сбора данных. Во время испытаний следует осуществлять периодический контроль работы испытательного оборудования и обеспечивать его надлежащее функционирование.
8.2.4 Промежуточные результаты испытаний
По запросу изготовителя изделия после 2000 ч циклирования образцов испытания прерывают. Испытательную камеру выключают, отсоединяют от образцов термопары и блок циклов переключения, образцы извлекают из камеры. Определяют коэффициенты пропускания света образцов в состояниях наибольшего и наименьшего светопропускания при комнатной температуре в соответствии с 8.1.2.
Проводят визуальный контроль образцов, фиксируют любые признаки ухудшения их характеристик с помощью фото-/видеокамеры. Все выявленные дефекты образцов в состояниях наибольшего и наименьшего светопропускания регистрируют в протоколе.
Если на основании промежуточных результатов можно предположить о том, что образцы не выдержат испытаний, то изготовитель изделия вправе принять решение об остановке испытаний.
Далее образцы устанавливают в испытательную камеру в соответствии с 8.2.1, выполняют цикл переключений и осуществляют воздействие на образцы искусственного солнечного излучения при выбранной температуре испытаний. Испытания завершают.
8.3 Определение характеристик образцов после испытаний на старение (третий этап)
После циклирования в испытательной камере в течение 5000 ч определяют характеристики образцов при комнатной температуре в соответствии с 8.1.2.
Образцы, прошедшие испытания, устанавливают рядом с контрольным образцом из той же партии, но не подвергавшимся старению. При комнатной температуре проводят пять циклов переключений и фиксируют с помощью фото-/видеокамеры изменение характеристик образцов.
Проводят визуальный контроль образцов, фиксируют любые признаки ухудшения их характеристик с помощью фото-/видеокамеры, в том числе:
- разрушение ЭХН;
- повреждения ЭХН, которые очевидны визуально в состоянии наибольшего светопропускания;
- повреждения ЭХН, которые очевидны визуально в состоянии наименьшего светопропускания.
Все выявленные дефекты образцов в состояниях наибольшего и наименьшего светопропускания регистрируют в протоколе.
9 Обработка результатов
Коэффициенты пропускания света образцов в состояниях наименьшего и наибольшего светопропускания определяют по ГОСТ EN 410.
Проводят сравнительную оценку исходных характеристик и характеристик образцов после испытаний на старение.
Значения характеристик образцов после испытаний на старение не должны отличаться от значений исходных характеристик более чем на ± 5%, т.е.:
|τH,i – τH,f| ≤ 0,05;
|τL,i – τL,f| ≤ 0,05.
Значения tL,f и tH,f образцов не должны отличаться более чем на 50% от значений tL,i и tH,i.
Характеристики не менее трех образцов должны соответствовать вышеуказанным требованиям.
Результаты регистрируют в протоколе.
10 Протокол испытаний
Результаты испытаний оформляют в виде протокола. Для каждого из четырех испытанных образцов в протоколе испытаний приводят следующую информацию:
- ссылку на настоящий стандарт;
- описание образца, включая размер, состав ЭХН, наименование изделия, код/идентификатор, наименование изготовителя, дату получения образца, дату завершения испытаний;
- расположение образца при испытаниях относительно источника света;
- число испытанных образцов;
- условия проведения ускоренных испытаний на старение;
- исходные характеристики, включая:
- значения τH,i и τL,i образца при комнатной температуре,
- значения tL,i и tH,i при комнатной температуре,
- время переключения образца в состояния наибольшего и наименьшего светопропускания на 85% его динамического диапазона при выбранной температуре испытания,
- значение tцикл;
- характеристики после испытания на старение, включая:
- значения τH,f и τL,f образца при комнатной температуре,
- значения tL,f и tH,f при комнатной температуре;
- промежуточные результаты испытаний (если требуется);
- среднюю температуру испытаний;
- число завершенных циклов переключений;
- количество выполненных часов;
- число циклов переключений до момента разрушения ЭХН;
- количество часов, выполненных до момента разрушения ЭХН;
- информацию о заметном визуальном ухудшении характеристик образца (информацию приводят отдельно для состояний наибольшего и наименьшего светопропускания);
- информацию об ухудшении характеристик образца, зафиксированную с помощью фото-/видеокамеры (информацию приводят отдельно для состояний наибольшего и наименьшего светопропускания);
- заключение о соответствии образца требованиям к характеристикам, установленным в настоящем стандарте;
- дополнительные сведения, в том числе об использовании защиты кромок стекла во время испытаний;
- дату проведения испытаний;
- подписи должностных лиц, проводивших испытания.
К протоколу прикладывают дополнительную информацию, включая чертежи, фото-/видеоматериалы о сравнении каждого испытанного образца с контрольным образцом, не подвергавшимся испытаниям.


