ГОСТ Р 55587-2024 ШКУРКИ НОРКИ КЛЕТОЧНОГО РАЗВЕДЕНИЯ НЕВЫДЕЛАННЫЕ. ТЕХНИЧЕСКИЕ УСЛОВИЯ
Утв. и введен в действие Приказом Федерального агентства по техническому регулированию и метрологии от 25 апреля 2024 г. N 545-ст
Национальный стандарт РФ ГОСТ Р 55587-2024
"ШКУРКИ НОРКИ КЛЕТОЧНОГО РАЗВЕДЕНИЯ НЕВЫДЕЛАННЫЕ. ТЕХНИЧЕСКИЕ УСЛОВИЯ"
Undressed skins of farmed mink. Specifications
ОКС 59.140.20
Дата введения - 1 августа 2025 года
Взамен ГОСТ Р 55587-2013
Предисловие
1 РАЗРАБОТАН Федеральным государственным бюджетным научным учреждением "Научно-исследовательский институт пушного звероводства и кролиководства имени В.А. Афанасьева" (ФГБНУ НИИПЗК)
2 ВНЕСЕН Техническим комитетом по стандартизации ТК 475 "Пушное звероводство и кролиководство"
3 УТВЕРЖДЕН И ВВЕДЕН В ДЕЙСТВИЕ Приказом Федерального агентства по техническому регулированию и метрологии от 25 апреля 2024 г. N 545-ст
4 ВЗАМЕН ГОСТ Р 55587-2013
Правила применения настоящего стандарта установлены в статье 26 Федерального закона от 29 июня 2015 г. N 162-ФЗ "О стандартизации в Российской Федерации". Информация об изменениях к настоящему стандарту публикуется в ежегодном (по состоянию на 1 января текущего года) информационном указателе "Национальные стандарты", а официальный текст изменений и поправок - в ежемесячном информационном указателе "Национальные стандарты". В случае пересмотра (замены) или отмены настоящего стандарта соответствующее уведомление будет опубликовано в ближайшем выпуске ежемесячного информационного указателя "Национальные стандарты". Соответствующая информация, уведомление и тексты размещаются также в информационной системе общего пользования - на официальном сайте Федерального агентства по техническому регулированию и метрологии в сети Интернет (www.rst.gov.ru)
1 Область применения
Настоящий стандарт распространяется на невыделанные шкурки норки клеточного разведения (далее - шкурки).
2 Нормативные ссылки
В настоящем стандарте использованы нормативные ссылки на следующие стандарты:
ГОСТ 12266 Сырье пушно-меховое. Упаковка, маркировка, транспортирование и хранение
ГОСТ 18567 Сельское хозяйство. Звероводство. Термины и определения
Примечание - При пользовании настоящим стандартом целесообразно проверить действие ссылочных стандартов в информационной системе общего пользования - на официальном сайте Федерального агентства по техническому регулированию и метрологии в сети Интернет или по ежегодному информационному указателю "Национальные стандарты", который опубликован по состоянию на 1 января текущего года, и по выпускам ежемесячного информационного указателя "Национальные стандарты" за текущий год. Если заменен ссылочный стандарт, на который дана недатированная ссылка, то рекомендуется использовать действующую версию этого стандарта с учетом всех внесенных в данную версию изменений. Если заменен ссылочный стандарт, на который дана датированная ссылка, то рекомендуется использовать версию этого стандарта с указанным выше годом утверждения (принятия). Если после утверждения настоящего стандарта в ссылочный стандарт, на который дана датированная ссылка, внесено изменение, затрагивающее положение, на которое дана ссылка, то это положение рекомендуется применять без учета данного изменения. Если ссылочный стандарт отменен без замены, то положение, в котором дана ссылка на него, рекомендуется применять в части, не затрагивающей эту ссылку.
3 Термины и определения
В настоящем стандарте применены термины по ГОСТ 18567, а также следующие термины с соответствующими определениями:
3.1 бунт шкурок: Шкурки норки, связанные по 20 штук, которые могут быть подобраны по полу, размеру, качеству волосяного покрова, цветовому типу, тону и оттенку, длине ости и группам дефектности.
Примечание - При недостаточном количестве шкурок допускается увязывать в бунт меньшее количество шкурок.
3.2 душка: Топографический участок шкурки, расположенный на нижней стороне шеи.
3.3 черево: Топографический участок шкурки, расположенный на брюшной стороне между основаниями передних лап и паховой области.
3.4 огузок: Топографический участок шкурки, покрывающий на норке его крестцовую область.
Примечание - Топография шкурки норки приведена в приложении А.
3.5 мездра: Внутренняя сторона кожевой ткани шкурки после снятия с нее подкожного жирового слоя.
3.6 качество волосяного покрова: Совокупная оценка пышности, мягкости, блеска и целостности волосяного покрова, определяющая товарную ценность шкурки.
3.7 качество шкурки: Совокупность свойств шкурки, определяемых ее размером, окраской, структурой волосяного покрова и дефектностью.
3.8 окраска волосяного покрова: Сочетание цвета кроющих и вершин пуховых волос на шкурке.
4 Технические требования
4.1 Шкурки норки должны соответствовать требованиям настоящего стандарта.
4.2 Шкурки норки должны иметь густой, уравненный, шелковистый, блестящий и хорошо развитый волосяной покров.
4.3 Шкурки должны быть сняты с тушек трубкой с разрезом, проходящим по внутренней стороне задних лап от одной фаланги пальцев до другой по линии волосораздела черева и огузка, с сохранением головы (с носиками и ушами), хвоста и лап (до фаланг пальцев). Шкурки должны быть очищены от прирезей мяса, хрящей, костей из хвоста: хорошо обезжирены без повреждения корней волос кожевой ткани и волосяного покрова; очищены от грязи и крови; посажены (без складок, морщин) на правилки. Шкурки оправляют на правилки (приведены в приложении Б). Шкурки консервируют пресно-сухим способом.
4.4 Характеристика окраски волосяного покрова
4.4.1 Шкурки норки по окраске волосяного покрова должны соответствовать требованиям, указанным в таблице 1.
Таблица 1 - Характеристика окраски волосяного покрова
|
Цветовой тип |
Характеристика окраски волосяного покрова | ||
|
Основной тон окраски шкурки |
Цвет волос | ||
|
остевых |
пуховых | ||
|
1 Черная |
Черный, почти черный |
Черный |
Почти черный, темно-серый |
|
Коричневая группа | |||
|
2 Темно-коричневая |
Темно-коричневый |
Почти черный, темно-коричневый |
Коричневый, серо-коричневый |
|
3 Коричневая |
Коричневый, светло-коричневый |
Коричневый, светло-коричневый |
Светло-серо-коричневый |
|
4 Пастель |
От коричневого до светло-коричневого с голубым оттенком |
Коричневый с голубым оттенком разной интенсивности |
Серо-голубой с коричневыми вершинами |
|
5 Топаз |
Бежевый, светло-бежевый с дымчатым оттенком |
Серо-бежевый разной интенсивности |
Светло-серо-голубой с бежевым оттенком |
|
6 Паломино |
От светло-бежевого до темно-бежевого с розоватым оттенком |
От светло-бежевого до темно-бежевого |
Светло-бежевый с розоватым оттенком |
|
7 Жемчужная |
Светло-бежевый с голубоватым оттенком |
Бежевый, серовато-бежевый |
Светло-бежевый до почти белого |
|
8 Белая |
Белый |
Белый |
Белый |
|
Голубая группа | |||
|
9 Лавандовая |
Серо-голубая с лиловым оттенком |
Серо-голубая с лиловым оттенком различной интенсивности |
От светло-серо-голубого до почти белого |
|
10 Хоуп |
Серо-бежевый с голубым оттенком |
Серо-бежевый разной интенсивности с голубым оттенком |
От серо-голубого до светло-серо-голубого |
|
11 Серебристо-голубая |
Серый разной интенсивности с голубым оттенком |
От темно-серого до светло-серого с голубым оттенком |
Серый и светло-серо-голубой |
|
12 Алеутская |
Графитно-стальной с голубым оттенком |
Графитно-стальной с голубым оттенком |
Голубой со стальным оттенком различной интенсивности |
|
13 Голубой ирис |
Темно-голубой с графитным оттенком |
Графитно-темно-голубой |
От голубого до светло-голубого |
|
14 Сапфир |
Голубой разной интенсивности |
Голубой разной интенсивности |
Светло-голубой |
|
15 Виолет |
Бледно-голубой |
Бледно-голубой |
Очень бледно-голубой |
|
16 Крестовки (черная, коричневая, темно-коричневая, голубая и других типов) |
Остевой и пуховый волос белый и пигментированный соответственно указанным цветам. Пигментированный волос более сконцентрирован по хребту от головы к хвосту и на плечах, образуя рисунок в виде полного или неполного креста. Черево белое | ||
|
17 Пестрая "ягуар" (черная, темно-коричневая, коричневая, голубая и других типов) |
На хребтовой и боковых частях шкурки имеются участки (пятна), покрытые пигментированными остевыми и пуховыми волосами, цвет которых отвечает требованиям к окраске соответствующих цветовых типов. Вне этих участков (пятен) цвет остевых и пуховых волос белый | ||
|
18 Седая "звездная пыль" (черная, темно-коричневая, коричневая, голубая и других типов) |
В массе волос, окраска которых соответствует требованиям соответствующего цветового типа, рассеяны белые (седые) остевые волосы | ||
4.4.2 Шкурки норки цветовых типов, не указанных в таблице 1, оценивают по согласованию между заинтересованными сторонами.
4.5 Шкурки цветовых типов могут подразделять по тону окраски и оттенку в тоне (см. таблицу 2).
Таблица 2 - Характеристика цветового типа по тону окраски и оттенку в тоне
|
Цветовой тип |
Тон |
Оттенок |
|
Черная |
BL |
1 - чистый (голубой) 2 - каштановый 3 - каштановый с буризной |
|
XXD | ||
|
XD | ||
|
Темно-коричневая |
XXD |
1 - чистый (голубой) 2 - каштановый 3 - бурый 4 - буро-красный |
|
XD | ||
|
DK | ||
|
MED | ||
|
Коричневая |
XXD |
1 - чистый (голубой) 2 - каштановый 3 - бурый 4 - буро-красный |
|
XD | ||
|
DK | ||
|
MED | ||
|
PL | ||
|
XPL | ||
|
XXPL | ||
|
Пастель |
DK |
1 - чистый (серо-голубой) 2 - серо-голубой с коричневым оттенком 3 - бурый 4 - коричневый с буризной |
|
MED | ||
|
PL | ||
|
XPL | ||
|
XXPL | ||
|
XXXPL | ||
|
Топаз |
XD |
1 - чистый (светло-бежевый) 2 - с легкой желтизной 3 - с выраженной желтизной 4 - с яркой желтизной |
|
DK | ||
|
MED | ||
|
PL | ||
|
XPL | ||
|
XXPL | ||
|
XXXPL | ||
|
Паломино |
DK |
1 - чистый (бежевый) 2 - с легкой желтизной 3 - с выраженной желтизной 4 - с яркой желтизной |
|
MED | ||
|
PL | ||
|
XPL | ||
|
XXPL | ||
|
XXXPL | ||
|
Жемчужная |
DK |
1 - чистый (светло-бежевый) 2 - с легкой желтизной 3 - с выраженной желтизной 4 - с яркой желтизной |
|
MED | ||
|
PL | ||
|
XPL | ||
|
XXPL | ||
|
XXXPL | ||
|
Белая |
WH |
1 - чистый (белый) 2 - с легкой желтизной 3 - с выраженной желтизной |
|
Лавандовая |
XXD |
1 - чистый (серо-голубая с лиловым оттенком) 2 - с легкой буризной 3 - с выраженной буризной 4 - грязно-бурый |
|
XD | ||
|
DK | ||
|
MED | ||
|
PL | ||
|
XPL | ||
|
XXPL | ||
|
XXXPL | ||
|
Хоуп |
XD |
1 - чистый (серо-бежевый с голубым оттенком) 2 - с легкой буризной 3 - с выраженной буризной 4 - грязно-бурый |
|
DK | ||
|
MED | ||
|
PL | ||
|
XPL | ||
|
XXPL | ||
|
XXXPL | ||
|
Серебристо-голубая |
XXD |
1 - чистый (серый с голубым оттенком) 2 - с легкой буризной 3 - с выраженной буризной 4 - грязно-бурый |
|
XD | ||
|
DK | ||
|
MED | ||
|
PL | ||
|
XPL | ||
|
XXPL | ||
|
XXXPL | ||
|
Алеутская |
XXD |
1 - чистый (графитно-стальной с голубым оттенком) 2 - с легкой буризной 3 - с выраженной буризной 4 - грязно-бурый |
|
XD | ||
|
DK | ||
|
MED | ||
|
PL | ||
|
XPL | ||
|
XXPL | ||
|
XXXPL | ||
|
Голубой ирис |
XD |
1 - чистый (серый с голубым оттенком) 2 - с легкой буризной 3 - с выраженной буризной 4 - грязно-бурый |
|
DK | ||
|
MED | ||
|
PL | ||
|
XPL | ||
|
XXPL | ||
|
XXXPL | ||
|
Сапфир |
XXD |
1 - чистый (голубой) 2 - с легкой желтизной 3 - с выраженной желтизной 4 - с яркой желтизной |
|
XD | ||
|
DK | ||
|
MED | ||
|
PL | ||
|
XPL | ||
|
Виолет |
PL |
1 - чистый (бледно-голубой) 2 - с легкой желтизной 3 - с выраженной желтизной 4 - с яркой желтизной |
|
XPL | ||
|
XXPL | ||
|
Крестовка (черная, сапфир, серебристая, пастель) |
XXD |
1 - чистый 2 - с легкой желтизной 3 - с выраженной желтизной |
|
XD | ||
|
DK | ||
|
MED | ||
|
PL | ||
|
XPL | ||
|
XXPL | ||
|
XXXPL | ||
|
Пестрая "Ягуар" |
XD |
1 - чистый 2 - с легкой желтизной 3 - с выраженной желтизной |
|
DK | ||
|
MED | ||
|
PL | ||
|
XPL | ||
|
XXPL | ||
|
Седая |
XD |
1 - чистый 2 - с легкой желтизной 3 - с выраженной желтизной |
|
DK | ||
|
MED | ||
|
PL | ||
|
XPL | ||
|
Примечание - Расшифровка аббревиатуры для обозначения тона шкурок: BL - черный, XXD - экстратемный тон, XD - более темный тон, DK - темный тон, MED - средний, PL - светлый, XPL - более светлый, XXPL - совсем светлый, XXXPL - максимально светлый, WH - белый. | ||
4.6 Подразделение шкурок на размеры
В зависимости от длины, ширины шкурок их подразделяют на размеры в соответствии с требованиями, указанными в таблице 3.
Таблица 3 - Размеры шкурок норки
|
Размерная категория шкурок |
Длина шкурки от кончика носа до основания хвоста, см |
Однократная ширина шкурки по линии, проходящей через среднюю точку ее длины, см, не менее | |
|
самцы |
самки | ||
|
80 |
119,0 - 124,9 |
10,0 |
- |
|
70 |
113,0 - 118,9 |
9,8 |
- |
|
60 |
107,0 - 112,9 |
9,8 |
- |
|
50 |
101,0 - 106,9 |
9,6 |
7,7 |
|
40 |
95,0 - 100,9 |
9,5 |
7,5 |
|
30 |
89,0 - 94,9 |
9,3 |
7,3 |
|
20 |
83,0 - 88,9 |
9,2 |
7,1 |
|
0 |
77,0 - 82,9 |
8,9 |
6,9 |
|
1 |
71,0 - 76,9 |
8,7 |
6,7 |
|
2 |
65,0 - 70,9 |
8,5 |
6,5 |
|
3 |
59,0 - 64,9 |
8,4 |
6,4 |
|
4 |
53,0 - 58,9 |
8,1 |
6,2 |
|
5 |
47,0 - 52,9 |
7,9 |
6,1 |
4.7 Оценка шкурок норки по длине ости
В зависимости от разницы между вершинами остевых и пуховых волос шкурки норки подразделяют на категории в соответствии с длиной ости (вельвет, классическая и длинная) согласно требованиям, указанным в таблице 4.
Таблица 4 - Оценка шкурок норки по длине ости
|
Категория |
Разница между вершинами кроющих и пуховых волос, мм |
|
Длинная ость |
Более 10,0 |
|
Классическая ость |
6,0 - 9,9 |
|
Вельвет 1 |
3,1 - 5,9 |
|
Вельвет 2 |
1,1 - 3,0 |
|
Вельвет 3 |
Менее 1,0 |
4.8 Оценка шкурок норки по качеству волосяного покрова
Шкурки сортируют по качеству и плотности подпуши и ости. Поврежденные шкурки сортируют отдельно.
В зависимости от состояния волосяного покрова шкурки норки подразделяют на категории качества в соответствии с требованиями, указанными в таблице 5.
Таблица 5 - Оценка шкурок норки по качеству волосяного покрова
|
Качество |
Характеристика волосяного покрова |
|
Исключительно высокое |
Лучшие отборные короткоостные шкурки с плотной подпушью и ровной, шелковистой остью, особо высокого качества |
|
Особо высокое |
Плотная подпушь, шелковистый, упругий, ровный остевой волос, на спине и животе, очень высокого качества |
|
Высокое |
По подпуши, ость и внешний вид несколько ниже, чем шкурки качества "Особо высокое", допускается наличие небольшой "кустистости", но в целом поверхность шкурки ровная, высокого качества |
|
1А |
Шкурки с подпушью и остью из категории "Особо высокое" и "Высокое" с незначительным дефектом в пределах 5% поверхности шкурки. Допускаются небольшие закусы, закаты, дыры, надрывы и отсутствие хвоста. Также возможно подмокание или потертость живота, пятна, закрученность ости, но не более 5% поверхности |
|
Высокое I |
В целом плотность и высота подпуши слабее, чем у шкурок качества "Высокое", остевой волос немного залегает или неровный, небрежное впечатление, допускается небольшая выпуклость на бедрах и легкое поредение ости |
|
1Б |
По подпуши и ости качество как у шкурок "Высокое I" и наличие одного из дефектов: незначительное подмокание и небольшая потертость у самцов, легкая закрученность ости, металлический блеск и наличие небольшого количества ости светлее остального остевого волоса до 5% |
|
II |
Слабые по качеству шкурки, часто забитые раньше полноценного вызревания, с характерными провалами в области бедер. Остевой волос жесткий и залегает. Допускается наличие дефекта в пределах 5% поверхности шкурки |
4.9 В зависимости от наличия дефектов (см. приложение В, таблица В.1) шкурки норки подразделяют на группы в соответствии с требованиями:
- дефект 1 - повреждено от 5% до 15% поверхности шкурки.
- дефект 2 - повреждено от 16% до 30% поверхности шкурки.
- дефект 3 - повреждено от 31% до 50% поверхности шкурки.
- дефект 4 - повреждено от 51% до 75% поверхности шкурки.
Примечание - Группы шкурок норки дефект 3 и дефект 4 по качеству и длине ости не сортируются.
4.10 При сортировке шкурок норки отдельно выделяют:
- летние шкурки (шкурки, полученные в результате летнего падежа) со значительно поредевшим волосяным покровом и с полным отсутствием подпуши.
Примечание - Сортировку по длине ости, тону и оттенку не производят;
- весенние шкурки (шкурки весеннего забоя выбракованных производителей использованных в разведении), характеризующиеся пожелтением в области черева и жесткостью кожевой ткани.
Примечание - Весенние шкурки сортируют по стандартным этапам;
- нестандартные шкурки (брак) с дефектами, превышающими нормы, установленные для группы дефект 4, длиной менее 47 см, прелые, горелые, поврежденные молью и кожеедом, с теклостью волосяного покрова; шкурки щенков с пухлявым волосяным покровом.
5 Методы контроля
5.1 Длину шкурок измеряют от кончика носа до основания хвоста с погрешностью не более 0,5 см. Ширину шкурок измеряют посередине длины с погрешностью 0,5 см.
5.2 Площадь шкурки определяют в квадратных дециметрах (дм2) путем умножения длины на удвоенную ширину шкурки.
5.3 На шкурках с вытянутым огузком у основания хвоста длину измеряют от кончика носа до линии, соединяющей краевые точки боков огузка.
5.4 Поредение ости на боках определяют при сложении шкурки по средней линии хребта.
5.5 Длину ости определяют в точке пересечения линий, отделяющей нижнюю треть шкурки с линией, проходящей между боком и хребтом (см. рисунок 1, точка А).

Рисунок 1 - Расположение точки А на шкурке
6 Правила приемки
6.1 Шкурки норки принимают партиями. Партией считают любое количество шкурок, оформленных одним документом о качестве.
6.2 Оценку качества шкурок норки проводят в соответствии с требованиями настоящего стандарта.
7 Маркировка и упаковка
7.1 В бунты подбирают шкурки одного пола и цветового типа, в том числе они могут быть подобраны с учетом размера, качества волосяного покрова, тона и оттенка, длины ости и групп дефектности.
7.2 Упаковку и маркировку шкурок проводят в соответствии с ГОСТ 12266.
Примечания
1 Допускается упаковка шкурок россыпью.
2 Запрещается в одну тару паковать шкурки, недостаточно обезжиренные в процессе первичной обработки и с зажиренным волосяным покровом вместе с нормально обезжиренными (при хранении).
8 Транспортирование
Шкурки норки транспортируют любым видом транспорта в соответствии с правилами перевозок грузов, действующих на данном виде транспорта.
Приложение А
(справочное)
Топография шкурки

Рисунок А.1 - Топография шкурки
Приложение Б
(справочное)
Правилки для шкурок норки
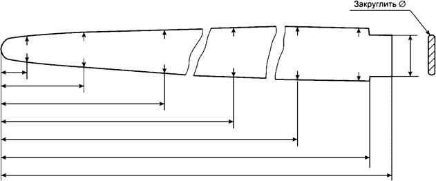
Форма правилки для шкурок норки приведена на рисунке Б.1, размеры правилок - в таблице Б.1.

Рисунок Б.1 - Правилка для шкурок норки
Таблица Б.1 - Размеры правилки для шкурок норки
В сантиметрах
|
Расстояние от носика |
M XL |
M |
F XL |
F | ||||
|
ширина |
толщина |
ширина |
толщина |
ширина |
толщина |
ширина |
толщина | |
|
0,0 |
1,3 |
0,9 |
1,3 |
0,9 |
1,2 |
0,8 |
1,2 |
0,8 |
|
10,0 |
5,2 |
2,2 |
5,2 |
2,2 |
4,7 |
2,0 |
4,7 |
2,0 |
|
20,0 |
6,2 |
2,4 |
6,2 |
2,4 |
5,2 |
2,2 |
5,2 |
2,2 |
|
30,0 |
7,1 |
2,7 |
7,1 |
2,7 |
5,8 |
2,3 |
5,8 |
2,3 |
|
40,0 |
8,0 |
3,0 |
7,9 |
3,0 |
6,4 |
2,4 |
6,4 |
2,4 |
|
50,0 |
8,5 |
3,2 |
8,5 |
3,2 |
6,9 |
2,5 |
6,9 |
2,5 |
|
60,0 |
9,2 |
3,4 |
9,1 |
3,4 |
7,3 |
2,6 |
7,3 |
2,6 |
|
70,0 |
9,8 |
3,6 |
9,7 |
3,6 |
7,6 |
2,8 |
7,6 |
2,8 |
|
80,0 |
10,5 |
3,8 |
10,3 |
3,8 |
8,0 |
2,9 |
8,0 |
2,9 |
|
90,0 |
11,2 |
4,1 |
10,9 |
4,1 |
8,3 |
3,0 |
8,3 |
3,0 |
|
100,0 |
11,2 |
4,1 |
10,9 |
4,1 |
8,3 |
3,0 |
8,3 |
3,0 |
|
110,0 |
11,2 |
4,1 |
10,9 |
4,1 |
8,3 |
3,0 | ||
|
120,0 |
11,2 |
4,1 |
10,9 |
4,7 | ||||
|
130,0 |
11,2 |
4,1 | ||||||
Приложение В
(справочное)
Характеристика дефектов, встречающихся на шкурках норки
Таблица В.1 - Характеристика дефектов, встречающихся на шкурках норки
|
Наименование пороков |
Определение |
|
Белопухость |
Депигментация белых или сероватых пуховых волос, при нормальной окраске кроющих волос в верхней части стержней, вследствие нарушения кормления |
|
Белые пятна на череве (пегость) |
Наличие на шкурках пятен иного контрастирующего цвета |
|
Выхваты (недостача) частей шкурки |
Вырезы или отрывы краев частей шкурки, имеющих товарную ценность |
|
Горелая шкурка (гарь жировая) |
Потеря прочности и разрушение участков кожного покрова шкурки в результате окисления неудаленного жира, сопровождающееся появлением красных и коричневых пятен на мездре |
|
Дыра, разрыв |
Сквозное отверстие в кожевой ткани с потерей товарной площади шкурки |
|
Загрязнение волоса |
Пятна на волосяном покрове от загрязнения мочой или калом зверя или прилипшей к нему грязью |
|
Зажиренный волос |
Загрязнение волосяного покрова жиром |
|
Закат волосяного покрова |
Свалянность меха, появляющаяся при откатке шкурок в барабанах с опилками, по причине застревания в волосяном покрове шероховатых или удлиненных игольчатых опилок, при откатке шкурок с влажным мехом или с сырыми опилками |
|
Закрученность вершин кроющих волос |
Резкая изогнутость вершин остевых волос по отношению к продольной оси волоса |
|
Закус |
Точечный рубец на кожевой ткани вследствие укуса |
|
Кожеедина |
Следы повреждения кожного покрова личинками и жуками кожееда в виде отверстий или несквозных канавок с неровными краями |
|
Компенсационная линька |
Процесс восстановления целостности волосяного покрова за счет роста новых волос на месте утерянных, сопровождающийся наличием темных пигментных пятен на мездровой поверхности |
|
Металлический блеск |
Блеск, напоминающий блеск стали из-за разнонаправленного роста волос |
|
Молеедина |
Следы повреждения гусеницами моли волосяного покрова и эпидермиса шкурки в виде углублений, извилистых ходов, изъеденных участков и съеденных волос |
|
Неправильная правка (комовая сушка) |
Шкурки, высушенные в нерасправленном виде |
|
Нежелательная пятнистость |
Нерезко выделяющиеся более интенсивно окрашенные участки, обычно не имеющие определенной конфигурации |
|
Ороговение |
Превращение участков кожевенной ткани пресно-сухих шкурок в твердую, ломкую, роговидную массу |
|
Остатки летнего волоса |
Волос, не вылинявший в процессе осенней линьки |
|
Открытая подпушь |
Дефект шкурки, заключающийся в плохом покрытии подпуши остевыми волосами (редкая ость) |
|
Плесневые шкурки |
Визуально различимый налет, который образуется в результате жизнедеятельности микроскопических грибов |
|
Плешина |
Участок шкурки, лишенный волосяного покрова |
|
Плохо обезжиренная шкурка (необезжиренность) |
Жировая пленка или пятна жира на кожевой ткани шкурки |
|
Подмокание |
Повреждение волосяного покрова и кожи на каудальной трети черева вследствие воздействия мочи |
|
Подпарина |
Разложение кожевой ткани шкурки вследствие бактериального поражения, приводящее к теклости волоса |
|
Пожелтение (выгорание) волосяного покрова |
Ослабление (потускнение) и изменение естественного цвета волосяного покрова под действием света и других факторов |
|
Потертость (вытертые места) |
Участки шкурки с изреженным волосяным покровом или с обломанными вершинами кроющих волос и пуха в результате механического воздействия |
|
Прелина |
Участки шкурки, лишенные волосяного покрова и эпидермиса вследствие бактериального поражения кожевой ткани |
|
Признаки весенней линьки |
Полноволосые шкурки с поредевшей остью на боках и череве |
|
Прорезь |
Линейные сквозные повреждения кожевой ткани шкурки без потерь ее площади |
|
Пучковый волосяной покров |
Участки шкурки, на которых остевые и пуховые волосы собраны в пучки |
|
Свалянность волосяного покрова |
Спутанность волос до образования войлокообразной массы, не поддающейся расчесыванию |
|
Сеченость (стрижка) волосяного покрова |
Участки шкурки с обломанными (обкусанными) вершинами кроющих волос |
|
Сквозняк |
Обнажение корней волос и выпадение их со стороны мездры |
|
Теклость волосяного покрова |
Утрата волосяного покрова в результате сквозняка, прелины и иных факторов |
|
Трещина кожевой ткани |
Разрыв эпидермиса и сосочкового слоя дермы |
|
Шов |
Линейные сквозные повреждения кожевой ткани, края которых сшиты нитками |


