ГОСТ Р 58536.2-2022 КОНДИЦИОНЕРЫ, АГРЕГАТИРОВАННЫЕ ОХЛАДИТЕЛИ ЖИДКОСТИ, ТЕПЛОВЫЕ НАСОСЫ, ТЕХНОЛОГИЧЕСКИЕ ЧИЛЛЕРЫ И ОСУШИТЕЛИ С КОМПРЕССОРАМИ С ЭЛЕКТРОПРИВОДОМ. ОПРЕДЕЛЕНИЕ УРОВНЯ ЗВУКОВОЙ МОЩНОСТИ. Часть 2. ВОДОНАГРЕВАТЕЛИ С ТЕПЛОВЫМИ НАСОСАМИ
Утв. и введен в действие Приказом Федерального агентства по техническому регулированию и метрологии от 2 сентября 2022 г. N 861-ст
Air conditioners, liquid chilling packages, heat pumps, process chillers and dehumidifiers with electrically driven compressors. Determination of the sound power level. Part 2. Water heaters with heat pumps
ОКС 17.140.20
91.140.65
Дата введения - 1 декабря 2022 года
Введен впервые
Предисловие
1 РАЗРАБОТАН Закрытым акционерным обществом "Научно-исследовательский центр контроля и диагностики технических систем" (ЗАО "НИЦ КД")
2 ВНЕСЕН Техническим комитетом по стандартизации ТК 358 "Акустика"
3 УТВЕРЖДЕН И ВВЕДЕН В ДЕЙСТВИЕ Приказом Федерального агентства по техническому регулированию и метрологии от 2 сентября 2022 г. N 861-ст
4 ВВЕДЕН ВПЕРВЫЕ
Правила применения настоящего стандарта установлены в статье 26 Федерального закона от 29 июня 2015 г. N 162-ФЗ "О стандартизации в Российской Федерации". Информация об изменениях к настоящему стандарту публикуется в ежегодном (по состоянию на 1 января текущего года) информационном указателе "Национальные стандарты", а официальный текст изменений и поправок - в ежемесячном информационном указателе "Национальные стандарты". В случае пересмотра (замены) или отмены настоящего стандарта соответствующее уведомление будет опубликовано в ближайшем выпуске ежемесячного информационного указателя "Национальные стандарты". Соответствующая информация, уведомление и тексты размещаются также в информационной системе общего пользования - на официальном сайте Федерального агентства по техническому регулированию и метрологии в сети Интернет (www.rst.gov.ru)
Настоящий стандарт устанавливает методы определения уровня звуковой мощности водонагревателей для приготовления применяемой в быту горячей воды, генераторами тепла в которых являются тепловые насосы. По конфигурации теплообменного контура водонагреватели могут принадлежать к типам воздух/вода, рассол/вода, вода/вода, грунт/вода и прямой теплообмен с тепловым насосом. В составе водонагревательного агрегата могут быть тепловой насос с электроприводным компрессором и накопительный резервуар для горячей воды (далее - бак). Для целей настоящего стандарта совокупность как минимум теплового насоса и бака именуется далее агрегатом. Настоящий стандарт устанавливает процедуру испытаний системы теплового насоса только в режиме приготовления горячей воды.
Примечания
1 Испытания в режиме одновременного приготовления горячей воды и отопления помещений не рассматриваются, так как эти процессы могут влиять друг на друга.
2 Требования по испытаниям для функции обогрева помещения приведены в ГОСТ Р 58536.1. Настоящий стандарт распространяется только на водонагреватели, которые поставляются в комплекте с тепловым насосом и баком. В случае водонагревателей, имеющих несколько модулей для подключения хладагента, настоящий стандарт применяют только к конструкциям, спроектированным и поставляемым в виде единого агрегата.
Методы испытаний, установленные в стандарте, могут быть использованы при заявлении шумовых характеристик водонагревателей для внесения их результатов в техническую документацию и руководство пользователя.
Методы стандарта неприменимы для определения уровня звуковой мощности водонагревателей на месте в условиях их эксплуатации.
Настоящий стандарт не устанавливает требований к качеству используемой воды.
В настоящем стандарте использованы нормативные ссылки на следующие стандарты:
ГОСТ 10921 Вентиляторы радиальные и осевые. Методы аэродинамических испытаний
ГОСТ 30457 Акустика. Определение уровней звуковой мощности источников шума на основе интенсивности звука. Измерение в дискретных точках. Технический метод
ГОСТ 30457.3 Акустика. Определение уровней звуковой мощности источников шума по интенсивности звука. Часть 3. Точный метод для измерения сканированием
ГОСТ ISO 3745 Акустика. Определение уровней звуковой мощности и звуковой энергии источников шума по звуковому давлению. Точные методы для заглушенных и полузаглушенных камер
ГОСТ Р 54671 Кондиционеры, агрегатированные охладители жидкости и тепловые насосы с компрессорами с электроприводом для обогрева и охлаждения помещений. Термины и определения
ГОСТ Р 58536.1 Кондиционеры, агрегатированные охладители жидкости, тепловые насосы, технологические чиллеры и осушители с компрессорами с электроприводом. Определение уровня звуковой мощности. Часть 1. Кондиционеры, агрегатированные охладители жидкости, тепловые насосы для обогрева и охлаждения помещений, осушители и технологические чиллеры
ГОСТ Р 58541.2 Кондиционеры, агрегатированные охладители жидкости и тепловые насосы для обогрева и охлаждения помещений, технологические чиллеры с компрессорами с электроприводом. Часть 2. Условия испытаний
ГОСТ Р 58541.3 Кондиционеры, агрегатированные охладители жидкости и тепловые насосы для обогрева и охлаждения помещений, технологические чиллеры с компрессорами с электроприводом. Часть 3. Методы испытаний
ГОСТ Р ИСО 3741-2013 Акустика. Определение уровней звуковой мощности и звуковой энергии источников шума по звуковому давлению. Точные методы для реверберационных камер
ГОСТ Р ИСО 3743-1 Акустика. Определение уровней звуковой мощности и звуковой энергии источников шума по звуковому давлению. Технические методы для малых переносных источников шума в реверберационных полях. Часть 1. Метод сравнения для испытательного помещения с жесткими стенами
ГОСТ Р ИСО 3744 Акустика. Определение уровней звуковой мощности и звуковой энергии источников шума по звуковому давлению. Технический метод в существенно свободном звуковом поле над звукоотражающей плоскостью
ГОСТ Р ИСО 3747 Акустика. Определение уровней звуковой мощности и звуковой энергии источников шума по звуковому давлению. Технический/ориентировочный метод в реверберационном звуковом поле на месте установки
Примечание - При пользовании настоящим стандартом целесообразно проверить действие ссылочных стандартов в информационной системе общего пользования - на официальном сайте Федерального агентства по техническому регулированию и метрологии в сети Интернет или по ежегодному информационному указателю "Национальные стандарты", который опубликован по состоянию на 1 января текущего года, и по выпускам ежемесячного информационного указателя "Национальные стандарты" за текущий год. Если заменен ссылочный стандарт, на который дана недатированная ссылка, то рекомендуется использовать действующую версию этого стандарта с учетом всех внесенных в данную версию изменений. Если заменен ссылочный стандарт, на который дана датированная ссылка, то рекомендуется использовать версию этого стандарта с указанным выше годом утверждения (принятия). Если после утверждения настоящего стандарта в ссылочный стандарт, на который дана датированная ссылка, внесено изменение, затрагивающее положение, на которое дана ссылка, то это положение рекомендуется применять без учета данного изменения. Если ссылочный стандарт отменен без замены, то положение, в котором дана ссылка на него, рекомендуется применять в части, не затрагивающей эту ссылку.
3.1 Термины и определения
В настоящем стандарте применены термины по ГОСТ 30457, ГОСТ 30457.3, ГОСТ ISO 3745, ГОСТ Р 54671, ГОСТ Р 58536.1, ГОСТ Р ИСО 3741, ГОСТ Р ИСО 3743-1, ГОСТ Р ИСО 3744 и ГОСТ Р ИСО 3747.
3.2 Обозначения
В настоящем стандарте применены следующие обозначения:
BC - Коррекция на изгиб воздуховода (вносимые изгибом воздуховода потери), мм
BR - Рассол
c0 - Скорость звука, м/с
d - Индекс в обозначениях, относящийся к параметрам воздуховода
D - Диаметр, мм
DH - Общая продолжительность нагрева, мин
E - Поправка на влияние конца воздуховода, дБ
f - Центральная (среднегеометрическая) частота октавной (1/3-октавной) полосы, Гц
i - Индекс в обозначениях, относящийся к характеристикам шума (параметрам) внутри помещения
L̅PA - Средний корректированный по A уровень звуковой мощности, дБА
LW - Уровень звуковой мощности, дБ
LWA - Корректированный по A уровень звуковой мощности, дБА
LWd - Уровень звуковой мощности шума, распространяющегося внутри воздуховода, дБ
o - Индекс в обозначениях, относящийся к характеристикам шума (параметрам) вне помещения
Prated <1> - Номинальная тепловая мощность (номинальная теплопроизводительность), кВт
--------------------------------
<1> Как определено в [1].
R - Хладагент
S - Площадь сечения воздуховода в помещении, м2
T - Температура по сухому термометру, °C
Thw - Задаваемая при акустических испытаниях температура горячей воды в баке, °C
Tiniw - Начальная температура воды в баке, °C
tMPmax - Максимальный период измерения температуры, мин
tMPmin - Минимальный период измерения температуры, мин
Tset - Установленная температура конденсатора теплового насоса в режиме приготовления горячей воды <2>, °C
--------------------------------
<2> Данный параметр является целевым значением (уставкой) для контроллера, управляющего работой теплового насоса.
Tstart - Температура воды в начале испытаний, °C
tTHw - Теоретическое время достижения Thw, мин
Twi - Температура воды на входе в бак, °C
Two - Температура воды на выходе из бака, °C
VPD - Объемная плотность мощности водонагревателя, Вт/л
Vtank - Заявленный объем бака, л
W/BR - Отношение объема воды к объему рассола
Ω - Пространственный угол излучения выходного отверстия испытуемого воздуховода
В таблице 1 перечислены источники шума и необходимые при измерениях коррекции на влияние конца воздуховода и его изгибов для типовых конфигураций тепловых насосов, приведенных в приложении А.
|
Источник тепла |
Конфигурация теплового насоса | ||||
|
Наружная |
Внутренняя |
Наличие входного воздуховода |
Наличие выходного воздуховода |
Номер рисунка в приложении А | |
|
Воздух неотапливаемого помещения |
- |
2 |
- |
- |
А.1 |
|
Внутренний воздух помещения |
- |
2 |
- |
- |
А.2 |
|
Грунт |
- |
1 |
- |
- |
А.3 |
|
Наружный воздух |
2 |
- |
- |
- |
А.4 |
|
Воздух неотапливаемого помещения/отверстие выпускного канала |
5 |
3 |
- |
- |
А.5 |
|
Наружный воздух/входное и выходное отверстия воздуховодов |
4 |
1 |
- |
- |
А.6 |
|
Всасываемый воздух - коллективная вентиляция |
- |
1 |
6 + коррекция на конец воздуховода + коррекция на изгиб (при наличии) |
7 + коррекция на конец воздуховода + коррекция на изгиб (при наличии) |
А.8 |
|
Сплит-система наружного воздуха |
2 |
8 |
- |
- |
А.9, А.10 |
|
Сплит-система наружного воздуха |
2 |
1 |
- |
- |
А.11 |
|
Теплообменная панель |
8 |
1 |
- |
- |
А.12 |
|
Позиции на рисунках, приведенных в приложении А: 1 - шум, излучаемый корпусом агрегата; 2 - шум, излучаемый корпусом агрегата, его входным и выходным отверстиями; 3 - шум, излучаемый корпусом агрегата и его входным отверстием; 4 - шум, излучаемый входным и выходным отверстиями воздуховодов; 5 - шум, излучаемый выходным отверстием воздуховода; 6 - шум, излучаемый входом агрегата; 7 - шум, излучаемый выходом агрегата; 8 - шум, не подлежащий измерению. | |||||
5.1 Общие положения
В зависимости от тепловой мощности агрегата и объема его бака, определяющих объемную плотность мощности VPD, Вт/л, время нагрева воды может существенно отличаться. Цель испытаний состоит в том, чтобы выполнить акустические измерения на интервале времени, при котором температура воды в баке достигает задаваемой температуры горячей воды Thw. Эту температуру измеряют, отбирая небольшие объемы воды.
Проведенные исследования показали, что генерируемый водонагревателями шум нестабилен по сравнению с другими устройствами кондиционирования и вентиляции. Это приводит к необходимости усреднения звукового давления на интервале времени не менее 3 мин.
Для выполнения акустических измерений для одного значения задаваемой температуры Thw отводится пятнадцать минут. На таком интервале времени водонагреватели с малым VPD незначительно повышают температуру воды в баке. Это позволяет выполнить некоторые вспомогательные операции, предусмотренные стандартами на методы измерений шума (например, использовать дополнительные позиции микрофона).
Агрегаты с большим значением VPD быстро увеличивают температуру воды в баке. В связи с этим уровень звуковой мощности должен непрерывно измеряться во время нагревания бака при отборе воды небольшими объемами. В результате уровень звуковой мощности, соответствующий задаваемой температуре Thw, должен быть зарегистрирован в виде зависимости от изменяющейся во времени температуры.
Процедура измерения для водонагревателей с прямым теплообменником между холодной бытовой водой и хладагентом приведена в приложении Б.
5.2 Задаваемая температура горячей воды
Значения задаваемой температуры горячей воды Thw, при которых должны проводиться акустические измерения, приведены в приложении В.
Достижение Thw проверяется отбором небольших объемов воды, как указано в 5.5.
Для агрегатов с VPD ≤ 10 Вт/л допуск на Thw составляет ± 1,5 К.
Для агрегатов с VPD> 10 Вт/л допуск на Thw отсутствует, поскольку задаваемая температура используется для расчета времени нагрева.
5.3 Объемная плотность мощности
Объемную плотность мощности VPD, Вт/л, определяют по формуле
, (1)
где Prated - заявленная тепловая мощность, кВт;
Vtank - заявленный объем бака, л.
Процедура определения звуковой мощности зависит от значения VPD:
- для агрегатов с VPD ≤ 10 Вт/л см. 5.6;
- для агрегатов с VPD> 10 Вт/л см. 5.7.
5.4 Наполнение бака
Бак должен быть полностью заполнен водой, имеющей температуру, указанную в таблице 2. Затем включают тепловой насос.
|
VPD, Вт/л |
Tiniw, °C |
|
не более 10 |
(Thw - 5 °C) или 10 °C, в зависимости от того, что больше |
|
более 10 и не более 40 |
(Thw - 20 °C) или 10 °C, в зависимости от того, что больше |
|
более 40 |
(Thw - 35 °C) или 10 °C, в зависимости от того, что больше |
Допуск для температуры Tiniw равен ± 2 °C.
Если при однократном нагреве выполняют измерения шума более чем при одной задаваемой температуре горячей воды Thw, то требуемую начальную температуру определяют по таблице 2 только для самой низкой задаваемой температуры.
Полагают, что бак заполнен при требуемой температуре, если значения температуры воды на выходе и входе удовлетворяют соотношению
|Two - Twi| <1 °C. (2)
5.5 Измерение температуры воды на выходе
Температуру воды на выходе Two измеряют на выходе из накопительного бака отбором небольших объемов воды.
Измерения следует выполнять в следующем порядке:
1) водопроводную воду пропускают через водонагреватель в течение 25 - 35 с при расходе от 2,8 до 3,2 л/мин (для промывки и стабилизации датчика температуры);
2) при том же расходе измеряют температуру в течение 10 с. Значения температуры регистрируют не реже, чем каждые 2 с. За результат измерения принимают среднее за 10 с значение.
Температуру воды измеряют в середине потока как можно ближе к агрегату, как показано на рисунке 1.

1 - датчик температуры; 2 - водоотвод
Рисунок 1 - Положение датчика температуры
Разность максимальной и минимальной температуры не должна превышать 0,15 °C.
Для компенсации отбора воды бак пополняют водой с температурой по 5.4.
Примечание - По практическим соображениям допускается использовать другой способ поддержания температуры воды внутри бака. В этом случае учитывают только результаты измерений в трубе водоотвода.
5.6 Метод испытаний для агрегатов с VPD не более 10 Вт/л
5.6.1 Работа теплового насоса
Когда бак наполнен водой с температурой, указанной в таблице 3, акустические измерения должны начаться по достижении следующих двух условий:
- Two находится в пределах заданного диапазона температур горячей воды Thw на выходе;
- компрессор непрерывно работает в течение не менее 30 мин непосредственно перед началом акустических измерений. В противном случае прокачивают объем Vtank при указанной в таблице 3 температуре и начинают измерения сразу по достижении задаваемой температуры.
|
VPD, Вт/л |
Продолжительность измерения температуры Two, мин | |
|
tMPmin |
tMPmax | |
|
10 |
7 |
10 |
|
VPD> 40 |
5 |
5 |
5.6.2 Акустические измерения
Акустические измерения начинают при достижении задаваемой температуры.
Чтобы избежать значительного изменения Two в процессе измерений, общая продолжительность измерения шума не должна превышать 15 мин.
Из-за нестационарности работы водонагревателя, приводящей к изменению уровня шума, время усреднения должно составлять 3 мин.
Примечание - Среднее за 3 мин значение получают усреднением нескольких измерений за более короткие периоды. Например, потребуется приблизительно шесть однократных измерений продолжительностью 30 с. Предпочтительным является измерение эквивалентного уровня шума за 3 мин, если средство измерений (шумомер) обладает соответствующей функцией.
По окончании акустических измерений еще раз измеряют Two для проверки. В протоколе испытаний приводят среднее значение температуры, измеренной непосредственно до и после акустических измерений.
5.7 Метод испытаний для агрегатов с VPD более 10 Вт/л
Метод испытаний заключается в непрерывном измерении шума в процессе нагревания бака и измерении при этом ряда значений Two, когда эта температура близка к задаваемой температуре Thw.
Период tMPmax измерения температуры Two, когда она не превышает задаваемой температуры Thw, должен соответствовать значениям, указанным в таблице 3.
Результаты акустических измерений, выполненных во время отбора воды, следует исключить из-за шума потока воды.
Компрессор должен проработать не менее 30 мин непосредственно перед акустическими измерениями. Если задаваемая температура достигается раньше окончания этого периода времени, то испытания начинают, не дожидаясь истечения 30 минут. Время работы компрессора до начала испытаний должно быть указано в протоколе испытаний.
Акустические измерения должны выполняться с непрерывной фиксацией результатов каждую минуту.
От начала периода нагревания определяют несколько значений Two в соответствии с 5.5 и таблицей 3.
После второго измерения Two теоретическое время достижения задаваемой температуры Thw оценивают методом линейной экстраполяции. Эту оценку уточняют после каждого нового измерения Two.
Когда разность между оценкой времени достижения Thw и моментом времени измерения текущего значения Two составляет от tMPmin до 2tMPmin, то следует немедленно начинать акустические измерения. Данное требование позволяет избежать выполнения акустических измерений в процессе отбора воды.
По истечении расчетного времени достижения Thw акустические измерения прекращают и выполняют еще одно измерение Two, момент измерения которого после теоретического времени Thw должен быть между tMPmin и tMPmax, оцененного при последнем измерении Two. Если компрессор агрегата отключится раньше указанного времени, то Two определяют в момент отключения.
Точное время, соответствующее Thw (без допуска), рассчитывают методом линейной регрессии на интервале времени от начала до окончания измерения Two. Уровень звуковой мощности рассчитывают усреднением уровня звуковой мощности, определенного за три минуты:
- на периоде выполнения измерений Two;
- за минуту до этого;
- за минуту после измерений Two.
Пример процедуры измерения для агрегатов с VPD более 10 Вт/л приведен в приложении Г.
5.8 Обледенение
Если до достижения задаваемой температуры начинается цикл размораживания, то акустические измерения следует начинать после цикла размораживания в первые 10 мин после его завершения, когда тепловой насос переходит в режим нагревания (интервал D, как определено в [1]), и при условии выполнения требований 5.2 к Thw. В противном случае процедуру измерений выполняют заново.
Если цикл размораживания начинается во время акустических измерений, процедуру выполняют заново.
Если цикл размораживания происходит в течение 10 мин после окончания периода акустических измерений, то измерение считается действительным для агрегатов с воздуховодом при условии постоянства с допуском 10% падения давления относительно устойчивого режима размораживания агрегата. Для агрегатов других типов процедуру измерения следует начать сначала.
Процедуру повторного запуска выполняют при следующих условиях:
- обеспечивают то же значение начальной температуры Tiniw;
- при повторном возникновении обледенения начальную температуру Tiniw изменяют на 2 °C. Начальная температура должна быть указана в протоколе испытаний.
5.9 Измерение неакустических параметров
Результаты измерений температуры и статического давления должны регистрироваться; измерения должны начинаться во время последнего перед акустическим измерением отбора воды и прекращаться при следующем отборе.
5.10 Объемный расход воздуха и допустимое внешнее статическое давление
5.10.1 Агрегаты без воздуховодов
Для агрегатов без воздуховодов (см. рисунки А.1 - А.4 и А.9 - А.12) измерение объемного расхода воздуха не требуется.
5.10.2 Агрегаты с воздуховодами
Объемный расход воздуха следует измерять в соответствии с ГОСТ 10921 или любым другим не менее точным методом измерения.
Внешнее допустимое давление следует измерять во время акустических испытаний.
Если измерение расхода воздуха не приводит к дополнительному шуму, его можно выполнить во время акустических измерений. В противном случае объемный расход воздуха должен определяться после акустических испытаний при том же внешнем допустимом давлении.
5.11 Скорость вращения вентилятора
Для агрегатов с одним или несколькими вентиляторами необходимо измерить скорость вращения вентилятора(ов).
Условия испытаний по температуре и электропитанию приведены в таблицах 4 и 5 соответственно.
|
Конфигурация теплового насоса |
Источник тепла - воздух. Температура сухого (влажного) термометра, °C |
Источник тепла - вода (рассол). Температура на входе/выходе, °C |
Диапазон температуры внешней среды теплового насоса, °C |
Температура внешней среды накопительного бака, °C |
|
Воздух неотапливаемого помещения |
15 (12) |
Температура источника тепла |
15 | |
|
Внутренний воздух |
20 (15) |
Температура источника тепла |
20 | |
|
Источник грунт |
От 15 до 30 |
20 | ||
|
Вода |
10/7 | |||
|
Рассол |
0/-3 | |||
|
Наружный воздух |
7 (6) |
Температура источника тепла |
7 | |
|
Выходное отверстие для воздуха из неотапливаемого помещения |
15 (12) |
Температура источника тепла |
15 | |
|
Наружный воздух - воздуховод на выходе/на входе |
7 (6) |
От 15 до 30 |
20 | |
|
Вытяжной воздух - Индивидуальная вентиляция |
20 (12) |
От 15 до 30 |
20 | |
|
Вытяжной воздух - Коллективная вентиляция |
20 (12) |
От 15 до 30 |
20 | |
|
Разделение наружного воздуха |
20 | |||
|
Наружный блок |
7 (6) |
Температура источника тепла | ||
|
Внутренний блок |
- |
От 15 до 30 | ||
|
Теплообменная панель |
7 (6) |
От 15 до 30 |
20 | |
|
Температура на выходе должна использоваться производителем для установки скорости потока в соответствии с 8.2.3, которая должна поддерживаться во время испытания. | ||||
|
Параметр |
Значение |
|
Напряжение электросети |
Номинальное напряжение |
|
Частота |
Номинальная частота |
Неопределенность измерения величин, контролируемых при испытаниях, не должна превышать значений, приведенных в таблице 6.
|
Контролируемая величина |
Единица измерения |
Неопределенность |
|
Горячая вода бытового назначения | ||
|
Температура |
°C |
± 0,2 °C |
|
Расход |
л/мин |
± 4% |
|
Жидкость (источник тепла) | ||
|
Температура (вход/выход) |
°C |
± 0,3 °C |
|
Концентрация рассола |
% |
± 4% |
|
Воздух (источник тепла) | ||
|
Температура сухого термометра |
°C |
± 0,5 °C |
|
Температура влажного термометра |
°C |
± 0,8 °C |
|
Разность статического давления |
Па |
± 5 Па (ΔP ≤ 100 Па) ± 5% (ΔP ≥ 100 Па) |
|
Объемный расход воздуха |
м3/ч |
± 10% |
|
Электрические величины | ||
|
Электрическая мощность |
Вт |
± 0,1 Вт (≤ 1 0 Вт) ± 1% (≥ 1 0 Вт) |
|
Напряжение |
В |
± 1% |
|
Ток |
А |
± 0,5% |
|
Внешняя среда | ||
|
Температура воздуха в помещении |
°C |
± 0,5 °C |
|
Вентилятор | ||
|
Скорость вращения |
мин-1 |
± 1% |
Допустимые отклонения от требуемых значений величин во время акустических измерений приведены в таблице 7.
|
Измеряемая величина |
Отклонение средних арифметических значений от конкретных условий испытаний |
Отклонение индивидуальных показаний от конкретных условий испытаний |
|
Температура внешней среды (если не используется в качестве источника тепла) |
± 2 °C |
± 4 °C |
|
Температура воздуха по сухому термометру |
± 1,2 °C |
± 2 °C |
|
Температура воздуха по влажному термометру |
± 0,8 °C |
± 1,2 °C |
|
Температура жидкости на входе |
± 0,4 °C |
± 1 °C |
|
Объемный расход жидкости |
± 2% |
± 5% |
|
Напряжение |
± 4% |
± 4% |
|
Примечание - Период обледенения исключен. | ||
8.1 Общие положения
Тепловой насос должен быть установлен и подключен для испытания в соответствии с рекомендациями изготовителя в руководстве по установке и эксплуатации. Дополнительные аксессуары (например, нагревательный элемент) не должны включаться в испытание. Однако если агрегат продается в комплекте с глушителем, то глушитель должен быть включен в систему воздуховодов, за исключением случаев, когда должна применяться коррекция на влияние конца воздуховода (см. позиции 6 и 7 на рисунках А.7 и А.8).
Агрегат должен быть установлен на полу (поддоны не допускаются) в соответствии с рекомендациями изготовителя.
Для всех конфигураций (включая подвесные изделия) агрегат должен располагаться на расстоянии не менее 1500 мм от любой стены, на удалении от какой-либо оси симметрии. Настенные агрегаты следует подвешивать на жесткой трубчатой раме на удалении от любых источников постороннего шума.
В случае тепловых насосов, состоящих из нескольких модулей (сплит-системы), при испытаниях должны соблюдаться следующие условия установки:
а) каждая труба хладагента должна быть установлена в соответствии с инструкциями изготовителя; длина труб должна быть от 5 до 7,5 м;
б) трубы должны быть проложены таким образом, чтобы перепад высот не превышал 2,5 м;
в) на трубы должна быть нанесена теплоизоляция в соответствии с инструкциями изготовителя;
г) если это не предусмотрено конструкцией, то по крайней мере половина соединительных магистралей хладагента должна быть на открытом воздухе, а остальные должны находиться внутри закрытых помещений.
Для испытания тепловых насосов с прямым теплообменом с грунтом пункт г) неприменим.
Для систем без непосредственного теплообмена, в которых тепловой насос отделен от бака, магистрали воды или рассола для соединения с баком должны быть смонтированы в соответствии с инструкциями изготовителя либо на максимально допустимой длине 5 м, в зависимости от того, что меньше. Трубы должны быть установлены в соответствии с перечислением г) с минимальным количеством изгибов и изолированы в соответствии с перечислением в).
8.2 Настройки
8.2.1 Общие положения
Целевые значения регулируемых величин (уставки) для внутреннего контрольного оборудования агрегата, такого как реле давления или смесительные клапаны, должны быть установлены на значения, указанные в инструкциях по установке и эксплуатации.
Настройки термостата должны выполняться в соответствии с инструкциями по установке и эксплуатации и оставаться неизменными на протяжении всего испытания. Если имеется несколько значений уставок или их диапазонов, изготовитель должен указать те значения, которые должны использоваться при испытаниях. Во время акустических испытаний (включая время подготовки) не допускается применение вспомогательных электрических нагревателей.
8.2.2 Настройки для агрегатов без воздуховодов, использующих воздух в качестве источника тепла
Для агрегатов без воздуховодов регулируемые элементы, такие как жалюзи и вентиляторы, должны настраиваться в соответствии с инструкциями по установке и эксплуатации. При отсутствии указаний изготовителя скорость вентилятора должна быть установлена на максимальный расход воздуха, а жалюзи должны быть максимально открыты.
8.2.3 Настройка разности температур для тепловых насосов, использующих жидкость в качестве источника тепла
Номинальный расход жидкости, указанный в инструкции по эксплуатации и установке для водонагревателя, использующего жидкость (воду или рассол) в качестве источника тепла, должен устанавливаться соответственно температуре жидкости на входе, как указано в таблице 4.
Для теплового насоса, совмещенного с нагревателем, расход жидкости, заданный в соответствии с ГОСТ Р 58541.2 и ГОСТ Р 58541.3 для режима обогрева помещения при номинальных условиях и средней температуре (47 °C/55 °C), устанавливают соответственно температуре жидкости на входе, как указано в таблице 4.
8.3 Конфигурация воздуховодов
8.3.1 Общие положения
Воздуховоды должны быть изготовлены из жесткого материала.
Уровень звуковой мощности, излучаемый отверстиями воздуховода (см. позиции 4 и 5 на рисунках А.5 - А.7), не может быть измерен корректно, если внутри воздуховодов имеется звукопоглощающий материал и/или какое-либо препятствие (дроссель, уступ, измерительное устройство), способное создавать дополнительный шум.
Для конфигураций, показанных на рисунках А.5 и А.6, уровни звуковой мощности внутри (позиции 1 или 3) и снаружи (позиции 4 или 5) помещения могут быть определены одновременно, если помещение представляет собой сдвоенную акустическую камеру.
Для других конфигураций воздуховодов (см. рисунок А.7 или рисунок А.9) уровни звуковой мощности внутри и снаружи не могут быть определены одновременно. Концы воздуховодов должны оставаться открытыми, без диффузоров и решеток.
8.3.2 Воздуховоды с изгибами
В воздушном контуре тепловых насосов могут быть применены изгибы (колена) для соединения верхних патрубков воздуховодов со смежным помещением.
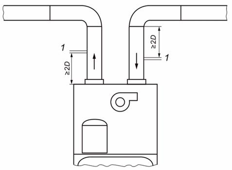
Для акустических измерений в каждом воздушном контуре допускается максимум два изгиба с суммарным углом не более 120°. Расстояние между изгибами должно быть не менее чем 5D.
Чтобы обеспечить правильную подачу воздуха в агрегат, на агрегате должен быть установлен прямой отрезок минимальной длины 3D.
Для конфигураций, показанных на рисунках с А.5 по А.7 с верхними патрубками, выходной канал должен включать один прямой канал (минимальной длины 3D), один (или два) изгиб и прямой канал(ы) длиной от 2000 до 3500 мм.
На рисунке 2 показан пример воздуховода с изгибом 90°.

D - диаметр воздуховода
Рисунок 2 - Конфигурация воздуховода для смежного помещения
8.3.3 Конструкция воздуховода
Для измерения "собственного шума агрегата" звук, излучаемый поверхностью воздуховода в окружающее пространство, должен быть минимизирован. Например, воздуховоды могут быть выполнены в виде двойной трубы (металлические внутренние и наружные трубы с суммарной толщиной не менее 1,2 мм) с промежуточным слоем звукоизоляции (толщиной не менее 20 мм) или любым другим материалом эквивалентной поверхностной массы (как показано на рисунке 3).
Примечание - Даже для прямоугольных патрубков рекомендуется использовать (с переходным адаптером) воздуховоды круглой формы, как правило обеспечивающие более высокую звукоизоляцию.

1 - внешний жесткий воздуховод; 2 – звукоизоляционный материал; 3 - внутренний жесткий воздуховод
Рисунок 3 - Воздуховод с двойными стенками
Колено диаметром D во избежание появления острых краев должно иметь внутренний радиус изгиба не менее 0,3D. Угол изгиба допускается не более 100° (см. рисунки 4 и 5).

Рисунок 4 - Закругленный/острый изгиб

Рисунок 5 - Максимально допустимый угол изгиба
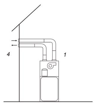
8.3.4 Измерение статического давления
Измерение статического давления должно производиться на прямой части воздуховодов на расстоянии не менее 2D от выпускного отверстия агрегата и 2D до изгиба, если таковой имеется (см. рисунок 6).

1 - датчик давления; D - диаметр
Рисунок 6 - Измерение статического давления
8.4 Акустический расчет
8.4.1 Общие положения
Для правильного расчета уровня звуковой мощности для каждой конфигурации теплового насоса могут потребоваться две коррекции:
- коррекция на влияние конца воздуховода, необходимая для расчета уровня звуковой мощности на выходе/входе агрегата на основе уровня звуковой мощности, излучаемой выходным/входным отверстием воздуховода;
- коррекция на изгиб, необходимая для учета вносимых изгибом воздуховода потерь при определении уровня звуковой мощности на выходе/входе агрегата.
8.4.2 Коррекция на влияние конца воздуховода
Коррекция на влияние конца воздуховода позволяет определить уровень звуковой мощности в воздуховоде по уровню звуковой мощности, определенному на его выходном отверстии. Значение коррекции зависит от эквивалентного диаметра воздуховода и от частоты звука в рассматриваемой полосе частот.
Скорость звука в воздухе c0, м/с, определяется формулой
, (3)
где T - температура сухого термометра на входе или выходе воздуховода.
Концевую коррекцию E, дБ, рассчитывают по формуле
, (4)
где c0 - скорость звука в воздухе, м/с;
f - среднегеометрическая частота полосы, Гц;
S - площадь выходного отверстия воздуховода, м2;
Ω - телесный угол излучения выходного отверстия.
Значения телесного угла приведены в таблице 8.
|
Расположение конца воздуховода |
Телесный угол |
|
На расстоянии от стены (свободный конец) |
4π |
|
Заподлицо со стеной |
2π |
|
В пересечении двух плоскостей (двугранный угол) |
π |
Если воздуховод оканчивается за стеной, то длина выступающей за стену части воздуховода должна быть не менее половины длины волны самой низкой частоты, чтобы можно было рассматривать такую конфигурацию как "свободный конец".
Примечание - Конфигурация "заподлицо", показанная на рисунке 2, соответствует телесному углу 2π.
Уровень звуковой мощности после коррекции соответствует уровню звуковой мощности "в воздуховоде" LWd, т.е. уровню звуковой мощности звука, распространяющемуся в воздуховоде.
Уровень звуковой мощности, измеренный в помещении, - это уровень звуковой мощности, излучаемый выпускным (впускным) отверстием воздуховода:
LPd в воздуховоде = LP в помещении + E. (5)
8.4.3 Коррекция на изгиб BC
Изгиб воздуховода имеет тенденцию отражать часть акустической энергии к источнику шума; следовательно, часть звуковой энергии за изгиб не передается.
LP без изгиба = LP с изгибом + BC. (6)
В таблице 10 приведена коррекция BC для закругленных изгибов (без направляющих пластин) с углом 90°. Коррекция зависит от частоты и диаметра воздуховода. Коррекцию применяют для каждого изгиба.
Вносимые изгибами потери для угла изгиба(ов) от 60° до 100° приведены в таблице 9.
|
fD |
BC, дБ |
|
fD <48 |
0 |
|
48 ≤ fD <96 |
1 |
|
96 ≤ fD <190 |
2 |
|
190 ≤ fD |
3 |
|
Примечание - Здесь использовано обозначение fD = f·D - произведение среднегеометрической частоты рассматриваемой полосы f, кГц, на диаметр воздуховода D, мм. | |
Примечание - Для круглых изгибов от 30° до 59° следует применять уменьшенные в два раза значения вносимых потерь.
В протоколе испытаний должны быть указаны наличие изгибов и их параметры.
9.1 Общие положения
В целях декларирования и сертификации допускается применять только точные (1-я степень точности) и технические (2-я степень точности) методы определения звуковой мощности. Метод по ГОСТ Р ИСО 3747 может применяться как технический метод, если выполняются соответствующие условия испытаний.
9.2 Методы определения звуковой мощности
Для определения звуковой мощности водонагревателей могут применяться методы испытаний, приведенные в ГОСТ Р ИСО 3741, ГОСТ Р ИСО 3743-1, ГОСТ Р ИСО 3744, ГОСТ ISO 3745 и ГОСТ Р ИСО 3747.
Вследствие нестационарного характера процессов в тепловых насосах общая продолжительность акустических измерений может изменяться от непрерывного измерения (с усреднением на интервале 1 мин) для агрегатов с VPD более 10 Вт/л до 1,5 мин для агрегатов с VPD не более 10 Вт/л.
Применение методов свободного поля (ГОСТ ISO 3745 и ГОСТ Р ИСО 3744) для непрерывных измерений уровня звукового давления требует одновременного использования нескольких микрофонов.
Для метода диффузного поля:
- если реверберационное помещение предназначено для измерений в полосах частот или при наличии тональных составляющих в спектре шума (ГОСТ Р ИСО 3741, приложение D), то непрерывное измерение возможно в соответствии со всеми требованиями стандарта и может применяться независимо от значения VPD;
- если из-за большой величины стандартного отклонения звукового давления по пространству помещения требуется перемещение устройства в другие положения и это может быть невозможно из-за воздуховодов, то применение стандартов ГОСТ Р ИСО 3741 или ГОСТ Р ИСО 3743-1 допускается при условии, что это стандартное отклонение известно и будет учтено в неопределенности измерения.
Метод на основе измерения интенсивности звука сканированием на интервале 15 мин (ГОСТ 30457.3) может применяться для агрегатов с VPD не более 10 Вт/л.
9.3 Диапазон частот
Измерения шума выполняют в диапазоне частот (100 - 10000) Гц для 1/3-октавных полос и (125 - 8000) Гц для анализа в октавных полосах.
Применение метода на основе измерения интенсивности звука технически ограничено диапазоном частот (100 - 6300) Гц.
Примечание - Как правило, полосы частот 8000 Гц и 10000 Гц не влияют на корректированный по A уровень звуковой мощности.
10.1 Протокол испытаний
10.1.1 Общие требования
Протокол испытаний должен содержать ссылку на стандарт, устанавливающий примененный метод определения звуковой мощности, а также информацию, приведенную в 10.1.2 и 10.1.3.
10.1.2 Технические характеристики агрегата
Указывают следующие характеристики:
- тип агрегата (например, воздух-вода);
- серийный номер изделия;
- наименование модели;
- габаритные размеры каждого узла;
- наименование изготовителя;
- год выпуска.
10.1.3 Условия эксплуатации, установки и внешней среды
10.1.3.1 Общие сведения
Следует привести все данные, касающиеся установки устройства (длина воздуховода, изгибы, крепления, ножки, резиновые прокладки и т.д.).
10.1.3.2 Измеренные значения и результаты
Для каждой задаваемой температуры горячей воды Thw должны быть указаны следующие сведения:
- дата измерения;
- спектр звуковой мощности в октавных полосах (обязательно) и в 1/3-октавных полосах (по необходимости) в масштабе 1/10 дБ в соответствии с диапазоном частот по 9.2;
- общий корректированный по шкале A уровень звуковой мощности (масштаб 1/10 дБ), рассчитанный по спектральным значениям;
- среднее значение двух значений Thw для устройств с VPD не более 10 Вт/л, измеренное непосредственно до и после акустических измерений;
- использованные при расчетах значения Thw для агрегатов с VPD более 10 Вт/л;
- если необходимо, метод испытаний, использованный для измерения объемного расхода воздуха, статического давления и скорости вращения вентилятора;
- значения температуры, объемного расхода воздуха, скорости вращения вентилятора, статического давления, если применимо.
Также должны быть представлены следующие результаты:
- для метода свободного поля над звукоотражающей плоскостью и метода интенсивности звука: измерительное расстояние и форма измерительной поверхности;
- при применении ГОСТ Р ИСО 3747: свидетельства, подтверждающие соответствие испытательного пространства и условий испытаний критериям технического метода измерений;
- средний корректированный по A уровень звуковой мощности L̅PA.
Результаты определения уровней звуковой мощности для кондиционеров и тепловых насосов могут быть представлены по следующей форме.
|
LWA (снаружи/внутри), дБА | |
|
Стандартные условия, температура воздуха в помещении по сухому термометру (влажному термометру) в режиме охлаждения (или обогрева) | |
|
Стандартные условия, температура наружного воздуха по сухому термометру (влажному термометру) в режиме охлаждения (или обогрева) | |
|
Одноканальный кондиционер или тепловой насос |
LWdo/LWi |
|
Двухканальный кондиционер или тепловой насос |
LWdo/LWi |
|
Кондиционеры, кроме одноканальных и двухканальных (снаружи/внутри) | |
|
- без воздуховодов/без воздуховодов |
LWdo/LWi |
|
- с воздуховодами/без воздуховодов |
LWdo/LWi |
|
- с воздуховодами/без воздуховодов |
LWdo/LWi |
|
- с воздуховодами/с воздуховодами |
LWdo/LWi |
10.2 Лабораторный журнал
В лабораторном журнале должны быть представлены следующие данные.
Для метода реверберационного поля:
- положение неподвижных микрофонов или решетки микрофонов и траектория перемещения подвижных микрофонов (при необходимости можно приложить эскиз);
- неопределенность измерения в случае отклонения от требований.
Для метода интенсивности звука: таблица критериев (см. ГОСТ 30457).
Приложение А
(справочное)
Типичные конфигурации водонагревателей изображены на рисунках А.1 - А.12 с указанием соответствующих источников шума, обозначенных позициями 1 - 8.

2 - шум, излучаемый корпусом агрегата, его входным и выходным отверстиями
Рисунок А.1 - Источник тепла – воздух неотапливаемого помещения

2 - шум, излучаемый корпусом агрегата, его входным и выходным отверстиями
Рисунок А.2 - Источник тепла – воздух отапливаемого помещения

1 - шум, излучаемый корпусом агрегата
Рисунок А.3 - Источник тепла - грунт

2 - шум, излучаемый корпусом агрегата, его входным и выходным отверстиями
Рисунок А.4 - Источник тепла - наружный воздух

3 - шум, излучаемый корпусом агрегата и его входным отверстием; 5 - шум, излучаемый выходным отверстием воздуховода
Рисунок А.5 - Источник тепла - наружный воздух, канальный выход

1 - шум, излучаемый корпусом агрегата; 4 - шум, излучаемый входным и выходным отверстиями воздуховодов
Рисунок А.6 - Источник тепла - наружный воздух, канальные вход и выход

1 - шум, излучаемый корпусом агрегата; 5 - шум, излучаемый выходным отверстием воздуховода; 6 - шум, излучаемый входом агрегата
Рисунок А.7 - Всасываемый воздух со встроенным вентилятором

1 - шум, излучаемый корпусом агрегата; 6 - шум, излучаемый входом агрегата; 7 - шум, излучаемый выходом агрегата
Рисунок А.8 - Всасываемый воздух без вентилятора

2 - шум, излучаемый корпусом агрегата, его входным и выходным отверстиями; 8 - шум, не подлежащий измерению
Рисунок А.9 - Сплит-система наружного воздуха

2 - шум, излучаемый корпусом агрегата, его входным и выходным отверстиями; 8 - шум, не подлежащий измерению
Рисунок А.10 - Сплит-система наружного воздуха

1 - шум, излучаемый корпусом агрегата; 2 - шум, излучаемый корпусом агрегата, его входным и выходным отверстиями
Рисунок А.11 - Сплит-система наружного воздуха

1 - шум, излучаемый корпусом агрегата; 8 - шум, не подлежащий измерению
Рисунок А.12 - Теплообменная панель
Приложение Б
(обязательное)
Водонагреватели с прямым теплообменом между холодной водопроводной водой и хладагентом (например, некоторые водонагреватели, использующие CO2) должны быть испытаны в соответствии с нижеописанной процедурой.
1) Заполняют резервуар водой с температурой (10 ± 2) °C (Tstart).
2) Непрерывно определяют уровень звуковой мощности в течение всего испытания с последовательными измерениями в течение 3-минутных периодов усреднения.
3) После остановки агрегата измеряют температуру воды на выходе Two (как в 5.5).
4) Уровень звуковой мощности, усредненный на относительной продолжительности испытания, рассчитанной по формуле (Б.1), принимают за декларируемый уровень звуковой мощности
, (Б.1)
где DH - общая продолжительность нагрева (от начальной температуры воды до заданной температуры).
Об измерениях при наличии циклов размораживания см. 5.8.
Приложение В
(обязательное)
Для соответствия требованиям экологического дизайна и маркировки энергоэффективности определение уровней звуковой мощности должно проводиться при следующих значениях задаваемой температуры горячей воды Thw, °C:
- 25;
- (Tset + 25)/2;
- (Tset - 5).
За декларируемый уровень звуковой мощности устройства принимают среднее арифметическое значение уровней звуковой мощности при указанных значениях температуры Thw.
Для других целей может быть выбрана любая другая задаваемая температура воды Thw.
Приложение Г
(справочное)
При испытаниях основные параметры имели следующие значения:
- время начала работы водонагревателя - 11:00;
- измерения Two выполнялись на интервалах времени от tMPmin = 7 мин до tMPmax = 10 мин;
- задаваемая температура горячей воды Thw составляла 45 °C.
Результаты измерений и расчетов представлены в таблице Г.1, а некоторые данные - на рисунке Г.1.
|
Номер измерения |
Two, °C |
Время начала работы, час:мин |
tTHw, час:мин |
Время до достижения Thw, мин |
Критерий (время между tMPmin и 2tMPmin) |
|
1 |
21,0 |
11:02 |
- |
- |
- |
|
2 |
26,1 |
11:10 |
11:40 |
30 |
Не выполнен |
|
3 |
30,6 |
11:18 |
11:43 |
25 |
Не выполнен |
|
4 |
35,8 |
11:28 |
11:45 |
17 |
Не выполнен |
|
5 |
40,3 |
11:37 |
11:46 |
9 |
Выполнен |
|
6 |
47,7 |
11:56 |
- |
- |
- |

Рисунок Г.1 - Изменение температуры Two при измерениях шума
Можно рассчитать tTHw методом линейной регрессии (в координатах время - Two) из измерений 2 и 1 (в данном примере 11:40). После каждых двух измерений это теоретическое время уточняется.
Измерение 5 показывает, что оставшееся время для достижения tTHw составляет 9 мин. Критерий выполнен; оставшееся время составляет от tMPmin до 2tMPmin.
Следующее измерение Two выполнять не следует, так как при этом оно может оказаться близко к tTHw и Two во время акустических измерений слишком приблизится к Thw.
Акустическое измерение начинается сразу после измерения 5.
Последние два измерения выполнены в 11:56, то есть через 7 - 10 минут после последнего tTHw (в данном примере 11:46).
Согласно графику зависимости Two от времени измерения после и до Thw, tTHw рассчитывается методом линейной регрессии между измерениями 5 и 6, как показано в таблице Г.2.
|
Характеристика |
Начало акустического измерения |
Конец акустического измерения |
|
Номер измерения температуры |
5 |
6 |
|
Время |
11:37 |
11:56 |
|
Полученное значение Two, °C |
40.3 |
47.7 |
|
Расчетное время для Thw = 45 °C |
11:49 | |

Библиография
|
[1] |
EH 16147:2017, Heat pumps with electrically driven compressors - Testing, performance rating and requirements for marking of domestic hot water units (Тепловые насосы с электроприводными компрессорами. Испытания, оценка производительности и требования к маркировке агрегатов горячего водоснабжения) |


