ГОСТ Р 58744.1-2019 ВНУТРЕННИЙ ВОДНЫЙ ТРАНСПОРТ. ОБЪЕКТЫ ИНФРАСТРУКТУРЫ. НАБЕРЕЖНЫЕ, ПОДПОРНЫЕ СТЕНЫ ТОНКОСТЕННЫЕ (ШПУНТОВЫЕ). ОСНОВНЫЕ ТРЕБОВАНИЯ К РАСЧЕТУ И ПРОЕКТИРОВАНИЮ
Inland water transport. Infrastructure objects. Thin-walled embankments, retaining walls (sheet piling). Basic requirements for calculation and design
ОКС 47 060
Т 032
Дата введения - 1 июля 2020 г.
Введен впервые
Предисловие
1 Разработан Некоммерческим партнерством "Ассоциация профессиональных гидротехников "Гипроречтранс" (НП "Ассоциация "Гипроречтранс")
2 Внесен Техническим комитетом по стандартизации ТК 032 "Водный транспорт"
3 Утвержден и введен в действие Приказом Федерального агентства по техническому регулированию и метрологии от 10 декабря 2019 г. N 1371-ст
4 Введен впервые
Введение
Применение настоящего стандарта обеспечивает выполнение требований технических регламентов [1] и [2].
1.1 Настоящий стандарт устанавливает основные требования к расчетам и проектированию тонкостенных (шпунтовых) набережных и подпорных стен объектов инфраструктуры внутреннего водного транспорта, а также к исходным данным при расчете и проектировании новых и реконструируемых объектов инфраструктуры.
Положения настоящего стандарта могут быть использованы при расчете и проектировании объектов, не относящихся к инфраструктуре внутреннего водного транспорта.
1.2 Детальные требования к конструкциям, расчетам, исходным данным для них и компьютерным программам излагаются в соответствующих национальных и отраслевых стандартах и сводах правил, а также в инструкциях по применению приборов и инструментов для инженерных изысканий и к программному обеспечению расчетов.
1.3 Настоящий стандарт распространяется на следующие объекты:
- причальные и другие набережные;
- подпорные стены, в том числе стены камер шлюзов;
- берегоукрепительные сооружения.
Положения настоящего стандарта могут быть использованы при проектировании других объектов.
1.4 Настоящий стандарт предназначен к применению на территории Российской Федерации юридическими лицами (индивидуальными предпринимателями) независимо от форм собственности и подчиненности.
В настоящем стандарте использованы нормативные ссылки на следующие документы:
ГОСТ 8486 Пиломатериалы хвойных пород. Технические условия
ГОСТ 9463 Лесоматериалы круглые хвойных пород. Технические условия
ГОСТ 26633 Бетоны тяжелые и мелкозернистые. Технические условия
ГОСТ 32960 Дороги автомобильные общего пользования. Нормативные нагрузки, расчетные схемы нагружения
ГОСТ Р 55561 Внутренний водный транспорт. Портовые гидротехнические сооружения. Требования безопасности
СП 14.13330.2014 "СНиП II-7-81 * Строительство в сейсмических районах"
СП 16.13330.2011 "СНиП II-23-81 * Стальные конструкции"
СП 20.13330.2011 "СНиП 2.01.07-85 * Нагрузки и воздействия"
СП 22.13330.2011 "СНиП 2.02.01-83 Основания зданий и сооружений"
СП 23.13330.2011 "СНиП 2.02.02-85 Основания гидротехнических сооружений"
СП 28.13330.2012 "СНиП 2.03.11-85 Защита строительных конструкций от коррозии"
СП 38.13330.2012 "СНиП 2.06.04-82 * Нагрузки и воздействия на гидротехнические сооружения (волновые, ледовые и от судов)"
СП 41.13330.2012 "СНиП 2.06.08-87 Бетонные и железобетонные конструкции гидротехнических сооружений"
СП 47.13330.2012 "СНиП 11-02-96 Инженерные изыскания для строительства. Основные положения"
СП 58.13330.2012 "СНиП 33-01-2003 Гидротехнические сооружения. Основные положения"
СП 63.13330.2012 "СНиП 52-01-2003 Бетонные и железобетонные конструкции. Основные положения"
СП 64.13330.2011 "СНиП II-25-80 Деревянные конструкции"
СП 100.13330.2016 "СНиП 2.06.03-85 Мелиоративные системы и сооружения"
СП 101.13330.2012 "СНиП 2.06.07-87 Подпорные стены, судоходные шлюзы, рыбопропускные и рыбозащитные сооружения"
СП 103.13330.2012 "СНиП 2.06.14-85 Защита горных выработок от подземных и поверхностных вод"
СП 116.13330.2012 "СНиП 22-02-2003 Инженерная защита территорий, зданий и сооружений от опасных геологических процессов. Основные положения"
Примечание - При пользовании настоящим стандартом целесообразно проверить действие ссылочных стандартов и сводов правил в информационной системе общего пользования - на официальном сайте Федерального агентства по техническому регулированию и метрологии в сети Интернет или по ежегодному информационному указателю "Национальные стандарты", который опубликован по состоянию на 1 января текущего года, и по выпускам ежемесячного информационного указателя "Национальные стандарты" за текущий год. Если заменен ссылочный документ, на который дана недатированная ссылка, то рекомендуется использовать действующую версию этого документа с учетом всех внесенных в данную версию изменений. Если заменен ссылочный документ, на который дана датированная ссылка, то рекомендуется использовать версию этого документа с указанным выше годом утверждения (принятия). Если после утверждения настоящего стандарта в ссылочный документ, на который дана датируемая ссылка, внесено изменение, затрагивающее положения, на которые дана ссылка, то это положение рекомендуется применять без учета данного изменения. Если ссылочный документ отменен без замены, то положение, в котором дана ссылка на него, рекомендуется применять в части, не затрагивающей эту ссылку.
В настоящем стандарте применены следующие термины с соответствующими определениями:
3.1 анкер грунтовый: Анкерное устройство, передающее усилия исключительно на грунтовое основание конструкциями, взаимодействующими с грунтом.
Примечание - Анкер грунтовый состоит, как правило, из трех частей: оголовка, свободной части и корня.
3.2 анкерное устройство: Конструктивный элемент сооружения, воспринимающий преимущественно растягивающие усилия.
3.3 барражный эффект: Подъем уровня подземных вод перед преградой фильтрационному потоку и снижение уровня за ней.
3.4 набережная: Гидротехническое сооружение, отделяющее акваторию от территории.
3.5 набережная причальная: Набережная, предназначенная для причаливания и отстоя судов.
3.6 набережные и подпорные стены типа "стена в грунте": Преимущественно тонкостенные железобетонные конструкции, при возведении которых предварительно отрываются безоткосные траншеи или устраиваются буровые скважины, стенки которых временно удерживаются с помощью залитого в траншеи, как правило, глинистого раствора.
3.7 набережные и подпорные стены тонкостенные: Конструкции набережных и подпорных стен, устойчивость которых обеспечивается преимущественно реактивным (пассивным) давлением грунта на заглубленную в грунтовое основание часть конструкции и анкерной опорой.
3.8 набережные и подпорные стены шпунтовые: Набережные и подпорные стены тонкостенные, выполненные из шпунтовых свай.
3.9 подпорная стена: Конструкция, удерживающая от обрушения находящийся за ней массив грунта.
3.10 разгрузочное устройство: Конструктивный элемент, предназначенный для уменьшения или перераспределения усилий в набережных и подпорных стенах.
4.1 Проектирование тонкостенных (шпунтовых) набережных и подпорных стен регламентируется ГОСТ 32960, ГОСТ Р 55561, СП 14.13330.2014, СП 16.13330.2011, СП 20.13330.2011, СП 22.13330.2011, СП 23.13330.2011, СП 28.13330.2012, СП 38.13330.2012, СП 41.13330.2012, СП 47.13330.2012, СП 58.13330.2012, СП 63.13330.2012, СП 64.13330.2011, СП 100.13330.2016, СП 101.13330.2012, СП 103.13330.2012, СП 116.13330.2012.
Примечания
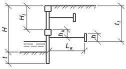
1 Основные условия применения и характерные размеры наиболее распространенных шпунтовых набережных и подпорных стен приведены в таблице 1.
2 В настоящее время для шпунтовых стен используются разные типы металлических и пластиковых шпунтовых свай, причем в различных сочетаниях, как показано на рисунке 1, что позволяет возводить рациональные конструкции без использования осложняющих производство работ разгружающих устройств.
4.2 Класс сооружений следует определять по [3].
Примечание - Согласно этому документу основные гидротехнические сооружения речных портов 1-й, 2-й и 3-й категорий следует относить к классу III, а остальные сооружения - к классу IV. Но если набережная или подпорная стена входят в состав другого сооружения, то их класс должен быть не ниже, чем для основного сооружения. Заказчик проекта вправе своим решением повысить класс сооружения по сравнению с классами, указанными в [3].
|
N п/п |
Название и схема конструкции |
Характерные размеры |
Условия строительства и эксплуатации | |
|
1 |
Шпунтовая безанкерная, в том числе из сварного шпунта, трубошпунта, буронабивных и буросекущих свай и др.
|
Н ≤ 10 м t = (0,8 ÷ 2) H |
Без ограничений | |
|
2 |
Шпунтовая одноанкерная из различных материалов с анкеровкой за плиты, стены, сваи и пр.
|
4 ≤ Н ≤ 11 м hk = (0,15 ÷ 0,35) H t = (0,4 ÷ 0,8) H t1 = (0,4 ÷ 0,5) H h = (0,25 ÷ 0,5) t1 La = (1 ÷ 2) Н |
Строительные уровни воды ниже узлов крепления анкерных тяг | |
|
3 |
Шпунтовая одноанкерная с надстройкой
|
11 ≤ Н ≤ 15 м Н1 = 3 ÷ 6 м hk ≤ 0,15 Н1 t = (0,4 ÷ 0,6) Н t1 = (0,5 ÷ 0,7) Н h = (0,25 ÷ 0,4) t1 La = (1 ÷ 2) Н |
Строительные уровни воды ниже узлов крепления анкерных тяг | |
|
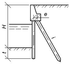
4 |
Шпунтовая из различных материалов, заанкеренная наклонными сваями
|
Н ≤ 10 м hk ≤ 0,3 Н t = (0,6 ÷ 0,9) Н е = 0,6 ÷ 0,8 м i = (1:0,3) ÷ (1:0,4) |
Преимущественно при береговой полосе, затрудняющей установку других анкерных опор | |
|
5 |
В виде стен из буронабивных и буросекущих свай или "стен в грунте"
|
Н - любая |
В стесненных условиях и с минимальным шумовым и ударным воздействием на окружающую среду | |
|
Примечание - Особенности расчета и проектирования тонкостенных набережных и подпорных стен рассмотрены в соответствующих нормативных документах. | ||||

а) Стена, состоящая из корытных шпунтовых свай (типа Ларсен и др.), Z-образного шпунта, трубошпунта; б) Стена, состоящая из модулей, включающих одну двутавровую и две Z-образные или одну корытную шпунтовые сваи; в) Стена, состоящая из модулей, включающих две двутавровые и две Z-образные или одну корытную шпунтовые сваи; г) Стена, состоящая из модулей, включающих трубошпунт и две или три корытные шпунтовые сваи; д) Стена, состоящая из модулей, включающих коробчатый элемент и пять корытных шпунтовых свай.
1 - Z-образная шпунтовая свая; 2 - двутавровая шпунтовая свая; 3 - шпунтовая свая корытного профиля; 4 - трубошпунт
Рисунок 1 - Примеры использования различных типов шпунтовых свай
4.3 При проектировании набережных и подпорных стен необходимо учитывать требования к конструкциям в соответствии с ГОСТ Р 55561-2013, в частности предусматривать:
деформационные швы (температурные и температурно-осадочные),
дренажные устройства (при необходимости снижения уровня воды за сооружением);
шапочную балку (брус), соединяющую по верху лицевые элементы набережной или подпорной стены;
швартовные устройства для причаливания судов;
защиту от выноса грунта засыпки;
защиту лицевых поверхностей от навала и истирающего действия льда, судов и др.;
защиту дна перед сооружением от размыва его течением и движителями судов;
защиту элементов конструкции от коррозии;
мероприятия, обеспечивающие соблюдение требований безопасности при эксплуатации сооружения.
4.4 Шапочная балка должна надежно соединяться с лицевыми элементами конструкции и распределять сосредоточенные нагрузки между ними (например, для причальных набережных - от судов). Шапочную балку в зависимости от конструкции сооружения следует выполнять из монолитного или сборного железобетона, а также из металла.
Железобетонная шапочная балка обычно имеет высоту и ширину не менее 0,7 м. На причальных набережных в местах установки швартовных тумб делают уширение не менее чем до 1 м.
4.5 Лицевые элементы тонкостенных (шпунтовых) набережных и подпорных стен, как правило, следует анкеровать в пределах верхних 1/3 высоты, а железобетонные шпунты прямоугольного сечения - за верх.
Примечание - Размещение точки анкеровки ниже строительного уровня воды осложняет возведение набережной. При высоте наданкерной части шпунта больше 3-4 м чрезмерно возрастает требуемое сечение и армирование шпунта, а также сечение анкерной тяги. Но иногда, особенно при небольшой высоте набережной, необходимо увеличение высоты наданкерной части свыше 1/3 высоты набережной, чтобы уменьшить глубину погружения шпунта.
4.6 При необходимости уменьшения усилий в лицевых элементах и анкерных устройствах подпорных стен и набережных рекомендуется рассмотреть целесообразность использования:
разгружающих каменных призм;
разгрузочных плит, связанных с лицевым элементом;
разгрузочных плит, устанавливаемых на свайном основании;
анкеровки на двух и более уровнях через промежуточные элементы типа серьги;
дополнительной анкеровки верха стены, например за покрытие территории, свайное основание крановых путей, старые сооружения и пр.;
армирования грунта плоскими элементами (лентами из стеклопластика, металла и др.), соединенными с лицевыми элементами стены;
силикатизации, цементации или другого химического закрепления грунта;
свайных рядов и полей, в том числе из буровых и буронабивных свай;
анкеровки стены после ее возведения при помощи горизонтальных или наклонных буровых анкеров с преднапряженными тягами;
искусственной мерзлоты в засыпке
и других.
4.7 При установке анкерных тяг в тонкостенных (шпунтовых) набережных рекомендуется их укладывать со строительным подъемом.
Для металлических анкерных тяг круглого сечения величина строительного подъема принимается не более 0,01 L (где L - длина тяги). При этом рекомендуется давать анкерным тягам предварительное натяжение до 30 кН (3 тс).
При создании строительного подъема анкерных тяг с помощью специально устанавливаемых под тягами свай необходимо, чтобы сваи забивались после засыпки грунта под тягами на глубину не более 2 м.
Для создания строительного подъема не допускается крепить тяги к не смещаемым по вертикали опорам, так как в противном случае из-за возникновения в тягах изгибающих моментов условия их работы могут оказаться более тяжелыми, чем вообще без строительного подъема.
4.8 Применение подмыва для облегчения погружения свай допускается на участках, удаленных не менее чем на 20 м от существующих зданий и сооружений, и не менее удвоенной глубины погружения свай.
4.9 При применении для погружения шпунта молотов или вибропогружателей вблизи существующих зданий и сооружений необходимо оценить опасность для них динамических воздействий, исходя из влияния колебаний на деформации грунтов оснований, технологические приборы, оборудование и людей, по санитарным нормам а также по допустимому уровню колебаний.
4.10 Устройство "стены в грунте" возможно в дисперсных грунтах всех видов, не содержащих крупных включений (валунов). Инженерно-геологическое строение площадки должно быть изучено на глубину не менее 10 м ниже подошвы стены. Материалы изысканий должны содержать данные об уровнях и режимах подземных вод, степени их агрессивности и отметках заложения водоупора.
4.11 "Стена в грунте" может быть устроена траншейным или свайным способом.
Траншейный способ предусматривает разработку траншей и возведение в них стен под защитой глинистого раствора, удерживающего стены траншеи от обрушения. Заполнить траншеи можно монолитным бетоном (железобетоном) или сборными железобетонными конструкциями.
При свайном способе "стену в грунте" возводят из секущихся буронабивных свай, устраиваемых с помощью буровых установок, оборудованных инвентарными обсадными трубами. При этом опережающие сваи выполняют из монолитного бетона, а пересекающие - из железобетона.
4.12 При проектировании необходимо учитывать возможность неблагоприятного воздействия строительства на окружающую среду вследствие барражного эффекта при устройстве протяженных сооружений, заключающегося в повышении уровня грунтовых вод; динамических и вибрационных воздействий и пр.
4.13 В шпунтовых и других тонкостенных сборных конструкциях межсекционные швы устраивают только в омоноличивающих элементах: шапочной балке, распределительном поясе и т.п. При этом они должны располагаться над вертикальным неомоноличенным стыком между сборными элементами.
4.14 Все элементы набережной и подпорной стены, включая закладные детали, как правило, должны иметь антикоррозийное покрытие.
При неагрессивной водной среде допускается не наносить антикоррозийное покрытие на лицевые поверхности железобетонных элементов.
При наличии агрессивной среды выбор вида антикоррозийного покрытия в зависимости от условий эксплуатации следует проводить по СП 28.13330.2012.
4.15 Обратную засыпку за стенами со стороны тыловой грани следует, как правило, выполнять из несвязных грунтов.
Примечания
1 Несвязные грунты (песок, гравий, галька и др.) обеспечивают хороший отвод поверхностных и фильтрационных вод, быстро протекающую деформацию засыпки и наименьшую ее осадку, а также исключающую в ней морозное пучение.
2 Рекомендуется применять песчаные и крупнообломочные грунты с содержанием не более 7 % фракций до 0,1 мм и не более 5 % по массе органических и растворимых включений.
4.16 Песчаные грунты засыпки, а также песчано-гравийные смеси должны иметь коэффициент уплотнения RD не менее 0,95.
Примечания
1 Допускается плотность грунта засыпок задавать коэффициентом пористости, величина которого вычисляется по формуле
e=γs/(RDγd max)-1,
(1)
где γs - удельный вес частиц грунта.
2 Следует учитывать, что при недостаточном уплотнении засыпки самоуплотнение песчаных грунтов происходит за 0,5-2 года, глинистых - за 2-5 лет. При отсутствии уплотнения - соответственно за 2-5 и 5-15 лет. Самоуплотнение грунта наиболее интенсивно проходит в период паводка и может приводить к осадкам поверхности насыпи из расчета нескольких сантиметров на один метр ее толщины. Даже для хорошо уплотненного грунта можно ожидать осадки за счет самоуплотнения не менее 1 см на 1 м.
4.17 При использовании в засыпке грунтов разных типов, как правило:
не допускается применять в одном слое грунты разных типов;
поверхность слоев из менее дренирующих грунтов, располагаемых под слоями из более дренирующих грунтов, должна иметь уклон в пределах 0,04-0,1 в сторону дренажа.
4.18 Применение грунтов с концентрацией растворимых солей в поровой влаге свыше 10 % не допускается для засыпки на расстоянии менее 10 м от существующих или проектируемых неизолированных металлических или железобетонных конструкций.
4.19 Улучшение строительных свойств грунтов засыпок может быть выполнено путем:
уплотнения грунтов временной нагрузкой, катками, вибрационными машинами,
закрепления грунтов инъекционным способом (смолизация, силикатизация),
армированием грунта материалами, хорошо работающими на растяжение (металлические сетки, железобетонные решетки, структуры из стеклянных или полимерных волокон, геосинтетических материалов и др.).
Примечание - Силикатизацию и смолизацию применяют в песках с коэффициентом фильтрации 0,5 ≤ k ≤ 80 м/сут.
4.20 Анкерные опоры, на которые передаются анкерные усилия, рекомендуется, как правило, выполнять из вертикальных железобетонных плит, шпунтовых стен и рядов свай. Расчет анкерных опор приведен в [4] и других нормативных документах.
4.21 Узлы крепления анкерных тяг, как правило, следует выполнять шарнирными. Конструкция шарнирного соединения должна исключать возможность защемления анкерной тяги в узле.
4.22 Жесткие анкерные устройства, как правило, рекомендуется соединять с лицевым элементом стены с возможностью взаимного вертикального смещения.
4.23 Для уменьшения неравномерностей натяжения анкерных тяг и устранения возможных перегрузок отдельных элементов набережной или подпорной стены рекомендуется предусматривать предварительное напряжение анкеров (выбор слабины) при помощи соединительных муфт - талрепов или концевых гаек до того, как будет полностью засыпана пазуха набережной.
Для этой цели рекомендуется использовать специальные мероприятия (компенсаторы: пружинные, срезные и пр.).
4.24 Инъекционные грунтовые анкеры устраивают в любых грунтах, за исключением слабых глинистых, просадочных, набухающих, органо-минеральных и органических.
Примечание - Инъекционные грунтовые анкера состоят из трех частей:
- зоны заделки в виде цементной пробки, передающей усилие натяжения на окружающий грунт;
- анкерной тяги из высокопрочной арматурной стали;
- натяжной головки.
4.25 Отверстия для крепления анкерной тяги и распределительного пояса следует предусматривать только в шпунтинах, обращенных выпуклой стороной в сторону засыпки.
Отверстия в шпунте должны иметь круглую или овальную форму. Овальные отверстия следует располагать таким образом, чтобы их наибольший размер был направлен вдоль шпунта.
4.26 Наращивание металлических шпунтовых свай следует проводить путем сварки "встык" с полным проваром корня шва и усилением стыка с помощью двухсторонних накладок ромбической формы с незаверенными углами. Ширина накладок должна незначительно отличаться от ширины соединяемых элементов. При этом сварные швы не доводят до стыка на 25 мм с каждой стороны.
По длине шпунтовых свай, как правило, допускается не более одного стыка. Отметки сварных стыков на соседних шпунтинах должны отличаться не менее чем на 1 м. Как правило, стыки должны располагаться вне зоны максимальных изгибающих моментов.
4.27 При устройстве заглубленных в водоносный слой и протяженных подземных сооружений возможен барражный эффект, в результате которого поднимается уровень подземных вод с верховой стороны и снижается с низовой стороны. Как правило, следует предусматривать мероприятия по устранению неблагоприятных последствий барражного эффекта (дренаж и др.).
4.28 При наличии в засыпке фильтрационных вод следует рассматривать целесообразность устройства дренажа, обеспечивающего понижение уровня грунтовой воды и снижение давления на тыловую грань сооружения. Как правило, дренаж не устраивается в песчаных грунтах при суточных колебаниях воды менее 1 м и в других случаях, когда расчетный напор фильтрующей воды Hd менее 1 м.
При проектировании дренажа следует учитывать требования СП 103.13330.2012.
4.29 Конструкция дренажных устройств должна обеспечивать их нормальную работу в любое время года.
Выпуски грунтовых вод из дренажа набережных должны быть ниже минимального зимнего уровня воды в акватории не менее чем на толщину льда.
4.30 В теле подпорной стены необходимо устраивать окна или трубки для пропуска воды из дренажа; окна или трубки рекомендуется предусматривать через 2-5 м; диаметр трубок следует назначать не менее 40 мм.
4.31 Дренаж следует закладывать ниже расчетной глубины промерзания грунта.
4.32 Защита от выноса грунта засыпки заключается в обеспечении грунтонепроницаемости стыков между лицевыми элементами и секциями, в предотвращении суффозии грунта засыпки через каменную или щебеночную постель и крепление откосов открылка.
Грунтонепроницаемость стыков необходимо обеспечивать по всей высоте набережной с заглублением ниже проектного дна не менее 1,5 м.
При расположении набережной на участках, где возможен размыв дна более 1 м, нижняя граница перекрытия швов определяется расчетом.
4.33 Следует, как правило, предусматривать защиту дна перед набережной от размыва его течением, а для причальных набережных - и движителями судов на ширине не менее половины ширины расчетного судна.
Желательно защитить от размыва призму выпора грунта перед набережной, определенную при расчете общей устойчивости.
При расположении набережной на подмываемом берегу реки необходимо составлять специальный проект защиты берега и дна перед сооружением.
При этом необходимая ширина зоны и материал крепления определяются на основании лабораторных исследований или приближенно, исходя из допускаемых неразмывающих средних по глубине потока скоростей воды. Значения допускаемых скоростей воды приведены в СП 100.13330.2016.
4.34 Для защиты дна применяют каменную наброску, матрацы Рено, тюфяки из железобетонных плит и пр.
4.35 Каменная наброска должна быть толщиной не менее 40 см и уложена на подготовку из разнозернистого гравия или щебня. Толщину подготовки следует принимать не менее 30 см при отсыпке в воду и 20 см при отсыпке насухо.
Перед причальными набережными из заанкерованного шпунта, расположенными в ковше, защиту дна допускается не выполнять, если:
- запас на заносимость при определении глубины у причала принят не менее 0,5 м;
- шпунты погружены на глубину не менее 5 м.
4.36 Для возведения набережных и подпорных стен используется бетон, удовлетворяющий требованиям ГОСТ 26633, СП 41.13330.2012, СП 63.13330.2012.
4.37 При проектировании сооружений из бетона, монолитного и сборного железобетона следует учитывать конструктивные требования СП 41.13330.2012, СП 63.13330.2012.
4.38 При проектировании подпорных стен и набережных с применением деревянных конструкций необходимо учитывать требования ГОСТ 9463, ГОСТ 8486, СП 64.13330.2011.
Шпунтовые конструкции из пиломатериалов могут быть как из досок, так и из брусьев с плоской кромкой или кромкой, обработанной в "паз и гребень".
4.39 Элементы деревянных конструкций должны быть антисептированы.
4.40 Для деревянных конструкций подпорных стен и набережных следует применять древесину сосны и кедра, ели, лиственницы и пихты, удовлетворяющую требованиям ГОСТ 9463, ГОСТ 8486, СП 64.13330.2011. Для изготовления ответственных мелких деталей (шпонки, нагели и др.) используется также дуб, являющийся высокоустойчивой породой.
Для стальных элементов деревянных конструкций применяют полосовую, фасонную, листовую и арматурные стали.
5.1 Для проектирования тонкостенных (шпунтовых) набережных и подпорных стен необходимо иметь следующие исходные данные:
1) архитектурно-планировочное задание,
2) топографо-геодезические материалы (как правило, в масштабе 1:500 или крупнее с расположением пересекаемых или находящихся рядом инженерных сетей и коммуникаций, зданий и сооружений и др., для рек и водоемов - с указанием знаков судоходной обстановки);
3) инженерно-геологическую характеристику участка строительства:
- геолого-литологические поперечные и продольные разрезы, позволяющие представить объемную картину напластований грунтов, включая ослабленные зоны;
- физико-механические характеристики грунтов основания и грунтов засыпки пазух;
- теплотехнические характеристики грунтов основания и засыпки пазух (при строительстве в особо суровых природно-климатических условиях или вблизи теплотрасс);
- показатели агрессивности грунтовых вод и воды в акватории по отношению к строительным материалам;
- сведения о наличии блуждающих токов;
- гидрогеологические условия;
- сведения о деформации русла или заносимости берегов и дна реки;
- сведения о склоновых процессах и пр.;
4) инженерно-гидрометеорологическую характеристику участка строительства;
- отметки расчетных уровней воды в зимний и навигационный периоды, во время ледостава, ледохода и половодья и продолжительность их стояния;
- сведения о ледовых условиях (толщина льда, размеры, скорость и направление движения льдин или ледовых полей, прочность льда или температура льда и период его воздействия и др.);
- ветроволновой режим (скорости, направления, продолжительность непрерывного действия, размеры охваченной ветром акватории, высота ветрового нагона и др.);
5) параметры сейсмичности района;
6) сведения о постоянных и временных нагрузках;
7) расположение и характеристика искусственных сооружений (подпорных стен, свайных полей, труб, зданий, траншей, дорог и др.);
8) описание процессов, влияющих на изменение рельефа (абразии, эрозии, суффозии), в том числе техногенных;
9) данные о других факторах, ухудшающих общую устойчивость (наличие и расположение водоемов и болот на высоких отметках, положение и состояние нагорных канав и других дренажных устройств, параметры и расположение вибрационных установок, источников химического и теплового загрязнения среды и др.);
10) данные о местных строительных материалах, возможностях строительных организацией, энергетических ресурсах и т.д.;
11) характеристики технологического и подъемного оборудования, транспортных средств и складируемых грузов, размещаемых на территории сооружения, характеристики расчетных судов, швартующихся к набережной;
12) технические условия, регламентирующие проведение тех или иных строительных работ вблизи действующих коммуникаций, существующих зданий и сооружений и др.;
13) требования к безопасности сооружения (класс сооружения и др.).
5.2 Исходные данные определяются в соответствии с требованиями соответствующих нормативных документов, заданием на проектирование и техническими условиями заказчика и организаций, чьи интересы затрагивает новое строительство.
Инженерные изыскания, на основании которых формируются исходные данные для расчетов, как правило, должны им непосредственно предшествовать, их давность не должна превышать одного года, что не исключает частичного использования более старых данных при условии их соответствующей проверки (актуализации).
5.3 Расчеты сооружений должны проводиться по двум группам предельных состояний.
5.4 По первой группе предельных состояний выполняют расчеты:
- общей устойчивости сооружения;
- прочности элементов конструкций и узлов соединения;
- несущей способности анкерных элементов по материалу и грунту;
- деформаций анкерных опор заанкерованных шпунтовых и подобных стен;
- фильтрационной устойчивости основания.
Для сооружений, устраиваемых способом "стена в грунте", следует выполнять расчет устойчивости стенок траншеи, заполненной тиксотропным раствором.
5.5 По второй группе предельных состояний выполняют расчеты:
- системы "основание-сооружение" по деформациям;
- деформаций сооружения и отдельных его элементов;
- расчеты железобетонных элементов по образованию или раскрытию трещин.
5.6 Расчеты сооружений должны проводиться для эксплуатационного и строительного периодов.
В эксплуатационном периоде должны рассматриваться основные и особые сочетания нагрузок и воздействий. К особым сочетаниям могут быть отнесены сейсмические и другие редкие нагрузки и воздействия, аварийное обводнение массива грунта, возможное снижение прочности грунта со временем.
Для строительного периода необходимо выполнять расчеты конструкций или отдельных элементов для условий изготовления, хранения, погрузки, разгрузки и транспортирования.
Как правило, следует выбирать такие методы и последовательность производства работ, которые не вызывают увеличения размеров сооружения и его элементов на основании расчетов строительного периода.
При необходимости расчеты проводят и для ремонтного периода.
5.7 Расчеты устойчивости сооружений должны включать:
- расчет общей устойчивости сооружения;
- расчеты устойчивости отдельных элементов сооружения (участков склона, шпунта, анкерных опор, надстройки и др.).
5.8 Расчеты прочности следует производить в соответствии с требованиями СП 16.13330.2011, СП 41.13330.2012, СП 63.13330.2012, СП 64.13330.2011 и других нормативных документов.
Усилия, возникающие в элементах сооружения, узлах креплений и соединений и учитываемые в расчете прочности, должны определяться с учетом совместной работы конструкции, грунта засыпки и основания согласно указаниям по расчету отдельных видов сооружений.
5.9 Усилия в шапочной балке и в сборных железобетонных лицевых элементах шпунтовых набережных и тому подобных от навала судна при подходе его к сооружению, а также от воздействия льда допускается определять по указаниям [4] и других нормативных документов.
5.10 В расчетах сооружений следует максимально использовать программы, прошедшие тщательную проверку.
В ответственных случаях целесообразно один и тот же расчет выполнить с помощью программ разного происхождения и выполнить упрощенный прикидочный расчет без использования программ с целью исключения грубых ошибок.
Программы должны быть адаптированы к отечественным нормативной базе и методам получения исходных данных, так как они имеют иногда существенные отличия в разных странах.
При использовании численных методов расчета на ПК (конечных элементов, конечных разностей, граничного элемента и т.д.) следует:
- проверять устойчивость расчетной схемы по отношению к исходным данным;
- проверять достаточность степени дискретизации расчетной области.
Библиография
|
[1] |
Технический регламент от 30 декабря 2009 г. N 384-ФЗ "О безопасности зданий и сооружений" |
|
[2] |
Технический регламент от 12 августа 2010 г. N 623 "О безопасности объектов внутреннего водного транспорта" |
|
[3] |
Постановление Правительства Российской Федерации от 2 ноября 2013 г. N 986 "О классификации гидротехнических сооружений" |
|
[4] |
Проектирование причальных набережных: Пособие к СН-РФ 54.1-85. - М.: Гипроречтранс, 1991. - Книги 1-7 |







