ГОСТ Р 58634-2019 СИСТЕМА ЗАЩИТЫ ОТ ФАЛЬСИФИКАЦИЙ И КОНТРАФАКТА. АУТЕНТИЧНЫЕ МАТЕРИАЛЫ. МЕТОДЫ ПРИОБРЕТЕНИЯ
The system of protection against fraud and counterfeiting. Authentic materials. Methods of acquisition
ОКС 13.310
Дата введения - 1 марта 2020 г.
Введен впервые
Предисловие
1 Разработан Международной ассоциацией организаций, осуществляющих деятельность по противодействию незаконному обороту контрафактной продукции "Антиконтрафакт" и Федеральным государственным унитарным предприятием "Государственный научно-исследовательский институт авиационных систем"
2 Внесен Техническим комитетом по стандартизации ТК 124 "Средства и методы противодействия фальсификациям и контрафакту"
3 Утвержден и введен в действие Приказом Федерального агентства по техническому регулированию и метрологии от 30 октября 2019 г. N 1201-ст
4 Введен впервые
1.1 Настоящий стандарт устанавливает требования к методам приобретения материалов, целью которых является обеспечение:
- максимизации доли аутентичных материалов при производстве закупок;
- приобретения материалов из надежных источников;
- гарантий аутентичности и соответствия закупаемых материалов, включая использование таких форм оценки соответствия, как подтверждение соответствия, прослеживаемость, исследования (испытания) и инспекции;
- контроля дальнейшего использования материалов, идентифицированных как фальсифицированные и контрафактные;
- сбора и доведения до потенциальных потребителей и наделенных юрисдикцией органов сведений о случаях выявления сомнительных или подтвержденных фальсифицированных и контрафактных материалов.
1.2 В настоящем стандарте под понятием "материал" понимаются промышленная продукция, к которой относятся материальные объекты промышленного производства, предназначенные для применения в сферах производства, эксплуатации или потребления. Объекты промышленного производства могут являться изделиями, составными частями изделий, включенными в состав сборок и оборудования, материалами, веществами и другими материальными объектами, обращающимися на рынке в качестве товара или составных частей товара. Применяемое в стандарте понятие "продукция" тождественно понятию "материал".
1.3 Стандарт предназначен для применения организациями, осуществляющими деятельность в рамках закупок материальных объектов промышленного производства на любом этапе жизненного цикла продукции.
В настоящем стандарте использованы нормативные ссылки на следующие стандарты:
ГОСТ ISO/IEC 15459-4 Информационные технологии. Технологии автоматической идентификации и сбора данных. Идентификация уникальная. Часть 4. Штучные изделия и упакованные единицы продукции
ГОСТ ISO/IEC 15459-6 Информационные технологии. Технологии автоматической идентификации и сбора данных. Идентификация уникальная. Часть 6. Группы
ГОСТ Р 27.203 Надежность в технике. Управление устареванием
ГОСТ Р ИСО 9001 Системы менеджмента качества. Требования
ГОСТ Р 55256 Система технического обслуживания и ремонта авиационной техники. Процедуры проведения работ по оценке аутентичности компонентов воздушных судов гражданской авиации. Общие требования
ГОСТ Р 57880 Система защиты от фальсификаций и контрафакта. Электронные изделия. Предотвращение получения, методы обнаружения, сокращение рисков применения и решения по использованию фальсифицированной и контрафактной продукции
ГОСТ Р 57881 Система защиты от фальсификаций и контрафакта. Термины и определения
ГОСТ Р 58338 Системы менеджмента качества организаций авиационной, космической и оборонной промышленности. Требования к дистрибьюторам продукции
ГОСТ Р ЕН 9100 Системы менеджмента качества организаций авиационной, космической и оборонных отраслей промышленности. Требования
ГОСТ Р ИСО 9000 Системы менеджмента качества. Основные положения и словарь
ГОСТ Р 58636 Система защиты от фальсификаций и контрафакта. Прослеживаемость оборота продукции. Общие требования
Примечание - При пользовании настоящим стандартом целесообразно проверить действие ссылочных стандартов в информационной системе общего пользования - на официальном сайте Федерального агентства по техническому регулированию и метрологии в сети Интернет или по ежегодному информационному указателю "Национальные стандарты", который опубликован по состоянию на 1 января текущего года, и по выпускам ежемесячного информационного указателя "Национальные стандарты" за текущий год. Если заменен ссылочный стандарт, на который дана недатированная ссылка, то рекомендуется использовать действующую версию этого стандарта с указанием всех внесенных в данную версию изменений. Если заменен ссылочный стандарт, на который дана датированная ссылка, то рекомендуется использовать версию этого стандарта с указанным выше годом утверждения (принятия). Если после утверждения настоящего стандарта ссылочный стандарт, на который дана датированная ссылка, внесено изменение, затрагивающее положение, на которое дана ссылка, то это положение рекомендуется применять без учета данного изменения. Если ссылочный стандарт отменен без замены, то положение, в котором дана ссылка на него, рекомендуется применять в части, не затрагивающей эту ссылку.
В настоящем стандарте применены термины по ГОСТ Р ИСО 9000, ГОСТ Р 57881, а также следующие термины с соответствующими определениями:
3.1 материал (material): В настоящем стандарте применяется для обозначения промышленной продукции, к которой относятся материальные объекты промышленного производства, предназначенные для применения в сферах производства, эксплуатации или потребления и включающие сырье, вещества, материалы для производства изделий, изделия и их составные части, обращающиеся на рынке в качестве товара или составных частей товара.
Примечание - термин "material" определен в документе [2].
3.2 аутентичный материал (authentic material): Материал, отвечающий требованиям утвержденной для данной продукции нормативной и технической документации, нормативных правовых документов в области оборота данной продукции, изготовленный организацией, наделенной соответствующими правами, проходящий в течение жизненного цикла техническое обслуживание, ремонт и/или модификации в соответствии с требованиями разработчика, государства изготовителя либо государства регистрации продукции соответственно (если такие виды работ установлены) и допущенный к дальнейшей эксплуатации (применению) уполномоченными лицом или организацией (если требования о допуске установлены).
Примечание - Материал, не отвечающий определению аутентичного материала, относится к неаутентичному материалу.
3.3 независимый дистрибьютор (independent distributor): Дистрибьютор, который закупает продукцию с намерением ее продажи и выхода с ней на рынок; при этом закупленная продукция может быть получена от действительных изготовителей продукции, изготовителей по контракту (обычно при избытке запасов), или от других дистрибьюторов (франчайзинговых, уполномоченных, независимых).
Примечание - Независимые дистрибьюторы обычно не имеют соглашений или гарантий от действительных изготовителей продукции.
3.4 прослеживаемость в цепи поставок (supply chain traceability): Документирование истории всех событий в цепи поставок продукции, проводимое в бумажной или электронной документации всех посредников в цепи поставок и включающее производство записей о всех существенных операциях, проводимых при передаче продукции от действительного изготовителя компонента дистрибьютору, или от склада брокерам и дистрибьюторам.
3.5 сертификат соответствия: Документ, удостоверяющий соответствие продукции требованиям технических регламентов, документам по стандартизации или условиям договоров.
3.6 сертификат соответствия и документированные данные прослеживаемости (certificate of conformity and documentary data of traceability (CoCT)): Сертификат соответствия, к которому дополнительно приложены документированные данные прослеживаемости продукции от изготовителя, включенного в утвержденные перечни качественной продукции/квалифицированных изготовителей, до организации-потребителя, если продукция не закупается напрямую у утвержденного изготовителя.
3.7 уполномоченный поставщик (authorized supplier): Изготовитель вторичного рынка или уполномоченный действительным изготовителем продукции источник поставки (имеющий франшизу дистрибьютор, уполномоченный дистрибьютор).
Примечание - Некоторые уполномоченные поставщики предоставляют иные услуги, в отношении которых они не уполномочены действительным изготовителем продукции (например, осуществляют независимую дистрибуцию).
3.8 утвержденный поставщик (approved supplier): Поставщик, который официально аттестован и определен как имеющий низкий уровень риска поставки фальсифицированной/контрафактной продукции.
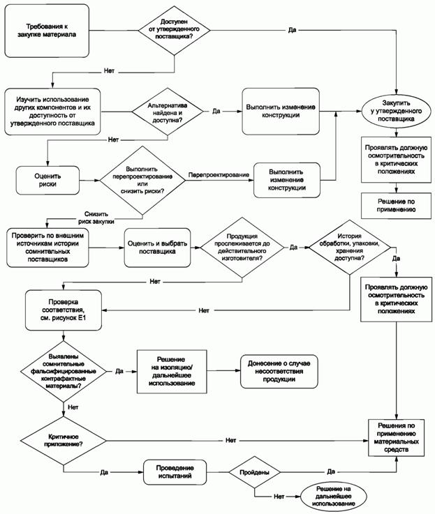
4.1 Организация должна разрабатывать и применять план гарантирования закупок аутентичных материалов, который документирует:
- процесс, используемый для гарантии того, что только аутентичный и соответствующий материал закупается из имеющих законные полномочия источников;
- используется планирование для снижения риска, последующего использования и представления донесений в случае любого обнаружения фальсифицированных и контрафактных материалов в сети снабжения. План должен включать процессы, описанные в 4.1.1-4.1.7.
4.1.1 Доступность аутентичных и соответствующих материалов
Процесс обеспечения аутентичности материала должен максимизировать доступность аутентичных и соответствующих требованиям материалов на всем протяжении жизненного цикла продукции. Организации должны улучшать свою политику управления рисками для немедленного выявления материалов и источников снабжения, уязвимых с точки зрения фальсификаций и контрафакта, для гарантии высокого качества продукции. Рекомендации по обеспечению доступности аутентичных и соответствующих материалов представлены в приложении А.
4.1.2 Процесс закупки материалов
В процессе закупки/приобретения материалов требуется выполнение перечисленных ниже действий.
а) Оценить потенциальные источники снабжения для определения вероятности доставки аутентичной и соответствующей продукции. Действия по оценке могут включать опросы, аудиты, изучение жалоб на продукцию, рассмотрение данных поставщика по качеству продукции для оценки имевшейся практики (рекомендации по выполнению приведены в приложении Б).
б) Вести реестр утвержденных поставщиков, включая указание области действия, на которую распространяется одобрение, для гарантирования снабжения с наибольшей вероятностью аутентичными и соответствующими материалами (рекомендации приведены в приложении Б).
в) Когда это возможно, производить закупки непосредственно у действительных изготовителей, утвержденных поставщиков, или других законно уполномоченных источников из утвержденного перечня источников поставки. Когда закупаемый материал не доступен из уполномоченной цепи поставок, должны быть реализованы меры по управлению риском из предусмотренных планом гарантирования аутентичных материалов.
г) Следует удостовериться, что утвержденные источники снабжения поддерживают эффективный процесс гарантирования поставки аутентичных и соответствующих материалов. Гарантирующие действия могут включать запрос к источнику снабжения, выполненный в соответствии с [1], а также проведение испытаний (разрушающих, неразрушающих, функциональных), проведение измерений, исследований, аудитов, рассмотрение претензий к продукции, изучение данных по качеству поставляемой поставщиком продукции.
д) Оценить вероятность того, что источник, иной, чем действительный изготовитель или уполномоченный поставщик, может поставить аутентичный и соответствующий требованиям материал. При необходимости закупки из источника, иного, чем действительный изготовитель или уполномоченный поставщик, решение должно быть обосновано и документировано.
е) Применять меры управления рисками, включая оценку риска и снижение риска в соответствии с планом гарантирования получения аутентичного материала, когда прослеживаемость до утвержденного источника в полной мере не достигается или такой источник недоступен. Рекомендации и информация, относящаяся к прослеживаемости в цепи снабжения, представлена в приложении В.
ж) Обеспечить предъявление применяемого состава требований данного стандарта к исполнителям договора, соисполнителям и дистрибьюторам. В случае, когда один или более посредников в цепи снабжения не имеет плана гарантирования аутентичных материалов, соответствующих данному стандарту, должен проводиться анализ риска при каждом случае закупки материала. Рекомендации представлены в приложении Г.
4.1.3 Информация в договоре о закупке
Документированный процесс должен устанавливать необходимость предъявления требований к качеству продукции в договоре о закупке для максимизации вероятности закупки аутентичного и соответствующего материала. Примеры требований к качеству при закупке и статьи договора представлены в приложении Г.
Закупки материала должны проводиться в соответствии с применяемыми требованиями договора, относящимися к противодействию противоправным действиям и фальсификациям. Положения требований должны включать, но могут не ограничиваться положениями, приведенными в приложении Г.
4.1.4 Верификация закупаемой продукции
Документированный процесс должен гарантировать возможность выявления фальсифицированных и контрафактных материалов до формальной приемки материала. Строгость процесса проверки должна быть соразмерна риску, связанному с продукцией. Риск продукции определяется по критичности материала и вероятности получения фальсифицированного материала. Примеры действий по верификации включают:
- исследование данных по предшествующим результатам поставки;
- визуальные осмотры (включая исследования требований к маркировке и состояния маркировки, проверки достоверности данных с обращением в государственные, ведомственные, корпоративные автоматизированные системы прослеживаемости оборота продукции, если они применяются), проведение испытаний, неразрушающего контроля и разрушающих испытаний.
Рекомендации, относящиеся к закупкам продукции при наличии риска, приведены в приложении Д.
Документированный процесс должен определять проверку при приемке, контроль материала после приемки, действия с любым находящимся в обработке или в применении подозрительным на фальсификацию или контрафактность материалов.
4.1.5 Контроль материала
Документированный процесс должен определять для изготовителя или поставщика продукции методы, позволяющие:
- контролировать излишки и несоответствующие материалы для предотвращения попадания их в сеть снабжения при мошеннических действиях;
- контролировать/уничтожать все подтвержденные фальсифицированные или сомнительные материалы для исключения их использования или повторного ввода в сеть снабжения;
- установить процесс, гарантирующий, что в цепь снабжения не произойдет возврат несоответствующего материала.
Изготовители, поставщики и их утвержденные цепи снабжения должны применять эффективный процесс возврата материалов, в котором предусмотрено раздельное движение материалов с различным статусом вплоть до подтверждения их аутентичными или не аутентичными и неиспользуемыми.
Методы противодействия получению фальсифицированных и контрафактных электронных материалов должны соответствовать ГОСТ Р 57880. Методы контроля аутентичности компонентов воздушных судов должны соответствовать ГОСТ Р 55256.
Рекомендации по контролю материалов приведены в приложении Е.
4.1.6 Отчетность
Документированный процесс должен гарантировать, что все случаи выявления фальсифицированных и контрафактных материалов будут указаны в отчете, представляемом во внутренние подразделения организации, внешним потребителям, отраслевым организациям промышленности, государственным органам, уполномоченным в области контроля оборота продукции, правоохранительным органам. Рекомендации по представлению отчетности приведены в приложении Ж.
Приложение А
(рекомендуемое)
А.1 Разработка продукции и программное планирование
А.1.1 Применяемые процедуры должны включать проверки подлинности продукции с учетом рисков, реализацию требований прослеживаемости и контроль степени прослеживаемости для всех материалов, применяемых в составе финальных образцов продукции и их компонентах. Степень требуемой прослеживаемости зависит от сложности и критичности продукции, компонента и должна отслеживаться менеджером программы разработки и производства продукции с точки зрения уязвимости от фальсификаций и контрафакта. Организации должны определять критичность продукции путем оценки применяемых материалов с точки зрения влияния отказа комплектующего элемента на финальную продукцию. Схема определения рисков на основе критичности материала представлена на рисунке А.3.
А.1.2 Влияние рисков цепи снабжения должно быть оценено в следующем диапазоне, см. рисунок А.1:
а) ничтожный - легко снижается;
б) малый - повышает стоимость операций;
в) средний - снижает функциональность, качество работы системы;
г) серьезный - нарушение работы или вредные и нежелательные проявления системы;
д) критичный - гибель или травмы персонала, существенные повреждения продукции.

Рисунок А.1 - Схема определения уровней риска, связанного с появлением фальсифицированной и контрафактной продукции
А.1.3 Вероятность появления фальсификата и контрафакта должна быть оценена в следующих категориях, см. рисунок А.2:
а) крайне малая вероятность ~ 10 % - база производства стабильна, качество высокое;
б) низкая вероятность ~ 30 % - отдельные негативные показатели во втором уровне производственной кооперации;
в) вероятно ~ 50 % - поставщики сокращают базу производства;
г) высокая вероятность ~ 70 % - имеет место сокращение источников поставок и нехватка материалов;
д) близко к неизбежному появлению ~ 90 %.

Примечание - Вместо сертификата соответствия может быть представлена декларация о соответствии.
Рисунок А.2 - Требования к прослеживаемости и контролю материала, источникам поставки в зависимости от вероятности появления фальсифицированной и контрафактной продукции, категорий риска при отсутствии противодействия обороту такой продукции
А.2 Снижение риска поставщика
Как только риск воздействия на цепь снабжения увязан с вероятностью появления фальсификата и контрафакта в цепи снабжения, процесс гарантирования качества закупаемой продукции и исключения получения фальсифицированной и контрафактной продукции должен начинаться до заключения договора о закупке продукции. Степень глубины этого процесса должна быть соразмерна с рисками, относящимися к источнику снабжения и критичности продукции. На рисунке А.3 представлена схема изменения полного риска как функции надежности поставщика и критичности продукции. На рисунке А.4 представлены факторы для оценки и снижения риска поставщика.
А.3 Долгосрочность доступности материалов
При выполнении действий по разработке, производству, программному планированию, организации должны оценивать долгосрочность доступности источников получения аутентичных и соответствующих материалов для производства и поддержки своей продукции. Когда оценки показывают риски доступности, организации должны предпринимать шаги, необходимые для гарантирования доступности аутентичных и соответствующих материалов, включая, для примера:
- закупки на весь срок службы финального образца продукции;
- перепроектирование системы;
- использование других источников снабжения;
- замену продукции;
- планирование рациональных сроков закупки.
А.4 Управление устареванием
Устаревание может повысить риск закупки фальсифицированных и контрафактных материалов. Для поддержания вероятности закупки аутентичных и соответствующих материалов, изготовители должны заранее управлять жизненным циклом своей продукции путем использования плана управления дефицитом материалов, связанным с сокращением источников производства. Методы управления устареванием продукции должны соответствовать ГОСТ Р 27.203.

Рисунок А.3 - Схема уровней риска

Рисунок А.4 - Схема оценки рисков, связанных с поставщиком
Приложение Б
(рекомендуемое)
Б.1 Организация закупки
Б.1.1 Общие положения
Когда риск получения фальсифицированного материала оценивается как "очень вероятно" или "близко к неизбежному появлению", должны быть приняты меры к проведению закупки, когда это возможно, непосредственно у законного уполномоченного источника, такого как действительный изготовитель, их уполномоченные дистрибьюторы, уполномоченные поставщики. Независимые дистрибьюторы должны использоваться только в случае, когда рассмотрены меры по использованию альтернативных материалов, перепроектированию, уточнению графика поставок и проработаны возможности приобретения материалов из уполномоченных источников. Когда используются независимые дистрибьюторы, снижение риска должно применяться с учетом:
- характеристик процессов и материалов;
- подтвержденных оценок качества;
- документа об оценке соответствия (сертификата соответствия/декларации соответствия).
Б.1.1.1 Договор покупателя с действительным изготовителем или поставщиком обычно включает положения по защите покупателя путем гарантирования качества и прослеживаемости продукции, в том числе обязательства:
- предоставить гарантии от действительного изготовителя;
- обеспечить должные процедуры обращения, хранения и транспортирования;
- обеспечить поддержку действий по анализу отказов и корректирующих действий;
- предоставить документы об оценке соответствия (сертификат соответствия/декларация соответствия);
- обеспечить прослеживаемость закупки.
Б.1.1.2 Следует принимать во внимание, что независимые дистрибьюторы не имеют договоров с действительным изготовителем о предоставлении гарантии или поддержки продукции и имеют ограниченные возможности обеспечить целостность и прослеживаемость продукции.
Б.1.1.3 Уполномоченные дистрибьюторы должны обеспечивать поставку продукции, закупленной по договору с действительным изготовителем. Если дистрибьютор не может поставлять продукцию на этих основаниях, то он должен в целях данного стандарта считаться независимым дистрибьютором.
Б.1.2 Утверждение поставщика и выбор источника
Б.1.2.1 При утверждении поставщика и выборе источника должны учитываться:
- исторический опыт взаимодействия покупателя с этим источником;
- ранее документированные проблемы с данным источником поставок у других потребителей;
- сроки пребывания источника на рынке;
- показанное источником соответствие стандартам по качеству высокого уровня, таким как:
а) ГОСТ Р ЕН 9100, ГОСТ Р ИСО 9001 для поставщиков продукции;
б) ГОСТ Р ЕН 9100, ГОСТ Р ИСО 9001 для действительных изготовителей, изготовителей вторичного рынка;
в) ГОСТ Р 58338 для дистрибьюторов;
г) ГОСТ Р ИСО 9001 для испытательных лабораторий;
- продемонстрированное источником соответствие применяемым требованиям настоящего стандарта;
- результаты аудитов, проведенных по Б.1.3;
- приемлемые документированные процессы закупок, приемки, верификации аутентичности и соответствия поставляемых материалов;
- проведение лабораторных испытаний внешними или внутренними лабораториями;
- использование инспекторов качества, которые прошли обучение и аттестацию в отношении типов и средств фальсификаций материалов и обладают навыками эффективно проводить идентификацию и прием продукции.
Б.1.2.2 Покупатели должны получить подтверждение, что дистрибьюторы установили документированный процесс и имеют финансовые средства для выполнения любых требований договора. Договор о закупке должны включать требования сертификации продукции и средства правовой защиты по договору, такие, как денежные штрафы в случае выявления несоответствий.
Б.1.2.3 Покупатели должны изучать дистрибьюторов по источникам, содержащим отчеты об их деятельности, перед действиями по закупке для получения гарантий, что случаев выявления сомнительных и фальсифицированных материалов не будет (рекомендации приведены в приложении Ж).
Б.1.2.4 Затраты на проведение проверок продукции, испытаний и действий по гарантиям поставщика (например, аудиты/исследования) должны быть учтены в определении полной цены закупки с целью полной сравнительной оценки цен, предлагаемых участниками закупки.
На рисунке Б.1 представлена схема снижения риска закупки.

Рисунок Б.1 - Схема действий по снижению риска при закупке материалов
Б.1.3 Аудиты
Б.1.3.1 Аудиты должны показывать, что система управления качеством у поставщика включает адекватно документированные процессы, которые гарантируют закупки, приемку, использование, доставку аутентичных и соответствующих материалов. Аудиты должны проводиться перед закупкой продукции и периодически после закупки.
Примечание - Обычно аудит проводится в отношении одного объекта, поэтому множество рабочих площадок может потребовать множества аудитов.
Аудиты должны проводиться с интервалами, достаточными для определения того, что система управления качеством поставщика содержит программу, соответствующую данному стандарту (для поставщиков оборудования/систем, если они привлекаются), и/или других требований договора, относящихся к снижению риска фальсификаций и контрафакта. Аудиты могут проводиться независимой квалифицированной третьей стороной.
Б.1.3.2 Использование результатов аудитов, выполненных организациями частного сектора или государственными организациями, является приемлемой альтернативой аудитов, проведенных третьей стороной. Процессы аудита, характеристики и квалификация аудиторов должны оцениваться и быть адекватными для гарантирования соответствия с требованиями настоящего стандарта и/или иными выдвинутыми требованиями.
Б.1.3.3 Область аудита и частота проведения должны быть соразмерны с оценкой риска для источника. Требования к аудиту могут варьировать от оценочных изучений процессов источника поставки и проведения контроля (истории закупок, качества, обработки, испытаний) до полного аудита этих процессов.
Б.1.3.4 Когда возможно, аудиты должны включать визуальный контроль материалов, полученных от изготовителя, не являющегося действительным изготовителем, для определения их возможной сомнительности/фальсифицированности/контрафактности.
Приложение В
(рекомендуемое)
В.1 Общие требования к организации прослеживаемости материалов в процессе закупки должны соответствовать ГОСТ Р 58636. Следует иметь в виду, что приобретение материалов без документов об оценке (подтверждении) соответствия и прослеживаемости закупки, означает для покупателя принятие неизвестного уровня риска.
В.2 С целью гарантирования прослеживаемости цепи снабжения при закупке материала у уполномоченных дистрибьюторов должна представляться указанная ниже документация. Следует учитывать отличия при закупке материалов по требованиям для государственных нужд и для коммерческого или промышленного использования.
В.2.1 Действительные изготовители и дистрибьюторы (уполномоченные и независимые) должны представлять документы об оценке (подтверждении) соответствия на материалы и данные прослеживаемости закупки. Данные прослеживаемости закупки должны включать наименование и местоположение всех посредников цепи снабжения от действительного изготовителя до непосредственного потребителя с детализацией на уровне груза и единицы поставки материала. Организация должна гарантировать, что эти требования точно установлены в документах закупки в отношении представляемых данных, независимо от вида цепи снабжения. Если данные прослеживаемости неизвестны, должны быть реализованы необходимые процедуры снижения риска, как описано в настоящем стандарте.
В случае, когда при закупках материалов для коммерческого или промышленного использования материал, поставляемый от изготовителя к дистрибьютору, не сопровождается документом об оценке соответствия, сопроводительной документацией должен являться принятый в коммерческой практике упаковочный лист. Этот документ, как правило, идентифицирует изготовителя, дистрибьютора, которому поставляется материал, номер документа на закупку, присвоенный дистрибьютором, обозначение, количество продукции.
В.2.2 При закупке материалов для государственных нужд должен представляться документ об оценке соответствия. Когда требуется прослеживаемость на уровне отдельных единиц продукции, информация должны быть представлена для каждого отдельного экземпляра поставляемой продукции с уникальным идентификатором. Копия этого документа должна сопровождать партию груза с материалом до конечного потребителя. Для материала, поставляемого уполномоченным дистрибьютором, должен представляться документ об оценке соответствия и демонстрироваться должная прослеживаемость цепи поставки.
В.3 Следует иметь в виду, что независимый дистрибьютор часто не имеет документов об оценке соответствия (сертификата соответствия/декларации соответствия) и документов по прослеживаемости закупки этой продукции. Прослеживаемость до действительного изготовителя продукции может не поддерживаться, быть утраченной или данные могут быть недоступными. Неспособность независимых дистрибьюторов представить документы об оценке соответствия (сертификата соответствия/декларации соответствия) и прослеживаемости закупки не означает правонарушения или несоответствия продукции. В этих условиях закупающая организация принимает на себя неизвестный уровень риска в отношении аутентичности продукции и должна предпринять необходимые действия по снижению риска.
В.4 Планирование прослеживаемости на уровне груза и единиц продукции должно выполняться в следующем порядке:
В.4.1 В процессе разработки продукции должен быть выбран вариант идентификации единиц продукции, в отношении которых должна быть реализована индивидуальная прослеживаемость, документируемая информация по единице продукции или партии, исходя из риска появления фальсификаций или контрафакта. Возможными вариантами идентификации являются:
- для идентификации групп объектов по ГОСТ ISO/IEC 15459-6 - глобальный номер предмета торговли (GTIN), глобальный идентификационный номер партии груза (GINC), глобальный идентификационный номер отправки груза (GSIN), федеральный номенклатурный номер в системе каталогизации, номер партии, серии единиц продукции, и другие;
- для идентификации уникального объекта - уникальный идентификатор по ГОСТ ISO/IEC 15459-4;
- для материалов с высоким риском или критических материалов может потребоваться прослеживаемость от сырья до финальной продукции, включающая данные о всех аспектах работ с материалом и его дальнейшим использованием.
В.4.2 Процедуры управления качеством в организации должны планироваться с учетом выбранного варианта прослеживаемости материала. Выбор метода прослеживаемости на уровне груза и уровне единицы продукции, вариантов состава данных маркировки и документируемых данных прослеживаемости должен определяться, исходя из уровня риска, связанного с продукцией.
В.4.3 Для контроля данных прослеживаемости должны быть установлены уполномоченные источники данных о грузах и уникально идентифицированных единицах продукции.
Примеры положений о закупке, относящихся к документам об оценке соответствия (сертификат соответствия/декларация соответствия) и прослеживаемости цепей поставки, представлены в приложении Г.
Приложение Г
(рекомендуемое)
Г.1 Требования договора
Г.1.1 С целью минимизации риска закупки фальсифицированной/контрафактной продукции в текст договора на закупку и поставку следует включать требования, которые способствуют обеспечению поставки соответствующих аутентичных материалов. Ответственность продавца должна быть ясно установлена и согласована, включая:
- прослеживаемость продукции. В соответствии с приложением В настоящего стандарта, продавец должен быть способен обеспечить полную прослеживаемость закупаемой продукции, включая наименования и адреса предыдущих источников поставок (если их несколько). Покупатель и продавец должны вести записи, содержащие кодовые обозначения дат и/или партий и данные о любых прослеживаемых по номерам серий материалов, связанных с договором и инвойсом;
- испытания и проверки. Продавец должен быть извещен обо всех испытаниях и проверках, которые потребуются для гарантирования аутентичности продукции, в том числе о критериях принятия/отклонения и квалификации персонала для проведения испытаний/проверок;
- систему менеджмента качества. В договоре должны содержаться требования к продавцу о подтверждении соответствия продукции, в том числе о декларировании, сертификации на соответствие требованиям технических регламентов и сертификации на соответствие требованиям стандартов менеджмента качества (например, ГОСТ Р ЕН 9100 ГОСТ Р 58338 ГОСТ Р ИСО 9001);
- принятие финансовой ответственности. Продавец должен быть извещен, что может наступить юридическая ответственность в виде возмещения затрат, связанных с поставкой фальсифицированной/контрафактной продукции. Договоры на закупку и поставку должны устанавливать, что покупатель не обязан возвращать сомнительную или доказанную фальсифицированную/контрафактную продукцию. Покупатель может потребовать доказательства финансовой ответственности, таких как обязательства в отношении продукции или предоставление гарантий в отношении выполненных операций (например, документ, гарантирующий ответственность). Покупатель может также потребовать подтверждение профессиональной ответственности и/или гарантии возврата продукции с обязательствами продавца, если их цена будет коммерчески приемлема для продавца;
- долгосрочность обязательств. Продавец должен быть информирован о конкретном периоде времени, на которое распространяется его ответственность. Содержание условий договора между покупателем и продавцом должно обеспечивать для покупателя время, достаточное для определения, изоляции, доказательств фальсифицированности/контрафактности или нестандартности продукции. Покупатель должен применять уровень контроля или испытаний, достаточный для определения важнейших или общих признаков фальсифицированности/контрафактности до истечения установленного времени;
- требуемую документацию. Продавец должен быть снабжен точными и конкретными инструкциями, относящимися к поставляемой документации (товарно-сопроводительным и иным документам). Требования к документации, включая декларации, сертификаты соответствия и данные испытаний/проверок должны быть включены в статьи и условия договора;
- ответственность за подделку. Продавец должен быть извещен о потенциальных наказаниях по федеральному законодательству, связанных с фальсификацией.
Г.1.2 Пример положений договора в этом приложении дополняет, но не дублирует и не замещает положения о качестве продукции и другие требования, содержащиеся в стандартах на системы менеджмента качества, таких как ГОСТ Р ЕН 9100, ГОСТ Р 58338, ГОСТ Р ИСО 9001. Ссылки на данные документы должны быть приведены в положениях договора на закупку, относящихся к гарантированию качества продукции.
Г.2 Пример статей договора с поставщиком материалов
Г.2.1 Гарантия в отношении источников материала
"Продавец должен гарантировать, что только новые и аутентичные материалы будут представлены в поставке, доставляемой ПОКУПАТЕЛЮ. Продавец может закупать МАТЕРИАЛ только у действительных изготовителей, дистрибьюторов с франшизой от изготовителей, или уполномоченных изготовителей вторичного рынка. Использование материалов, поставленных не из указанных источников, не допускается, кроме как по письменному согласию ПОКУПАТЕЛЯ. Продавец должен предоставить по запросу поддержку (документацию действительного изготовителя, которая подтверждает прослеживаемость материала до действительного изготовителя) и предпринять по запросу все действия, чтобы гарантировать закупку аутентичного и соответствующего материала.
Г.2.2 Прослеживаемость цепи поставки
Поставщик должен поддерживать метод прослеживаемости грузов и отдельных единиц продукции, который гарантирует отслеживание назад по цепи поставки до изготовителя всех "единиц МАТЕРИАЛов", поставляемых по данному договору. Метод прослеживаемости должен точно указывать наименование и адрес всех посредников в цепи поставок от изготовителя до непосредственного источника материала для продавца и должен включать идентификацию уровня грузов и отдельных единиц продукции, такую как кодовое обозначение дат, партий, характеристики продукции, серийные номера, уникальные идентификаторы, идентификаторы партий.
Г.2.3 Документы о подтверждении соответствия и прослеживаемости для закупок для государственных нужд
Приведенные ниже положения применяются во всех договорах на поставку продукции, включенной в утвержденные перечни соответствующей продукции или утвержденные перечни соответствующих изготовителей (далее - перечень). Положения применяются как к договорам, заключенным непосредственно с изготовителем, указанным в утвержденном перечне изготовителей или перечне продукции, так и с поставщиками (дистрибьюторами), не указанными в утвержденном перечне.
Поставляемый материал должен точно соответствовать требованиям, установленным для продукции, включая все проведенные изменения. Для гарантирования этого соответствия, продавец должен представить документы о подтверждении соответствия (сертификат соответствия/декларация соответствия), документированные данные о прослеживаемости, а также иные документы, требуемые применяемыми нормативными документами. Документы о подтверждении соответствия должны иметь ссылку на номер договора и быть подписаны утвержденным изготовителем из перечня. Если материал не закупается непосредственно у утвержденного изготовителя, должна быть представлена документация о прослеживаемости продукции от изготовителя из перечня до продавца. Указанные документы требуются для определения приемлемости поставок. Если указанные документы не представляются, являются неполными или иным образом неприемлемыми, продавец должен считаться не выполняющим требования договора и поставка отклоняется.
Если договор требует проверок и приемки в первоисточнике поставки, продавец должен представить оригинал и две копии документов о подтверждении соответствия и прослеживаемости представителю организации по обеспечению качества. Документы о подтверждении соответствия и прослеживаемости должны в явном виде содержать ссылку на номер договора. Продавец должен представить одну подписанную копию должностному лицу, ответственному за договор. Вторая копия должна быть сохранена у представителя организации по обеспечению качества. Оригинал должен содержаться у продавца.
Г.3 Примеры статей договора, заключенного с независимым дистрибьютором
Г.3.1 Требования к испытаниям и исследованиям
Продавец должен установить и применять действия по испытаниям и исследованиям, необходимые для гарантии аутентичности и соответствия закупаемого материала, включая:
- верификацию прослеживаемости и документации;
- визуальный осмотр;
- испытания и проверки (см. примеры и описания действий по испытаниям и проверкам в приложении Д).
Испытания и проверки должны выполняться в соответствии с точно установленными критериями, представленными или утвержденными ПОКУПАТЕЛЕМ. Продавец должен представить ПОКУПАТЕЛЮ записи, подтверждающие проведенные проверки и испытания материала для установленных критериев принятия.
Испытания и проверки должны быть проведены лицами, которые обучены и подтвердили квалификацию по определению типов и средств фальсификаций и контрафакта и проведению эффективной аутентификации продукции.
Г.3.2 Прослеживаемость цепи поставок
Продавец должен поддерживать прослеживаемость на уровне груза и единицы продукции, которая позволяет отслеживать цепь снабжения назад до изготовителя материала, поставленного по договору, в соответствии с требованиями ГОСТ Р 58636. Метод прослеживаемости должен точно идентифицировать наименование и местоположение всех посредников от изготовителя до продавца материала, и должен включать данные идентификации уровня груза или единицы продукции, такую, как кодовое обозначение дат, партий, характеристики продукции, серийные номера, уникальные идентификаторы, идентификаторы частей партий.
Г.3.3 Документ об оценке соответствия
Продавец должен заверять, сохранять, представлять копии документов об оценке соответствия. Изготовитель, поставщик (продавец) продукции должен заверять, сохранять и по требованию потребителя продукции представлять копии документов об оценке соответствия (сертификат соответствия/декларация соответствия). Документ об оценке соответствия (сертификат соответствия/декларация соответствия) продукции должен содержать сведения, установленные законодательством Российской Федерации и правом Евразийского экономического союза.
Г.3.4 Система менеджмента качества
Продавец должен иметь систему менеджмента качества, которая соответствует ГОСТ Р ИСО 9001, ГОСТ Р 58338 или ГОСТ Р ЕН 9100. Сертификация системы менеджмента качества независимой организацией не требуется, если это не является условием договора. Организации, которые прошли сертификацию по ГОСТ Р ИСО 9001 и, если требуется, по ГОСТ Р 58338 или ГОСТ Р ЕН 9100, и которым впоследствии органом по сертификации приостановлено или прекращено действие выданных сертификатов соответствия, должны в срок не позднее трех дней известить закупающую организацию (организации) о получении такого извещения от органа по сертификации.
Г.3.5 Изъятие продукции и финансовая ответственность
Если сомнительный/фальсифицированный/контрафактный материал поставлен по договору о закупке, ПОКУПАТЕЛЬ имеет право передать этот материал в орган, имеющий юрисдикцию для проведения расследования и изъятия материалов. Продавец должен заменить эти материалы приемлемыми для ПОКУПАТЕЛЯ и нести ответственность за все затраты, относящиеся к изъятию, удалению и замене. Все выявленные случаи фальсификации или попытки фальсификации должны быть письменно документированы и доведены до ПРОДАВЦА.
Г.3.6 Ответственность, связанная с фальсификацией и контрафактом
Договор на закупку и деятельность по нему находятся под юрисдикцией ГОСУДАРСТВА. Любые известные и умышленные действия по фальсификации и контрафакту, сокрытию или изменению материала, или любой обман, фальсифицированное или вымышленное документированное утверждение, представленное в связи с выполнением работы по договору закупки, могут иметь правовые последствия в соответствии с действующим законодательством.
Персонал продавца, участвующий в выполнении работы по договору о закупке, должен быть информирован в письменном виде до выполнения работы о риске правовых последствий за фальсификацию, сокрытие или ложное представление в связи с выполнением работ по договору о закупке.
Продавец должен включать все положения этой статьи договора во все связанные договоры нижнего уровня по отношению к данному договору. Любая неспособность или нежелание поставщика нижнего уровня соответствовать этому требованию должна быть письменно документирована и представлена ПРОДАВЦУ.
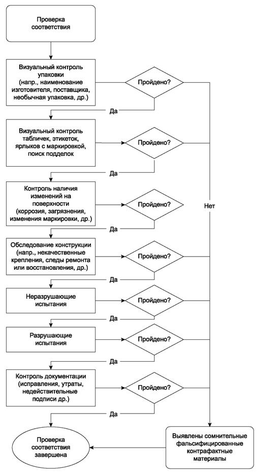
Приложение Д
(рекомендуемое)
Д.1 Выявление фальсифицированного и контрафактного материала
В случаях, когда есть причины сомневаться в аутентичности материала или соответствии его требованиям изготовителя, должны быть проведены, при необходимости, дополнительные испытания и проверки для определения фальсификаций и контрафакта. Перечисленные ниже методы должны быть применены для снижения риска получения фальсифицированного и контрафактного материала. Эти методы могут не давать возможность точно различить аутентичный материал и фальсифицированный/контрафактный материал, но, при должном использовании, минимизируют риск попадания фальсифицированных/контрафактных материалов в производственную систему. В случаях высокого риска, может быть необходимым выполнить испытания, или иные статические, динамические или функциональные проверки как дополнительные проверки для получения необходимого уровня уверенности.
Схема процесса, показанная на рисунке Д.1, является рекомендуемой схемой оценки аутентичности материала. Данный набор испытаний и проверок рассматривается как дополнительный, но не как замещающий процедуры принятия продукции, применяемые организацией. Принято, что в организации есть возможность проводить полный набор испытаний. Рекомендуется подобную схему применять при каждой закупке.
Оценка аутентичности компонентов воздушных судов гражданской авиации должна выполняться в соответствии с ГОСТ Р 55256.
Д.1.1 Проверка документации и упаковки
Поставщик должен представлять неразрывную цепь документации (документы об оценке соответствия, упаковочные листы), позволяющую прослеживать движение материала назад по цепи снабжения до первоисточника, и подтверждение, что материал не был утилизирован, возвращен по рекламации, использован или ранее возвращен кем бы то ни было.
Все документы об оценке соответствия и иная документация должны проверяться на аутентичность и применимость к поставляемому материалу, включая:
- соответствие обозначений дат и/или партий на упаковке обозначениям на продукции;
- соответствие применяемой изготовителем маркировки логотипам, торговым маркам и другой идентифицирующей маркировке;
- наличие изменений или ошибок в документации;
- соответствие обозначения материала в маркировке обозначению материала в договоре на закупку;
- соответствие материала описанию в прилагаемой документации;
- соответствие серийных номеров указанным в документации, отсутствие дублирования уникальных идентификаторов.
При повышенной заинтересованности в аутентичности материала, следует проверить у изготовителя подлинность кодовых обозначений дат, партий, серийных номеров, количества, указанных в документации.
Д.1.2 Визуальный осмотр
Визуальный осмотр должен выполняться с увеличением, соразмерным изучаемому свойству, с необходимым уровнем освещения. Для материалов с идентифицирующей маркировкой, исходя из определенного для продукции риска, должны исследоваться представительные образцы от каждой партии на предмет выявления перемаркирования, следов применения или сдачи в утиль, иных следов предшествующего использования. Эффективными могут быть проверки на стойкость маркировки к растворителям, возможно применение и более агрессивных методов для выявления поддельных маркировок путем снятия покрытий, использованных для маскировки счищенных покрытий, и для выявления других признаков удаления оригинальной маркировки. Другие методы включают использование ацетона или соскабливание внешнего слоя покрытия на поверхности материала для удаления маркировки и покрытий и для выявления оригинальных обозначений материалов под измененной поверхностью и новой маркировкой. Примеры подозрительных на фальсификации материалов включают, но не ограничиваются:
- измененные или не указанные в документации маркировки, штампы, выпуклости или гравировки;
- недолжное состояние поверхности или следы, которые присущи восстановленному материалу;
- вновь нанесенные или имеющие низкое качество символы штриховых кодов в маркировке;
- имеющие следы удаления и установки заново фирменные таблички или этикетки;
- измененные этикетки и метки;
- следы перекраски и нанесения нового покрытия;
- иные следы повторного использования материала, такие как пятна, области перегрева, следы разборки и повторной сборки, эрозия, износ, вмятины и царапины.
Поставщики должны создать библиотеку цифровых фотографий полученных материалов, которая может быть использована для дополнения других критериев оценки.
Д.1.3 Неразрушающие испытания
Включают в себя широкий набор аналитических методов, используемых в науке и промышленности для оценки свойств материалов, компонентов, субкомпонентов без разрушения или необратимого изменения. Для оценки материалов могут быть использованы следующие методы:
- визуально-измерительный контроль, взвешивание, исследование размеров;
- капиллярная дефектоскопия, предназначена для обнаружения поверхностных и сквозных дефектов в объектах контроля, определения их расположения, протяженности (для протяженных дефектов типа непроваров, трещин) и их ориентации на поверхности. В капиллярном методе 1 неразрушающего контроля проникающая жидкость может быть флуоресцентной, требующей исследования в темноте, или нефлуоресцентной, называемой видимой краской, требующей исследования при белом свете;
──────────────────────────────
1 Капиллярный метод неразрушающего контроля по ГОСТ 18442-80.
──────────────────────────────
- магнитный метод контроля, основанный на изменении направления линий магнитного потока около места расположения дефекта, который они огибают вследствие меньшей магнитной проницаемости дефекта по сравнению с целым металлом. По способу определения места залегания дефекта различают два способа контроля: порошковый и индукционный;
- электромагнитная дефектоскопия. Метод ограничен применением только для металлов, редко используется для обнаружения дефектов на новых/неиспользованных материалах, широко используются для обнаружения дефектов на использованных материалах (исследования в эксплуатации, следы коррозии, износа, трещин, ударов, усталости и другие);
- рентгеновский контроль. Применяется для выявления в сварных соединениях трещин, непроваров, пор, шлаковых, вольфрамовых, окисных и других включений, для исследования внутренней структуры неразъемных единиц продукции. Рентгенологические исследования включают пленочную радиографию, цифровую радиографию, компьютерную радиографию, радиографию в реальном времени и компьютерную томографию. Применяют три типа проникающей радиации: рентгеновские лучи, гамма-лучи (также именуемые исследованием с применением радиоизотопов) и нейтронное излучение. Могут использоваться для внутренних исследований большинства материалов из металлов, композитов, также используются для исследования сборочных единиц. Нейтронное излучение используют для исследования взрывчатых веществ и пластиков. Рентгенологические исследования, как правило, не используют для обнаружения дефектов поверхности. Рентгеновский флуоресцентный анализ иногда используют для определения толщины и состава покрытий металлом, также метод является действенным для исследования некоторых сплавов;
- термографические исследования. Используются для обнаружения дефектов материалов из металлов и неметаллов, для обнаружения точек с повышенной температурой в системах и узлах;
- метод ультразвуковой дефектоскопии материалов. Используется для определения расслоений и неоднородностей;
- лазерные исследования, в том числе голография, шерография, сдвиговая спекл-интерферометрия, которая является разновидностью лазерной интерферометрии. Метод шерографии используется для неразрушающего контроля качества узлов и элементов конструкций, выполненных из композитных и металлических сред;
- микрокалориметрия тепловых потоков. Исследования проводятся по сравнительной скорости передачи тепла для известного и неизвестного образца материала. Может быть использован для определения предшествующего использования материала, для предсказания коррозии или иных изменений материала до того, как они разовьются;
- функциональные испытания: проверка материала в функционировании по назначению, проверка пригодности к монтажу, проведение динамометрических испытаний;
- другие типы испытаний.
Д.1.3.1 Данные неразрушающих испытаний материалов должны сохраняться согласно условиям договора.
Д.1.3.2 Квалификация и сертификация персонала, проводящего неразрушающие испытания (весь персонал, проводящий неразрушающие испытания, должен быть обучен и сертифицирован).
Д.1.4 Разрушающие испытания
Разрушающие испытания могут включать:
- деформационные испытания (на изгиб, вибрацию, излом, растяжение, сжатие, сдвиг, усталость, твердость, адгезию, удар);
- металлургические испытания (срез материала, полировка и наблюдение при увеличении);
- испытание на внешние воздействия (нагрев, охлаждение, топливо, климатические, старение, ультрафиолет, озон, химические вещества, соляной раствор, др.);
- аналитические испытания (газовая хроматография, спектральный анализ, исследования электронным микроскопом, анализ на химический состав);
- функциональные испытания (проведение испытаний до вывода из строя).
Указанные испытания должны применяться в соответствии с положениями договора.
Д.1.5 Другие испытания
Другие испытания могут быть проведены для выявления фальсифицированных и контрафактных материалов. Например, сканирующий акустический микроскоп может быть использован для выявления оригинальных обозначений материалов, гравированных лазером, на которые нанесено новое покрытие поверхности и новая маркировка.

Рисунок Д.1 - Схема процесса проверки соответствия
Приложение Е
(рекомендуемое)
Е.1 Контроль утиля или излишков материалов
Е.1.1 Утиль материала
Материал, который признан несоответствующим или иным образом непригодным для использования, должен быть физически идентифицирован (меткой, этикеткой, маркировкой), отделен от соответствующего материала и приведен в непригодное к использованию состояние путем физического разрушения (измельчением, разламыванием, дроблением) до последующего использования. Е.1.4 содержит положение о контроле сомнительных или подтвержденных фальсифицированных и контрафактных материалов.
Е.1.2 Избыточные материалы
Избыточные запасы или излишки материала, первоначально закупленные для использования, должны быть перепроданы или иным образом переданы внешним организациям с демонстрацией соответствия требованиям качества, настоящему стандарту и другим стандартам, предназначенным для исключения закупки и перепродажи фальсифицированных материалов. Если такие действия предпринимаются, поставщик должен представить документ об оценке соответствия и документированные данные о прослеживаемости вместе с избыточной продукцией.
Е.1.3 Возвращенный материал
С целью снижения риска возврата в цепь снабжения фальсифицированного и контрафактного материала, возвращенного ранее поставщику, должны быть предприняты меры для того, чтобы позволить поставщику провести оценку аутентичности. Следующая информация должна представляться поставщику при проведении возврата:
- кодовое обозначение дат, партий, характеристики, обозначение возвращаемого материала;
- наименование изготовителя;
- номер договора на закупку, по которому поставлен материал;
- количество возвращаемого материала;
- причина возврата.
Возврат поставщикам не должен производиться без должного утверждения возврата. После получения утверждения возврата, вместе с возвращаемым материалом должны предоставляться копии оригинальных документов.
Е.1.4 Контроль сомнительных и подтвержденных фальсифицированных и контрафактных материалов
Если в процессе испытаний будут выявлены признаки того, что материал является фальсифицированным или контрафактным, должны быть предприняты следующие шаги:
- физически обозначить материал как сомнительный/фальсифицированный/контрафактный (меткой, этикеткой, маркировкой);
- физически отделить материал от приемлемого, не являющегося сомнительным материалом и поместить в карантин. Карантин должен предусматривать физические барьеры и контролируемый доступ;
- не возвращать материал поставщику для замены, за исключением отдельных случаев, которые исключат повторную продажу сомнительного материала через цепь снабжения, дать возможность поставщику провести внутреннее расследование;
- подтвердить доказательно аутентичность или неаутентичность материала на основе проведения испытаний, обращений к изготовителю, исследования третьей стороной;
- после подтверждения, что материал фальсифицирован или является контрафактом, обозначить его и поместить на хранение. Весь потенциально фальсифицированный или контрафактный материал следует содержать на хранении до принятия решения о дальнейшем использовании;
- представить отчет о фальсифицированном или контрафактном материале в соответствии с приложением Ж;
- должны быть приняты меры к исключению повторного ввода в обращение подтвержденного фальсифицированного или контрафактного материала (с учетом прав собственности и правомочий на изъятие материала из обращения).
Е.2 Прослеживаемость и контроль поставщиков
Прослеживаемость и контроль поставщиком субпоставщиков и продавцов являются ключевыми элементами обеспечения аутентичности и соответствия материала. Особые требования договора по обеспечению качества могут быть предъявлены в отношении закупки материалов, обозначенных как "критические" (например, критичные по надежности, безопасности, по выполняемой функции, выполнению предназначения, технического обслуживания, контролю разрушения).
Е.2.1 Прослеживаемость
Все технические требования и требования к качеству продукции, предъявляемые к поставщикам и услугам по договору, должны быть прослеживаемы по времени и месту выполнения. Записи должны обеспечивать степень прослеживаемости, необходимую для проведения верификации, от любой точки контроля сырья до финальной продукции, в отношении всех свойств материала, процессов и документации.
Е.2.1.1 Требования к материалу включают требования к прослеживаемости сырья и заготовок. Требования прослеживаемости включают гарантии того, что:
- использованы правильные сырье и заготовки, составные части. Прослеживаемость должна вестись от сырья и заготовок для материала до отчетности о сертификационных испытаниях готовой продукции и до других требуемых подтверждений объективных показателей качества. Сертификационные испытания продукции должны точно и полно отражать соответствие продукции всем установленным требованиям;
- поставщик должен разработать документированные процедуры, которые реализуют требования договора на закупку по проверке качества продукции;
- для прослеживаемости материала должна применяться наносимая на него маркировка, указываемая в отчетах об испытаниях для каждой операции с производственными партиями, частями партии, отдельными единицами продукции. Когда прослеживаемость партии не достижима ввиду особенностей производственных процессов (например, операции непрерывного литья), прослеживаемость партии должна обеспечиваться, как это установлено в применяемых технических требованиях к материалу и требованиях договора. Маркировка должна содержать обозначение продукции, обозначение изготовителя, другие данные для поддержания прослеживаемости и проведения сертификации по показателям качества;
- прослеживаемость должна поддерживаться на протяжении всех операций, включая все операции по субдоговорам, от сырья до готовой продукции;
- дистрибьюторы материала должны представлять документацию с точной прослеживаемостью данных между поступающими и отправляемыми производственными партиями, частями партии, отдельными единицами продукции;
- дистрибьюторы материала должны представлять в явном виде документальное свидетельство, что "никакая дополнительная обработка продукции не проводилась" дистрибьютором или указать в документе, какие проведены работы на поступившем материале, изменившие его свойства.
Е.2.1.2 Прослеживаемость производства
Прослеживаемость должна применяться для головных поставщиков и их субпоставщиков, которые осуществляют производственный процесс, включающий, в том числе, специальные процессы производства, применяемые к сырью или продукции, такие как литье, ковка, термическая обработка, дробеструйная обработка и неразрушающие испытания; процессы сборки, испытаний, особенно в части контроля критических характеристик продукции.
Поставщик должен идентифицировать в производственной документации все производственные участки, на которых выполняются процессы/операции за пределами своего предприятия.
Производственная документация всех изготовителей (головных поставщиков и субпоставщиков) должна быть доступна для просмотра закупающей организацией.
Е.2.1.3 Документация
Бумажная копия всей документации по прослеживаемости для каждой партии продукции должна представляться для исследования при каждом представлении на приемку.
Документация результатов испытаний, в которой перечислены характеристики каждой единицы продукции, изготовленной по договору, должна иметь связь с документацией прослеживаемости до исходного сырья, использованного при производстве продукции.
Поставщик должен включать в каждую поставку отчеты изготовителя о проведенных испытаниях на соответствие требованиям к продукции и/или документ об оценке соответствия, которые свидетельствуют, что поставленные партии продукции были испытаны, проверены и признаны соответствующими установленным требованиям к продукции. Подвергнутый испытаниям образец должен иметь те же показатели, что и поставляемая продукция.
В отчете должны быть указаны:
- обозначение документа технических требований, с указанием номера пересмотра, по которым продукция испытывалась;
- обозначения испытанных единиц продукции и условия испытаний;
- требуемые и измеренные количественные значения химических, механических или физических свойств продукции.
Поставщик должен представлять с каждой поставкой документ об оценке соответствия для демонстрации того, что все требуемые процессы (формовка, термообработка, термоциклирование, сборка и испытания, другие процессы) выполнены, при этом:
- результат соответствует техническим требованиям и методике испытания. Процессы, не предусмотренные документацией, не допускаются;
- если материал изменялся (подвергался ковке, прокатке или термообработке, другим воздействиям) после получения от источника происхождения и до поставки, поставщик должен представить с каждой грузовой партией протокол испытаний независимой лаборатории, свидетельствующий о соответствии материала установленным требованиям и отчет об испытаниях. Испытания должны проводиться после всех преобразовывающих действий;
- документы по прослеживаемости должны храниться на предприятии поставщика как минимум три года, если нет требований в договоре или нормативной правовой документации по большему сроку. Поставщик должен сделать эту документацию доступной для покупателя по запросу. В конце этого периода, или в случае реорганизации или прекращения деятельности поставщика как юридического лица, вся документация должна быть предложена покупателю до принятия решения об уничтожении.
Е.2.2 Контроль продавцом поставщиков
Все поставщики, изготавливающие продукцию или оказывающие услуги в рамках договора на предприятии продавца или на любом другом участке, должны подвергаться контролю по всем параметрам, определяющим соответствие требованиям договора. Продавец должен вести эффективный контроль закупаемых материалов и работ по субдоговорам.
Продавец несет ответственность за обеспечение соответствия требованиям договора продукции и услуг всех поставщиков.
Если покупатель выразил намерение провести инспекцию предприятия поставщика, такая инспекция не должна рассматриваться как подтверждение эффективного контроля качества таким поставщиком. Это не снимает с поставщика ответственности за соответствие требованиям всех материалов и услуг, и за проведение всех установленных проверок и испытаний продукции.
Поставщик должен гарантировать, что все требования договора и связанные с ними технические требования должным образом включены во все связанные договоры и субдоговоры.
Программа контроля качества поставщика должна гарантировать, что применяемое сырье при производстве и обработке соответствует физическим, химическим и другим техническим требованиям. Лабораторные испытания должны применяться при необходимости. К субпоставщикам должны быть выставлены требования в соответствии с программой контроля качества поставщика для проведения необходимых проверок сырья, поставляемого поставщику.
Все документы и ссылочные данные в отношении закупок, упоминаемые в договоре, должны быть доступны для просмотра покупателем для определения соответствия с требованиями в рамках контроля закупаемой продукции.
Поставщик должен предоставлять покупателю доступ к отчетам о всех несоответствиях, обнаруженных в инспектируемом источнике поступления продукции.
Приложение Ж
(рекомендуемое)
Ж.1 После выявления сомнительного или подтвержденного фальсифицированного и контрафактного материала, организация должна представить своевременные сведения в организацию по сбору отчетности из перечисленных в таблице Ж.1.
|
Организация |
Вид документа и контактные данные |
|
Министерство внутренних дел Российской Федерации (МВД РФ) |
Заявление (в отношении продукции с незаконным использованием средств индивидуализации, с признаками фальсифицированной продукции) подается в территориальные органы МВД РФ, контактные точки которых приведены по адресу: https://mvd.ru/contacts/sites |
|
Федеральная таможенная служба России (ФТС России) |
Заявление (в отношении продукции, пересекающей границу, с признаками фальсифицированной и контрафактной продукции) по адресу: 121087, Москва, Новозаводская ул., д. 11/5 Телефон доверия ФТС России: + 7 (499) 449-79-97 Электронная почта ФТС России: fts@ca.customs.ru |
|
Следственный комитет Российской Федерации |
Заявление (в отношении продукции с нарушением прав на результаты интеллектуальной деятельности) Телефоны прямой линии: + 7 (800) 100-12-70 Телефон приемной: + 7 (495) 986-77-10 Адрес для письменных обращений: 105005, Москва, Технический переулок, д. 2 Сайт: http://sledcom.ru/ |
|
Международная ассоциация организаций, осуществляющих деятельность по противодействию незаконному обороту контрафактной продукции "Антиконтрафакт" |
Уведомление (для анализа и отчетности) о выявлении сомнительной продукции и продукции с подтвержденной фальсифицированностью/контрафактностью по адресу: 109004, Москва, Николоямский пер., д. 5, стр. 1 Тел.: + 7 (495) 911-71-93 Факс: + 7 (495) 911-71-41 e-mail: org@anti-counterfeiting.ru |
|
Информационно-аналитическое агентство "Антиконтрафакт" |
Сообщение (для размещения на портале агентства) о выявлении сомнительной продукции и продукции с подтвержденной фальсифицированностью/контрафактностью по адресу: info@antikontrafakt.ru |
Ж.2 Уведомление клиента
Все клиенты, которые могут быть затронуты фальсифицированным и контрафактным материалом, должны быть извещены в письменной форме, им должны быть высланы рекомендации по действиям, также извещены поставщики и субпоставщики.
Библиография
|
[1] |
ISO 1293-1-2012 |
Performance criteria for authentication solutions used to combatcounterfeiting of material goods (Критерии эффективности средств аутентификации материальных товаров для борьбы с подделками) |
|
[2] |
SAE AS 6174-2015 |
Counterfeit Material; Assuring Acquisition of Authentic and Conforming Materiel (Контрафактный материал; гарантирование закупки аутентичных и соответствующих материалов) |


