Утв. и введен в действие приказом Федерального агентства по техническому регулированию и метрологии от 27 сентября 2019 г. N 793-ст
Национальный стандарт РФ ГОСТ Р 58562-2019
"КОНСТРУКЦИИ ДЕРЕВЯННЫЕ. МЕТАЛЛИЧЕСКИЕ КОЛЬЦЕВЫЕ ШПОНКИ. МЕТОДЫ ИСПЫТАНИЙ"
Wooden structures, metal ring tongues. Test methods
ОКС 91.080.20
Дата введения - 1 марта 2020 г.
Введен впервые
Предисловие
1 Разработан Центральной научно-исследовательской, проектной и строительной лабораторией деревянных конструкций (ООО "ЦНИПС ЛДК")
2 Внесен Техническим комитетом по стандартизации ТК 114 "Строительство"
3 Утвержден и введен в действие Приказом Федерального агентства по техническому регулированию и метрологии от 27 сентября 2019 г. N 793-ст
4 Введен впервые
1 Область применения
Настоящий стандарт распространяется на узловые соединения элементов деревянных конструкций, выполненных с использованием металлических кольцевых шпонок, и устанавливает методы определения несущей способности и деформативности соединения для одной кольцевой шпонки типа А, воспринимающей усилие сдвига.
Настоящий стандарт не устанавливает требований к отбору шпонок, методам определения характеристик элементов соединения и их материалов.
2 Нормативные ссылки
В настоящем стандарте использованы нормативные ссылки на следующие стандарты:
ГОСТ 166 (ИСО 3599-76) Штангенциркули. Технические условия
ГОСТ 577 Индикаторы часового типа с ценой деления 0,01 мм. Технические условия
ГОСТ 8486 Пиломатериалы хвойных пород. Технические условия
ГОСТ 16483.1 Древесина. Метод определения плотности
ГОСТ 16588 (ИСО 4470-81) Пилопродукция и деревянные детали. Методы определения влажности
ГОСТ 33080 Конструкции деревянные. Классы прочности конструкционных пиломатериалов и методы их определения
ГОСТ 33082-2014 Конструкции деревянные. Методы определения несущей способности узловых соединений
ГОСТ Р 58459 Конструкции деревянные. Определение нормативных и расчетных значений механических свойств древесины и материалов на ее основе
ГОСТ Р 58460 Шпонки металлические зубчатые для деревянных конструкций. Технические условия
Примечание - При пользовании настоящим стандартом целесообразно проверить действие ссылочных стандартов в информационной системе общего пользования - на официальном сайте Федерального агентства по техническому регулированию и метрологии в сети Интернет или по ежегодному информационному указателю "Национальные стандарты", который опубликован по состоянию на 1 января текущего года, и по выпускам ежемесячного информационного указателя "Национальные стандарты" за текущий год. Если заменен ссылочный стандарт, на который дана недатированная ссылка, то рекомендуется использовать действующую версию этого стандарта с учетом всех внесенных в данную версию изменений. Если заменен ссылочный стандарт, на который дана датированная ссылка, то рекомендуется использовать версию этого стандарта с указанным выше годом утверждения (принятия). Если после утверждения настоящего стандарта в ссылочный стандарт, на который дана датированная ссылка, внесено изменение, затрагивающие положение, на которое дана ссылка, то это положение рекомендуется применять без учета данного изменения. Если ссылочный стандарт отменен без замены, то положение, в котором дана ссылка на него рекомендуется применять в части, не затрагивающий эту ссылку.
3 Термины и определения
В настоящем стандарте применены следующие термины с соответствующими определениями:
3.1
|
шпонка: Деталь в форме пластины, зубчатой пластины или кольца, которая при частичном размещении на каждой или в одной из контактных поверхностей двух элементов удерживается вместе соединительным болтом, способная передавать усилие сдвига от одного элемента к другому.
[ГОСТ Р 58460-2019, пункт 3.1]
|
3.2 кольцевая шпонка: Двухсторонний соединительный элемент в форме замкнутого кольца или кольца, разрезанного в одном месте.
3.3
|
соединение деревянной конструкции: Часть конструкции, соединяющая ее элементы и выполняющая определенные несущие функции.
[ГОСТ 33082-2014, пункт 3.1]
|
3.4 несущая способность соединения: Предельная величина усилия (нагрузки), при которой не происходит разрушение или не достигается превышения допустимой деформации соединения.
3.5
|
эксплуатационная несущая способность соединения: Несущая способность с учетом величины и продолжительности действия эксплуатационных нагрузок.
[ГОСТ 33082-2014, пункт 3.3]
|
3.6 деформирование узлового соединения: Взаимное смещение соединяемых элементов соединения при действии нагрузки.
3.7
|
упругая деформация соединения: Величина взаимного смещения элементов соединения, линейно зависящая от нагрузки.
[ГОСТ 33082-2014, пункт 3.6]
|
3.8
|
остаточная деформация соединения: Сохранившаяся величина взаимного смещения элементов соединения при одном или нескольких циклах нагружения после полного снятия нагрузки на соединение.
[ГОСТ 33082-2014, пункт 3.7]
|
4 Обозначения
В настоящем стандарте применены следующие обозначения:
N - нагрузка, действующая на соединение и вызывающая сдвиг между его элементами, кН;
Nn - нагрузка, достигнутая на определенной ступени нагружения, Н;
Ne,i - предел упругой работы по результатам испытания i-го образца соединения, Н;
Nmax - разрушающая нагрузка при испытании соединения, Н;
- нормативная величина разрушающей нагрузки, Н;
- нормативное значение предела упругой работой, Н;
Rd - расчетное значение несущей способности соединения, Н;
Rехр - несущая способность соединения, определенная по результатам испытаний образцов;
Rш - несущая способность соединения для одной кольцевой шпонки в плоскости сдвига, Н;
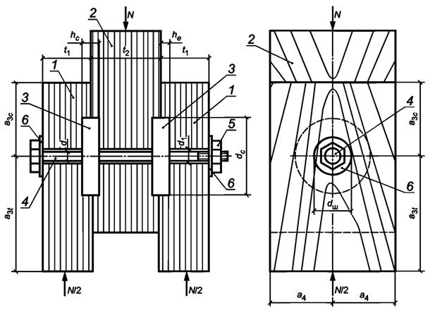
а3с - расстояние от центра стяжного болта до ненагруженного торца деревянного элемента соединения, мм;
а3t - расстояние от центра стяжного болта до нагруженного торца деревянного элемента соединения, мм;
а4 - расстояние от центра стяжного болта до боковой грани деревянного элемента соединения, мм;
d - диаметр стяжного болта, мм;
dmin - минимальный диаметр стяжного болта, мм;
dmax - максимальный диаметр стяжного болта, мм;
d1 - диаметр отверстия в деревянном элементе соединения под стяжной болт, мм;
dс - диаметр шпонки, мм;
dш - наружный диаметр шайбы, мм;
do - величина остаточной деформации, мм;
dп - величина полных деформаций соединения, мм;
dу - величина упругой деформации (относительное смещение деревянных элементов соединения), мм;
dуi - величина упругой деформации (относительное смещение) для i-го образца соединения, мм;
- нормативная величина упругой деформации (относительное смещение) соединения, мм;
t - время нагружения, с;
tmax - время нагружения до разрушения, с;
t1 - толщины крайнего деревянного элемента соединения, мм;
t2 - толщина среднего (внутреннего) деревянного элемента соединения, мм;
hе - глубина паза под шпонку в деревянном элементе соединения, мм;
hс - общая высота шпонки, мм;
α - угол между направлением прикладываемой нагрузки N и направлением волокон древесины, град;
ρн - нормативное значение плотности древесины элементов соединения, кг/м3.
5 Требования к образцам соединений для испытаний
5.1 Общие требования
5.1.1 Соединения элементов деревянных конструкций с использованием кольцевых шпонок по виду зависимости упругой деформации dу от прилагаемой нагрузки N в диапазоне расчетной несущей способности Rd, согласно требованиям ГОСТ 33082, следует относить к соединениям группы II, т.е. соединениям с нелинейной зависимостью деформации от нагрузки.
5.1.2 Образцы для определения несущей способности и деформативности соединений элементов деревянных конструкций на кольцевых шпонках изготавливают в натуральную величину с использованием пиломатериала. На каждый тип шпонки и для каждого нормативного значения плотности древесины пиломатериалов ρн должно быть изготовлено и испытано не менее пяти образцов соединений.
5.1.3 Образцы соединений следует изготавливать с учетом принятых схем испытаний.
5.1.4 Испытания образцов соединений проводят на действие нагрузки N, вызывающей сдвиг в соединении по схеме, приведенной на рисунке 1.
5.1.5 Поскольку несущая способность соединений на кольцевых шпонках зависит от направления прикладываемого усилия по отношению к волокнам древесины, то испытания образцов проводят на действие нагрузки N, приложенной по направлению вдоль, поперек и под углом α к волокнам.

1 и 2 - соответственно внешний и внутренний деревянные элементы соединения; 3 - металлическая кольцевая шпонка; 4 - стяжной болт; 5 - гайка; 6 - шайба
Рисунок 1 - Схема образца соединения на кольцевых шпонках и приложения нагрузки
5.2 Требования к материалам образцов соединений
5.2.1 Для изготовления деревянных элементов образцов соединений используют пиломатериалы хвойных пород, отсортированные по сортам в соответствии с требованиями ГОСТ 8486 и классам прочности по ГОСТ 33080. Влажность древесины, определяемая в соответствии с требованиями ГОСТ 16588, должна составлять (12 ± 1) %. Нормативное значение плотности древесины ρн определяют в соответствии с требованиями ГОСТ 16483.1 и ГОСТ Р 58459.
5.2.2 Перед проведением испытаний все образцы соединений должны быть выдержаны в течение суток в помещении при относительной влажности воздуха (65 ± 5) % и температуре (20 ± 2) °С.
5.2.3 В деревянных элементах соединения в зоне расположения кольцевых шпонок наличие сучков не допускается.
5.2.4 Используемые для изготовления образцов соединений металлические кольцевые шпонки должны соответствовать требованиям ГОСТ Р 58460.
5.2.5 Диаметр d стяжного болта для образцов соединения следует принимать по таблице 1 в зависимости от диаметра шпонки dс.
Таблица 1 - Требования к диаметрам стяжных болтов, используемых в образцах соединений с кольцевыми шпонками
|
Наименование
|
Параметры элементов соединения
|
|
Диаметр шпонки dс
|
≤ 130 мм
|
> 130 мм
|
|
Минимальный диаметр болта dmin
|
12 мм
|
0,1dc
|
|
Максимальный диаметр болта dmax
|
24
|
5.2.6 Стальные шайбы под стяжные болты могут иметь квадратную или круглую форму. Длина стороны или диаметр шайбы не должны быть менее 3d, а ее толщина - не менее 0,3d.
5.3 Изготовление образцов соединений
5.3.1 Изготовление образцов выполняют в соответствии с разработанной рабочей документацией, где должны быть указаны все геометрические параметры элементов соединений, класс прочности древесины, тип шпонки и место ее расположения в соединении, плотность и влажность деревянных элементов соединения, параметры стяжного болта и шайб.
5.3.2 Деревянные элементы образцов соединений должны быть остроганные.
5.3.3 Размеры деревянных элементов, испытуемых образцов соединений, назначают в зависимости от используемого в соединении типа кольцевой шпонки. Толщина t1 внешнего деревянного элемента соединения должна быть не менее 3,0he, а толщина t2 внутреннего - не менее 5,0he (см. рисунок 1). Расстояние а3с от центра стяжного болта до ненагруженного торца деревянного элемента соединения должно быть не менее 3,0dc, а до нагруженного - a3t ≥ 4,0dc. Расстояние а4 от центра стяжного болта до боковой грани деревянного элемента соединения должно быть не менее 0,8dc.
5.3.4 Диаметр d1 отверстий под стяжные болты в деревянных элементах образцов соединений должен быть более на 1 мм диаметра d стяжного болта.
5.3.5 Изготовление и сборку элементов образцов соединений осуществляют в следующей последовательности:
- в деревянных элементах высверливают отверстия диаметром do = d + 1 мм;
- на пласти деревянных элементов соединения с помощью фрезы выбирают пазы, которые точно повторяют профиль используемой шпонки. Глубина пазов в каждом деревянном элементе соединения должна быть hc/2.
- между деревянными элементами соединения устанавливают тонкие антифрикционные прокладки;
- после установки шпонки в пазы деревянных элементов соединения выполняют установку и фиксацию стяжного болта и его шайб.
5.3.6 Все изготовленные образцы маркируют и проводят паспортизацию на предмет соответствия рабочей документации. Выявленные отклонения заносят в журнал испытаний.
6 Оборудование и инструмент, используемые при проведении испытаний
Для проведения испытаний используют следующие оборудование и инструмент:
- машина испытательная, имеющая погрешность измерения нагрузки не более 1 %, используемая для нагружения образцов соединений;
- датчики или автоматизированная система измерения и записи деформаций соединения, или индикаторы часового типа по ГОСТ 577, позволяющие проводить замеры деформаций с точностью не менее 0,01 мм;
- секундомер с точностью замера не более 1 с, позволяющий фиксировать продолжительность проведения испытаний;
- приборы для измерения температуры и влажности воздуха;
- штангенциркуль по ГОСТ 166 погрешностью измерения не более 0,1 мм для измерения поперечного сечения деревянных элементов соединения;
- рулетка для измерения длины деревянных элементов соединения.
7 Порядок проведения испытаний
7.1 Режимы нагружения образцов соединений, значения ступеней и скорость нагружения принимают в соответствии с требованиями ГОСТ 33082, установленными для соединений группы II.
7.2 Согласно ГОСТ 33082 нагружения образцов осуществляют ступенями 0,08-0,10 от ожидаемой разрушающей нагрузки Nmax измерением полных деформаций dп относительного смещения деревянных элементов, а также их разности на каждой ступени для определения предела упругой работы соединения.
7.3 В процессе испытаний ступенчатой нагрузкой с разгрузкой в журнале испытаний (подраздел Б.2 приложения Б ГОСТ 33082-2014) следует фиксировать: значения нагрузки на каждой ступени Nn, замера деформаций: полной dп и остаточной dо за цикл; а также продолжительность времени возрастания нагрузки на каждой ступени и общую продолжительность испытаний tmax до момента разрушения образца.
8 Обработка результатов испытаний
8.1 На основании результатов испытаний в соответствии с требованиями ГОСТ 33082 для каждого испытанного образца соединения определяют нагрузку Ne,i, соответствующую пределу упругой работы соединения, упругую деформацию dуi и разрушающую нагрузку Nmax.
8.2 Нормативные значения
,
и
испытанных образцов соединений для каждого типа шпонки определяют в соответствии с требованиями ГОСТ Р 58459 с учетом числа испытанных образцов.
8.3 Несущую способность соединения Rexp по результатам испытаний определяют для каждого типа шпонки в соответствии с требованиями ГОСТ 33082.
8.4 Несущую способность соединения для одной кольцевой шпонки в плоскости сдвига Rш, по результатам испытаний образцов в соответствии с рисунком 1, вычисляют по формуле
Rш=Rexp/2,
(1)
где Rexp - несущая способность соединения с кольцевыми шпонками, определенная по результатам испытаний образцов.