ГОСТ Р 58411-2019 (22.11.2022) ПЛИТЫ БЕТОННЫЕ ГИБКИЕ. ТЕХНИЧЕСКИЕ УСЛОВИЯ
Утв. и введен в действие приказом Федерального агентства по техническому регулированию и метрологии от 16 мая 2019 г. N 199-ст
Национальный стандарт РФ ГОСТ Р 58411-2019
"ПЛИТЫ БЕТОННЫЕ ГИБКИЕ. ТЕХНИЧЕСКИЕ УСЛОВИЯ"
Flexible concrete slabs. Specifications
С изменениями:
(22 ноября 2022 г.)
ОКС 93.160
ОКП 58 5900
Дата введения - 1 января 2020 г.
Введен впервые
Предисловие
1 РАЗРАБОТАН Акционерным обществом "Научно-исследовательский институт транспортного строительства" (АО ЦНИИС), Открытым Акционерным Обществом "Трансмост" (ОАО "Трансмост") и Обществом с ограниченной ответственностью "Спецпром 1" (ООО "Спецпром 1")
2 ВНЕСЕН Техническим комитетом ТК 465 "Строительство"
3 УТВЕРЖДЕН И ВВЕДЕН В ДЕЙСТВИЕ Приказом Федерального агентства по техническому регулированию и метрологии от 16 мая 2019 г. N 199-ст
4 ВВЕДЕН ВПЕРВЫЕ
5 Информация в соответствии с ГОСТ Р 1.2-2020 (пункт 4.3.6): настоящий национальный стандарт включает в себя технические решения, защищенные патентами:
- 105312, 121266, 121268, 123788, 123789, 138163, 142443, 153403, 2494186, 2503773, 2551165 - обладатель патентов ООО "Спецпром 1" (ИНН 3666101624);
- 178889, 179075 - обладатель патентов ООО "ГидроСтройИнновация" (ИНН 3666112552).
Федеральное агентство по техническому регулированию и метрологии не несет ответственности за достоверность информации о патентных правах. При необходимости ее уточнения патентообладатель может направить в Федеральное агентство по техническому регулированию и метрологии аргументированное предложение о внесении в настоящий стандарт поправки.
Правила применения настоящего стандарта установлены в статье 26 Федерального закона от 29 июня 2015 г. N 162-ФЗ "О стандартизации в Российской Федерации". Информация об изменениях к настоящему стандарту публикуется в ежегодном (по состоянию на 1 января текущего года) информационном указателе "Национальные стандарты", а официальный текст изменений и поправок - в ежемесячном информационном указателе "Национальные стандарты". В случае пересмотра (замены) или отмены настоящего стандарта соответствующее уведомление будет опубликовано в ближайшем выпуске ежемесячного информационного указателя "Национальные стандарты". Соответствующая информация, уведомление и тексты размещаются также в информационной системе общего пользования - на официальном сайте Федерального агентства по техническому регулированию и метрологии в сети Интернет (www.gost.ru)
Настоящий стандарт распространяется на гибкие бетонные плиты (далее - плиты), состоящие из бетонных блоков, соединенных гибкими связями, и предназначенные для сооружения гибких бетонных покрытий для укрепления берегов искусственных и естественных водотоков и водоемов, укрепления откосов дорожных насыпей и конусов мостов, укрепления откосов защитных и регуляционных сооружений, для защиты подводных переходов трубопроводов, защиты дна акваторий портов, дополнительной защиты кабельных трасс, прокладываемых через водные преграды, сооружения временных противопаводковых укреплений, защиты гребней плотин и дамб от размыва при переливе, сооружении каналов, канав и стоков, защиты дна отстойников и прочих видов искусственных сооружений.
В настоящем стандарте использованы нормативные ссылки на следующие документы:
ГОСТ 2789 Шероховатость поверхности. Параметры и характеристики
ГОСТ 7473 Смеси бетонные. Технические условия
ГОСТ 8267 Щебень и гравий из плотных горных пород для строительных работ. Технические условия
ГОСТ 8736 Песок для строительных работ. Технические условия
ГОСТ 8829 Изделия строительные железобетонные и бетонные заводского изготовления. Методы испытаний нагружением. Правила оценки прочности, жесткости и трещиностойкости
ГОСТ 10060 Бетоны. Методы определения морозостойкости
ГОСТ 10180 Бетоны. Методы определения прочности по контрольным образцам
ГОСТ 10181 Смеси бетонные. Методы испытаний
ГОСТ 12730.5 Бетоны. Методы определения водонепроницаемости
ГОСТ 13015 Изделия бетонные и железобетонные для строительства. Общие технические требования. Правила приемки, маркировки, транспортирования и хранения
ГОСТ 18105 Бетоны. Правила контроля и оценки прочности
ГОСТ 22266 Цементы сульфатостойкие. Технические условия
ГОСТ 22690 Бетоны. Определение прочности механическими методами неразрушающего контроля
ГОСТ 23732 Вода для бетонов и строительных растворов. Технические условия
ГОСТ 24211 Добавки для бетонов и строительных растворов. Общие технические условия
ГОСТ 25552 Изделия крученые и плетеные. Методы испытаний
ГОСТ Р 58941 Система обеспечения точности геометрических параметров в строительстве. Правила выполнения измерений. Общие положения
ГОСТ Р 58939 Система обеспечения точности геометрических параметров в строительстве. Правила выполнения измерений. Элементы заводского изготовления
ГОСТ 26633 Бетоны тяжелые и мелкозернистые. Технические условия
ГОСТ 27006 Бетоны. Правила подбора состава
ГОСТ 30055 Канаты из полимерных материалов и комбинированные. Технические условия
ГОСТ 31108 Цементы общестроительные. Технические условия
ГОСТ 31384 Защита бетонных и железобетонных конструкций от коррозии. Общие технические требования
ГОСТ 31424 Материалы строительные нерудные из отсевов дробления плотных горных пород при производстве щебня. Технические условия
ГОСТ Р 57997 Арматурные и закладные изделия сварные, соединения сварные арматуры и закладных изделий железобетонных конструкций. Общие технические условия
ГОСТ Р ИСО 10572 Канаты из смешанных полиолефиновых волокон. Общие технические требования
СП 41.13330.2012 "СНиП 2.06.08-87" Бетонные и железобетонные конструкции гидротехнических сооружений
Примечание - При пользовании настоящим стандартом целесообразно проверить действие ссылочных стандартов (сводов правил) в информационной системе общего пользования - на официальном сайте Федерального агентства по техническому регулированию и метрологии в сети Интернет или по ежегодному информационному указателю "Национальные стандарты", который опубликован по состоянию на 1 января текущего года, и по выпускам ежемесячного информационного указателя "Национальные стандарты" за текущий год. Если заменен ссылочный документ, на который дана недатированная ссылка, то рекомендуется использовать действующую версию этого документа с учетом всех внесенных в данную версию изменений. Если заменен ссылочный документ, на который дана датированная ссылка, то рекомендуется использовать версию этого документа с указанным выше годом утверждения (принятия). Если после утверждения настоящего стандарта в ссылочный документ, на который дана датированная ссылка, внесено изменение, затрагивающее положение, на которое дана ссылка, то это положение рекомендуется применять без учета данного изменения. Если ссылочный документ отменен без замены, то положение, в котором дана ссылка на него, рекомендуется применять в части, не затрагивающей эту ссылку. Сведения о действии сводов правил целесообразно проверить в Федеральном фонде стандартов.
В настоящем стандарте применены следующие термины с соответствующими определениями:
3.1 гибкое бетонное покрытие: Волногасящее и противоразмывное покрытие грунтового откоса инженерного сооружения, работающее по принципу гибкого экрана, собираемое из гибких бетонных плит.
3.2 гибкая бетонная плита: Конструкция, являющаяся секцией гибкого бетонного покрытия, состоящая из совокупности отдельных бетонных блоков, соединенных между собой гибкими связями из каната из полимерных материалов.
4.1 Гибкие бетонные плиты обозначают марками, состоящими из буквенно-цифровых групп, разделенных дефисом.
Первая группа содержит сокращенное буквенное наименование плиты - ГБП (гибкая бетонная плита).
Во второй группе приводят номер типа плиты:
- тип 1 (ГБП-1) - гибкие бетонные плиты с узлами крепления в виде соединительных петель, монтажных канатов и закладных деталей;
- тип 2 (ГБП-2) - гибкие бетонные плиты с узлами крепления в виде монтажных петель.
В третьей группе указывают номер модели плиты, соответствующий номинальной толщине блоков в миллиметрах.
Для обозначения моделей гибких бетонных плит всех типов, изготовленных из блоков с асимметричными верхними и нижними частями, применяют буквенный индекс "А".
Примеры условных обозначений:
гибкой бетонной плиты, тип 1, модели 240 (толщиной 240 мм) из симметричных блоков:
ГБП-1-240
гибкой бетонной плиты, тип 2, модели 150 (толщиной 150 мм) из асимметричных блоков:
ГБП-2-150-А
4.2 Гибкая бетонная плита состоит из бетонных блоков, соединенных между собой замоноличенным в них канатом из полимерных материалов.
По периметру плита ГБП-1 должна иметь строповочные петли, предназначенные для производства погрузочно-разгрузочных работ. В плитах ГБП-1 должно быть предусмотрено три вида встроенных узлов крепления плит в виде соединительных петель, монтажных канатов и закладных деталей, предназначенных для объединения плит в гибкое бетонное покрытие. В одной плите ГБП-1 должно быть заключено хотя бы два вида встроенных узлов. Для скрепления плит под водой применяют специальную клипсу, проходящую через зазор между бетонными блоками с зацепом за соединительный канат.
В гранях плит ГБП-2 должны быть предусмотрены встроенные в конструкцию узлы крепления в виде монтажных петель, соединяемые между собой при сборке гибкого бетонного покрытия отрезками каната из полимерных материалов. По согласованию с потребителем допускается соединение плит ГБП-2 между собой за монтажные петли такелажными скобами или винтовыми карабинами.
Монтажные петли плит ГБП-2 одновременно являются строповочными элементами для работы с грузоподъемными механизмами.
Строповочные, монтажные и соединительные петли гибких бетонных плит должны формироваться выпусками из плиты соединительного каната.
Монтажные канаты плит ГБП-1 образуют путем укладки в формообразующую оснастку четырех отрезков каната из полимерных материалов.
Строповочные и монтажные петли плит не должны возвышаться над плоскостью гибкого бетонного покрытия.
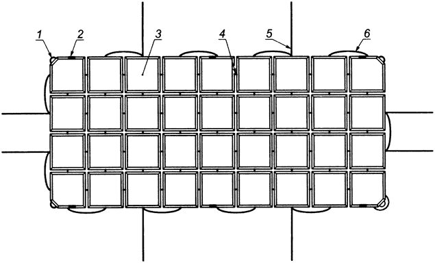
4.3 Конструктивные схемы гибких бетонных плит приведены на рисунках 1 и 1а.

1 - соединительная петля; 2 - закладная деталь; 3 - бетонный блок; 4 - соединительный канат; 5 - монтажный канат; 6 - строповочная петля
Рисунок 1 - Гибкая бетонная плита, тип 1 (ГБП-1)

1 - бетонный блок; 2 - соединительный канат; 3 - монтажная петля
Рисунок 1а - Гибкая бетонная плита, тип 2 (ГБП-2)
4.4 Плиты изготовляют из бетонных блоков толщиной 105, 150 и 240 мм. Модели гибких бетонных плит каждого типа различаются размерами и формой бетонных блоков.
4.5 Основные параметры плит должны соответствовать приведенным в таблице 1.
Таблица 1
|
Параметр |
Номер модели гибкой бетонной плиты | |||
|
105-А |
150-А |
150 |
240 | |
|
Длина, мм |
2785 ± 10 | |||
|
Ширина, мм |
1260 ± 6 | |||
|
Толщина блока, мм |
105 ± 6 |
150 ± 8 |
150 ± 8 |
240 ± 12 |
|
Габаритная площадь, м2 |
3,5 ± 0,01 | |||
|
Объем бетона, м3 |
0,27 |
0,34 |
0,38 |
0,52 |
|
Габаритный объем плиты, м3 |
0,37 |
0,53 |
0,53 |
0,84 |
|
Масса, кг |
642 ± 20 |
831 ± 24 |
906 ± 45 |
1224 ± 53 |
|
Примечание - Размеры плит даны с учетом максимального прижатия монтажных петель к периферийным бетонным блокам. | ||||
4.6 Блоки плит подразделяются на типы: 105-А, 150-А, 150, 240 в зависимости от номера и индекса модели плиты, для которой они предназначены.
Форма и размеры бетонных блоков плит должны соответствовать приведенным на рисунках 2, 2а и в таблице 2.
В месте выпуска соединительной петли ГБП-1 угол блока срезается в плане фаской 78 x 78 мм.
Примечание - Допускается изготовление плит, отличающихся общим видом и формой лицевой поверхности бетонных блоков от приведенных на рисунках 2 и 2а, при сохранении габаритных размеров плиты и соблюдении требований, установленных настоящим стандартом.

Рисунок 2 - Симметричный блок гибкой бетонной плиты

Рисунок 2а - Асимметричный блок гибкой бетонной плиты
Таблица 2
|
Тип блока ГБП |
Размеры блока, мм | |||
|
a1 |
a2 |
b1 |
b2 | |
|
105-А |
230 |
260 |
75 |
30 |
|
150-А |
200 |
260 |
120 |
30 |
|
150 |
230 |
230 |
75 |
75 |
|
240 |
190 |
190 |
120 |
120 |
4.7 Рекомендуемые схемы укладки соединительного каната, монтажного каната, закладных деталей, монтажных и строповочных петель в формообразующую оснастку приведены на рисунках 3, 3а.

Рисунок 3 - Схема укладки соединительного каната, монтажных канатов и закладных деталей в оснастку при изготовлении плит ГБП-1 (на примере плиты из симметричных блоков)

Рисунок 3а - Схема укладки соединительного каната и монтажных петель в оснастку при изготовлении плит ГБП-2 (на примере плиты из асимметричных блоков)
4.8 Образованные в процессе укладки соединительного каната соединительные петли плит ГБП-1 должны иметь размер, достаточный для пропуска стержня диаметром не менее 30 мм, и не должны выступать за габариты плиты. Точные размеры соединительных петель определяют по требованию потребителя.
4.9 Монтажный канат должен выступать за периметр плиты ГБП-1 не менее чем на 400 мм.
4.10 Закладная деталь ГБП-1 располагается на наклонной грани лицевой поверхности блока плиты.
5.1 Плиты изготовляют в соответствии с требованиями настоящего стандарта и утвержденной в установленном порядке технологической документации.
5.2 Гибкие бетонные плиты подлежат изготовлению в формах, обеспечивающих соблюдение установленных настоящим стандартом требований к их качеству и точности геометрических размеров.
5.3 Для плит, предназначенных для гидротехнических сооружений, минимально допустимый защитный слой бетона над соединительным канатом лицевой поверхности блока плиты, согласно СП 41.13330.2012, должен составлять 50 мм.
5.4 Расчетный срок службы плит составляет не менее 100 лет со дня изготовления.
5.5 Требования к бетону
5.5.1 Блоки плит следует изготавливать из тяжелого бетона, соответствующего ГОСТ 26633 и настоящему стандарту.
5.5.2 Класс бетона блоков по прочности на сжатие должен быть не менее B30. В зависимости от условий эксплуатации в соответствии с Техническим заданием Заказчика - B40.
5.5.3 Нормируемая отпускная прочность бетона должна составлять не менее 80% от класса бетона по прочности на сжатие.
5.5.4 Марка бетона блоков по морозостойкости по ГОСТ 10060 должна быть не менее F2300.
5.5.5 Марка бетона блоков по водонепроницаемости по ГОСТ 12730.5 должна быть не менее W8.
5.5.6 При изготовлении плит, предназначенных для эксплуатации в агрессивных средах (сульфаты, хлориды и другие), назначаются дополнительные требования к бетону согласно ГОСТ 31384.
5.5.7 По желанию потребителя бетонные блоки могут быть изготовлены с учетом дополнительных требований, предъявляемых СП 41.13330.2012 к бетону плит гидротехнических сооружений.
5.5.8 Для приготовления бетона следует применять следующие материалы, соответствующие требованиям ГОСТ 26633:
- цемент по ГОСТ 31108 и ГОСТ 22266;
- песок природный средний или крупный по ГОСТ 8736;
- щебень, щебень из гравия и гравий из плотных горных пород по ГОСТ 8267;
- вода по ГОСТ 23732;
- добавки для бетона по ГОСТ 24211.
5.5.9 Допускается в качестве мелкого и крупного заполнителя применять песок и щебень из отсевов дробления по ГОСТ 31424, пригодные для приготовления бетона согласно ГОСТ 26633.
5.5.10 Содержание в песке пылевидных и глинистых частиц не должно превышать 2% по массе.
5.5.11 Наибольшая крупность щебня должна быть не более 20 мм, содержание пылевидных и глинистых частиц в щебне - не более 1% по массе.
Марка щебня по морозостойкости должна быть не ниже F300.
Марка щебня по дробимости должна быть:
- не менее 1000 - для щебня из изверженных пород;
- не менее 800 - для щебня из метаморфических и осадочных пород.
Средняя плотность зерен щебня должна быть не ниже 2,3 г/см3.
Водопоглощение щебня из изверженных и метаморфических пород должно быть не более 0,8%, для щебня из осадочных пород - не более 2,0%.
5.5.12 Содержание в песке и щебне глины в виде отдельных комков не допускается.
5.5.13 Подбор и назначение состава бетона следует проводить по ГОСТ 27006.
5.5.14 Бетонная смесь для изготовления блоков должна иметь водоцементное отношение не более 0,45.
5.6 Требования к канату
5.6.1 Для объединения бетонных блоков в единую гибкую конструкцию, а также для соединительных монтажных и строповочных петель и для монтажных канатов, следует применять канаты из полимерных материалов. Требования к канатам из полимерных материалов приведены в ГОСТ 30055, ГОСТ Р ИСО 10572, настоящем стандарте и технических условиях на конкретные изделия.
5.6.2 Следует применять крученые канаты (тросовой свивки), изготовленные из полимерного материала. На всех стадиях изготовления, хранения, транспортирования, укладки и эксплуатации участки канатов вне бетонных блоков должны быть защищены от воздействия солнечной радиации и других неблагоприятных воздействий.
5.6.3 При изготовлении плит следует использовать канат с разрывной нагрузкой (5000 ± 500) кгс. Длина соединительного каната должна обеспечивать формирование монтажных, соединительных и строповочных петель в соответствии с требованиями настоящего стандарта.
5.6.4 В качестве монтажного каната плит ГБП-1 используется канат с разрывной нагрузкой (2000 ± 200) кгс.
Группа каната по разрывной нагрузке по ГОСТ 30055 - не ниже Б.
5.6.5 Канат из полимерных материалов должен иметь документ о качестве, подтверждающий соответствие продукции требованиям нормативных документов, выданный в порядке, установленном действующим законодательством Российской Федерации.
5.7 Требования к закладным деталям
5.7.1 Закладная деталь ГБП-1 должна соответствовать ГОСТ Р 57997. Марка стали - Ст3.
5.7.2 Плоский элемент закладной детали ГБП-1 должен быть размером 70 x 70 мм и толщиной 5 мм.
5.8 Требования к точности изготовления плиты
5.8.1 Величина зазора между соседними блоками в плите должна быть в пределах от 3 до 8 мм.
5.8.2 Действительные отклонения размеров блоков плит, указанных на рисунке 2, не должны превышать предельных значений, указанных в таблице 3.
Таблица 3
В миллиметрах
|
Тип блока |
Отклонение от размера | |||
|
a1 |
a2 |
b1 |
b2 | |
|
105-А |
± 8 |
± 10 |
± 3 |
± 4 |
|
150-А |
± 8 |
± 10 |
± 3 |
± 4 |
|
150 |
± 8 |
± 8 |
± 3 |
± 3 |
|
240 |
± 8 |
± 8 |
± 3 |
± 3 |
5.9 Требования к качеству поверхностей и внешнему виду плиты
5.9.1 Трещины на поверхности блоков плит не допускаются за исключением поверхностных усадочных и технологических трещин шириной не более 0,1 мм и длиной не более 50 мм.
5.9.2 Поверхность блоков плит не должна шелушиться.
5.9.3 Качество и внешний вид лицевой поверхности блоков плит должны соответствовать категории А6 по ГОСТ 13015.
5.9.4 Одна из плоскостей бетонных блоков должна обладать повышенной шероховатостью с произвольным направлением неровностей и с наибольшей высотой профиля до 5 мм согласно ГОСТ 2789. Повышенную шероховатость следует обеспечивать формованием с выравниванием поверхности в процессе вибрирования.
5.9.5 В местах выхода каната из блока плиты допускается образование технологических выемок глубиной не более 30 мм.
6.1 Приемку плит осуществляют партиями в соответствии с требованиями ГОСТ 13015 и настоящего стандарта.
В партию включают плиты одной модели, изготовленные предприятием по одной технологии из материалов одного вида и качества в течение не более одной недели. Объем партии устанавливают по соглашению предприятия-изготовителя с потребителем, но не более 200 штук.
6.2 Приемку плит проводят по результатам:
- приемо-сдаточных испытаний по следующим показателям: класс бетона по прочности на сжатие, соответствие соединительного и монтажного каната, точности геометрических параметров, качеству поверхности и внешнему виду плиты;
- периодических испытаний по следующим показателям: марка бетона по морозостойкости и марка по водонепроницаемости.
6.3 Партию гибких бетонных плит по показателям их прочности принимают, если удовлетворяются установленные настоящим стандартом требования по комплексу нормируемых и проектных показателей, характеризующих прочность бетона, геометрические размеры плиты, диаметр и расположение соединительного и монтажного каната, а также его характеристики, которые проверяют в процессе входного, операционного и приемочного контроля в соответствии с ГОСТ 13015.
6.4 Приемочный контроль прочности бетона (на основе результатов испытаний образцов бетона, либо неразрушающих методов) осуществляют в соответствии с ГОСТ 18105.
6.5 Текущий приемочный контроль плит следует выполнять методами неразрушающего контроля в соответствии с ГОСТ 22690. Контроль допускается проводить выборочно в соответствии ГОСТ 8829.
6.6 Испытания бетона плит на морозостойкость и водонепроницаемость следует проводить перед началом серийного изготовления плит, при изменении технологии производства, но не реже одного раза в шесть месяцев.
6.7 Приемку каната из полимерных материалов производят до укладки его в форму согласно ГОСТ 30055 и требованиям стандартов и технических условий на применяемый вид каната.
6.8 Приемку плит по показателям точности геометрических параметров и качества поверхности, контролируемых путем измерений, а также по диаметру соединительного и монтажного каната, следует осуществлять на основании выборочного одноступенчатого контроля.
Приемку плит по наличию соединительных монтажных и строповочных петель, наличию шелушения бетона, правильности нанесения маркировочных надписей следует осуществлять по результатам сплошного контроля.
6.9 По результатам приемки составляют документ о качестве поставляемых плит в соответствии с ГОСТ 13015. Кроме основных показателей качества в документе дополнительно должны быть приведены:
- марка бетона по морозостойкости;
- марка бетона по водонепроницаемости;
- тип, материал и разрывная нагрузка соединительного и монтажного каната.
7.1 Прочность бетона при ее контроле по образцам следует определять по ГОСТ 10180 на серии образцов, изготовленных из бетонной смеси рабочего состава, хранившихся в условиях согласно ГОСТ 18105.
Прочность бетона контролируют и оценивают по ГОСТ 18105.
7.2 Морозостойкость бетона следует определять и оценивать в соответствии с ГОСТ 10060.
7.3 Водонепроницаемость бетона следует определять и оценивать в соответствии с ГОСТ 12730.5.
7.4 Нормируемые показатели качества бетонной смеси следует контролировать по ГОСТ 10181 с периодичностью в соответствии с ГОСТ 7473.
7.5 Качество каната из полимерных материалов и его диаметр следует определять по ГОСТ 25552 и контролировать по ГОСТ 30055 или по стандартам и техническим условиям на применяемый канат, утвержденным в установленном порядке.
7.6 Размеры, отклонения от прямолинейности и перпендикулярности блоков плиты, правильность укладки соединительного и монтажного каната, а также качество бетонных поверхностей и внешний вид плиты, следует проверять методами, установленными в ГОСТ Р 58941, ГОСТ Р 58939 и ГОСТ 13015.
8.1 Маркировку гибких бетонных плит следует производить на боковой грани периферийных блоков плит по короткой стороне плиты несмываемой краской в соответствии с требованиями ГОСТ 13015.
8.2 Маркировочные надписи должны содержать:
- обозначение модели плиты;
- товарный знак или наименование предприятия-изготовителя;
- дату изготовления;
- штамп (надпись) технического контроля.
8.3 Каждую изготовленную гибкую бетонную плиту следует пломбировать специальной номерной пластиковой одноразовой пломбой. Номер на пломбе является номером плиты.
9.1 Транспортировать и хранить плиты следует в соответствии с требованиями ГОСТ 13015 и настоящего стандарта.
9.2 Разрешается хранить плиты на открытых площадках.
9.3 При транспортировании и хранении плит между рядами в штабеле прокладывать инвентарные прокладки не следует.
9.4 При погрузо-разгрузочных работах допускается одновременное перемещение не более трех плит.
9.5 Плиты допускается перевозить транспортом любого вида, обеспечивающим их защиту от повреждений.
9.6 Погрузка плит навалом не допускается.
9.7 При хранении и перевозке в штабель допускается укладывать, не более:
- двенадцать штук плит модели 105-А;
- девять штук плит модели 150;
- шесть штук плит модели 240.
9.8 Погрузка плит в железнодорожный полувагон осуществляется в соответствии со схемой укладки, согласованной с железнодорожным перевозчиком. Ориентировочное количество изделий в одном полувагоне:
- плиты модели 105-А - 106 штук;
- плиты модели 150-А - 81 штука;
- плиты модели 150 - 75 штук;
- плиты модели 240 - 54 штуки.
9.9 По требованию потребителя отгрузка плит может осуществляться на поддонах.
10.1 Изготовитель гарантирует соответствие плит требованиям настоящего стандарта в течение гарантийного срока эксплуатации при соблюдении потребителем условий транспортирования, хранения и эксплуатации, установленных настоящим стандартом.
10.2 Гарантийный срок эксплуатации плит устанавливается со дня изготовления и составляет 40 лет.
Приложение А
(обязательное)
Допускается строповка гибкой бетонной плиты не менее чем за две строповочные петли.

Рисунок А.1 - Места строповки гибкой бетонной плиты за две петли

Рисунок А.2 - Места строповки гибкой бетонной плиты за четыре петли


